Материал: Разработка технологического процесса изготовления вала и конструкции технологической оснастки

Внимание! Если размещение файла нарушает Ваши авторские права, то обязательно сообщите нам

1.      Коэффициент использования стандартных конструктивных элементов детали

,

где  - количество стандартных конструктивных элементов,

 - общее количество элементов.

В нашем случае Kст.э=1.

2.      Коэффициент точности обработки

,

где Аср - средний квалитет точности,

n12, n11, n10 - количество конструкционных элементов соответственно 12, 11, 10 квалитетов.

Для данной детали .

Тогда Kточн=0,3.

3.      Коэффициент использования прогрессивных методов формообразования


где  - количество ТП, связанных с прогрессивным формообразованием,

 - общее количество методов ТП.

4.      Коэффициент повторяемости стандартных конструктивных элементов


где  - количество типов размеров конструктивных элементов,

 - общее количество конструктивных элементов.

5.      Коэффициент шероховатости

,

где m1, m2, m3 - количество поверхностей соответственного класса шероховатости.

Для данного вала .

Значит, Kшер =0,6.

6.      Коэффициент использования унифицированных ТП


где  - количество унифицированных ТП,

 - общее количество ТП.

7.      Коэффициент использования материала


где  - масса детали,

 - масса заготовки.

В нашем случае Kисп =0,3.

Рассчитаем коэффициент технологичности:, К=0,58, что соответствует объему производства: мелкосерийное, К=0,5 - 0,6.

3. Проектирование технологического маршрута

Конструкторско-технологический анализ детали: деталь представляет собой цилиндр длиной 125 мм и максимальным диаметром ступеньки 22 мм. По обоим концам вала имеются внутренние отверстия. К точности размеров поверхности 1 предъявляются требования 6 квалитета, поверхности 2 - 7 квалитета, поверхности 3 - 8 квалитета, поверхности 4 - 7 квалитета, поверхности 5 - 9 квалитета, поверхности 6 - 11 квалитета; остальные - по 12 квалитету. Шероховатость поверхности 7 равна 12,5 мкм (5 класс шероховатости). Поверхность ступеньки диаметра 22 не обрабатывается, ее шероховатость остается по состоянию поставки (6 класс шероховатости). Шероховатость остальных поверхностей - 1,6 мкм (6 класс шероховатости).

В качестве исходного материала используется пруток из стали 12Х18Н10Т, обладающей высокой прочностью и хорошей обрабатываемостью.

.1 Операции технологического маршрута

Методы окончательной обработки всех поверхностей заготовки (вала) и промежуточных операций выбирают исходя из требований, предъявляемых к точности размеров и качеству поверхностей, с учетом характера исходной заготовки, свойств обрабатываемого материала и условий производства. При назначении метода обработки следует стремиться к тому, чтобы число переходов при обработке каждой поверхности было минимальным. При составлении технологического маршрута необходимо учитывать тип производства данной детали. При единичном и мелкосерийном производстве план операций строят по принципу групповой технологии, при серийном - используя групповые поточные линии, при массовом - организуя обработку на непрерывных поточных линиях. Разработанный технологический процесс должен обеспечивать требуемое качество изготавливаемого изделия.

Данная деталь поступает в виде заготовки из прутка. На первом этапе нужно обработать наружную поверхность вала с точностью по 12-квалитету и с параметром шероховатости Ra=1,6 мкм. Для получения данной шероховатости проведем последовательно черновое точение, затем чистовое точение.

На втором этапе вытачиваем отверстия диаметрами 3+0,06 мм и 4+0,6 мм и длиной 11 мм и 21 мм соответственно, снимаем фаски. Отверстие диаметром 3+0,06 имеет 6 квалитет, отверстие диаметром 4+0,6 - 7 квалитет.

Последовательность изготовления вала имеет общую закономерность:

) обработка торцов и зацентровка;

) черновая обработка наружных поверхностей вращения;

) обработка шлицев;

) обработка отверстий;

) термообработка;

) правка центров;

) чистовая обработка наружных поверхностей вращения;

) окончательная обработка шлицев, при необходимости и шпоночных канавок;

) окончательная обработка резьбы;

) окончательная обработка основных рабочих поверхностей.

При составлении технологического маршрута будем использовать карту эскиза, на которой поверхности пронумерованы. Таким образом, маршрут обработки данного вала включает следующие операции и переходы:

         Заготовительная

.1.     Отрезка заготовки длиной 125 мм+2Zmin

.2.     Торцевание поверхности 3 и 4

.3.     Сверление центровых отверстий с одного установа

         Токарная 1

.1.     Точение черновое поверхности 5 в 3 хода в размер d=7-0,1 мм

.2.     Точение чистовое поверхности 5 в 3 хода в размер d=7-0,1 мм

         Токарная 2

.1.     Точение черновое поверхности 6 в 3 хода в размер 7+0,25 мм

.2.     Точение чистовое поверхности 6 в 3 хода в размер 7+0,25 мм

         Токарная 3

.1.     Точение черновое поверхности 8 в 3 хода в размер d=6-0,1 мм

.2.     Точение чистовое поверхности 8 в 3 хода в размер d=6-0,1 мм

         Токарная 4

.1.     Точение черновое поверхности 9 в 3 хода в размер d=5-0,06 мм

.2.     Точение чистовое поверхности 8 в 3 хода в размер d=5-0,06 мм

         Токарная 5

.1.     Точение черновое поверхности 10 в 3 хода

.2.     Точение чистовое поверхности 10 в 3 хода для получения шероховатости Rа=1,6

         Токарная 6

.1.     Точение черновое поверхности 11 в 3 хода

.2.     Точение чистовое поверхности 11 в 3 хода для получения шероховатости Rа=1,6

         Зенкерование фасок в размер1*45°

         Термическая

.1.     Закалка до 28…32 HRC

.2.     Высокий отпуск

         Токарная 7

.1.     Торцевание поверхности 3

.2.     Сверление отверстия 2 в размер d=4+0,6 мм

.3.     Торцевание поверхности 4

.4.     Сверление отверстия 1 в размер d=5-0,06 мм

         Фрезерная

.1.     Формообразование паза 7 в размер 2 мм с шероховатостью Ra=12,5

.2 Выбор оборудования

Для отрезания заготовок от прутка используется сегментная дисковая пила.

Для токарных операций целесообразно использовать токарно-винторезный станок с ЧПУ 1К62ПУ, параметры которого приведены в таблице 3.1. При этом, для обработки применяются различные виды резцов. Так, при торцевании поверхностей 3 и 4 используется резец токарный отрезной, ГОСТ 18874-73, обозначение - 2130-0509, с параметрами Н×В, равными 16×10 мм, длиной L, равной 100 мм. Черновое точение остальных поверхностей вала производится резцом проходным отогнутым, ГОСТ 18866-73, обозначение - 2102-0501, с параметрами с параметрами Н×В, равными 16×10 мм, длиной L, равной 100 мм. Для чистового точения поверхностей вала используют резец токарный подрезной, ГОСТ 18871-73, обозначение - 2112-0031, с параметрами Н×В, равными 16×10 мм, длиной L, равной 100 мм.

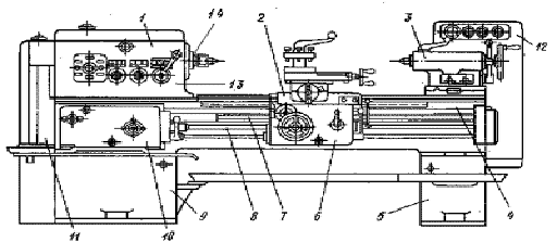
Рис. 4. Схема токарно-винторезного станка 16К20

- передняя бабка, 2 - суппорт, 3 - задняя бабка, 4 - станина, 5 и 9 - тумбы, 6 - фартук, 7 - ходовой винт, 8 - ходовой валик, 9 - коробка подач, 10 - гитары сменных шестерен, 11 - электро-пусковая аппаратура, 12 - коробка скоростей, 13 - шпиндель.

Таблица 3.1

Параметр станка модели 16К20

Значение

Наибольшая длина обрабатываемого изделия, мм

1000

Высота оси центров над плоскими направляющими станины, мм:

215

Пределы оборотов, об/мин

12,5-1600

Пределы подач, мм/об


Продольных

0,05-2,8

Поперечных

0,002-0,11

Мощность электродвигателя главного привода, кВт

11

Наибольший диаметр изделия, устанавливаемого над станиной, мм

400

Наибольший диаметр обработки над поперечными салазками суппорта, мм

220

Наибольший диаметр прутка, проходящего через отверстие в шпинделе, мм

50

Габаритный размеры станка, мм


Длина

2795

Ширина

1190

Высота

1500

Масса станка, кг

3005


Сверление отверстий 1 и 2, а также фрезерование паза поверхности 7 и снятие фасок производится на вертикально - фрезерном станке с ЧПУ модели ГФ2171Р, параметры которого приведены в таблице 3.1.

Рис. 4. Схема вертикально-фрезерного станка с ЧПУ: 1 - консоль; 2 - салазки; 3 - стол; 4 - защитный щиток; 5 - шпиндель; 6 - фрезерная бабка; 7 ползун; 8 - станина; 9 - кожух; 10 - шкаф.

Таблица 3.2

Параметр станка модели ГФ2171Р

Значение

Размеры рабочей поверхности стола, мм

400х1600

Наибольшая масса детали, устанавливаемой на столе станка (вместе с приспособлением), кг

400

Наибольшее перемещение стола, мм:

продольное (координата X)

1010

поперечное (координата Y)

400

вертикальное (установочное)

430

Перемещение ползуна (координата Z), мм

260

Скорость быстрого перемещения узлов по координатам:

X, Y, Z, мм/мин

7000

A, мин-1

-

Пределы подач по координатам:

Х, Y, Z, мм/мин

3-7000

А, мин-1

-

Частота вращения шпинделя, мин -1

50-2500

Мощность двигателя главного движения, кВт

11

-

Наибольший диаметр инструмента, мм

250

Время смены инструмента, сек

-

Расстояние от оси координаты А до поверхности стола, мм

-

Конус шпинделя

50

Отклонение от круглости при контурном фрезеровании цилиндрической поверхности, мм

0,05

Максимальная масса инструмента, кг

15

Количество одновременно управляемых координат:

при линейной интерполяции

3

при круговой интерполяции

2

при линейно-круговой интерполяции

3

Габаритные размеры станка с электро- и гидрооборудованием, мм

длина

3100

ширина

3135

высота

2850

Масса станка с электро- и гидрооборудованием, кг

5700

Класс точности

Н

Установленная мощность, кВт

18


Центровые отверстия сверлятся сверлом спиральным с цилиндрическим хвостовиком, короткая серия ГОСТ 4010-77 (d=3,00-14,00 мм, L=46-107 мм, l=16-54 мм). Фрезерная операция выполняется дисковой фрезой, обозначение 2240-0351, с толщиной 1,5мм. Для снятия фасок используется зенковка цилиндрическая со сменной направляющей цапфой по ОСТ 425-2-0. Термическая операция проходит в термопечи.

4. Расчет припусков под обработку и технологических режимов

.1 Расчет припусков под обработку

Основными базами большинства валов являются поверхности его опорных шеек. Однако использовать их в качестве технологических баз для обработки наружных поверхностей, как правило, затруднительно, особенно при условии сохранения единства баз. Поэтому при большинстве операций за технологические базы принимают поверхности центровых отверстий с обоих торцов заготовки, что позволяет обрабатывать почти все наружные поверхности вала на постоянных базах с установкой его в центрах. При этом может возникать погрешность базирования, влияющая на точность взаимного расположения шеек, равная величине несовпадения оси центровых отверстий и общей оси опорных шеек.

Для исключения погрешности базирования при выдерживании длин ступеней от торца вала необходимо в качестве технологической базы использовать торец заготовки. С этой целью заготовку устанавливают на плавающий передний центр. В нашем случае база одна - это наружная поверхность вала.

Припуски рассчитывают расчетно-аналитическим методом, основанном на следующем положении: необходимая величина припуска на данном переходе или операции должна обеспечить удаление погрешности предыдущего. При определении припуска следует учитывать конфигурацию и размеры заготовки, методы обработки, характер оборудования, техническое состояние.

Формула расчёта припуска под обработку поверхностей вращения:


Здесь Rz - высота неровностей, H - глубина дефектного поверхностного слоя, β - суммарное значение пространственных отклонений для элементарной поверхности на предыдущем переходе, ε - погрешность установки. Поскольку в нашем случае вал обрабатывается с одного установа, то погрешность установки на всех операциях равна нулю. Значения Rz, H, β берем из таблицы.

Формула для расчёта припуска под обработку плоских поверхностей:

min = Rz i-1 + Hi-1 + βi-1 + εi.

Т.к. поверхность наибольшего диаметра не обрабатывается, найдем только припуски на торцы.

Минимальный припуск:

Под заготовительную операцию

Zmin1 = 2 · (150 + 250 + 1820) = 2 · 2220 мкм;

Под черновое торцевание

Zmin1 = 2 · (50 + 50 + 109) = 2 · 209 мкм;

Под чистовое торцевание

Zmin1 = 2 · (30 + 30 + 73) = 2 · 133 мкv

Графа «расчетный размер» (D расчет.), заполняется, начиная с конечного (в данном случае чертежного) размера последовательным прибавлением расчетного минимального припуска каждого технологического перехода.

Таким образом, имея расчетный (чертежный) размер после последнего перехода для остальных переходов получаем: