Материал: Разработка программ на языке Pascal

Внимание! Если размещение файла нарушает Ваши авторские права, то обязательно сообщите нам

Рисунок А.6 - Блок-схема программы (задание 3)

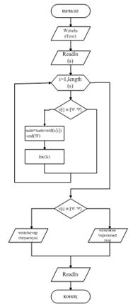
Рисунок А.7 - Блок-схема программы (задание 4)

Приложение Б (обязательное)

Листинг программ

Задание 1

Program ZADANIE1;crt;PI=3.14;r,o,p,x,b,c,k:real;;('Введите b=');(b);('Введите c=');(c);('Введите k=');(k);:=14.38E3+exp(1/3*ln(k-lg(ABS(k))));:=b+c;:=cos(2*PI/3*b);:=(o+p)/(x+exp(2*x)+18E3);('Промежуточные');('p=',p:3:3);('х=',p:3:3);('о=',p:3:3);('Результат');('r=',r:3:3);;.

Задание 2

Zadanie2;A:array[1..4,1..4] of real;,j:integer;:real;i:=1 to 4 doj:=1 to 4 do('vvedite element A[',i,',',j,']:');(A[i,j]);;i:=1 to 4 do:=A[i,i];[i,i]:=A[i,4-i+1];[i,4-i+1]:=N;;i:=1 to 4 doj:=1 to 4 do(A[i,j],' ');;;;;.

Задание 3

Zadanie3;X,S:file of real;:integer;:real;:array[1..8] of real;(X,'I:X.doc');(S,'I:S.doc');(S);i:=1 to 8 do('vvedite element T[',i,']:');(T[i]);(S,T[i]);;(S);(X);

B:=0;

for i:=1 to 5 do(S,T[i]);(X,T[i]);;not eof(S) do(S,T[i]);:=B+T[i];;(X,B);(X);('sodergimoe faila X');not eof(X) do(X,T[i]);(T[i]);;(X);(S);.

Задание 4

laba4;s:string;,sum,k:integer;('Text: ');readln(s);i:=1 to length(s) dos[i] in ['0'..'9'] then:=sum+ord(s[i])-ord('0');(k);;sum=length(s) then writeln('Yslovie vupolnyaetsya')writeln('Yslovie ne vupolnyaetsya');

readln;.

Результаты работы программ

Рисунок В.1 - Результат работы программы (задание 1)

Рисунок В.2 - Результат работы программы (задание 2)

Рисунок В.3 - Вывод работы программы на экран (задание 3)

Рисунок В.4 - Вывод результата работы программы (задание 4)