Материал: Разработка проекта производства работ на возведение детского сада

Внимание! Если размещение файла нарушает Ваши авторские права, то обязательно сообщите нам

Разработка проекта производства работ на возведение детского сада

МИНИСТЕРСТВО ОБРАЗОВАНИЯ И НАУКИ САМАРСКОЙ ОБЛАСТИ

Государственное бюджетное образовательное учреждение среднего профессионального образования «Тольяттинский политехнический техникум»

(ГБОУ СПО «ТПТ»)







ПОЯСНИТЕЛЬНАЯ ЗАПИСКА

«Разработка проекта производства работ на возведение детского сада»

по дисциплине: «Технология и организация строительного производства»


Выполнил студент Назаров М.И.







Тольятти, 2013

Содержание

1.      Цели и задачи курсового проекта

.        Краткая характеристика объемно-планировочных и конструктивных решений строящегося здания

.        Технологическая кара

.1      Область применения

.2      Технология и организация выполнения работ: требования законченности предшествующих работ; выбор принятых для производства машин; указания к производству работ; организацию рабочего места; ведомость машин, механизмов, приспособлений и инвентаря; график грузоподъемности и высоты подъёма крюка; схемы строповок

.3      Требования к качеству и приемке работ, операционный контроль

.4      Техника безопасности и охрана труда

.5      Технико-экономические показатели: ведомость подсчетов объемов работ, калькуляция затрат труда и машинного времени

.6      Расчет технико-экономических показателей

.        Календарный план

.1      Нормативный срок строительства.

.2      Номенклатура и объем работ

.3      Выбор методов производства работ и основных строительных машин

.4      Определение трудоемкости работ и затрат машинного времени

.5      Расчет технико-экономических показателей

.        Строительный генеральный план

.1      Расчет площадей складов.

.2      Расчет количества временных зданий

.3      Расчет потребностей в энергоресурсах

.4      Мероприятия по охране окружающей среды, противопожарной безопасности, технике безопасности

.5      Расчет технико-экономических показателей.

1. Цели и задачи курсового проекта

Целью разработки курсового проекта является:

·        Закрепление и углубление теоретических знаний;

·        Освоение основных правил разработки проекта производства работ при строительстве зданий;

·        Методика выполнения отдельных организационно-технологических документов;

Основная задача приобретение профессиональных практических умений и навыков решения разного рода вопросов, а также приобретение умений использование справочную, нормативную и технологическую строительную документацию.

2. Краткая характеристика объемно планировочных и конструктивных решений строящегося здания

Трехэтажный детский сад с подвалом и техническим этажом. Имеет прямоугольную форму в плане размеры здания в осях 21м х27м. Высота этажа 3 метра

Фундаменты сборные из ленточных плит и блоков. Уровень заложения фундаментов - 3,300, уровень земли -1,200. Сборный фундамент укладывается на заранее приготовленную и выложенную основу - называется опорная подушка. Перед укладкой фундамента выполняется опорная подушка: на дне выкопанного котлована заливается бетонная подушка, а потом выкладывается первый слой самих плит.

Грунт - супесь. Грунтовые воды ниже отметки подошвы фундамента на 20,0м не обнаружены. Обратная засыпка пазух котлована осуществляется экскаватором обратная лопата.

Стены наружные кирпичные 380мм, из кирпича силикатного утолщённого рядового марки СУР- 150/25, на цементно-песчаном растворе марки 100. Перегородки межкомнатные толщиной 120мм. Межквартирные перегородки толщиной 200мм.

Утеплитель стен (с наружной стороны) - плиты минераловатные, толщиной 100мм системы Технониколь.

Плиты перекрытия и покрытия сборные железобетонные многопустотные, толщиной 220м.

3. Технологическая карта

.1      Область применения

3.1.1 Технологическая карта - технически и технологически регламентированный документ, обеспечивающий рациональное решение по организации и технологии строительного производства и высокий уровень качества.

Технологическая карта разработана на устройство сборного железобетонного фундаминта и перекрытий подвала.

.1.2   В состав работ, рассматриваемых технологической картой входит

·        Установка ленточного фундамента

·        Установка стеновых блоков подвала

·        Укладка плит перекрытий

.2      Технология и организация выполнения работ

3.2.1 До начала производства работ по устройству фундаментов должны быть выполнены следующие подготовительные работы:

До укладки блоков необходимо:

проверить правильность разбивки осей здания;

полностью подготовить основание в соответствии с проектом и техническими условиями;

при работе в зимних условиях предохранить основание от промерзания (блоки укладываются на талый, грунт);

подготовить и расположить в зоне действия крана полный комплект блоков;

очистить блоки от грязи и наледи.

Работы следует выполнять, полностью соблюдая правила техники безопасности и охраны труда рабочих.

Монтаж сборных ленточных фундаментов выполняют в следующем порядке:

подготовляют основание и блоки;

размечают места укладки блоков и укладывают их;

заполняют стык бетонной смесью и уплотняют горизонтальный шов.

Таблица 1. Установка фундаментных плит

Состав звена

Профессия и разряд

Фундаментные плиты массой до 8т

Монтажник конструкций


 4

1

 3

1

 2

1

Машинист крана


 6

1


Таблица 2. Установка фундаментных блоков

Состав звена

Профессия и разряд

Блоки стен подвала

Монтажник конструкций


4

1

3

1

2

1

Машинист крана


6

1


Монтаж конструкций фундаментов разрешается производить только после выполнения всего комплекса земляных работ. Устройство фундамента ведёться в весенне-летнее время в 1 смену.

Выбор машин для производства:

Определяем параметры крана Lкр, Нкр и Qкркр=15м

Нкр=hзап+hэл+hстр=0,5+0,6+2,5=3,6мкр=Qэл+Qг/з=2,47+0,1=2,57т

По каталогу подбираем марку крана на основании грузоподьемных характеристик.

Для устройства фундаментов и плит перекрытия используется кран марки ДЭК-50 с гуськом, длина стрелы 15м, клюв 10м, установлен с одной стороны здания.


До начала монтажа на верхних обрезах фундаментных плит и блоков и у их оснований должны быть нанесены несмываемой краской риски, фиксирующие положение осей плит и блоков. Опорные поверхности плит и блоков должны быть очищены от загрязнения.

Установку блоков стен подвала следует производить, начиная с установки маячных блоков в углах здания и на пересечении осей. Маячные блоки устанавливают, совмещая их осевые риски с рисками разбивочных осей по двум взаимно перпендикулярным направлениям. К установке рядовых блоков следует приступать после выверки положения маячных блоков в плане и по высоте.

Рядовые блоки следует устанавливать, ориентируя низ по обрезу блоков нижнего ряда, верх - по разбивочной оси.

Блоки наружных стен, устанавливаемые ниже уровня грунта, необходимо выравнивать по внутренней стороне стены, а выше - по наружной.

Вертикальные и горизонтальные швы должны быть заполнены раствором и расшиты с двух сторон.

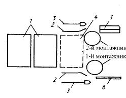
Схема организации рабочего места при монтаже лунточных фундаментных блоков

Рисунок 1

-        смонтированные блоки фундаментов. 2-монтажный лом. 3-растворная лопата. 4-монтируемый блок. 5-Ящик с ручным интсрументом. 6-Деревянная рейка.

Рисунок 2. Схема подготовки бетонного основания:

- подготовленное основание, 2 - смонтированный блок, 3 - растворная лопата, 4 - рабочий, выполняющий монтажные работы, 5 - рабочий, выполняющий монтажные работы, старший в звене.

Таблица 3 - Ведомость инструментов, приспособлений, машин и механизмов

Наименование, тип

Марка, ГОСТ

Кол-во

Краткая техническая характеристика

1. Механизмы




Кран башенный


1


Кран гусеничный

ДЭК-50

1

Lстр=15м,с гуськом

Пневмотрамбовка

СВТ-ЗМП

1


Сварочный аппарат

ТС-500

1


Вибратор площадочный

С-414

1


2. Грузозахватные приспособления




Строп 2-х ветвевой


1


Строп 4-х ветвевой


1


3. Средстваа контроля точности




Теодолит


1


Нивелир


1


Отвес строительный

ГОСТ 7948-80

1


Уровень строительный

ГОСТ 9414-83

1


Шнур для разбивки осен.


100м


4. Коллективные и индивидуальные средства защиты и безопасности




Трап с перилами ограждением

Индивид. изготовления

1


Каска строительная

ГОСТ 12.4-087-84

5

На звено

Щиток наголовный НБТ -I

ГОСТ 12.4-023-76

1-2

На звено

Рукавицы комбинированные, брезентовые

ГОСТ 12.4.010-75

7

На звено

Пояс предохранительный

ГОСТ 12.4.089-80



Флажок сигнальный


2


5. Инвентарь и инструменты




Скоба причальная


2


Рейка-правило для разравнивания




Молоток-кулачек МКУ-2

ГОСТ 11042-83



Ведро-оцинкованное

ГОСТ 20558-75



Лопата растворная

ГОСТ 3620-76



Кельма КБ

ГОСТ 9533-81



Ломы монтажны ЛМ-24 ЛМ-32

ГОСТ 1405-83



Ящик для раствора

ЭЖИП Р.Ч.1125-7км


V=2,25м3

Ящик для раствора

ЭЖИП Р.Ч. 1125-3км


V=0,23м3

Подмости





Рисунок 3- график грузоподъемности

Проверка, строповка блока и очистка его нижний плоскости. Монтажник, проверив маркировку, геометрические размеры фундаментных блоков и надежность монтажных петель, стропит блок.

Рисунок 4 Схема строповки

По сигналу монтажника машинист крана приподнимает блок на высоту 50-70 см. Убедившись в надежности строповки и очистив от грязи и наледи нижнюю плоскость блока, монтажник подает сигнал к дальнейшему подъему и перемещению блока к траншее.

Рисунок 5.

Подача блока к месту укладки. Машинист крана плавно поднимает блок и подает его к месту укладки. Монтажник М сопровождает блок до края котлована.

Расстроповка блока исполнители рабочий, выполняющий монтажные работы, старший в звене и рабочий, выполняющий монтажные работы

Рисунок 6 - Схема расстроповки устанавливаемого блока:

- рабочий, выполняющий монтажные работы, старший в звене,

- рабочий, выполняющий монтажные работы.

. Рабочий, выполняющий монтажные работы, старший в звене дает команду машинисту крана ослабить стропы.

. Рабочий, выполняющий монтажные работы, старший в звене и рабочий, выполняющий монтажные работы выводят крюки из монтажных петель блока.

.3      Требования к качеству и приемке работ, операционный контроль

Производство и приемку работ по монтажу сборных железобетонных фундаментов осуществлять согласно требованиям СНиП 3.03.01-87.

При приемке сборных железобетонных фундаментов, поступающих на строительную площадку, следует проверять наличие паспорта, рисок и меток, предусмотренных рабочими чертежами, комплектность фундаментных блоков, отсутствие повреждений закладных и строповочных устройств, соответствии качества фундаментов требованиям стандартов и технических условиям или утверждённым образцам. Приемка смонтированных фундаментов производиться после окончания монтажа всех фундаментов в пределах между температурными или осадочными швами. По приемку должны быть предъявлены документы согласно СНиП 3.03.01-87.

Таблица 2- Состав операций и средства контроля

#G0Этапы работ

Контролируемые операции

Контроль (метод, объем)

Документация

Подготовительные работы

Проверить:  - наличие документа о качестве; - качество поверхности и внешнего вида блоков, точность их геометрических размеров; - перенос основных осей фундаментов на обноску; - подготовку фундаментных блоков к монтажу, в том числе очистку опорных поверхностей от загрязнений и наледи.

 Визуальный Визуальный, измерительный  Измерительный  Визуальный, каждый элемент

Паспорта на плиты и блоки, общий журнал работ

Установка фундаментных блоков

Контролировать: - установку фундаментных блоков, соответствие их положения в плане и по высоте требованиям проекта; - плотность примыкания подошвы фундаментных блоков к поверхности основания; - заполнение швов цементным раствором согласно требованиям проекта.

 Измерительный, каждый элемент  Визуальный    То же

Общий журнал работ

Приемка выполненных работ

Проверить: - отклонение от вертикали плоскостей блоков стен; - отклонение осей фундаментных блоков относительно разбивочных осей; - заполнение швов между блоками раствором.

 Измерительный, каждый элемент То же   Визуальный

Исполнительная геодезическая схема, акт приемки работ


Контрольно-измерительный инструмент: нивелир, рулетка, линейка металлическая, отвес, правило




Операционный контроль осуществляют: мастер (прораб), геодезист - в процессе выполнения работ. Приемочный контроль осуществляют: работник службы качества, мастер (прораб), представитель технадзора заказчика




.4      Техника безопасности и охрана труда

Общие правила

. К монтажу ж/б конструкций допускаются рабочие не моложе 18-летнего возраста, прошедшие обучение по типовой программе, проверенные администрацией в знании настоящей инструкции, имеющие письменное разрешение на производство работ (допуск).

. Работать разрешается только там, куда направлен бригадиром или мастером.

. Не приступать к работе, не получив вводного инструктажа по ТБ и инструктажа по безопасным приемам работ на данном рабочем месте.

Обязанности перед началом работы

.        Проверить исправность и годность всех такелажных приспособлений, убедиться в надежной установке монтажного крана.

.        Подготовить к работе монтажный инструмент.

.        Осмотреть ограждения, подмости, леса и убедиться в их исправности и устойчивости.

.        Проверить достаточность освещения рабочего места.

Требования во время работы.

.        При монтаже фундаментов и стен подвала

·        Рабочее место должно быть очищено от посторонних предметов и спланировано.

·        Не допускать посторонних лиц в зону монтажных работ.

·        Сборные блоки и фундаментные подушки уложить в 2-х метрах от бровки котлована в штабеля с прокладками для подведения строп без поворачивания блоков.

·        Блоки и фундаментные подушки очистить от наледи, снега и грязи.

·        Монтаж верхних рядов выше 1,1 м производить только с инвентарных подмостей или с переносных площадок.

·        При подъеме конструкций сигнализация должна быть организована таким образом, чтобы все сигналы машинисту крана, а также рабочим, занятым на оттяжках, подавались только одним лицом, руководящим подъемом и установкой конструкций.

·        Зоны, опасные для движения людей во время монтажа, должны быть ограждены и оборудованы видимыми предупредительными сигналами. Запрещается пребывание людей на этажах ниже того, на котором производятся строительно-монтажные работы.

·        Строповку изделий производить только за монтажные петли стропами, оборудованными крючками или карабинами.

·        Строповку поднимаемых элементов производить только гибкими стальными стропами, тросами, имеющими бирку.

·        Строповка ж/б элементов производится по разработанным схемам.

·        Запрещается подтягивать изделия перед подъемом или опусканием.

·        После установки изделия ослабить тросы и вторично убедиться в правильности установки его в проектное положение.

·        Не оставлять на весу поднятые изделия.

·        Не укладывать монтируемые изделия на настилы подмостей.

·        Не принимать изделие руками для монтажа, если оно поднято над местом установки более чем на 30 см.

·        Запрещается поднимать или передвигать установленные изделия после отцепки стропов.

При монтаже сборных ж/б конструкций

·        Не допускать превышения максимальной грузоподъемности крана на данном вылете стрелы и не превышать максимальную грузоподъемность такелажных приспособлений (строп и т.д.).

·        Не допускать подтаскивания грузов краном путем косого натяжения канатов или поворота стрелы.

·        При монтаже плит перекрытия, лестничных площадок и др. строповку производить за все петли и не допускать перекоса укладываемого элемента.

·        При сильном ветре (более 6 баллов), гололеде, сильном снегопаде, дожде и тумане монтажные работы на высоте должны быть прекращены.

·        Строповку длинномерных элементов производить не менее чем двумя стропами.

·        Сборку и подъемы конструкций длиной более 6 м и весом более 3 т, требующих особой осторожности при их перемещении и установке, надлежит производить под непосредственным руководством мастера или прораба.

·        Для заводки конструкций и установки их на место необходимо применять специальные ломики или оттяжки, причем нахождение людей под устанавливаемыми элементами не допускается.

Требования после работы

.        Сделать уборку на рабочем месте.

.        Сдать весь инструмент в кладовую.

.        О всех замеченных недостатках доложить мастеру или прорабу.

3.5 Технико-экономические показатели

Таблица 3 - Ведомость подсчёта объёмов работ

Наименование

Марка

Единица измерения

Количество

Укладка плит ленточного фундамента

До 1,5 т ФЛ 16.8-1 Фл 16,12-1 До 3,5 т ФЛ 24.8-1 ФЛ 20-12-1 ФЛ 16-24-1 ФЛ 24-12-1

шт.

 11 3  4 6 25 27

Установка блоков стен подвала

До 0,5 т ФБС 12.4.3 ФБС 9.4.6 До 1 т ФБС 12.4.6 До 1,5 т ФБС 24.4.6

шт.

 46 45  45  53

Укладка плит перекрытий над подвалом

До 3 т ПК 72-12-8 ПК 42.15-8 ПК 42.12-8 До 5 т ПК 72.15-8

шт.

 12 7 2  19

Итого



228


Таблица 4 - Калькуляция затрат труда и машинного времени

Наименование работ

Объём работ

Норма времени на ед. изм.

Затраты труда на весь объём


Ед. изм

Кол-во

чел-дни  (чел-час)

маш-смен (маш-час)

чел-дни

маш-смена

1

2

3

4

5

6

7

Укладка ленточного фундамента До 1,5т До 3,5т

шт

 13 65

 0,63 0,78

 0,21 0,26

 1,13 6,1

 0,7 4,03

Установка блоков стен подвала До 0,5 т До1 т До 1,5 т

шт

 95 35 56

 0,33 0,45 0,66

 0,11 0,15 0,22

 4,7 4 ,8

 1,6 1,56 1,9

Укладка плит перекрытий над подвалом До 3 т До 5 т

шт

  22 19

  0,44 0,56

  0,11 0,14

  1,31 1,52

  0,25 0,33


.5      Расчет технико-экономических показателей

1.      Затраты на весь объем работ - 44,36 чел.дни

.        Затраты труда на 1м3 сборного ж/б- 78,92/ 592=0,112 чел.дни

.        Продолжительность выполнения работ 6

.        Выработка на одного рабочего4,6 шт

.        Затраты труда машинистов 12.94 маш.смен

строительный монтажный фундамент

.       
Календарный план

Календарный план строительства - это документированная модель строительного производства, в которой устанавливают рациональную последовательность, очередность и сроки выполнения отдельных работ и строительных процессов на каждом объекте и всех объектах, входящих в состав комплекса или в годовую программу строительно-монтажной, организации.

Календарный план является ведущей составной частью ПОС и ППР. При этой в соответствии со СНиП 3.01.01-91 в составе ПОС разрабатывают сводный календарный план строительства и календарный план работ подготовительного периода, а в составе ППР - календарный план работ по объекту и календарный план производства работ подготовительного периода. При строительстве технически несложных объектов в составе ППР разрабатывают календарный график работ.

Назначение календарного планирования - разработка и осуществление наиболее эффективной модели организационной и технологической увязки работ во времени и пространстве на одном объекте или группе объектов выполняемых различными исполнителями при непрерывномном и эффективном использовании выделенных на эти цели трудовых, материальных и технических ресурсов с целью ввода в действие объектов и мощностей в установленные государственным планом сроки.

Объектный календарный план строительства разрабатывают в составе ППР с целью установления состава и объемов строительно-монтажных работ на объекте, очередности, последовательности и сроков выполнения каждой работы, определения требуемых ресурсов и сроков их доставки на объект, а также определения сроков начала и завершения строительства каждого объекта.

Исходные данные для разработки объектного календарного плана строительства: сводный календарный план строительства комплекса объектов; нормы продолжительности строительства и задела в строительстве предприятий, зданий и сооружений и директивные сроки ввода в эксплуатацию объектов; рабочая документация объекта; данные инженерных изысканий площадки строительства; типовые ППР аналогичных объектов; типовые технологические карты выполнения основных процессов и работ; данные о мощностях и технической оснащенности общестроительных и специализированных подрядных организаций, их производственной базе и принятых методах организации строительства и производства работ.

Подсчет объемов работ.

Объемы строительно-монтажных работ подсчитывают по рабочим чертежам и сметам в единицах измерения, принятым в ЕНиР на строительно-монтажные работы. Объемы работ записывают в табличной форме.

Объемы специальных работ (электротехнических, сантехнических и др.) определяют по проектам, сметам или по укрупненным показателям на единицу площади, объема здания или на 1 млн. руб. сметной стоимости объекта.

Последовательность выполнения работ на объекте.

Весь процесс возведения объектов разделяют на три основных этапа: возведение подземной части здания; возведение надземной части здания; отделочные работы.

В состав подготовительного периода входят:

         Ограждение строительной площадки согласно графической части (л3)

         Срезка растительного слоя

         Вертикальная планировка

         Уплотнение грунтов

         Обратная засыпка

В состав надземной части входит:

Кирпичная кладка стен, перегородок

Монтаж плит перекрытия

Заполнение оконных проемов

Заполнение дверных проемов

Монтаж плит покрытия

Устройство утеплитель

Устройство ц/п стяжки

Устройство кровли

В состав отделочных работ входят:

Штукатурка внутренних и наружных стен

Окраска потолков

Устройство теплоизоляции и звукоизоляции

Облицовка стен

Окраска стен

Оклейка стен обоями

Устройство полов из линолеума и керамической плитки

Для каждого этапа строительства определяют состав ведущих работ, т.е. работ, имеющих значительные объемы, выполнение которых позволяет получить законченную конструктивную часть здания и приступить к производству последующих работ.

.1 Нормативный срок строительства

Нормативный срок строительства определяется по СНиП 1.04.03-85 «Нормы продолжительности строительства».

Проектируемый объект «Трехэтажный детский сад» имеет нормативный срок девять месяцев - 196 рабочих дня, а подготовительного периода 20 дней.

.2 Номенклатура и объём работ

Таблица 5- Ведомость объемов работ

Виды работ

Формулы, эскизы, расчет

Ед. изм

Количество

Срезка растительного слоя

Решение по охране природы при производстве земляных работ (СНиП 3.02.01-87 “ Земляные сооружения, основания и фундаменты” пункты 9.1, 9.2) предусматривают снятие плодородного слоя почвы на площади занимаемой выемками в размерах, установленных ПОС, укладку его в отвал для последующего использования при благоустройстве.  Условно, толщину плодородного слоя принять 20 мм. В курсовом проекте площадь срезки определяется следующим образом: к габаритам здания прибавить по 10 м с каждой стороны. Fср=(48,3+2*10)*(18,52+2*10)=2631м2 Vср=Fпл*0,2=2631*0,2= 213,2м3

м3

213,2

Предварительная планировка грунта

Площадь планировки поверхности равна площади срезки растительного грунта, определяемой выше. Fпл=Fср

м2

1354


Подземный цикл



Разработка котлована экскаватором, обратная лопата       Минимальная ширина котлована по дну при необходимости передвижения людей в пазухах включает ширину фундамента по его наружным граням плюс 0.6м с каждой стороны (п.п 3.1.3.1 СНиП 3.02.01-87 “Земляные сооружения, основания и фундаменты”). Вид грунта- песок Глубина 2,1м Длина котлована по дну а=46,32+1,6+2*0,6=49,12м Ширина котлована по дну в=14,5+1,6+2*0,6=17,3м Глубина котлована Н= 3,3-1,2=2,1м Заложение откоса с=Н*m=2,1*1=2,1м Длина котлована по верху а= 49,12+2*2,1=53,32 м Ширина котлована по верху в’=17,3+2*2,1=21,5м  Объем котлована Vк=(а*с+а’*в’+(а+а’)*(в*в’))

Vк==(25,12*17,3+24,32*21,5+(25,12+24,32)*

(17,3+21,5))=1045,8м3



 

Разработка грунта вручную

Принимаем 7% от объема котлована  Vвр=Vк*0,07 Vвр=1045,8*0,07=73,2

м3

73,2

Уплотнение грунта

V=753,8м3

м3

753,8

Песчаная или бетонная подготовка под фундамент

Толщина подготовки 100мм. Ширина больше ширины фундамента на 200мм. V12=1.2*0.1*2.4*55=7,84 м3 V8=0,8*0,1*2,4*8=1,536 м3 V12=1.2*0.1*2*12=2.88 м3 V24=2.4*0.1*1.6*49=8.82 м3 V12=1.2*0.1*1.6*6=1.152 м3 V8=0.8*0.1*1.6*21=2.688 м3 Vобщ=21

м3

21

Монтаж фундаментов. Укладка плит ленточных фундаментов массой до : 1,5т 3,5т

ФЛ 16,8-1(800кг) ФЛ 16,24-1 (1220кг)  ФЛ 24,8-1(1870кг) ФЛ 20-12-1 (2440кг) ФЛ 16-24-1 (2470кг) ФЛ 24-12-1 (2850кг)

шт/м3

11/0,26 3/0,41  4/0,58 6/0,78 25/0,86 26/0,91

Установка блоков стен подвала массой до: 0,5т 1т 1,5т

 ФБС 12,4,3 (310кг) ФБС 9,4,6 (470кг) ФБС 12,4,6 (640 кг) ФБС 24,4,6 (1300кг)

  шт/м3

 47/0,127 46/0,195 35/0,265 58/0,543

Устройство монолитных участков

V=3.4 м3 Класс В12.5

м3

3,4

Устройство гидроизоляции Вертикальная гидроизоляция

Р=(14,5+23,32)*2=73,64м Vв=73,64*0,6=37,984м2

м2

37,984

Горизонтальная гидроизоляция

V1=0.6*73.64=35.984 м2 V2=0.3*73.64=19.492 м2

м2


Обратная засыпка

Объем фундаментных блоков V1=0,3*50,3*20,5=309,35 м3 V2=1,8*(14,5+0,26+0,26)*(46,32+0,26+0,26)=1266,4 м3 Vобщ=152,35+635,4=787,8 м3

м3

787,8

Бульдозером

Принимается 90% от объема обратной засыпки V=787,8*0,9=752,2 м3

м3

752,2

Вручную

Принимаем 10% от V обратной засыпки V=752.8*0.1=157.58 м3

м3

75,28


Надземный цикл



Кладка кирпичных стен:  Кладка стен подъезда       Кладка стен лоджий   Кладка наружных стен в 1,5 кирпича           Кладка парапета   Кладка внутренних стен в 1,5 кирпича

 Р=[3,09*2+(6,64-0,38*2)]*2=24,12 м S’=24,12*3,0=72,36 м2 Sок=1,67*0,91=1,57м2 Sдв=(1,35*2,07)*2+(1,01*2,1)=7,71 м2 Sоб=9,23м2 S=72,36-9,23=63,13 м2 V=63,13*0,38=23,99 м3 Р=1,75*18=31,5 м S=31,5*20,6=648,9 м2 V=648,9*0,38=246,58 м3 Р=(14,5-0,12*2)*2+(46,32+0,19*2)*2=121,92 м S’=121,92*3,0=365,76 м2 Sок=48,55 м2 Sдв=26,0 м2 Sоб=48,55+26,0=74,55 м2 S=365,76-74,55=291,22 м2 V=291,21*0,38=110,66 м3 V=110,66*5этажей=553,3 м3 S’=121,92*2,2=268,224 м2 S=268,224-26,0=242,22 м2 V=242,22*0,38=92,05 м3 V=92,05*2=184,1 м3 Р=121,92 м S=121,92*0,92=112,17 м2 V=112,17*0,38=42,62 м3 Р=46,32-0,19*2-3,21+(7,25-0,12-0,19)*8=95,04 м S’=95,04*3,0=285,12 м2 Sдв=21,67 м2 S=285,12-21,67=263,45 м2 V=263,45*0,38=100,111 м3 V=100,111*5этажей=500,555 м3 на технический этаж Р=95,04 м S’=95,04*2,2=209,088 м2 Sдв=21,67 м2 S=209,088-21,67=187,418 м2 V=187,418*0,38=71,22 м3

м3

 12,99       126,58   221,3           96,1   21,62        250,56    71,22

Кладка перегородок  Толщиной 120 мм  Толщиной 200 мм

Р=[(4,59+4,67+2,68+1,87*2+1,55)+(3,6+2,45+2,0+3,0+3,94)+(7,42+5,02+1,8+3,58+1,8)+(9,14+5,02)]*2=132 м S’=132*2,7=356,4 м2 Sдв=(0,91*2,07)*20+(0,71*2,07)*8=49,43 м2 S=356,4-49,43=306,97 м2 V=306,97*0,12=36,84 м3 V=36,84*5этажей=184,18 м3 Р=(6,94+2,0+2,45+6,94)*2=36,66 м S’=36,66*2,7=98,98 м2 Sдв=(0,71*2,07)*2=2,94 м2 S=98,98-2,94=96,04 м2 V=96,04*0,2=19,21 м3 V=19,21*5=96,05 м3


  95,18  48,05

Установка и разработка внутренних подмостей

10*2=20

1 блок

20

Укладка перемычек массой до: -0,3т    -0,7т

По спецификации железобетонных изделий  2ПБ13-1 (0,054т) 2ПБ19-3 (0,018т) 4ПБ30-4 (0,259т) 5ПБ25-27 (0,338т) 5ПБ30-27 (0,410т)

 шт/м3

  10/0,022 40/0,054 40/0,104 10/0,135 20/0,140

Монтаж лестницы Более 1т.

ЛМ 58-14-17 Серия ИИ-04-7 выпуск 1 (2.290т.)

шт


Укладка плит перекрытий До 10м2

По спецификации железобетонных изделий ПК 72.15-8т ПК 72.12-8  ПК 42.15-8 ТА ПК 42.12-8 ТА

шт

36/3,35 24/2,53 14/2,02 4/1,525

Заполнение оконных проемов -до 2 м2     >2 м2

  ОК1 0,910*1,670*8=12,16 м2 ОК2 1,010*1,670*20=33,8 м2 ОК3 1,210*1,670*40=80,8 м2 ОК4 1,800*1,670*10=30,2 м2 ОК5 1,810*1,670*10=30,4 м2

   м2  м2  м2  м2  м2

   12,16  33,8  80,8  30,2  30,4

Заполнение дверных проемов -до 3 м2       >3 м2

  1 0,81*2,1*60=50,06 м2 2 1,01*2,1*45=44,45 м2 3 1,35*2,07*20=23,89 м2 4 1,0*2,47*10=12,7 м2

   м2  м2  м2  м2

   50,06  44,45  23,98  12,7

Устройство кровли

S1=7.25*(46.32-(0.11*2))=334.23 м2 S2=7.25-(46.32-(0.09*2))=334.52 м2 Sобщ=334,23+334,52=668,75 м2

  м2

  334,75

Устройство утеплителя

Утеплитель керамзит S=334.75 м2

м2

334,75

Устройство стяжки

Стяжка из ЦПР М150 V=334,75*0,03=10,06 м3

м3

10.06

Устройство гидроизоляции

Праимер битумный Технониколь №1 S=334.75 м2

м2

334,75

Устройство насыпного слоя

Засыпка из гравия фракции 5-10мм V=334,75*0,01=3,34 м3

м3

3,34


Отделочный цикл



Штукатурка внутренних стен

S=5345.53 м2

м2

5345.53

Облицовка стен керамической плиткой

S3=6.6*3=19.8 м3 S7,8=17.32*3=51.96 м3 S13=8.52*3=25.56 м3 S15=8.12*3=24.36 м3 Итого 121.68*2=243.36 м3  243,36*5эт=624,8 м3

м3

624,8

Окраска стен технического этажа

Р1=(7,25*2)+(46,32-(0,11*2)*2)=106,7м Р2=(7,25*2)+(46,32-(0,09*2)*2)=103,54м S1=106,7*4,557=487,62 м2 S2=103.54*1.9=196.73 м2 Итого 345,35 м3

м3

345,35

Окраска потолка

S=597,36*5=2164,8м2

м2

1624,8м2

Устройство внутренних стен Оклейка обоями

  S1=18,28*3=54,84 м3 S2=17,1*3=51,3 м3 S4=17,08*3=51,24 м3 S5=18,44*3=55,32 м3 S6=13,64*3=40,92 м3 S9=18,74*3=56,22 м3 S10=19,38*3=58,14 м3 S11=16,04*3=48,12 м3 S12=18,64*3=55,92 м3 S14=17,2*3=51,6 м3 S16=12,14*3=36,42 м3 S17=21,88*3=65,64 м3 S18=14*3=42 м3 S19=35,5*3=106,5 м3 Итого 815,76*2=1631,52 м3 1631,52*3=4575,6 м3

м3

4575,6

Устройство плинтуса

Р1=(4,47+4,67)*2=18,28м Р2=(4,55+4)*2=17,1м Р3=(1,55+1,75)*2=6,6м Р4=(3,6+4,94)*2=17,08м Р5=(4,28+4,94)*2=18,44м Р6=(3+3,82)*2=13,64м Р7,8=(2,45+1,88)*2=17,32м Р9=(4,35+5)*2=18,74м Р10=(4,67+5,02)*2=19,38м Р11=(3+5,02)*2=16,04м Р12=(4,3+5,02)*2=18,64м Р13=(2,46+1,8)*2=8,52м Р14=(3,58+5,02)*2=17,2м Р15=(2,26+1,8)*2=8,12м Р16=(4,27+1,8)*2=12,14м Р17=(9,14+1,8)*2=21,88м Р18=(0,91+1)*2+(2,09+3)*2=14м Р19=(1,87+1,45)*2+(3,6+4,41)*2+(3,45+3)*2=35,56м Робщ=298,68*2=597,36м на один этаж 597,36*3=1624,8м

м

1624,8

Полы Уплотнение грунта

V=757.8м3

м3

757,8

Устройство оснований

Vосн=Sпола*α Vосн=2045,3*0,1=245,43 м3

м3

245,43

Устройство пароизоляции

Sпар=Sпола=2045,3 м2

м2

2045,3

Устройство теплоизоляции и звукоизоляции

Vт.зв*hизол Vт.зв=2045,3*0,02=42,69 м3

м3

42,69

Устройство чистого пола

Бетонный пол S=1668.6 м2 Керамическая плитка S=194,6 м2 Линолеум S=1245.5 м2 Sобщ=1668,6+194,6+1245,5=2152,7 м2

м2

2152,7

Отделка фасада Штукатурка фасада

Рзд=(46,7+19,60)*2=132м3 S1=Рзд*Hзд1= 132,6*17,36=2302 м2 S2=Рзд*Hзд2= 135,6*21,4=2837,64 м2 S=2302+2837.64=2657.64 м2

м2

2657,64

Облицовка цоколя

Sпр=Sок+Sдв=250,3+276,9=212 м2 S=S-Sпр =5139.64-527.2=2357.44 м2 S=Pзд*Нц=75,6*1,47=95,9 м2

м2

95,9

Окраска фасада

S=Sобщ-S=4612,44-194,9=1296,54 м2

м2

1296,54


Разные работы



Благоустройство территории

5% ∑ Затрат труда*5% 6344,85-0,05=317

Чел-день


Прочие неучтенные работы

7%  6344,85*0,07=444

Чел-день


Устройство отмостки


м3

22,9


Специальный цикл



Отопление и вентиляция

1. Общая площадь жилого здания Sжил=4332,7 м2 2. Полезная площадь Sпол=4332,7-(21,2*7)=4184,3 м2 Объем здания выше чистого пола: Vстр1=7,25*(46,32-(0,11*2))*17,36=5802,15 м3 Vстр2=7,25*(46,32(0,09*2))*21,4=7158,6 м3 V0-21.4/17.36=5802,15+7158,6=12960,75 м3 Объем здания от отметки -1200 Vстр1=7,25*(46,32-(0,11*2))*2,8=5802,15 м3 Vстр2=7,25*(46,32(0,09*2))*3,6=1204,25 м3 V=5802.15+1204.25=7006.4 м3 Объем кровли: Vкр=12960,75 м3 Строительный объем здания Vзд=12960,75+7006,4+12960,75 =15875.9 м3

 100м3

158.279

Водопровод и канализация

Vзд =V0-21.4/17.36 + V-1200-2,8.3,6+ Vкр Vзд=12960,75+7006.4+12960,75 =15875.9 м3

100м3

158.279

Электромонтажные работы

Vзд =V0-21.4/17.36 + V-1200-2,8.3,6+ Vкр Vзд =12960,75+7006.4+12960,75 =15875.9 м3

100м3

158.279



4.3    Выбор методов производства работ и основных строительных машин

Подготовительный период включают в себя

Расчистку территории. При расчистке территории впервые осваиваемой площадки пересаживают зеленые насаждения. Кусторезами расчищают территорию от кустарника.

Отвод поверхностных и грунтовых вод. Поверхностные воды образуются из атмосферных осадков.

Создание геодезической разбивочной основы. Геодезическую разбивочную основу для определения положения объектов строительства в плане, создают в виде строительной сетки, продольных и поперечных осей, определяющих положение на местности основных зданий и сооружений ,и их габаритов .

Разбивка земляных сооружений. Разбивку земляных сооружений осуществляют с помощью геодезических инструментов и различных измерительных приспособлений.

После разработки грунта и его доработки производим монтаж сборных железобетонных фундаментов. Смотри технологическую карту

После всех выполненных работ выполняется обратная засыпка пазух котлована.

Надземная часть.

Монтаж плитных перекрытия. Все типы сборных покрытий монтируют способом “на весу” с помощью кранов. Подготовка к монтажу плитных элементов покрытий в основном заключается в отчистке и выправке закладных деталей. В зависимости от размеров плитных элементов и числа мест их захвата в качестве строповочных устройств применяют нужный строп.    

Кладку наружных и внутренних стен из силикатного кирпича толщиной 380мм, уложенный на цементно-песчаном растворе. Кладка наружных и внутренних несущих стен, а также перегородок должна выполняться в соответствии с рабочими чертежами на возводимую секцию, проектом производства работ и настоящей технологической картой.

Кладка внутренних несущих стен и перегородок ведется звеньями каменщиков "двойка". Каменщик К укрепляет причалку для кладки, каменщик К подает и раскладывает керамические камни на перегородку и расстилает раствор для кладки. При вынужденных перерывах кладка выполняется в виде наклонной или вертикальной штрабы.

По достижении кладкой отметки 1200+1250мм над уровнем перекрытия, устанавливаются подмости, и кладка последующего яруса ведется с шарнирно-панельных подмостей. Причалка натягивается по каждому ряду кладки.

Устройство кровель. Кровля плоская, не эксплуатируемая.

Отделочные работы:

Штукатурка внутренних и наружных стен. Штукатурка используется для наружной и внутренней отделки зданий с целью защиты поверхностей конструкций от вредных атмосферных воздействий. Она обеспечивает полную или частичную их несгораемость, уменьшение тепло- и звукопроводности.

Устройство полов. Монолитные цементно-песчаные стяжки устраивают под многие виды полов. В нашем случае полы устраиваются с линолеума и керамической плитки. Зазоры между стенами и линолеумом не должны превышать 10 мм. После настилки пола в помещениях устанавливают деревянные плинтуса.

Полы из керамических плиток. Керамические плитки укладывают на стяжку из цементно-песчаного раствора по различным основаниям. Перед устройством полов основание очищают от строительного мусора и обильно смачивают водой. Полы из плитки устраивают в помещениях с влажным режимом эксплуатации.

Для облицовки стен применяем керамическую плитку. Начинают с разметки и провешивания. Устанавливают марки, затем через 100…200 мм друг от друга устанавливают маячные плитки. Облицовку производят с низу в верх. Раствор накладывают тонким слоем на тыльную сторону плитки, после чего прижимаем плитку к стене. Швы между плитками заполняют полимерцементным раствором, в завершении поверхность протирают ветошью.

Окраска поверхностей водными составами. Составы наносят краскопультами. Оштукатуренные поверхности перед окраской обрабатывают шпатлевкой, перед нанесением шпаклевочного состава поверхность смачивают водой.

Также стены оклеиваются обоями.

.4      Определение трудоемкости работ и затрат машинного времени

Таблица 6 - Ведомость затрат труда и машинного времени

Наименование работ

Объём работ

Норма времени на ед. изм.

Затраты труда на весь объём


Ед. изм

Кол-во

Чел-дни (чел-час)

Маш-смен (Маш-час)

Чел-дни

Маш-смен

Подготовительный период







Подземный цикл







Разработка котлована


2089,8

0,017

0,006

35,5

12,5

Доработка грунта вручную


146,3

0,057

-

8,3

-

Бетонная подготовка под фундамент


43

0,6

-

25,8

-

Укладка фундаментов


514

-

-

69,22

23,06

Горизонтальная гидроизоляция


36,5

0,017

-

0,6

-

Вертикальная гидроизоляция


72,98

0,018

-

1,3

-

Бетонная подготовка под полы


1668,6

0,021

-

35

-

Кирпичная кладка цоколя


88,03

0,45

0,05

39,6

4,4

Укладка плит перекрытий


78

-

-

9,66

2,42

Обратная засыпка


1575,8

0,004

0,004

6,3

6,3

Надземный цикл







Кирпичная кладка стен


1622,37

0,47

0,05

762,5

81,1

Укладка перемычек


0,455

0,45

0,15

0,2

0,1

Кладка перегородок


184,18

0,058

-

10,7

-

Монтаж перегородок


0,2

354,62

52,21

8,9

1,3

Монтаж плит перекрытий


390

0,48

0,157

187,2

61,2

Монтаж лестничных маршей


26

0,87

0,174

22,6

4,5

Монтаж плит покрытий


78

0,48

37,4

12,2

Устройство тепло- звукоизоляции


83,69


-



Устройство утеплителя кровли


668,75

0,05

-

33,44

-

Устройство стяжки


20,06

0,021

-

0,42

-

Устройство гидроизоляции


863,75

0,017

-

14,7

-

Устройство насыпного слоя


6,69

3,04

-

2,52

-

Заполнение оконных проемов


247,36

0,28

-

69,26

-

Заполнение дверных проемов


278,19

0,41

-

114,1

-

Отделочный цикл







Штукатурка внутренних стен


10665,53

74,24

-

989,8

-

Облицовка стен керамической плиткой


1216,8

307,8

-

468,2

-

Устройство ЦПС полов


26641

0,021

-

55,9

-

Окраска потолков


2986,8

53,09

-

198,2

-

Окраска стен технического этажа


684,35

14,19

-

97,1

-

Полы из керамической плитки


194,6

0,089

-

17,3

-

Устройство полов с линолеума


2469,5

31,41

-

97

-

Оклейка обоями


8157,6

64,16

-

654,2

-

Облицовка цоколя


194,9

290,70

-

70,8

-

Устройство отмостки Бетонная подготовка Асфальтобетонная подготовка


 29,5 12,4


-


-

Штукатурка фасада


5139,64

70,88

-

455,3

-

Окраска фасада


4417,54

10,03

-

55,4

-

Специальный цикл







Отопление и вентиляция


329,279

15

-

617,4

-

Водопровод и канализация


329,279

10

-

411,6

-

Электроснабжение


329,279

10

-

411,6

-


Таблица 7 -таблица нормативных допусков

Наименование отклонений

Допуск в мм

Допускаемые отклонения поверхностей и углов кладки от вертикали

10

Толщина швов кладки

20

Допускаемое отклонение смещения осей конструкций

12

Допускаемое отклонение от отметок обрезов

15

Допускаемое отклонение рядов кладки от горизонтали

20


.5      Расчет технико-экономических показателей

. Продолжительность строительства

) Нормативная (Пн) определяется по СНиП 1.04.03-85 «Нормы продолжительности строительства»

Пн= 9 месяцев, что составляет 196 рабочих дня

) Фактическая (Пф) по календарному плану -196 дня

.4.2 Коэффициент продолжительности строительства Кпр


. Трудоёмкость общестроительных работ равна 3125,85 чел-дни 

. Трудоёмкость на 1 м3 здания, чел-дни, определяется отношением общей трудоемкости к строительному объёму здания.

,85/50734,8= 0,13 чел-дни

. Коэффициент движения рабочих,


где Nmax - максимальное число рабочих в день, занятых на строительстве, чел.;ср - среднее число рабочих, чел.

где W - общие трудозатраты выполнения работ, чел-смен;

Пф - фактическая продолжительность строительства, дни

. Коэффициент совмещения строительных процессов во времени, Кс>1


где Ппос - продолжительность работ по объекту, если бы они выполнялись последовательно одна за другим.

Пфак - фактическая продолжительность работ по календарному плану.

5.     
Строительный генеральный план

СГП разрабатывают в соответствии с требованиями СНиП 3.01.01-84 «Организация строительного производства».

Настоящий строй генплан разработан на период устройство сборного фундамента и плит перекрытий подвала

Ограждают территорию временным инвентарным защитным охранным ограждением по ГОСТ. Устанавливаются ворота и калитки.

Движение автотранспорта на строительной площадке производится по уже имеющейся автомобильной дороге, устраиваются стоянки под разгрузку.

Складирование материалов и строительных конструкций производится на открытой площадке, уплотнённой щебнем, толщиной 5 мм.

Для размещения рабочих устанавливают инвентарные бытовые помещения вне опасной зоны.

Устанавливают монтажный кран ДЭК-50 с длиной стрелы 15 м., и клювом 10м.

.2      Расчёт количества временных зданий

Таблица 8

Складируемые конструкции

Количество рабочих человек

марка

Количество шт

марка

Количество штук


ФЛ 24-12-1

55

ПК 72.15-8т

36

58

ФЛ 24-8-8

8

ПК72.12-8т

24


ФЛ 20.12-1

12

ПК42.15-8Та

14


ФЛ 16.24-1

49

ПК 42.12-8Та

4


ФЛ 16.12-1

6




ФЛ 16.8-1

21




ФБС 24.4.6

107




ФБС 12.4.6

70




ФБС 9.4.6

95




ФБС 12.4.3

91





Определение площадей временных зданий и сооружений производится по максимальной численности работающих на строительной площадке и нормативной площади на одного человека, пользующегося данными помещениями.

Численность рабочих определяется по формуле:


где - численность рабочих

- численность инженерно-технических работников

- численность младшего обслуживающего персонала

- численность служащих

N=(58*100)/85=68,2 чел - 1% составляет 0,685 чел

Nитр =8*0,682=5

Nслуж=5*0,682=3

Nмоп=2*0,6858=1

Nобщ=(58+5+3+1)*1,05=70

Таблица 9 - Расчёт площадей временных здания

3.4 Расчёт потребности в энергоресурсах

.4.1 Расчёт потребности строительства в воде

Расчет временного водоснабжения заключается в определении схемы расположения сети и диаметра трубопровода подающего воду на следующие нужды:

1) Производственные нужды ();

) Хозяйственно-бытовые нужды ();

) Душевые установки ();

) Пожаротушение ();

Полная потребность в воде составит:


Таблица 10 - График потребности воды на производственные нужды

Потребители воды

Ед. изм.

Кол-во в смену

Норма расхода воды на ед. изм.

Общий расход в смену

Месяцы






Апрель

Май

июнь

июль

август

сентябрь

октябрь

ноябрь

Работа экскаватора

маш.-ч

13

15

195

195

1

-

-





Штукатурные работы

м2

204

8

1632


-

-


1632




Малярные работы

м2

131

1

131


-

-



131



Поливка кирпича с приготовлением раствора

м2

12

170

2040




 2040





ИТОГО





195

2040

2040

3672

3803

1763

1763

131


По максимальной потребности находят секундный расход воды на производственные нужды:

=

где - максимальный расход воды;  - коэффициент неравномерности поста потребления воды, для строительных работ равен 1,5; t1 - количество часов работы к которой отнесён расход воды.

Количество воды на хозяйственно-бытовые нужды определяется на основании запроектированного стройгенплана, количества работающих, пользующихся услугами, и норм воды.

Секундный расход воды на бытовые нужды:

0,3 л/с

где  208*15=3120 л - максимальный расход воды в смену на хозяйственно-питьевые нужды; К2 - коэффициент неравномерности потребления; t2 - число часов работы в смену.

Секундный расход воды на душевые установки:

2,3л/с

где  208*30=6240 л - максимальный расход воды на душевые установки; t3 -продолжительность работы душевой установки - 0,75ч (45мин);  - коэффициент неравномерности потребления воды = 1.

В данном проекте расход воды на пожаротушение на строительной площадке принимаем 10л/с, т.е. предусматриваем одновременно действие струй из двух гидрантов по 5л/с.

Диаметр трубопровода для временного водопровода рассчитываем по формуле:

, или

так как  и 100 постоянные величины, то:

109 мм

где  - скорость воды.

В связи с тем, что промышленность выпускает пожарные гидранты с минимальным диаметром 110 мм, строители вынуждены диаметр труб временного водопровода принимать таким же; однако для временного водопровода это не целесообразно. Поэтому гидранты рекомендуется проектировать на постоянной линии водопровода, а диаметр временного водопровода рассчитывать без учёта пожаротушения:

Вобщ = 0,19+0,3+2,3=2,79 л/с

=48,7 мм

Принимаем по ГОСТу диаметр временного водопровода, равный 50 мм.

3.4.2 Расчёт потребности строительства в электроэнергии

Таблица 11 - График мощности установки для производственных нужд

Механизмы

Ед. изм

Кол-во

Установленная мощность электродвигателей, кВт

Общая мощность, кВт

Месяцы






апрель

май

июнь

июль

август

сентябрь

октябрь

ноябрь

Башенный кран с горизонтальной стрелой КБ403Б

шт

1

116

116



116






Кран дизельно электрический на гусеничном ходу  ДЭК-50

шт

1

115

115


115







Штукатурный агрегат СО-57А

шт

2

5.25

10.5







10,5


Растворонасосы  СО-48Б

шт

1

2.2

2.2




2,2





Электрокраскопульт  СО-61

 шт

3

0.27







0,81


Излучатель инфракрасного излучения для сварки линолеума Пилад-28

шт

2

0.9

1.8







 1,8


Поверхностные вибраторы Ив-91

шт

2

0.6

1.2



1,2






Машина для подогрева и перемешивания, и подачи мастик на кровлю СО100А

шт

1

60

60






60

 


Машина для нанеесения битумных мастик СО122А

шт

1

4.9

4.9






4,9



Сварочный аппарат переменного тока  СТШ-500

шт

2

32

64



64






Понизительный трансформатор

шт

1

1

1




1





Электросверло, циркулярная пила

шт

3

0.6

1.8





1,8




ИТОГО





66,2

183,4

186,2

196,7

197,51

262,41

197,51

78,31


Мощность силовой установки для производственных нужд определяется по формуле:


где kс - коэффициент спроса;  - коэффициент мощности; Рбаш.кр, Рштук, Рраств.насос, Рэл.краск, Рвибрат., Рподогрев, Рсвар.ап., Ртрансф., Рдрель - мощность механизма.

Максимальная  составляет 15,15 кВт, по данному количеству и ведём рачёт:


*0,3/0,5+10,5*0,7/ 0,8+2,2*0,7/0,8+0,81*0,7/0,8 +1,2*0,6/0,7+60* 0,1/0,4 +4,9*0,7/0,8 +64*0,35/0,4+1* 0,3/0,5 +1,8*0,1/0,4=158,8кВт

Мощность сети наружного освещения находим по формуле:

 

где kc - коэффициент спроса.

Таблица 12 - Мощность электросети для освещения территории производства работ

Потребители энергии

Ед. изм.

Кол-во

Норма освещённости, кВт

Мощность, кВт






Монтаж сборных конструкций

1000 м²

0,67

2,4

1,61

Охранное освещение

км

0,39

1-1,5

0,39

Прожекторы

шт

4

0,5

2,0

ИТОГО

-

-

-

4,21


Квт

Мощность сети внутреннего освещения рассчитывают по выражению:


Таблица 13 - Мощность сети внутреннего освещения

Потребители энергии

Ед. изм.

Кол-во

Норма освещённости, кВт

Мощность, кВт






Прорабская

100 м²

0,36

1-1,5

0,54

Проходная


0,06

0,8-1,0

0,06

Гардероб


0,486

1-1,5

0,729

Умывальная


0,18

1-1,5

0,27

Душевая


0,36

0,8-1,0

0,36

Сушилка


0,18

0,8-1,0

0,18

Помещение для обогрева рабочих


0,18

0,8-1,0

0,18

Помещение для приёма пищи


0,18

0,8-1,0

0,18

ИТОГО




2,5



Отсюда общая мощность электропотребителей:

Wобщ= 158,8 +4,21 + 2 =165кВт;

Подбираем трансформатор: 180кВт ТМ 320/6

(трёхфазный, масляный, максимальное напряжение 6кВ).

.4 Мероприятия по охране окружающей, противопожарной безопасности, технике безопасности

Мероприятия по технике безопасности

·        Электроосвещение территории строительства, приобъектных складов, дорог и рабочих мест монтажа производить прожекторами, устанавливаемых на мачтах и вышках.

·        Проезды, проходы, рабочие места не загромождать, регулярно очищать от строительного мусора, зимой посыпать песком.

·        Опасные зоны обозначать знаками безопасности.

·        Строительный мусор удалять с этажей в закрытых ящиках с помощью крана.

·        Проход рабочих к рабочим местам осуществлять по лестничным клеткам. Над входами в здание устанавливать временные козырьки, размером 2 х 2м.

·        Для обогрева рабочих на монтажном горизонте устанавливать будку монтажника. Нахождение в будке людей во время монтажа запрещается

·        Противопожарные мероприятия

·        До начала СМР разработать мероприятия по производству огнеопасных работ. Определить комплекты средств пожаротушения и их расположение. Назначить лиц ответственных за противопожарное состояние объекта.

·        Для пожаротушения на строительной площадке использовать существующий пожарный гидрант и воду из ёмкостей

·        Каждый вагончик оборудовать огнетушителем. У бытовок установить противопожарный пост.

·        По мере наполнения ёмкости сгораемые отходы вывозить за пределы строительной площадки.

·        Мероприятия по охране окружающей среды

·        При организации строительного производства необходимо проводить специальные работы по охране окружающей среды:

) По предотвращению загрязнения воздуха, воды и почвы

) Максимальное сохранение древесных кустарников и растительности

) Обеспечение рекультивации земель

Не допускается сжигание отходов на строительной площадке или их остатков, в частности рулонных материалов на битумной основе, изоляционных материалов, красителей, автопокрышек и т.д. Сбрасывать с этажей зданий отходы и мусор можно только с применением закрытых лотков.

Для предотвращения загрязнения поверхностных и подземных вод, необходимо при мытье автотранспорта улавливать загрязненную воду. Все производственные и бытовые стоки, образующиеся на строительной площадке, должны быть очищены и обезврежены. Не допускается выпуск воды со строительной площадки непосредственно на склоны, без надлежащей защиты от размыва.

На территории строящегося объекта не допускается непредусмотренная проектной документацией вырубка древесно-кустарниковой растительности и засыпка грунтом корневых ниш и стволов деревьев. Все предприятия, ведущие строительство на сельхоз землях, должны привести их в природное состояние в ходе работ, а при невозможности после завершения всех работ, в течении года.

Приведенный перечень мероприятий по охране природы должен быть уточнен и отражен в принятом решении проектной документации.

.6 Расчёт технико-экономических показателей

Таблица 14 - ТЭП стройгенплана

Показатели

Единица измерения

Величина показателя

Примечания

Площадь строительной площадки

м2

2335,6

F

Площадь застройки проектируемого здания

м2

391,4

FП

Площадь застройки временных зданий и сооружений

м2

157,3

FB

Протяжённость временных:




дорог

м

130

Ширина 3,5м

водопровода

м

89

Диаметр 50мм

осветительных линий

м

389,32


ограждения

м

400

инвентарный забор

Коэффициент Кп.в.

%

40,2

Кп.в=Fв*100/Fп

Компактность стройгенплана




К1

%

16,7

К1 =Fп*100/F

К2

%

6,7

К2 =Fв*100/F


Компактность стройгенплана характеризуется в процентном отношении площади застройки строящегося объекта к площади стройгенплана. Компактность составит

К1 =Fп*100/F = 391,4*100/2335,6=16,7%

К2 =Fв*100/F=157,3*100/2335,6=6,7%

Список литературы

1 . Методические указания для студентов по выполнению курсового проекта «Разработка ППР на строительство здания». ТПК, 2004;

. Методические указания для студентов по выполнению технологических карт. ТПК,2004;

. Хамзин C.K., Kapaceв A.K. Технология строительного производства. Kypcoвoe и дипломное проектирование М. 1989г.;

. Каталог грузоподъёмных кранов;

. Руководство по контролю качества CMP. Санкт-Петербург, 1998г.;

. CHиП 3.01.01-85 Oрганизация строительного производства;

. СНиП 12-03-2001 Безопасность труда в cтроительстве. Часть 1.Общие требования;

. СНиП 12-04-2002 Безопасность труда в строительстве. Часть 2;

. Сборники ЕНиР и ГЭСН-2001;

. Компьютерные программы «Стройтехнолог» и «Стройконсультант». TПК, читальный зал.