Материал: Разработка однокристального RISC-процессора для встроенных применений

Внимание! Если размещение файла нарушает Ваши авторские права, то обязательно сообщите нам

14.3 Команды переходов

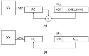
Команды переходов заменяют содержимое регистра PC целевым адресом перехода. Этот адрес получается либо путем добавления смещения, заданного в команде перехода, к значению регистра PC (рис. 29а), либо загрузкой прямого адреса, находящегося в команде перехода, в регистр PC (рис. 29б).

Рис. 29

Данная схема верна как для команды безусловного перехода, так и для условных переходов, а также для команды перехода к подпрограмме. Разница заключается только в том, что при условном переходе предварительно проверяется один из флажков и переход осуществляется только при определенном значении этого флажка. А при выполнении перехода к подпрограмме предварительно в стеке сохраняются значения программного счетчика и регистра флажков.