Материал: Разработка оборудования технологического процесса для реализации яблок

Внимание! Если размещение файла нарушает Ваши авторские права, то обязательно сообщите нам

Разработка оборудования технологического процесса для реализации яблок

МИНИСТЕРСТВО СЕЛЬСКОГО ХОЗЯЙСТВА РОССИЙСКОЙ ФЕДЕРАЦИИ

Федеральное государственное бюджетное образовательное учреждение Высшего профессионального образования

МИЧУРИНСКИЙ ГОСУДАРСТВЕННЫЙ АГРАРНЫЙ УНИВЕРСИТЕТ





КУРСОВАЯ РАБОТА

по дисциплине "Оборудование предприятий"

на тему "Разработка оборудования технологического процесса для реализации яблок"











М И Ч У Р И Н С К - 2013 г.

Содержание

Введение

1.      Выбор расчетной схемы технологического процесса поставок, хранения и реализации

.        Планирование холодильника и расчет габаритов хранилища

.        Расчет потребности и таре для закладки на хранение и реализацию

.1 Расчет потребности в таре при уборке

.2 Расчет количества тары при реализации

. Расчет производительности и потребности в транспортных средствах

.1 Расчет производности транспортных средств

.2 Расчет количества электропогрузчиков для обеспечения технологического процесса закладки продукции на хранение

5. Расчет теплопритоков в хранилище и тепловые мощности

6. Устройство и планировка магазинов. Основные требования к устройству и планировке магазинов

Заключение

Список литературы

Введение

Холодильная обработка и холодильное хранение обеспечивают наилучшие возможности не только для сохранения качества и питательной ценности, но и с точки зрения стоимости.

Выбор типового проекта для строительства холодильника имеет важное значение. При этом следует учитывать уровень производства (урожайность, способ хранения), рентабельность хозяйства и окупаемость капитальных вложений в срок принятый для строительства.

Принятая планировка должна соответствовать принятой схеме технологического процесса, т. е. обеспечивать точное и последовательное выполнение всех технологических операций, должна способствовать уменьшению первоначальных затрат на строительство холодильника. Это достигается широким применением типовых строительных элементов и конструкций, использованием местных строительных материалов. Также она должна обеспечивать дешевую и удобную эксплуатацию холодильника.

1. Выбор расчетной схемы технологического процесса поставок, хранения и реализации продукции

Яблоки, предназначаемые для закладки на хранение, надо по возможности дольше (но не до наступления сильных заморозков) оставлять на деревьях, давая им возможность достичь зрелости. Однако к моменту сбора плоды должны быть еще достаточно твердыми и жесткими. К моменту уборки такие яблоки должны иметь нормальную для данного сорта поверхностную окраску, приятный вкус и бурые или коричневые семена. Не рекомендуется закладывать на хранение падалицу. Снимать плоды с деревьев надо вручную, осторожно отрывая их с плодоножками, и осторожно укладывать в корзины или ящики, не допуская образования побитостей и других механических повреждений. Нельзя стряхивать плоды с дерева. При сборе следует пользоваться лестницами - приставными, треножными, стремянками и т. д. Собранные плоды доставляют на упаковочный пункт, который должен быть расположен или в самом саду или в непосредственной близости от него. На пункте яблоки сортируют по помологическим сортам, качеству и степени зрелости. Кроме того, яблоки калибруют по размеру, чтобы при укладке их в стандартные ящики для последующей отправки на реализацию или на хранение в каждом ящике были по возможности одинаковые плоды. Рассортированные плоды осторожно укладывают в ящики. Ящики должны быть из чистых дощечек липовых, осиновых или хвойных пород дерева. Наиболее распространены ящики двухголовочные емкостью 30 кг, имеющие внутренние размеры 640×400×280 мм, или ящики на 20 кг с размерами 520×360×250 мм. Ящики могут быть как новые, так и возвратные (так называемая инвентарная тара), если они не повреждены и не загрязнены. Перед укладкой плодов возвратные ящики с целью дезинфекции окуривают сернистым газом. Для этого их помещают в плотно закрывающуюся камеру, на полу которой устанавливают жаровни с желтой комовой серой, взятой из расчета 200-250 г на 1 м3 емкости камеры. Серу зажигают и закрывают двери камеры. После трех-четырехчасовой выдержки камеру открывают, проветривают, ящики выгружают и перевозят в упаковочное отделение. При упаковке ящики выстилают оберточной бумагой. Плоды заворачивают в бумагу и укладывают ровными рядами или же укладывают их с перекладкой тонкой, специальной упаковочной стружкой (липовой или осиновой, но не хвойных деревьев). Затем ящики забивают и перевозят в хранилище. Время с момента съема яблок и других плодов до их загрузки в хранилище в упакованном виде не должно превышать трех суток, а для яблок и груш летних сортов - не более одних суток. Лучше всего яблоки сразу после уборки поместить в холодное хранилище. В хранилище ящики устанавливают, выделяя в отдельные штабеля однородные партии плодов по сортам, размеру и т. д. Укладывать ящики можно прямо или в шахматном порядке, но во всех случаях надо создавать небольшие промежутки между ящиками для лучшего омывания их холодным воздухом. Все эти предосторожности применяют для того, чтобы обеспечить наилучший режим хранения плодов. Рекомендуемые режимы для хранения яблок: температура от -1 до +1°, относительная влажность воздуха 90-95%; При таких условиях плоды дольше сохраняются, процесс дозревания их протекает медленно, они остаются достаточно устойчивыми к различным заболеваниям и функциональным расстройствам, а весовые потери за счет дыхания минимальны. Нельзя допускать подмораживания плодов во время хранения. Если влажность воздуха очень низкая, плоды могут завянуть. При хранении плодов большое значение имеет газовый состав среды. Как известно, в обычном воздухе содержится около 21% кислорода и около 79% азота, а также небольшое количество углекислого газа СО2 и других газов. Если уменьшить количество кислорода в воздухе и ввести некоторое количество углекислого газа, то дыхательные процессы, особенно при низкой температуре, замедляются; для микроорганизмов также создаются менее благоприятные условия. В результате значительно повышается лежкость плодов и удлиняются сроки их хранения без порчи и заболеваний. Но только за счет дыхания нельзя значительно изменить состав атмосферы в хранилище. Поэтому крупные специализированные плодохранилища оборудуются герметически закрывающимися камерами, в которых после загрузки в них ящиков с плодами искусственно изменяют и регулируют состав воздуха, вводя углекислый газ или, наоборот, поглощая его с помощью щелочных растворов при избыточном содержании и т. д. При температуре около 4-8° рекомендуется такой состав газовой смеси в хранилище для яблок: кислорода 10%, углекислого газа 10-11%, азота 79%. При более высоком содержании углекислого газа нарушаются нормальные физиологические процессы в плодах, в частности дыхание. Газовый состав атмосферы при хранении различных помологических сортов плодов должен быть различным. Так, некоторые сорта яблок при содержании в атмосфере хранилища более 6-8% углекислого газа склонны к побурению. Поэтому при закладке на хранение яблок и других плодов в условиях регулируемой атмосферы следует сначала уточнить сортовой состав сырья и уже в зависимости от него устанавливать предельное содержание углекислоты. Рациональная организация товарного потока предусматривает внутрискладские перемещения товаров максимально короткими, непересекающимися, противоположно направленым партиям. Пути движения товаров- максимально выпрямленными, как в горизонтальном. Так и в вертикальном направлениях, такая организация товарного потока обеспечивает сокращение длительности выполнения отдельных операций. Принцип эффективного использования средств труда предусматривает оптимальное использование площади, ёмкости и оборудования склада. Одним из условий рациональной организации является чёткое распределение обязанностей между работниками, выполняющими соответствующие операции.

2. Планировка холодильника и расчет габаритов хранилища

Холодильник представляет собой блок из нескольких холодильных камер с вспомогательными помещениями и машинными отделениями. В охлаждаемом контуре холодильника размещают холодильные камеры и грузовые коридоры. Одноэтажный холодильник позволяет упростить схему механизации погрузочных работ, увеличить грузовой фронт, обеспечить широту маневра транспортных средств, более полно использовать грузовой объем холодильника. К недостаткам можно отнести относительное увеличение поверхности наружных ограждений, что в некоторой степени сказывается на величине теплопритоков и соответственно на усушке неупакованных продуктов. Для решения задачи используют расчётные формулы, приведенные ниже:

Строительная площадка равна:

=Skx+Sb+Skb

где: S - площадь холодильника,

м2; Sкх - площадь камер хранения,

м2; Sko - площадь камер холодильной обработки,

м2; Sв - площадь вспомогательных помещений, м2.

Принимаем ( из стандартного ряда 1,2,4,8,16) 16 камер хранения, тогда вместимость каждой камеры будет равна:

= 2300/8=288 т

Площадь камеры хранения холодильника:

Площадь камеры холодильника:

k-удельная вместимость хранилища,= 0,45 т/м3

Н = 5,5 м - грузовая высота штабеля, м;=0.7 - коэффициент использования строительной площади камеры.

= 288/ (0,45*5,5*0,7) =166 м2

Высота хранилища ( внутри) равна:


где: Hx = 6- внутренняя высота камеры, м2h =0,2-0,3 - расстояние от штабеля продукции до стен и балки перекрытия потолка или оборудования, м.

Длинна камеры хранения:


Где: Lkx - длина камеры хранения, м;kx - ширина камеры хранения, м.=14

kx= 166/ 12= 13,8 м

. Расчет потребности в таре для закладки на хранение и реализацию

.1 Расчет потребности в таре при уборке

Тип тары- контейнеры деревянные, ГОСТ 21133-75.

Контейнеры стоят на ПТ- 3,5. В каждый контейнер входит 0,25 т.

Общий объём - 2300т.

Тара: 2300/0,25= 9200 шт

Контейнер имеет размер: длина L- 1400 мм; ширина B-900 мм; высота H-700 мм. Площадь контейнера:

t= 1,4*0,9=1,26 м2

Площадь Занимаемая контейнерами:

k=St*Nk, m2

Sk= 9200*1,26=11592 м2

Контейнеры устанавливаются в 8 ярусов, то площадь, занимаемая всеми контейнерами:

11592/8=1449 м2

Площадь занимаемая одной камерой:

1449/8=182 м2

Ширина камеры: 182/14=13 м2

Учитывая, что площадь всех камер 1449 м2 ( ширина 8 камер- 49);

49*10=490 м2.

Проходы:

4*90+4*90+3*24+3*24=865 м2


Реализацию растительной продукции осуществляют в бумажных и синтетических пакетах и сетках вместимостью от 0,2 до 2,5 кг. Этому предшествует упаковка продукции, её оптимальное размещение в ней, закрытие тары и нанесение маркировки.

Применяют ручную и автоматизированную упаковку. Габариты упаковки: L =300 мм, ширина B= 114 мм, высота H= 114 мм.

Внутренний объём упаковки , м3;

ру =L*B*H;

Vру =0,3*0,114*0,114= 0,005 м3

Масса продукции на упаковке, кг;

Мру=Мn*Vру*К,

где К- коэффициент использования объёма тары К=0,8

Мру = 300*0,005*0,8=1,6 кг

Количество потребительской упаковки, необходимое для реализации всей продукции, шт:

Кру=Мsру

Кру= 800000/1,6=562500 шт.

. Расчет производительности и потребности в транспортных средствах

4.1 Расчет производительности транспортных средств

Структура транспортного хозяйства определяется главным образом объемом грузооборота, особенностями грузов и объемом производства.

Выбор вида транспортных средств зависит от объема грузооборота, габаритов и физико-химических свойств грузов, расстояний и состояния дорог, направлений перемещения грузов и способа их погрузки и выгрузки, назначения транспорта, конструкции и планировки зданий. При выборе транспортных средств необходимо также решать вопросы, связанные с применением грузоподъемного оборудования и оборотной тары. Выбранные средства должны предполагать сквозной метод транспортировки на основе единой транспортно-технологической схемы, обеспечивающей стыковку и преемственность отдельных звеньев транспортной сети предприятия.

Число необходимых транспортных средств для транспортировки продукции, количества дней, в течении которых ведётся работа, производительности транспортных средств. Наиболее широко используется принцип - ПТ-3,5, который предназначен для погрузки и перевозки овощей в контейнерах.

Объём транспортной работы (грузооборот) равен:

В tm=M28*Lp, ткм,

Где: Мг- масса производимой продукции (урожай). Т;

Lp - расстояние перевозки, км или так как данный вид транспорта используют для доставки продукции к месту хранения при небольших расстояниях - до 10 км, то расстояние между полем и хранилищем 4 км.

В tm 4*1500= 6000 ткм

За одну поездку прицеп-контейнеровоз перевозит массу:

Мр=Bn*g*Lp, где:

n - нормальная грузоподъёмность агрегата, т,

Bn =2; g = 0,8 - коэффициент использования грузоподъёмности при перевозке данной продукции в данной таре.

p = 0,8*2=1,6 т

Грузооборот за один рейс;

p= Bn*g*Lp, ткм

Вр= 2*0,8*4=6,4, ткм

Число рейсов за смену:

c=Tn*Fpr*Vt / (Lp + tpg*Fpr*Vt),

Где: Тв - длительность смены, ч; Fpr = 0,5 - коэффициент использования времени пробега;

Vt = км/ч - транспортная скорость агрегата, км/ч;

Tp8= 0,24 - время погрузки агрегата, ч

 = 12*0,5*4/ (4+0,24*0,5*4)= 5,4

Грузооборот одного агрегата в смену равен:

Bc = Bp*Nc , ткм

Вс= 12,5*5,4=67,5 ткм

По формуле определим количество транспортных средств:

tp=Bta /(Вс*D),

где: D- длительность уборки, смен,

Кtp= 1500/ ( 67,5* 14)= 1,58

Принимаем Кф=2.

.2 Расчет количества электропогрузчиков для обеспечения технологического процесса закладки продукции на хранение

Электропогрузчики предназначены для погрузочно- разгрузочных работ, транспортных и складских работ в помещении и на площадках. Электропогрузчики являются наиболее распространенными универсальными подъемно-транспортными машинами, предназначенными для механизации погрузочно-разгрузочных и внутрискладских операций со всевозможными тарно-штучными грузами, а также грузами в пакетах и на поддонах. Использование в конструкции электропогрузчиков в качестве силовых агрегатов электродвигателей позволяет эксплуатировать их преимущественно в закрытых помещениях (закрытые склады, цехи, вагоны и др.). Поскольку питание электродвигателей током в этих машинах осуществляется, как правило, от аккумуляторной батареи, устанавливаемой на погрузчике, электропогрузчики иногда называют аккумуляторными.

Электропогрузчики отличаются высокой маневренностью и широким диапазоном операций (захват груза, подъем его и перемещение, штабелирование, освобождение груза, погрузка груза на автомобиль и в вагоны, выгрузка их и др.), что обеспечивает возможность их применения в самых разнообразных эксплуатационных условиях. Один из распространённых Электропогрузчик с поворотно-выдвижными вилами ЭП-1008 создан на базе погрузчика ЭП-202. Его конструкция (корпус, ведущий мост, задний мост, рулевое управление, тормозное устройство) идентична конструкции погрузчика ЭП-202. Грузоподъемный механизм оригинален и отличается от базовой модели. Наибольшая производительность погрузчика достигается при перевозке грузов на короткие расстояния (до 70 м). Производительность погрузчика циклического действия при работе со штучными и связанными грузами определяют по формуле:

= G*3800/ t, т/ч,

Где t=t1+t2+t3+2t4+t5- время цикла, с;

t1 -t5- время отдельных операций, с;

t1= 11-16- подготовка к захвату груза, с;

t2= 6-14- подготовка груза, с;

t3= 4-8- подъём груза, с;

t4= 10-13- перенос, с;

t5=8 разгрузка, с;

G- грузоподъёмность погрузчика.

=2 т

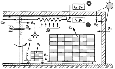
. Расчёт теплопритоков в хранилище и тепловые мощности

В загруженном хранилище требуется оптимальная температура и влажность. Тепловая мощность оборудования зависит от баланса теплопритоков.

Рис. 1. Схема теплопритоков в хранилище

Сумма всех теплопритоков Qx хранилища (камеры):

x=Q1+Q2+Q3+Q4+Q5, кВт

где: Q1- теплопритоки через ограждения хранилища, кВт;

Q2 - теплопритоки, принесённые продукцией, кВт; Q3 - теплопритоки от дыхания продукции при хранении, кВт.

Поток тепла Qx может идти из хранилища или в хранилище, в зависимости от внутренней или наружной температуры, степени загрузки продукцией. Камерное оборудование поддерживает баланс теплопритоков. Если поток тепла в камере Q> Q - нагрева.

Расчет теплопритоков через ограждающие конструкции

Теплопритоки через ограждающие конструкции Q являются внешними. Их определяют как сумму теплопритоков через стены, перегородки, перекрытия или покрытия, полы, подвальные помещения, вызванных разностью температур снаружи ограждения и внутри охлаждаемого помещения Q1t, а также теплопритоков в результате воздействия солнечной радиации через покрытия и наружные стены Q:

1=Q1t + Q, кВт

Теплопритоки через стены и покрытия:


где; Kd- коэффициент теплопередачи ограждения,

Вт/( м2 - оК); Fp-расчётная температура наружного ограждения, м;

tn- расчётная температура в хранилище;

dt=(tn-tb)-расчётная разница температуры, oC.

d= 0.36/0.2=1,8 Вт/ (м2* оK)

Fp=2 (ab+ bh+ah)=2(12*18+18*6+12*6)=792 m2

tn= 32oC, tв= 1оС=32-1=31 oC1t=1.2*792*31*10-3 = 29,46kBt

Теплоприток от солнечной радиации: Q1c=kd*Fp*dtc*10-3 кВт,

где kd- действительный коэффициент теплопередачи ограждения, Вт/л,о К;- избыточная разность температур, характеризуется действием солнечной системой радиации в летнее время, оС= 14,7

Q=1.2*792*14,7*10-3=14кВт

Q=29,46+14=43,46 кВт,

Расчет теплопритоков от продукции при холодильной обработке

При холодильной обработке ( охлаждении, замораживании, домораживании) продуктов выделяется теплота в количестве:

= di, кДж/кг

где: di- разность удельных энтальпий продуктов, кДж/кг, соответствующих начальной и конечной температуре продукта.

Разность удельных энтальпий находят по формуле:

=I(tn)-i(tk)

где: i(tn) -удельная энтальпия продукта при начальной температуре tn; i(tk) - удельная энтальпия продукта при конечной температуре охлаждение tk/

(tn)= 385, i(tk)=274= 285-274=111 кДж/кг=111 кДж/кг

Теплоприток от охлаждения продукции в камере:

2pr=Mpr*di*10-3/(24*3600) кВт

где: Qpr-теплоприток от продукции при охлаждении, кВт; Мpr - суточное поступление продуктов 110 т.

Q2pr= 110*111*103/ (24-3600)= 141,3 кВт

Q2t= Mt*ct*( ta-tk)*103/ (24*3600), кВт,

где: Q2t- теплоприток от тары, кВт; Мt- масса тары, поступающая в сутки, т;

сt - удельная теплоёмкость тары, кДж/(кг* оК) Mt=22 т, сt =2,3лДж/( кг*оК)

2t=22*2.3*111*103/(24-3600)=65 кВт

Расчет теплопритоков от вентиляции камеры

Теплопритоки от наружного воздуха при вентиляции следует учитывать только при проектировании специализированных холодильников    

3=Mv-(in-ib) кВт,