Материал: Разработка компрессионно–холодильного устройства для нормализации теплового состояния человека в процессе эксплуатации теплоэнергетических установок

Внимание! Если размещение файла нарушает Ваши авторские права, то обязательно сообщите нам

5                Влияние усиленной вакуумом теплоотдачи от ладони на скорость повышения температуры тела и производительность (эффективность)во время теплового воздействия и физических нагрузок     

Рисунок Т5.1 - Изменение температур пищевода и барабанной перепонки одного испытуемого во время тренировочных циклов с 5 - ти минутными перерывами при разных условиях эксперимента (лабораторные испытания)

Условные обозначения:температура пищевода;температура барабанной перепонки;

РС-отдых с охлаждением ладони;только отдыхПо рисунку Т5.1:

)в результате применения охлаждения ладони наблюдается замедление скорости повышения температуры тела и более низкая температура на конец тренировки.



 



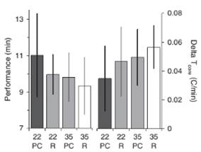
 Рисунок Т5.2 - Усредненные значения производительности (суммарного времени тренировки) и скорости изменения температуры барабанной перепонки при разных условиях отдыха между циклами для всех испытуемых (лабораторные испытания) Условные обозначения: Та - температура окружающей среды; 22РС - при Та = 22°C с охлаждением ладони; 22R - при Та = 22°C только отдых; 35РС - при Та = 35°C с охлаждением ладони; 35R - при Та = 35°C только отдых

По рисунку Т5.2: 1)суммарная продолжительность упражнения при наилучших условиях (прохладная среда с охлаждением ладони) превышает продолжительность тренировки в наихудших условиях (жаркая среда без отвода тепла от ладони) почти на треть. 2) два центральных столбца, представляющие испытания, в которых имелся либо охлаждающий фактор окружающей среды, либо фактор охлаждения ладони различаются несущественно. Производительность в этих двух наборах испытаний была средней между двумя сериями испытаний в экстремальных условиях. 3) в условиях прохладной окружающей среды и охлаждения ладони скорость повышения температуры тела была наименьшей, а в условиях теплой окружающей среды без охлаждения ладони скорость роста температуры тела была наибольшей. В прохладной среде без охлаждения ладони и в теплой среде с охлаждением наблюдались промежуточные значения.

6

Реакция организма испытуемых на охлаждение ладони

 Рисунок Т6 - Влияние охлаждения ладони на температуру «ядра» в зависимости от влияния на производительность

Некоторые испытуемые сохраняли один и тот же уровень производительности, но испытывали меньшую скорость повышения температуры «ядра». Другие же достигали прироста производительности, но показывали одинаковую скорость повышения температуры «ядра» в экспериментальных и контрольных условиях.



Таким образом, к настоящему времени по исследуемому вопросу имеется научный задел, состоящий в следующем:

) понимание терморегулирующей роли, которую играют определенные участки поверхности кожи, содержащие сосудистую сеть и AVAs, позволит переформулировать модели терморегуляции человека, которые используются при разработке и создании устройств для защиты от теплового стресса [6];

) в ходе обширных экспериментальных исследований было осуществлено практическое применение технологии, усиливающей теплообмен между голыми участками кожи и окружающей средой;

) на основе данных, полученных в процессеэтих исследований, сделаны следующие выводы:

применение легкого вакуума совместно с охлаждением способно усилить отвод тепла от ладони;

непрерывное охлаждение ладони во время выполнения физических упражнений в жарких условиях способствовало замедлению роста температуры «ядра» тела[5];

воздействие на ладонь охлаждения и вакуума способно понизить частоту сердечных сокращений человека при физических нагрузках в жарких условиях;

совместное применение охлаждения ладони и давления ниже атмосферного способно повысить выносливость при выполнении физических нагрузок в жаркой среде. Такое изменение характеризуется экспоненциальной зависимостью. Семьдесят процентов экспериментальных данных можно описать функцией вида у = 12,724е0,0372х, где у и х - продолжительность выполнения упражнения с охлаждением ладони и без него соответственно[5];

эксперименты по охлаждению ладоней спортсменов, участвующих в высокоинтенсивных тренировках, привели к наблюдению, что мышечная усталость может быть в значительной степени вызвана повышением температуры мышцы и работоспособность мышц значительно повышалась при охлаждении ладони [6]. Этот факт объясняется тем, что фермент пируваткиназа, в котором нуждаются мышцы для воспроизведения химической энергии, чрезвычайно чувствителен к температуре и при нормальной температуре тела он активен, а при повышении температуры начинает деформироваться в неактивную форму и при достижении температуры в мышце 104°F (40°С), деятельность фермента полностью завершается. При охлаждении мышечной клетки фермент возвращается в активное состояние.

Таким образом, технология, основанная на усиленном вакуумом отводе тепла от организма через некоторые участки поверхности кожи, является перспективной по нескольким причинам:

во-первых, она может стать основой для создания эффективных средств для предотвращения и лечения теплового и холодового стресса;

во - вторых, дает представление о влиянии температуры на спортивные результаты человека и предлагает средства для повышения результативности тренировок;

в - третьих, существует много потенциальных сфер применения вакуумного ускоренного охлаждения в медицине, охране труда, а также в спорте.

1.4 Уровень развития техники по исследуемому вопросу

Для обзора существующих на данный момент методов и устройств, предназначенных для регулирования температуры тела человека, было выбрано два направления поиска:

) патентные документы;

) коммерчески реализуемые устройства.

1.4.1 Обзор патентных документов

.4.1.1 Методы и устройства для извлечения тепловой энергии из «ядра» тела млекопитающих (Патент США №6656208)

В патентном документе [7] описывается способ, позволяющий регулировать тепловое состояние тела млекопитающих, в том числе и человека. Его практическое осуществление предполагает помещение части тела млекопитающего (например, конечности или ее части) в герметичную камеру, где она контактирует с низкотемпературной средой в условиях отрицательного давления в течение периода времени, достаточного для достижения желаемого снижения температуры тела.

Охлаждающей средой может быть твердый материал с регулируемой температурой, жидкость или газ. Выбор зависит от конкретного используемого на практике устройства.

Температура среды может варьироваться, ноне настолько, чтобы вызвать местное сужение сосудов на охлаждаемой поверхности млекопитающего. Диапазон возможного изменения температуры - от 0 до 35°С, но наиболее оптимальная температура от 15 до 25°С. Процесс охлаждения обычно длится не более 5 минут. Значения отрицательного давления находятся в границах от -20 до -85 мм рт. ст, но обычно не превышают -50 … -60 мм рт. ст.

Помимо описания метода, в патенте [7] приводятся примеры устройств, реализующих этот метод на практике. Одно из таких устройств представлено на рисунке 1.

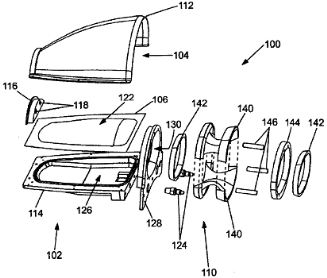
Рисунок 1 - Устройство для регулирования температуры тела человека

Устройство 100 состоит из корпуса 102, включающего камеру отрицательного давления 104 и теплообменник 106 и мягкого уплотнения 108, поддерживаемого каркасными элементами 110. Корпус 102 может быть представлен в единой конструкции либо состоять из отдельных деталей - крышки 112, основания 114 и торцевой крышки 116, имеющей два порта 118. Первый порт может использоваться для подключения к источнику вакуума, а второй - для вакуумного манометра.

Предпочтительным материалом для изготовления корпуса102является пластик.

Если используется разъемная конструкция, то крышка112и основание114могут быть скреплены друг с другом при помощи болтовых соединений120. В таком случае для герметизации периферии корпуса 102можно использовать прокладку или уплотнение.

Камера отрицательного давления 104,находящаяся между теплообменным элементом 106 и крышкой 112, выполнена таким образом, чтобы соответствовать руке человека любого размера. Также возможно выполнение корпуса такой формы, чтобы в него можно было поместить ногу человека.

Теплообменная поверхность 122, служащая для передачи или приема тепловой нагрузки от пользователя, также является частью камеры 104. Пользователь может контактировать с теплообменной поверхностью 122 непосредственно либо через перчатку или носок. Теплообменный элемент 106 изготавливается из алюминия или другого хорошо проводящего тепло материала. Для обеспечения температурной разности он может контактировать с устройством Пельтье, осушающим охлаждающим устройством либо с источником эндотермической или экзотермической химической реакции.

Однако более предпочтительно, чтобы теплообменник 106 контактировал с потоком перфузионной жидкости, находящейся под поверхностью теплообмена 122 и поступающей через входное и уходящей через выходноеотверстия124. Охлажденная или нагретая вода может использоваться для поддержания контактной поверхности элемента при желаемой температуре. Перфузионная жидкость проходит через серию поворотов в полости 126 между теплообменным элементом 106 и основанием 114. Задняя часть корпуса 102 и теплообменного элемента 106 может быть снабжена пластиной 128, содержащей входное и выходное отверстия124 в полость для теплообмена 126 и отверстие 130 в камеру 104.

На рисунке не показаны устройства для контроля температуры и перфузии, необходимые при обеспечении потока теплообменных сред с регулируемой температурой, а также источник и регулятор вакуума.

Во время работы данное устройство способно поддерживать давление в пределах 20… 25 дюймов водяного столба и температуру от 19 до 22°С при охлаждении тела и от 40 до 45°С при нагреве.

1.4.1.2 Контролируемая передача тепла от тел млекопитающих (Патент США №7947068)

Патент [8]описывает способ и устройство для управления и регулирования температуры тела млекопитающего, а также алгоритм для создания программного обеспечения с целью реализации данного способа на практике.

Представленная система способна выявить состояние вазоконстрикции (сужения) или вазодилатации (расширения) кровеносных сосудов определенной части тела и обеспечить подвод к ней тепла (при вазоконстрикции) или его отвод (при вазодилатации).

Передача или отвод тепла осуществляется путем контакта какой - либо части тела млекопитающего (обычно руки или ноги) с проводником тепла. Скорость теплопередачи может быть увеличена за счет создания отрицательного давления вокруг части тела для расширения просвета кровеносных сосудов и увеличения проходящего по ним потока крови.

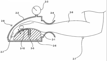
Примерная структура рассматриваемой системы приведена на рисунке2.

Рисунок 2 - Примерная структура системы управляемой передачи тепла через поверхность кожи млекопитающих

Основными составными частями являются: 4 - контроллер (устройство управления) системы; 5 - вакуум - насос; 6 - теплообменник; 7 - контроллер терморегулирующего сенсорного устройства управления; 8 - терморегулирующее сенсорное устройство управления; 12 - герметичные корпуса для рук, состоящие из самого корпуса 2 и проводника 1, который, в свою очередь, служит для взаимодействия рук и ног человека 9 с теплообменной средой для их нагрева или охлаждения; 13 - герметичный корпус для ног; 3 - гидравлические и (или) электрические соединения; 10 - датчики состояния кровотока; 11 - датчики температуры тела.

Основным управляющим устройством системы является контроллер 4. Он обменивается сигналами со всеми основными компонентами, обеспечивающими работу системы: теплообменником 6, источником вакуума 5, контроллером терморегулирующего сенсорного устройства управления 7, резервуаром для хранения теплоносителя (на рисунке не показан) и с каждым датчиком из наборов 10 и 11.

Теплообменник 6, способный нагревать или охлаждать теплообменную среду и источник давления 5, создающий разряжение в герметичном корпусе 2 соединяются с проводником 1 и герметичным корпусом 2 соответственно через гидравлическое и (или) электрическое соединения 3, проводящие теплоноситель и давление отдельно или в комбинации. В качестве теплоносителя может использоваться жидкость (вода, масло и т.п.), либо газ или воздух. Также возможен полупроводниковый или прямой электрический нагрев.

Контроллер терморегулирующего сенсорного устройства управления 7 управляет терморегулирующим сенсорным устройством управления 8.

Устройство управления 8 способно создавать, например, легкую гипотермию для управления терморегуляционной реакцией млекопитающего 9 путем воздействия на чувствительные терморегуляционные механизмы мозга (или тела). Соответствующие устройства управления 8 могут представлять из себя приспособления для передачи температурных и влажностных раздражителей к частям тела в следующих комбинациях: вся поверхность кожи; голова, плечи, грудь, спина, туловище и руки; голова, плечи, грудь, спина и руки; голова, плечи, грудь и спина; плечи, грудь, спина и руки; плечи, грудь, спина и туловище; грудь, спина, туловище и ноги; туловище и ноги.

Группа датчиков 10, расположенных внутри или связанных с проводником 1, путем обратной связи передают контроллеру 4характеристики, связанные с вазоконстрикцией или вазодилатацией, например, об относительном состоянии кровотока, указывающем на вазоконстрикцию или вазодилатацию части тела, помещенной в корпус 2.

Датчики температуры тела 11, расположенные на поверхности или внутри тела млекопитающего 9, также путем обратной связи обеспечивают контроллер системы 4 данными о температуре тела.

Взаимодействие между частью тела млекопитающего 9 и теплообменной средой для нагрева или охлаждения части тела обеспечивает проводник 1, находящийся внутри корпуса 2.

Пары герметичных корпусов для рук 12 (рисунок3а) и для ног 13 (рисунок3б) выполняют одинаковые функции - обеспечивают физическую поверхность теплообмена между ладонью руки 2 - 9 и проводником 2 - 1 и между подошвой ноги 3 - 9 и проводником 3 - 1; обеспечивают требуемую температуру и (или) влажность, воздействующие на руку 2 - 9 и ногу 3 - 9; позволяют осуществлять мониторинг и (или) управление вазоконстрикцией или вазодилатацией при помощи различных датчиков, связанных с контроллером системы.

а                                                                б

Рисунок 3 - Герметичные корпуса для рук и ног

Конструкции корпусов также аналогичны. Их основными составными элементами служат: проводники2 - 1 и 3 - 1 соответственно, которые являются теплообменной поверхностью и могут быть изготовлены из любого материала, обладающего высокой теплопроводностью (например, металла: алюминия, нержавеющей стали или титана),и имеют форму, обеспечивающую максимально возможную площадь контакта между ладонью или подошвой и проводником; уплотняющие манжеты 2 - 4 и 3 - 4; датчики давления 2 - 3 и 3 - 3, облегчающие поддержание и контроль отрицательного давления внутри корпусов 2 - 8 и 3 - 8; датчики теплового потока и температуры2 - 10 и 3 - 10, расположенные между рукой 2 - 9 или ногой 3 - 9 и проводником 2 - 1 и 3 - 1 соответственно; лазерные допплеровские датчики либо датчики поглощения потоком крови света 2 - 5 и 3 - 5, служащие для измерения кровотока в руке 2 - 9 и ноге 3 - 9 и расположенные внутри проводников 2 - 1 и 3 - 1 соответственно или вблизи них; датчики передачи тепловой энергии 2 - 6 и 3 - 6, расположенные внутри проводников 2 - 1 и 3 - 1 для измерения передачи тепловой энергии между рукой 2 - 9 и проводником 2 - 1 и ногой 3 - 9 и проводником 3 - 1. Герметичные корпуса для рук и ног 2 - 8 и 3 - 8 также могут содержать датчики температуры кожи, служащие для измерения разности температур между участками руки и ноги 2 - 9 и 3 - 9 (например, изменение температуры от предплечья до кончиков пальцев (2 - 9) либо от голени до кончиков пальцев (3 - 9)), а также датчики биоимпеданса (электрического сопротивления)2 - 7 и 3 - 7 для мониторинга кровотока в руке 2 - 9 и ноге 3 - 9 соответственно.