Материал: Разработка гидравлических прес-ножниц для профилирующей линии ЛПБ-40

Внимание! Если размещение файла нарушает Ваши авторские права, то обязательно сообщите нам

Приемный столик предназначен для приема рулонной ленты , поступающей от рулоноразматывателя и задания направления ленты перед ее подачей в правильное устройство.

Устройство правильное предназначено для правки рулонной кривизны ленты.

Ножницы гильотинные предназначены для резки ленты при необходимости окончания работы с ней при неиспользованном рулоне , а также в процессе наладке линии.

Камера смачивания предназначена для нанесения на обе стороны движущейся ленты жидкости, предотвращающей налипания покрытия ленты на профилирующие ролики.

Устройство резки профиля предназначено для отрезки профиля после профилирующей машины и состоит из:

·        Рамы

·        Корпуса турголовки

·        Турголовки

·        Пресс-ножниц

·        Комплекта штампов

Рама представляет собой сварную из труб конструкцию, к которой прикрепляются остальные устройства.

Корпус турголовки предназначен для выставки турголовки и пресс-ножниц относительно выкатываемого профиля, которые закрепляются с двух сторон корпуса на ступицах.

Турголовка устанавливается на корпусе перед пресс-ножницами и предназначена для поворота профиля вокруг своей оси и устранения возможной спиральности несимметричных профилей, выходящих из профилирующей машины.

Пресс-ножницы установлены после турголовки , имеют возможность регулировки по высоте , и предназначены для рубки профиля на мерные отрезки заданной длины.

Штампы являются сменными и устанавливаются или снимаются в зависимости от марки профиля.

Датчик длины обеспечивает резку профиля на отрезки заданной длины. Датчик длины установлен после профилирующей машины.

Установка аварийного выключателя крепится с обеих сторон линии и предназначена для обеспечения безопасного обслуживания профилирующей машины.

Устройство приемное служит для приема профиля , выходящего из пресс-ножниц после отрезки.

Электрооборудование линии состоит из:

·        Шкафа управления;

·        Центрального пульта управления ;

·        Наладочного пульта;

Гидрооборудование.

Описание гидросистемы.

Гидросистема работает на чистых минеральных маслах вязкостью от 17 до 213 сСт при температуре окружающей среды от 50С до 400С.

Контрольно-регулирующая и гидрораспределительная аппаратура гидросистемы расположена на плитах блока гидростанции.

Назначение гидросистемы.

Гидросистема линии обеспечивает :

·        Ход гильотинных ножни “вниз-вверх”;

·        Ход пресс-ножниц “вниз-вверх”.

Шкаф управления предназначен для установки в нем силовых электроаппаратов и для подвода электропитания извне.

Центральный пульт управления служит для дистанционного управления работой линии в автоматическом и наладочном режимах , а также для отображения информации о состоянии механизмов и агрегатов линии.

Наладочный пульт предназначен для заправки рулонной ленты в машину профилирующую.

2.1.5 Работа на линии

Порядок работы на линии следующий:

·        Установить на рулоноразматыватель рулон ленты соответствующей ширины и толщины;

·        Заправить ленту в приемочный столик, и далее в правильное устройство;

·        Опустить верхний , правильный ролик до значения , определённого экспериментально;

·        Заправить ленту в профилирующую машину;

·        При необходимости выставить турголовку в положение, определенное экспериментально;

·        Выставить датчик длины на соответствующий профиль;

·        В наладочном режиме лента доводится до ножниц резки профиля и обрезается кромка;

·        Замеряются размеры полученного профиля и , при необходимости производят наладку инструмента;

·        На панели управления устанавливается номер заказа , длина профиля и их количество;

·        Включается автоматический режим работы линии;

·        Отрубленные профили вручную снимаются с приемочного устройства.

Краткое техническое описание работы автоматизированной линии

Металлическая лента в рулоне (штрипс) устанавливается на рулоноразматыватель консольного типа. Фиксация штрипса на рулоноразматывателе производится ручным механизмом разжима. Раскручиваемая лента поступает в устройство заправки ленты профилегибочного станка, где осуществляется центрирование заготовки относительно оси профилирования. Далее заготовка подается в валки профилегибочного станка, где методом интенсивного деформирования(МИД) производится профилирование изделия заданной конфигурации . За последней клетью профилегибочного станка установлено правильное устройство, которое осуществляет перераспределение остаточных напряжений в уже готовом профиле и придание ему необходимой прямолинейности в продольном направлении. После профилирования готовый профиль поступает в отрезной штамп на подвижной платформе, где производится его порезка в заданный размер по длине.

Отрезанный в размер профиль поступает на приемный стол, который снабжен накопителем для промежуточного складирования и упаковки готовой продукции. Процесс изготовления готовой продукции производится в автоматизированном режиме, без остановки линии профилирования. Электронная система управления обеспечивает плавное выполнение команд “пуск/стоп” , регулировку скорости профилирования , задание длины и количества деталей, включение аварийных блокировок при возникновении нештатных ситуаций.

2.2 Разработка конструкции пресс-ножниц

Пресс-ножницы предназначены для отрезки полосового, сортового и фасонного проката, в частности , для рубки профиля на мерные отрезки заданной длины.

Ножницы по типу привода делятся на несколько видов: гидравлические , механические, комбинированные и пневматические.

Достоинства пневматического привода: простота конструкции и технического обслуживания ; надежность работы в широком диапазоне температур, в условиях пыльной и влажной окружающей среде; высокое быстродействие (реализуемые скорости рабочих движений , обеспечиваемых высокими скоростями движения воздуха); возможность передачи пневмоэнергии на относительно большие расстояния. Недостатки пневмопривода : высокая стоимость пневмоэнергии; относительно большой вес и габариты пневмомашин; трудность обеспечения стабильной скорости движения; высокий уровень шума; малая скорость передачи сигнала (управляющего импульса).

Механический привод прост, надежен и ремонтопригоден (в данном случае под ремонтопригодностью понимается возможность монтажа на месте своими силами). В числе его недостатков - неудобство и большие усилия при манипулировании рычагами управления, высокие трудоемкость и частота техобслуживания, а также опасность загрязнения среды из-за регулированного применения смазочных материалов.

К достоинствам гидравлического привода относят: возможность создания больших усилий , малые габариты , высокое быстродействие (способность привода увеличивать скорость действия за 10ые доли секунды), простота кинематики, бесступенчатое (плавное ) регулирование скорости , надежность и долговечность. К недостаткам можно отнести : требуемый высокий профессионализм в поизводстве, поддержка запаса жидкости в гидробаке.

Конструкция пресс-ножниц сконструирована таким образом , что все узлы обладают повешенной эксплуатационной надежностью , низкими энергозатратами на единицу перерабатываемого материала. Пресс-ножницы (рис 2.1 а и рис 2.1. б ) установлены после турголовки и имеют возможность регулировки по высоте. Они состоят из нижней 1 и верхней 2 плит, которые скреплены между собой направляющими стойками 3. На штоке гидроцилиндра

Рисунок 2.1 а - пресс-ножницы

Рисунок 2.1 б. пресс-ножницы

установлен наконечник 4, который присоединяется к установленному на нижнюю плиту штампу и приводит его нож в движение. Верхнее и нижнее положение траверсы регулируется бесконтактными выключателями 6. Ножницы установлены на задней плите 7, которая закрепляется на корпусе турголовки. Управление работой пресс-ножниц осуществляется с центрального пульта управления.

Принцип работы устройства для отрезки профиля.

В процессе работы профиль поступает из профилегибочного стана в матрицу , закрепленную в гидравлическом прессе. Из ЭБУ отсчитывающего устройства поступает сигнал на гидрораспределитель , который открывает подачу жидкости в верхнюю или нижнюю полость гидроцилиндра. При поступлении сигнала с ЭБУ на орезку , из ресивера жидкость поступает в верхнюю полость гидроцилиндра. В результате этого поршень с ножом приходят в движение и врезаются в профиль. Профиль и матрица с ножом составляют замкнутую систему, при этом поступательное движение профиля предается подвижному каркасу отрезного устройства. Каркас вместе с профилем двигается вперед по направляющим. Происходит рубка. После этого гидрораспределитель, получив очередной сигнал с ЭБУ, перенаправляет подачу жидкости в нижнюю полость пневмоцилиндра , при этом поршень с ножом возвращается в исходное положение. Далее под действием пружин происходит возврат подвижного каркаса в первоначальное положение. Максимальный ход поршня при отрезке профиля составляет 100 мм. Если при отрезке профиля подвижная часть каркаса вместе с ножом проходит конечное положение и нажимает на путевой выключатель , происходит аварийная остановка линии.

2.3 Расчеты на прочность

Как показали исследования, проведенные Н.Е. Жуковским, силы взаимодействия между витками винта и гайки распределены в значительной степени неравномерно, однако действительный характер распределения нагрузки по виткам зависит от многих факторов , трудно поддающихся учету : неточности изготовления , степени износа резьбы , материала и конструкции гайки и болта и т.д. Поэтому при расчете резьбы условно считают , что все витки нагружены одинаково , а неточность в расчете компенсируют значением допускаемого напряжения

Условие прочности резьбы на срез имеет вид:

, (2.1)

где Q - осевая сила (Q=125 кН/4=31,25 кН);

Аср - площадь среза витков нарезки.

Для винта , (2.2)

Для гайки . (2.3)

- высота гайки (Н=5 мм);

-коэффициент, учитывающий ширину основания витков резьбы: для метрической резьбы:

для винта ,

для гайки ;

Так как винт и гайка из одного материала, то на срез проверяют только винт, так как .


Условие прочности выполняется:

Условие прочности резьбы на смятие имеет вид:

, (2.4)

где Асм - условная площадь смятия (проекция площади контакта

резьбы винта и гайки на плоскость, перпендикулярную оси):

, (2.5)

где  - длина одного витка по среднему диаметру (=22,57);- рабочая высота профиля резьбы (1,0825);

, (2.6)

где z - число витков резьбы в гайке высотой Hr

р - шаг резьбы (p=1,25)


Условие прочности выполняется:

2.4 Разработка принципиальной гидравлической схемы

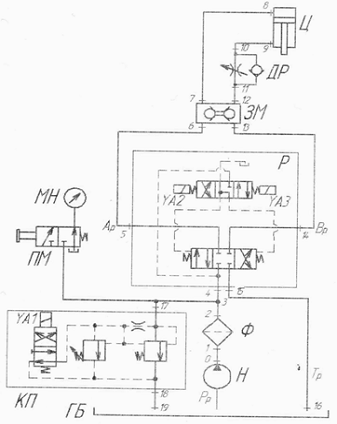
Составление принципиальной схемы (рис.2.2) гидропривода начинаем от гидроцилиндра, то есть наносим на схему гидроцилиндр, а затем на его гидролинии устанавливаем регулирующие и направляющие гидроаппараты в соответствии с циклограммой работы привода и способом регулирования скорости. После этого объединяем напорную, сливную и дренажную линии отдельных участков схемы. Последним этапом является изображение гидросхемы насоса (Н), резмещение фильтра (Ф), предохранительного клапана (КП), дросселя (Д), распределителей(Р), гидрозамка (ЗМ).

Схема насосной установки окончательно определяется после выбора ее модели. Необходимо предусмотреть разгрузку насоса в положении “стоп” , что обычно достигается выбором соответствующей схемы реверсивного распределителя.

Работа гидросистемы.

Рабочая жидкость в гидросистему подается насосом Н (рис. 2.2) через фильтр Ф (тонкость фильтрации 25 мкм) к гидрораспределителю Р. Для настройки в гидросистеме заданного давления, предохранения системы от перегрузок и разгрузки насоса в системе установлен предохранительный клапан КП. Когда электромагнит клапана YA1 выключен , происходит разгрузка насоса. При включении электромагнита YA1 в гидросистеме устанавливается рабочее давление 16МПа. Если давление превышает заданное , золотник клапана снимает пружину и часть жидкости сливается в бак, т.е. в гидросистеме поддерживается давление Р=16МПа . Гидрозамок ЗМ обеспечивает герметичное запирание полостей цилиндра Ц после прекращения подачи рабочей жидкости. Гидродроссель ДР позволяет регулировать скорость движения исполнительного механизма. Для замера давления и настройки предохранительного клапана КП в гидросистеме установлена кнопка манометра ПМ . Настройка гидросистемы производится следующим образом . Гидроклапаном КП в системе настраивается давление 10МПа (шток магнита клапана нажат вручную), против часовой стрелки - давление уменьшается.

Рисунок 2.2. Принципиальная гидравлическая схема

2.5 Гидравлические расчеты

.5.1 Расчет и выбор исполнительного гидродвигателя

.5.1.1 Определение нагрузочных и скоростных параметров гидродвигателя

Решение этой задачи производится на основании нагрузочных и скоростных параметров привода, приведенных в задании , и кинематической схемы передаточного механизма между выходным звеном гидродвигателя и рабочим органом.

По заданию даны :

гидродвигатель поступательного движения(гидроцилиндр);

движение рабочего органа поступательное;

номинальные усилия на штоке гидроцилиндра - 125 кН

наибольшая линейная скорость Vmax=0.04 м/с;

номинальное давление - 10 МПа.

В нашем случае рабочий орган и выходное звено гидродвигателя совершают поступательное движение.

На основании параметров привода определяются максимальная скорость и максимальное осевое усилие:

Vдmax=Vmax=0.04 м/с;    Rд max=Rmax=125 кН

2.5.1.2 Определение геометрических параметров и выбор ГЦ

В качестве исполнительного гидродвигателя выбираем гидроцилиндр двухстороннего действия с одностронним штоком. Основным ипараметрами гидроцилиндра являются диаметры поршня и рабочее давление.

Диаметр поршня гидроцилиндра определяется по формуле[2]:

D=2 ,

где : p1 и p2 - давление соответственно в напорной и сливной полостях гидроцилиндра ; принимаем p1 = 10 МПа , p2 = 0.6 МПа.