Материал: Расходомеры

Внимание! Если размещение файла нарушает Ваши авторские права, то обязательно сообщите нам

Классический пример напорного устройства - трубка Г - образной формы с отверстием, направленным навстречу потоку, которя называется трубкой Пито по имени французского ученого, применившего ее для измерения скорости течения реки. Такая трубка воспринимает полное давление, которое равно сумме динамического рд = ρυ2/2 и статического рс давлений потока. Чтобы с помощью такой трубки измерить скорость υ в трубопроводе, необ ходимо кроме трубки Пито иметь еще трубку для отбора только статического давления рс. Тогда дифманометр, который измеряет разность давлений, будет служить для определения скорости.

В большинстве случаев трубки для отбора полного и статического давлений конструктивно объединяют. Подобное устройство наиболее правильно называть дифференциальной трубкой Пито.Каждая из них состоит из двух трубок, одна из которых расположена концентрично внутри другой. Центральная трубка имеет открытый конец, направленный навстречу потоку. Она воспринимает полное давление рп. статическое давление воздействует через отверстия, находящиеся на цилиндрической поверхности внешней трубки. Оси этих отверстий перпендикулярны к оси трубки, а значит, и к направлению трубкой Пито, измеряет динамическое давление, которое равно разности полного и статического давлений.

Часть трубки, параллельная оси трубопровода, называется головкой, а перпендикулярная к этой оси - держателем. Носовая часть трубки имеет обтекаемую форму: коническую, полусферическую или полуэллипсоидальную.

В напорных усреднителях перепад давления происходит в зависимости не от местного, а от некоторого среднего динамического давления потока. Усреднение может осуществляться в пределах одного, а так же двух радиусов или диаметров при кольцевой площади или иным способам.

Усреднение по кольцевой площади встречаются довольно редко. В этом случае в трубопроводе установлена кольцевая вставка длиной 1,5 D , прилегающая к его внутренней поверхности (рисунок 10).

Рисунок 10 - Кольцевая вставка

На входе и выходе вставка, имеющей плавный сопловой профиль, сделаны отверстия на равных расстояниях друг от друга. Одни из них направлены навстречу потока, а другие - в противоположную сторону.

Напорное устройство имеет форму обтекаемой лопасти или крыла, занимающего небольшую часть проходного сечения трубы и установленного под некоторым углом (обычно в пределах 45 - 900) к оси потока.Лопасть имеет отверстия, расположенные различным образом по отношению к оси потока. Разность давлений в этих отверстиях зависит от угла установки лопасти, что дает возможность применять данное устройство для измерения расхода при малых, так и при больших скоростях.

Напорные усилители представляют собой сочетание напорных трубок с сужающими устройствами (обычно микротрубками Вентури), занимающими небольшую часть сечения потока. Их появление обусловлено стремлением повысить измеряемый перепад давления, который при небольших скоростях потока очень мал у напорных трубок.[5].

.4 Расходомеры с напорными усилителями


Расходомеры с напорным усилителем имеют преобразователь расхода, в котором сочетаются напорное и сужающее устройство. Перепад давления создается в результате как местного перехода кинетической энергии потока, та и частичного перехода потенциальной энергии в кинетическую.

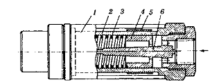
Внутри небольшой трубки Вентури (рис. 11) помещается вторая меньшая трубка Вентури, у которой входное или выходное отверстие совпадает с горлом первой трубки.

Рисунок 11 - Двухступенчатая трубка Пито - Вентури

Давление р2 отбирают в самой узкой части второй трубки, а давление р1 - из отверстия, направленного навстречу потоку. Коэффициент усиления k данного преобразователя можно немного изменять, перемещая кольцо, имеющееся снаружи большей трубки у ее выходного конца. Напорные усилители применяют преимущественно для изменения расхода в трубах большого диаметра.[10].

.5 Ударно - струйные расходомеры

Ударно - струйные расходомеры, предназначены для измерения малых расходов жидкостей и газов. Они основаны на измерении перепада давления, возникающего в процессе удара струи о твердое тело непосредственно или через слой измеряемого вещества. Давление удара ру зависит от скорости υ, плотности ρ вытекающей жидкости и определяется уравнением:

ру = ρυ2 (1 - cos α)

где α - угол между направлением движения жидкости до и после удара.

Обычно α = π/2, тогда ру = ρυ2, в два раза больше динамического давления потока. Так как υ = q0/f, где q0 - объемный расход; f - площадь струи, то ру = ρq02/ f2.На рисунке 12 изображена схема ударно - струйного расходомера.

Рисунок 12 - Схема ударно - струйного расходомера

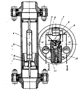
Жидкость вытекает из сопла 1, ударяясь о перегородку 2, имеющую центральное отверстие, через которое давление удара передается жидкости, заполняющей сильфон 3, и создает усилие, приложенное к его днищу. Внутри сильфона действует ударное давление плюс статическое давление измеряемого вещества рс, снаружи сильфона - только давление рс. Перемещение дна сильфона, нагруженного измерительной пружиной 4, вызывает перемещение плунжера 5 внутри диамагнитной трубки, снаружи которой находится катушка 6 индуктивной или дифференциальной - трансформаторной передачи. [4,5].

2. Расходомеры постоянного перепада давления


Расходомеры постоянного перепада давления подразделяются на: ротаметры, поплавковые и поршневые (или точнее золотниковые). Эти приборы (особенно ротаметры) наиболее широко применяются по сравнению с другими расходомерами обтекания.

.1 Ротаметры

Ротаметры используются в промышленных и лабораторных условиях для измерения небольших объемных расходов жидкостей (верхние пределы измерения ротаметров по воде находятся в пределах от 0,04 до 16 м3 /ч) или газов (верхние пределы измерения ротаметров по воздуху находятся в пределах от 0,063 до 40 м3 /ч) в вертикальных трубопроводах диаметром 4-100 мм.

Основные элементы ротаметра - коническая трубка 1 и поплавок 2 - образуют его проточную часть (рисунок 13).

Рисунок 13 - Схема ротаметра

Поплавки могут иметь различную форму. Одной из форм является цилиндрическая с нижней конической частью и верхним бортиком с вырезанными на нем косыми канавками. Контролируемая среда при протекании через эти канавки обеспечивает вращение поплавка, при этом он центрируется по оси трубки и устраняется его трение о стенки.

Между бортиком поплавка и стенкой трубки образуется кольцевой зазор fк, при прохождении через который жидкость сужается и, таким образом, возникает разность между давлением p1 в сечении АА до начала сужения и давлением р2 в самом узком сечении ВВ кольцевой струи. С подъемом поплавка площадь fк увеличивается, что в случае неизменного расхода приведет к уменьшению разности p1-р2. Принцип действия ротаметра основан на уравновешивании при любом расходе силы тяжести поплавка силами, действующими на него со стороны жидкости. При этом вертикальное положение поплавка будет однозначно связано с расходом.

Положение поплавка зависит не только от расхода, но и от плотности контролируемой среды, т. е. градуировка ротаметра должна производиться с учетом ее. Из-за большого разнообразия контролируемых сред ротаметры подразделяются на две группы: для жидкостей, которые градуируются на воде, и для газов, которые градуируются на воздухе.

Переградуировка ротаметра может быть осуществлена изменением рп, например путем изготовления поплавка из другого материала или пустотелым.

Обычно в ротаметрах используются стеклянные конические трубки, на наружной поверхности которых нанесена шкала. Указателем служит верхняя горизонтальная плоскость поплавка. Ротаметры со стеклянной конусной трубкой применяются для измерения расхода газов или прозрачных жидкостей, находящихся под давлением не более 3,6 МПа (6 кгс/см2).

Для измерения расхода сред под избыточным давлением до 6,4 МПа (64 кгс/см2) используются ротаметры с металлической конической трубкой. Обычно такие ротаметры снабжаются дифференциально - трансформаторными или пневматическими преобразователями для дистанционной передачи показаний. Класс ротаметров с дифференциально - трансформаторным преобразователем в комплекте с вторичным прибором равен 2,5.

В зависимости от пределов измерения поплавки изготавливаются из: сталь, алюминий, бронза, эбонит, пластмассы - не должен подвергаться коррозии в контролируемой среде. Ротаметры обладают рядом достоинств: простота устройства; возможность измерения малых расходов и на трубопроводах малых диаметров; практически равномерная шкала.

Недостатками ротаметров являются необходимость установки только на вертикальных участках трубопроводов, трудности дистанционной передачи показаний и записи, непригодность для измерения расхода сред с высокими давление и температурой. [1,9].

.2 Поплавковые расходомеры

Принцип действия их такой же, как и ротаметров. От ротаметров они отличаются лишь конструктивно. У них нет стеклянной конической трубки, ход поплавка небольшой и внешняя форма иная.

Выпускаемые серийно поплавковые расходомеры типов РЭ и РП изготовитель даже называет ротаметрами с электрической и пневматической передачей. Поплавок у этих приборов связан жестким стержнем с железным сердечником или магнитом для дистанционной передачи. Ход поплавка небольшой, не превышающий 40 - 70 мм. В зависимости от калибра прибора у них применяются различные проточные части.

Рассмотрим устройство Поплавкого расходомера с пневматической передачей типа РП показано на рисунке 14.

Поплавок 1 грибовидной формы, связанный со сдвоенным магнитом 4, перемещается в конусообразной расточке втулки 2. одновременно с магнитом 4 перемещается расположенный за пределом диамагнитного корпуса 3 (на расстоянии 0,5 - 3 мм от него) следящий магнит 6 и вызывает приближение (или удаление) заслонки 8 к соплу 9, при этом измеряется давление воздуха в сопле и в полости сильфона 11 обратной связи, с дном которого связан трубчатый шток 10 с соплом. Последнее перемещается до тех пор, пока следящий магнит с заслонкой не займет первоначального положения относительного магнита 4, давление воздуха в сильфоне передается через пневмоусилитель 7 на выход, соединенный с вторичным прибором манометрического типа. Наибольшее расстояние между вторичным прибором и поплавковым расходомером 300 м кроме того имеется стрелка 5, указывающая расход по шкале прибора. Для питания необходим воздух давлением 0,14 МПа.[9].

Рисунок 14 - Поплавковый расходомер РП с пневматической передачей

.3 Поршневые расходомеры

Поршневые или золотниковые расходомеры - третья разновидность расходомеров постоянного перепада давления. В этих приборах роль поплавка выполняет поршень или другой элемент, перемещайся во втулке с окнами особой формы. Измеряемое вещество поступает под поршень и, приподнимая его, выходит через окно или прорезь во втулке. Давление над поршнем то же, что и в выходном штуцере. Чем больше расход, тем выше поднимается поршень, открывая все большую часть отверстия во втулке. Перепад давления на поршне при этом сохраняется постоянным. Выбирая надлежащий профиль прорези, можно получить желаемую зависимость между расходом и перемещением поршня.

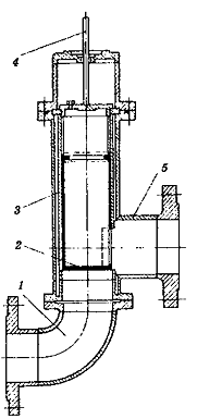
На рисунке 15 показан поршневой расходомер, разработанный для измерения массового расхода нефтепродуктов.

Рисунок 15 - Поршневой расходомер

Для достижения практической независимости показаний от изменений плотности ρ измеряемого вещества плотность поршня ρп в два раза больше, чем ρ. На входном патрубке 1 укреплен цилиндр с втулкой 3, внутри которой перемещается поршень 2, связанный с магнитным стержнем 4; последний воздействует на заслонку у сопла, давление воздуха в котором служит выходным сигналом прибора. Во втулке 3 прорезано окно, через которое измеряемое вещество уходит в выходной патрубок 5. [9].

3. Расходомеры с изменяющимся перепадом давления


Расходомеры обтекания с изменяющимся перепадом давления можно подразделить на: поплавково - пружинные, поплавково - архимедовые, расходомеры с электромагнитным уравновешиванием и шариковые с движением в криволинейной трубке.


Если поплавок или поршень в поплавковом или поршневом расходомере соединить с пружиной, то получим поплавково - пружинный расходомер, в котором давление потока должно преодолевать не только вес подвижного элемента, но и упругость пружины.

Достоинство поплавково - пружинных расходомеров: возможность существенного повышения максимального предела измерения и удобства перехода на другой диапазон измерения путем смены пружины.

Для измерения расхода различных жидкостей и газов разработан поплавково - пружинный расходомер (рисунок 16).

Рисунок 16 - Поплавково - пружинный расходомер с горизонтальным ходом поплавка

Подвижный элемент - поршень 4 нагружен пружиной 3. в середине находится неподвижный стержень 6, профиль которого позволяет получить желаемую зависимость между расходом и перемещением поршня 4. внутри последнего находится цилиндрический магнит, вызывающий перемещения цилиндрического указателя расход 5, который расположен снаружи диамагнитной трубы 2. шкала нанесена на прозрачной трубке 1 из акрила. Расходомер прост и компактен, но его погрешность составляет плюс минус 4 процента.

.2 Тахометрические расходомеры

Шариковыми называются тахометрические расходомеры, подвижным элементом которых является шарик, непрерывно движущийся в одной плоскости по внутренней поверхности трубы под воздействием предварительно закрученного потока. Скорость движения шарика по окружности трубы пропорциональна объемному расходу жидкости. Схема шарикового преобразователя для средних и больших расходов представлена на рисунке 17.

Рисунок 17 - Схема шариковых преобразователей расхода: а-для больших расходов, б-для малых расходов

Поток жидкости, закрученный формирователем 1 в винтовом направлении, вызывает движение шарика 2 по окружности. От перемещения вдоль трубы шарик удерживается ограничительным кольцом 3, за которым располагается струевыпрямитель 4 для выпрямления закрученного потока. На внешней стороне немагнитного корпуса располагается тахометрический преобразователь 5 для преобразования частоты вращения шарика в частотный электрический сигнал.

Для небольших расходов применяется конструкция, представленная на рисунке 17(б). Здесь нет специального формирователя для закручивания потока, а движение шарика по окружности вызывается тангенциальным подводом жидкости. В шариковых расходомерах применяются тахометрические преобразователи скорости, аналогичные преобразователям турбинных расходомеров. Шар (рисунок 17(а) )под действием центробежной силы прижимается к внутренней поверхности трубы, а под действием осевой составляющей скорости потока к ограничительному кольцу, т. е. шару кроме сил вязкого трения жидкости необходимо преодолевать силы трения о поверхности трубы и ограничительного кольца.