СПБГУАП группа 4736 https://new.guap.ru/i03/contacts
F |
953H |
r1 |
|
- радиальная сила быстроходной ступени.
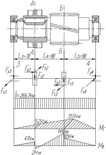
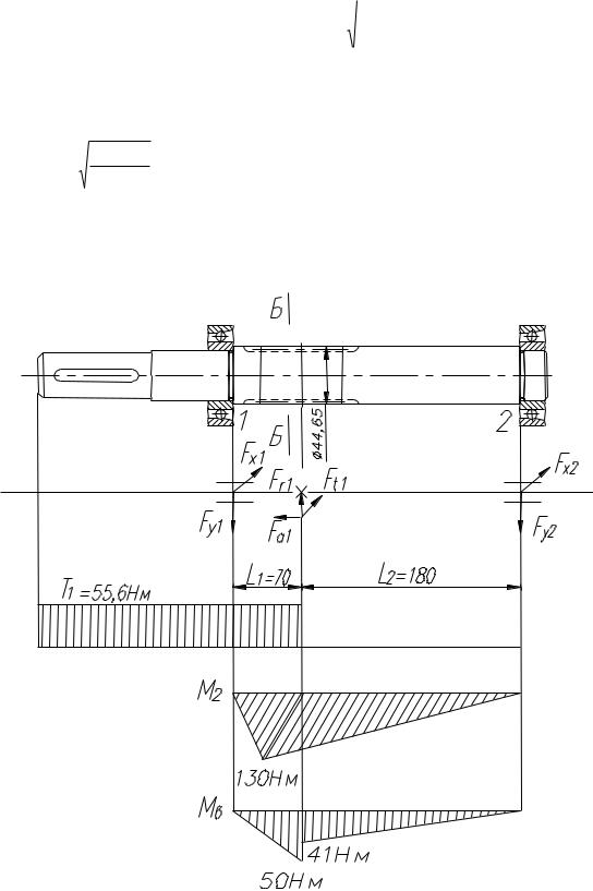
Расчетная схема вала червячного колеса приведена на Рисунке 1.
Определяем реакции в опорах плоскости XZ
М1 |
0 |
|
|
|
|
|
|
|
|
|
|
|
|
Ft1 l1 Fx2 |
(l1 l2 ) 0 |
, |
|
|
|
|
F |
|
l |
|
2577 70 |
722H |
|
|
|
||||
R |
|
|
t1 |
|
1 |
|
|
|
|
||||||
x2 |
l |
|
l |
|
70 180 |
|
|
|
|||||||
|
|
|
|
|
|
|
|
|
|
|
|||||
|
|
|
|
|
|
2 |
|
|
|
|
|
||||
|
|
|
|
|
1 |
|
|
|
|
|
|
|
|
||
М 2 |
0 |
|
|
|
|
|
|
|
|
||||||
|
|
|
|
|
|
|
|
|
|
|
|
Ft1 l2 Rx1 l1 l2 0 , |
|
||
|
|
|
F |
|
l |
2 |
|
2577 180 |
1855H |
|
|
|
|||
R |
|
|
t1 |
|
|
|
|
|
|
|
|||||
x1 |
l |
|
l |
|
70 180 |
|
|
|
|||||||
|
|
|
|
|
|
|
|
|
|||||||
|
|
|
|
2 |
|
|
|
|
|
||||||
|
|
|
1 |
|
|
|
|
|
|
|
|
|
|
||
Проверка: |
piz 0 , |
|
|
|
|
||||||||||
|
|
|
|
|
|
|
|
|
|
|
|
Rx1 Ft1 Rx2 |
0 , |
|
|
-722+2577-1855=0 0=0.
Определяем реакции в опорах плоскости YZ М1 0
|
|
|
|
|
|
|
|
|
|
F |
l F |
|
d1 |
R |
|
l l |
|
0 , |
|
|
|
|
|
|
|
|
|
|
|
|
|
|
|||||
|
|
|
|
|
|
|
|
|
|
r1 |
1 a1 |
2 |
|
y 2 |
1 |
2 |
|
|
|
|
|
F |
l |
F |
d |
1 |
|
953 70 467 |
40,65 |
|
|
|
|
||||
|
|
|
|
|
|
|
|
|
|
|
|
|||||||
|
|
|
|
|
|
|
|
|
|
|
|
|
||||||
|
|
|
r1 |
1 |
|
a1 |
2 |
|
|
|
|
2 |
229H |
|
|
|||
R |
|
|
|
|
|
|
|
|
|
|
||||||||
y 2 |
|
l |
l |
|
|
|
70 180 |
|
|
|
||||||||
|
|
|
|
|
|
|
|
|
|
|
|
|
||||||
|
|
|
|
2 |
|
|
|
|
|
|
|
|
|
|||||
|
|
|
|
1 |
|
|
|
|
|
|
|
|
|
|
|
|
|
|
М 2 0
(3.1)
(3.2)
(3.3)
(3.4)
СПБГУАП группа 4736 https://new.guap.ru/i03/contacts
|
|
|
|
|
|
|
|
|
|
F |
d |
F |
l |
|
R |
|
l |
|
|
|
|
|
|
|
|
|
|
|
1 |
|
|
||||||
|
|
|
|
|
|
|
|
|
|
|
|
|
|
|
|
|
|
|
|
|
|
|
|
|
|
|
|
|
a1 |
2 |
|
r1 |
|
2 |
|
y1 |
1 |
|
|
|
|
|
|
|
|
|
|
|
|
|
|
|
|
|
|
|
|
|
|
F |
l |
|
F |
d |
953 |
180 467 |
40,65 |
|
|
|
|||||
|
|
|
|
1 |
|
|
|
|
|
|
||||||||
|
|
|
|
|
|
|
|
|
|
|
|
|
|
|
|
|
|
|
|
|
|
r1 |
|
2 |
|
a1 |
2 |
|
|
|
|
2 |
|
724H |
|||
R |
|
|
|
|
|
|
|
|
|
|
||||||||
y1 |
|
l |
l |
|
|
70 |
180 |
|
|
|
||||||||
|
|
|
|
|
|
|
|
|
|
|
|
|||||||
|
|
|
|
2 |
|
|
|
|
|
|
|
|
||||||
|
|
|
|
|
1 |
|
|
|
|
|
|
|
|
|
|
|
|
|
l |
2 |
|
|
|
0
,
(3.5)
Проверка: |
piy |
=0, |
Ry1 Fr1 Ry 2 |
0 |
, |
(3.6) |
-229+953-724=0, 0=0.
Построим эпюры крутящих и изгибающих моментов в горизонтальной плоскости:
М |
ГБ Б |
|
R |
l |
X1 |
1 |
1855 0,070 130H
м
;
М |
Г |
R |
X 1 |
(l |
l |
) F |
|
|
1 |
2 |
t |
Построим эпюры плоскости:
l |
2 |
1855 (0,070 0,18) 2577 0,18 0H |
|
|
крутящих и изгибающих моментов
м .
в вертикальной
|
RY 1 l1 |
|
F |
|
d |
1 |
724 |
0,070 |
467 |
0,04065 |
41H м . |
М в Б Б |
a1 |
|
|
||||||||
|
2 |
|
2 |
||||||||
|
|
|
|
|
|
|
|
|
|||
Опасным сечением является сечение Б-Б:
Миз |
2 |
2 |
, |
М2 |
Мв |
где М2 130Н м , Мв 50Н м .
М из 
1302 502 139Н м .
Из условия прочности:
F М из3 [ F ] ,
0,1d
(3.7)
(3.8)
СПБГУАП группа 4736 https://new.guap.ru/i03/contacts
|
|
|
|
|
|
|
d f 1 |
3 |
|
Миз |
|
|
, |
(3.9) |
|
|
|
|
|
|
|
|
0,1 F |
|
|||||||
|
|
|
|
|
|
|
|
|
|
|
|
|
|||
где F =310МПа. |
|
|
|
|
|
|
|
||||||||
|
|
139 |
10 |
3 |
|
|
|
|
|
|
|
|
|
|
|
d f 1 |
|
|
16,5мм . |
|
|
|
|
|
|
|
|||||
3 |
|
|
|
|
|
|
|
|
|
||||||
|
|
0,1 310 |
|
|
|
|
|
|
|
|
|
|
|
||
По расчету d f 1 |
35,65мм , что значительно больше расчетного. |
|
|||||||||||||
|
|
|
|
|
|
|
|
|
|
|
|
|
|
|
|
|
|
|
|
|
|
|
|
|
|
|
|
|
|
|
|
Рисунок 1 – Расчетная схема ведущего вала
СПБГУАП группа 4736 https://new.guap.ru/i03/contacts
3.3.2 Расчеты ведомого вала быстроходной ступени
Рисунок 2 – Расчетная схема ведомого быстроходной ступени
Из предыдущих расчетов:
Ft 2 2577H
ступени;
F |
467H |
a 2 |
|
,
,
Ft 3 7225H - |
окружная сила ведомого вала быстроходной |
Fa3 467H - |
осевая сила ведомого вала в зацеплении |
быстроходной ступени;
СПБГУАП группа 4736 https://new.guap.ru/i03/contacts
Fr 2
953H
,
F |
953H |
r 3 |
|
- радиальная сила ведомого вала быстроходной
ступени.
Расчетная схема вала червячного колеса приведена на Рисунке 2.
Определяем реакции в опорах плоскости XZ |
М 3 0 |
|||||||
|
|
|
|
|
Ft 2 l3 Ft 3 (l3 l4 ) Rx4 (l3 l4 |
l5 ) 0 , |
||
R |
|
|
Ft 2 l3 |
Ft 3 (l3 |
l4 ) |
2577 70 7225(70 90) 3902H |
||
x4 |
|
|
|
|||||
|
|
|
l3 |
l4 l5 |
|
70 90 90 |
|
|
|
|
|
|
|
|
|||
М 4 |
0 |
|
|
|
|
|||
|
|
|
|
|
|
Rx3 l3 l4 l5 Ft 2 (l4 l5 ) Ft 3 l5 0 , |
||
(3.10)
(3.11)
|
|
|
F |
(l |
4 |
l |
5 |
) F |
l |
5 |
|
2577(90 90) 7225 90 |
746H |
|||
R |
|
t 2 |
|
|
|
|
|
t 3 |
|
|
||||||
x3 |
|
l |
|
|
l |
|
|
l |
|
|
|
70 90 90 |
||||
|
|
|
|
|
|
|
|
|
|
|
|
|||||
|
|
|
|
3 |
4 |
5 |
|
|
|
|
||||||
|
|
|
|
|
|
|
|
|
|
|
|
|||||
Проверка:
piz
0
,
Rx3 |
Ft 2 |
Rx4 |
Ft 3 |
0 |
, |
-746-2577+7225-3902=0 0=0.
Определяем реакции в опорах плоскости YZ
М 3 |
0 |
Fr 2 |
l3 |
Fa2 |
d |
2 |
Fr 3 (l3 l4 ) Fa3 |
d |
3 |
Ry 4 |
l3 |
l4 |
l5 0 |
, |
|
|
|
||||||||||||
2 |
2 |
||||||||||||
|
|
|
|
|
|
|
|
|
|||||
(3.12)
(3.13)