Материал: Расчет тонкопленочных элементов (резистора и конденсатора)

Внимание! Если размещение файла нарушает Ваши авторские права, то обязательно сообщите нам

Расчет тонкопленочных элементов (резистора и конденсатора)

Содержание

Введение

1. Ответы на контрольные вопросы

1.1 Эпитаксия. Виды. Задачи, решаемые эпитаксией в технологическом процессе

1.2 Многоэмиттерные транзисторные структуры

1.3 Функциональная микроэлектроника. Основные направления

1.3.1 Акустоэлектроника: типы устройств, их конструкция и параметры

1.3.2 Магнетоэлектроника

2. Расчет курсовой работы

2.1 Расчет тонкопленочного резистора (ТПР)

Расчет резистора прямоугольной формы

2.2 Расчёт тонкоплёночного конденсатора

Заключение

Список литературы

Введение


Развитие транзисторной электроники, совершенствование технологии изготовления транзисторов привели к возникновению нового направления в электронике - микроэлектроники. В 60-х годах были созданы интегральные схемы (ИС), в которых все элементы разрабатываются в едином технологическом процессе, нераздельно связаны и электрически соединены между собой как единое целое, что позволило резко повысить надежность РЭА, еще более уменьшить габариты и массу РЭА, повысить экономичность. Интегральные схемы в середине 60-х годов содержали до 100 элементов на полупроводниковом кристалле при размере элементов около 100 мкм. В начале 70-х годов появились большие интегральные схемы (БИС), содержавшие на кристалле от 100 до 104 элементов при размере элементов от 3 до 100 мкм. В конце 70-х годов созданы сверхбольшие интегральные схемы (СБИС), содержащие от 104 до 106элементов на кристалле при размере элементов от 1 до 3 мкм. Дальнейшее развитие микроэлектроники привело к освоению субмикронных размеров элементов микросхем. Исследования показали, что пределом уменьшения размеров элементов является значение 0,2 мкм. Однако достижение таких размеров связано с преодолением определенных технологических трудностей. Иначе говоря, существуют физические пределы развития интегральной микроэлектроники.

Параллельно с интегральной микроэлектроникой в 80-е годы развивалась функциональная электроника, позволяющая реализовать определенную функцию аппаратуры без применения стандартных базовых элементов (диодов, резисторов, транзисторов и т.д.). базируясь непосредственно на физических явлениях в твердом теле. В функциональной электронике используются такие механизмы, как оптические явления (оптоэлектроника), взаимодействие потока электронов с акустическими волнами в твердом теле (акустоэлектроника) и ряд других.

1. Ответы на контрольные вопросы


1.1 Эпитаксия. Виды. Задачи, решаемые эпитаксией в технологическом процессе


Эпитаксией называют ориентированное наращивание слоев, кристаллическая решетка которых повторяет структуру подложки. Как правило, материалы наращиваемой пленки и подложки одинаковы, но могут применяться и разные материалы с близкой кристаллической структурой, например пленка кремния на сапфировой подложке. Эпитаксиальный слой создается на всей поверхности подложки, в него могут вводиться примеси. На границе раздела эпитаксиального слоя с подложкой можно сформировать электронно-дырочный переход.

Различают гетероэпитаксию и гомоэпитаксию.

Процесс гомоэпитаксии или автоэпитаксии позволяет получать наращиваемые слои с составом, аналогичным подложке или отличающимся от нее только примесными свойствами.

Процесс гетероэпитаксии позволяет получать слои с различными относительно подложки свойствами как по химическому составу, так и по кристаллической структуре. Процесс эпитаксии легко осуществляется, если разность параметров решетки лежит в пределах 10%. В этом случае тонкий эпитаксиальный слой продолжает структуру атомных плоскостей подложки.

Эпитаксиальное наращивание возможно из любой фазы вещества: газовой - газофазная эпитаксия (ГФЭ); жидкой - жидкофазная эпитаксия (ЖФЭ) и твердой - твердофазная эпитаксия (ТФЭ).

Методы газофазной эпитаксии делятся на физические и химические. К физическим методам относятся методы термического осаждения из молекулярных пучков в вакууме, методы катодного распыления и осаждения, метод мгновенного расплавления.

тонкопленочный резистор конденсатор эпитаксия

Для получения эпитаксиальных слоев наиболее широко применяется хлоридный метод (рис.1). Отшлифованные и тщательно очищенные пластины кремния 1 закрепляют на графитовом держателе 2 и помещают в кварцевую трубу 3 с высокочастотным нагревом 4. В трубе поддерживается температура около 1200±3°С. Затем камеру продувают водородом и заполняют смесью HCI и Н2, в результате чего происходит дополнительная очистка поверхности кремниевых пластин.

Рисунок 1.

После очистки пластин в трубу подается смесь газов тетрахлорида кремния (SiCI4) и водорода (Н2). При этом на поверхности пластин происходит реакция восстановления SiCl4 с Н2:


Атомы кремния, перемещаясь по поверхности, занимают места в узлах кристаллической решетки, из-за чего растущая пленка продолжает кристаллическую структуру подложки. При необходимости вырастить эпитакснальный слой n - типа в смесь газов добавляют фосфин РН3, а для создания пленок р-типа - диборан В2Н6. Скорость роста пленки составляет 0,1-1.0 мкм/мин; она зависит от температуры, скорости потока газов и кристаллической ориентации поверхности кристалла. Из-за высокой температуры процесса атомы диффундируют из пленки в подложку и обратно, что затрудняет получение очень тонких эпитаксиальных пленок. Толщина пленок лежит в пределах от 1 до 15 мкм. Более тонкие пленки (0,1-0,2 мкм) можно получить на основе реакции пиролитического разложения силана SiH4 при температуре 1000°С:

 

Сравнение химической и жидкостной эпитаксии. Химические методы эпитаксии позволяют более просто и с большей точностью управлять составом соединений, но при этом растущие пленки загрязняются примесями из реактора. При жидкофазном методе возможно неконтролируемое изменение состава в процессе роста, но скорости роста больше (широко применяется для получения толстых слоев), а стоимость структур выше. В газофазном методе (пиролиз) расход Ga меньше и лучше управляемость.

1.2 Многоэмиттерные транзисторные структуры


Многоэмиттерные транзисторы

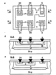
Многоэмиттерные транзисторы (МЭТ) составляют основу цифровых ИМС транзисторно-транзисторной логики (ТТЛ). Имея общий коллектор и базу, МЭТ содержат до 8 эмиттеров. Структура МЭТ и его топология показана на рис.2.

Рисунок 2.

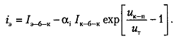
Особенность работы МЭТ состоит в том, что в любом состоянии схемы коллекторный переход всегда открыт, а эмиттерные переходы могут быть либо открытыми, либо закрытыми. При этом возможны три комбинации состояний р-п переходов. Если все эмиттерные переходы открыты, то в транзисторе существует режим насыщения и токи протекают так, как это показано на рис 3, а, при этом Iк, существенно меньше токов Iэ1 и Iэ2, так как последовательно с коллекторным переходом включено сопротивление rк, которое больше сопротивления r'э. Если на эмиттерные переходы поданы обратные напряжения от источника управляющих сигналов, то транзистор работает в инверсном режиме (рис.3, б). В этом случае возрастает ток Iк, а суммарный ток всех эмиттеров в соответствии с уравнениями Эберса-Молла будет равен


Рисунок 3.

Поскольку на открытом коллекторном переходе напряжение ик. п. = 0,7 В, то в этом уравнении второе (отрицательное) слагаемое оказывается существенно больше первого (положительного), поэтому в эмиттерных цепях будут протекать сравнительно большие отрицательные токи, потребляемые от источников управляющих сигналов. Чтобы уменьшить эти токи, необходимо уменьшить инверсный коэффициент передачи транзистора , что достигается путем искусственного увеличения сопротивления пассивной базы. Для этого внешний вывод базы соединяют с активной областью транзистора через узкий перешеек (см. рис.2, а), обладающий сопротивлением 200-300 Ом. Протекая через этот перешеек, ток базы создает на нем падение напряжения, вследствие чего прямое напряжение на коллекторном переходе будет больше в области пассивной базы и меньше в области активной базы. Поэтому инжекция электронов из коллектора в базу будет происходить преимущественно в области пассивной базы (см. рис.2, б). При этом возрастает длина пути, проходимого электронами через базу, в результате чего инверсный коэффициент передачи а, уменьшается до 0,005-0.05.

Если один из соседних переходов открыт, а другой закрыт (рис.3, в), то сказывается влияние горизонтальной паразитной структуры типа п-р-п (см. рис.2. в), образованной соседними эмиттерами и разделяющей их р-областью. Через эту структуру протекает ток, потребляемый от источника управляющих сигналов, подключенного к закрытому переходу. Для ослабления паразитного транзисторного эффекта приходится увеличивать расстояние между соседними эмиттерами до 10-15 мкм.

1.3 Функциональная микроэлектроника. Основные направления

Современная микроэлектроника базируется на интеграции дискретных элементов электронной техники, при которой каждый элемент схемы формируется отдельно в полупроводниковом кристалле. При этом в основе создания ИМС лежит принцип элементной (технологической) интеграции, сопровождающейся микроминиатюризацией элементов (активных и пассивных) микросхемы. В интегральной микроэлектронике сохраняется главный принцип дискретной электроники, основанной на разработке электрической схемы по законам теории цепей. Этот принцип неизбежно связан с ростом числа элементов микросхемы и межэлементных соединений по мере усложнения выполняемых ею функций.

Сложными становятся проблемы топологии и теплоотвода. Поэтому в отдаленной перспективе интегральная микроэлектроника уже не будет полностью удовлетворять разработчиков сложной радиоэлектронной аппаратуры.

Функциональная микроэлектроника предполагает принципиально иной подход, позволяющий реализовать определенную функцию аппаратуры без применения стандартных базовых элементов, основываясь непосредственно на физических явлениях в твердом теле. В этом случае локальному объему твердого тела придаются такие свойства, которые требуются для выполнения данной функции, и промежуточный этап представления желаемой функции в виде эквивалентной электрической схемы не требуется. Функциональные микросхемы могут выполняться не только на основе полупроводников, но и на основе таких материалов, как сверхпроводники, сегнетоэлектрики, материалы с фотопроводящими свойствами и др. Для переработки информации можно использовать явления, не связанные с электропроводностью (например, оптические и магнитные явления в диэлектриках, закономерности распространения ультразвука и т.д.).

Таким образом, функциональная микроэлектроника охватывает вопросы получения специальных сред с наперед заданными свойствами и создания различных электронных устройств методом физической интеграции, т.е. использования таких физических принципов и явлений, реализация которых позволяет получить приборы со сложным схемотехническим или системотехническим функциональным назначением.

В функциональной микроэлектронике начинают использовать:

Оптические явления (когерентная и некогерентная оптика, нелинейная оптика, электрооптика, магнетооптика) - на их основе зародилась оптоэлектроника

Физические явления, связанные с взаимодействием потока электронов с акустическими волнами в твердом теле (акустоэлектроника).

Новые магнитные материалы (слабые ферромагнетики и магнитные полупроводники), в которых используются электромагнитные процессы на доменном уровне.

Покоящиеся и движущиеся электрические неоднородности (домены и шнуры) в однородных полупроводниках.

Явления, связанные с изменением структуры конденсированных тел на молекулярном уровне (квантовая и молекулярная микроэлектроника).

Элементы на основе эффекта Ганна.

Явления холодной эмиссии, которые позволили создать электровакуумные приборы в микроэлектронном исполнении с применением пленок.

Приборы на основе накопления и переноса зарядов.


Основные направления функциональной микроэлектроники можно свести в таблицу (см. рис.4).

1.3.1 Акустоэлектроника: типы устройств, их конструкция и параметры

Акустоэлектроника - направление функциональной микроэлектроники, связанное с использованием механических резонансных эффектов, пьезоэлектрического эффекта, а также эффекта, основанного на взаимодействии электрических полей с волнами акустических напряжений в пьезоэлектрическом полупроводниковом материале.

Акустоэлектроника занимается преобразованием акустических сигналов в электрические и электрических сигналов в акустические.

На принципе электромеханического резонанса основано действие прибора, называемого резонистором и представляющего собой транзистор с резонирующим затвором (рис.5). Затвор З, представляющий собой часть балки, противоположный конец которой закреплен на изоляторе, нависает над каналом между стоком С и истоком И. Под балкой на изоляторе расположен электрод, на который подается входной сигнал. Сила электростатического взаимодействия сигнального электрода с затвором, на который также подано постоянное напряжение смещения, раскачивает балку в случае, когда частота сигнала совпадает с механическим резонансом балки. Вибрирующий затвор модулирует канал, обусловливая наличие переменной составляющей тока в нагрузке Rн. Консоль из золота имеет длину 0,25 мм. Такие резонисторы на частотах 1…45 кГц имеют добротность 100…750. При обратной связи с выхода на вход резонистора можно получить тональный генератор, подобный широко известному камертонному генератору. Разработаны и применяются резонисторы и для более высоких частот, приблизительно до 1 МГц.

На пьезоэлектрическом эффекте основана работа некоторых радиотехнических функциональных приборов - кварцевых генераторов, фильтров, ультразвуковых линий задержки, акустоэлектронных усилителей и преобразователей.

Простейшая ультразвуковая линия задержки, работающая на объемных акустических волнах, представляет собой стержень твердого тела, к противоположным концам которого прикреплены пьезоэлектрические преобразователи (рис.6). На вход подается радиоимпульс с несущей частотой порядка нескольких десятков мегагерц. Электрические колебания во входном пьезоэлектрическом преобразователе превращаются в акустические и излучаются в звукопровод, где распространяются со скоростью значительно меньшей, чем скорость распространения электромагнитных волн. Кварцевые преобразователи работают на сжатие. Дойдя до выходного преобразователя, акустические колебания вызывают появление в нем э. д. с., которая после усиления и детектирования образует выходной задержанный видеоимпульс. Задержка может достигать нескольких десятков миллисекунд.