Тольяттинский государственный университет
Кафедра "Промышленная
электроника"
Курсовая работа
"Расчет тепловой характеристики охладителя"
по курсу "Конструкция
электронных устройств"
Выполнил: студент Шумкин И.В.
Группа: ЭЛб-1131
Преподаватель: Медведев В.А.
Тольятти 2014
Содержание
1. Техническое задание
2. Введение
3. Теоретические сведения
5. Расчет тепловой характеристики охладителя при принудительном воздушном охлаждении
Заключение
Список использованной литературы
Рассчитать и построить тепловые характеристики охладителя для естественного и принудительного воздушного охлаждения.
Исходные данные:
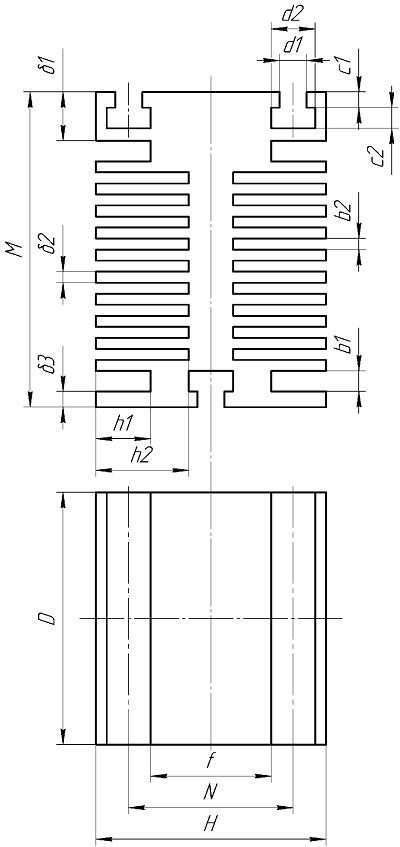
Охладитель - тип О-161 (рисунок 1.1)
Материал радиатора - медь;
Температура окружающей среды - tc = 40єC;
Скорость движения воздуха - ![]()
Геометрические размеры охладителя:
M = 100мм δ1 = 15,5мм
D = 80мм δ2 = 3,5мм
H = 70мм δ3 = 5мм
N = 50мм b1 = 6,5мм
c1 = 5мм b2 = 3,5мм
c2 = 6,5мм f = 36,6мм
d1 = 8,2мм h1 = 16,7мм
d2 = 13,4мм h2 = 28,3мм
Число ребер: n = 11
Рисунок 1.1 Охладитель - тип О-161
Оптимизация конструкции охладителя для полупроводниковых приборов невозможна без расчета его тепловой характеристики, которая определяет тепловую мощность, отдаваемую с поверхности охладителя и ее зависимость от превышения температуры нагрева охладителя над температурой окружающей среды. Знание тепловой характеристики позволяет правильно выбрать охладитель для полупроводникового прибора, обеспечив тем самым как нормальный тепловой режим работы полупроводникового прибора, так и надежность работы преобразователя в целом.
В справочных пособиях по полупроводниковым приборам и охладителям для них тепловые характеристики охладителей приводятся крайне редко. Как правило, рекомендуется лишь тип охладителя без указания вида охлаждения, расположения охладителя, скорости и направления движения охлаждающей среды и других факторов, влияющих на теплоотдачу от охладителя. При единичном изготовлении преобразователей, характерном при проведении научно-исследовательских, опытно-конструкторских и ремонтно-наладочных работ, когда охладитель изготавливается самостоятельно, либо выбирается из имеющихся на складе, только расчет тепловой характеристики охладителя позволит определить правильность его выбора.
Самым простым и надежным, однако, наименее эффективным способом охлаждения является естественное воздушное охлаждение. Охлаждаемые элементы находятся при этом в относительно свободном потоке воздуха, который движется вдоль них лишь под действием разности плотности теплого и холодного воздуха. Кроме того, здесь присутствует тепловое излучение, для повышения эффективности которого, должны быть созданы надлежащие условия путем специальной обработки теплоотдающих поверхностей полупроводникового прибора и охладителя (окраска, создание шероховатости, чернение). Охладители для естественного охлаждения силовых полупроводниковых приборов должны иметь большую поверхность охлаждения и создавать "эффект трубы". В преобразователях малой мощности с естественным воздушным охлаждением часто используются охладители с желобчатыми ребрами. Желобки на ребрах существенно увеличивают поверхность охлаждения и, следовательно, снижают перегрев полупроводникового прибора. В преобразователях полупроводниковых подстанций специальной формой и размещением охладителей обеспечивают равномерность условий охлаждения силовых полупроводниковых приборов. Поэтому все полупроводниковые приборы работают в одинаковом тепловом режиме, что позволяет исключить необходимость уменьшения мощности преобразователя с учетом допустимой нагрузки самого горячего прибора.
Наиболее распространенным способом охлаждения силовых полупроводниковых приборов является принудительное воздушное охлаждение. При этом прибор отдает свое тепло в охладитель, обдуваемый потоком воздуха, создаваемым вентилятором. Главную роль здесь играет конвекция, поэтому ролью теплового излучения и теплопроводности в отдаче тепла из охладителя в поток воздуха можно пренебречь. Охладитель для принудительного воздушного охлаждения представляет собой металлическое тело со сложной поверхностью большой площади. Увеличение площади достигается за счет использования ребер, отверстий, желобков. Материал охладителя должен иметь как можно большую теплопроводность. Современные охладители пригодны, как правило, и для естественного и для принудительного охлаждения. В настоящее время во всем мире чаще всего используются охладители, изготовленные из чистого алюминия или алюминия с противокоррозионными присадками методом экструзии.
Эффективность охладителей силовых полупроводниковых приборов можно увеличить переводом ламинарного движения воздуха между ребрами на турбулентное. В случае литых охладителей ребра можно выполнить так, чтобы на них были различные выступы и углубления, расположенные поперек движения воздуха, что обеспечивает турбулентность и улучшает отдачу тепла из охладителя в охлаждающий воздух. Охладители, нарезанные из профильного проката, имеют в направлении движения воздуха одинаковое сечение. Поперечные выступы на ребрах не могут быть получены при изготовлении профиля, однако они могут быть сделаны дополнительно на готовых охладителях.
Зарубежными фирмами выпускаются охладители, собранные из
тонких стальных пластин, разделенных дистанционными прокладками и стянутых в
компактный блок заклепками. С одной или двух торцевых сторон такого охладителя
образуется ровная сплошная поверхность, на которую устанавливаются
полупроводниковые приборы. Для повышения эффективности охлаждения в пластинах
могут штамповаться отверстия для поперечного движения воздуха. Охладители и
дистанционные прокладки в местах контакта обрабатываются с целью увеличения
шероховатости, снабжаются параллельными, западающими друг в друга бороздками
для облегчения сборки и смазываются вазелином с высокой теплопроводностью.
Системы с естественным воздушным охлаждением являются
конструктивно наиболее удобными, простыми и надежными, так как не требуют
специальных дополнительных устройств для перемещения охлаждающей среды. Отвод
тепла при естественном воздушном охлаждении происходит при низких значениях
коэффициентов теплоотдачи, ![]()
, поэтому охладители выполняются с развитой поверхностью
охлаждения, а их поверхность окрашивается с целью повышения степени черноты и
увеличения теплоотдачи лучеиспускании.
При тепловом расчете охладителя вся его поверхность разбивается на
отдельные поверхности, каждая из которых имеет свои уравнения теплообмена с
окружающей средой. В пределах каждой поверхности температурное поле считается
равномерным, а коэффициент теплоотдачи независящим от координат. Мощность,
передаваемая со всей поверхности охладителя окружающей среде, определяется по
формуле
![]()
, (3.1)
где ![]()
- мощность, передаваемая в окружающую среду i-ой поверхностью; ![]()
и ![]()
- коэффициенты теплоотдачи конъюнкцией и излучением i-ой поверхности; ![]()
- температура поверхности охладителя; ![]()
- температура окружающей среды i-ой поверхности; ![]()
- площадь поверхности теплоотдачи i-ой поверхности.
Расчет значительно упрощается, если внести n неизвестных температур окружающей среды. Рассмотрим две
температуры: первая - это температура ![]()
окружающей среды для поверхностей охладителя, обращенных к ней
непосредственно; вторая - температура в пространстве между ребрами охлаждения ![]()
, которая будет выше температуры ![]()
, за счет ухудшения теплоотдачи с внутренних поверхностей ребер
охлаждения.
Из рассмотрения процесса конъюнктивного теплообмена, между двумя
вертикальными пластинами выведена следующая формула для определения температуры
![]()
в пространстве между ребрами охлаждения
![]()
(3.2)
Таблица 3.1
К расчету температуры в пространстве между ребрами охладителя
??
0
0,2
0,5
1,0
1,5
2,0
2,5
3,0
3,5
4,0
4,5
ℒ (??)
0
0,1
0,25
0,48
0,68
0,82
0,9
0,94
0,96
0,98
0,99
где y и x - координаты средней точки (y равен половине расстояния между ребрами охлаждения, а x - половине ширины ребра); Gr -
критерий Грасгофа для рассматриваемой поверхности ребер охлаждения при
температуре охлаждающей среды где Таким образом, две и более поверхности охлаждения имеют одинаковые
условия теплообмена с окружающей средой, а, следовательно, и одинаковые
расчетные критериальные уравнения и коэффициенты теплоотдачи, если у них один и
тот же характерный геометрический размер и одна и та же температура окружающей
среды ( В качестве критериального уравнения при расчете теплоотдачи
свободной конвекцией удобнее всего использовать формулу М.А. Михеева
где C и n - коэффициенты, зависящие от произведения ( Таблица 3.2
Значения коэффициентов C и n
C
n
0,5
0
1,18
0,125
0,54
0,25
0,135
0,333
С ростом тепловых нагрузок естественное воздушное охлаждение
оказывается недостаточно эффективным и возникает необходимость принудительного
обдува охладителя с помощью вентилятора. Вентилятор обеспечивает необходимые
скорости движения воздушного потока у теплоотводящих поверхностей, в результате
чего существенно возрастают значения коэффициентов теплоотдачи по сравнению с
естественным охлаждением.
При принудительном воздушном охлаждении тепловой поток, отводящийся
посредством теплового излучения незначителен и, при тепловом расчете
охладителя, его, как правило, не учитывают.
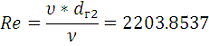
Для выбора критериального уравнения по расчету критерия
Нуссельта нужно определить критерий Рейнольдса
Все случаи теплоотдачи вынужденной конвекции желательно свести в
три:
) Движение охлаждающей среды вдоль плоской или цилиндрической
поверхности. За характерный размер принимается длина; температура по которой
определяются все физические свойства, это температура потока.
Рассчитанное значение критерия Рейнольдса сравниваем с критическим
значением числа Рейнольдса, определяющего переход движения охлаждающей среды от
ламинарного режима течения к турбулентному. При движении охлаждающей среды
вдоль плоской или цилиндрической поверхности Если рассчитанной по уравнению (3.6) критерий Рейнольдса меньше Для турбулентного режима течения, когда Коэффициент теплопроводности охлаждающей среды λ и коэффициент кинематической вязкости ν выбираются при температуре ) Протекание охлаждающей среды в трубах или каналах. Характерный
геометрический размер: диаметр (d)
для трубы и диаметр (dг) для канала, где Для ламинарного режима ( Где D - длина канала; λ, ν, Pr - соответственно коэффициент теплопроводности, кинематическая
вязкость и критерий Прандтля охлаждающей среды, выбираемые из таблицы 1.3 - 1.5
при температуре Для турбулентного режима ( где Таблица 3.3
Значения коэффициента L/d
1,0
2,0
5
10
15
20
30
40
50
1,9
1,7
1,44
1,28
1,18
1,13
1,05
1,02
1,0
При переходных режим течения охлаждающей среды ( где k - табличный безразмерный коэффициент
(таблица 2.2);
Таблица 3.4
Значения коэффициента k
2,1
2,2
2,3
2,4
2,5
3
4
5
6
8
10
k
1,9
2,2
3,3
3,8
4,4
6,0
10,3
15,5
19,5
27
33
3) Протекание охлаждающей среды поперек. Характерный
геометрический размер: Средний коэффициент теплоотдачи при поперечном обтекании
охлаждающей средой вычисляется по следующему критериальному уравнению
где C и n коэффициенты, зависящие от величины числа Рейнольдса, и выбираются
по таблице 3.5.
Таблица 3.5
Значения коэффициентов C и n
Re
C
n
50 - 80
0,93
0,4
80 - 5000
0,715
0,46
> 5000
0,226
0,6
. Расчет тепловой характеристики охладителя при естественном
воздушном охлаждении
.1 Разбиваем всю поверхность охладителя (рис.1.1) на
поверхности с одинаковыми условиями охлаждения с окружающей средой и
рассматриваем их площади.
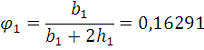
Поверхность S1 с характерным геометрическим размером D и температурой окружающей среды Поверхность S2 с характерным геометрическим размером D и температурой окружающей среды Поверхность S3 с характерным геометрическим размером D и температурой окружающей среды Поверхность S4 с характерным геометрическим размером D и температурой окружающей среды Поверхность S5 с характерным геометрическим размером H и температурой окружающей среды Поверхность S6 с характерным геометрическим размером δ2 и температурой окружающей среды Поверхность S7 с характерным геометрическим размером d2 и температурой окружающей среды Поверхность S8 с характерным геометрическим размером f и температурой окружающей среды .2 Задаемся превышением температуры нагрева охладителя над
температурой окружающей среды ∆ts (шагом расчета). Шаг расчета выбираем в
зависимости от требуемой точности построения тепловой характеристики охладителя
- 10єC. То есть ∆ts = 10єC.
4.3 Температура нагрева поверхности охладителя:
.4 Рассчитываем коэффициент теплоотдачи с поверхности где Определяем коэффициент теплоотдачи конвекцией с поверхности где В качестве критериального уравнения используем формулу 3.5
Критерий Грасгофа рассчитываем по формуле 3.4
Определяем температуру в соответствии с которой будем выбирать
физические параметры окружающей среды ( Коэффициент объемного расширения для воздуха:
Остальные параметры окружающей среды берем из таблицы
"Физические свойства сухого воздуха”, которая приведена в методическом
пособии по курсовой работе:
Рассчитываем:
В соответствии с произведением Определяем коэффициент теплоотдачи лучеиспусканием с поверхности где Получаем коэффициент теплоотдачи с поверхности S1
.5 Рассчитываем коэффициент теплоотдачи с поверхности Определяем температуру окружающей среды в пространстве между
ребрами охлаждения с толщиной δ1 и δ2 (рис.1.1) по формуле (3.2)
где Рассчитываем определяющую температуру
Определяем физические параметры охлаждающей среды ( Коэффициент объемного расширения для воздуха
Параметры окружающей среды для плоскости S2
Определяем коэффициент теплоотдачи конвекцией
Критерий Грасгофа
C и n выбираем по таблице 3.2.
C2=0,54 и n2=0,25
Рассчитываем коэффициент теплоотдачи лучеиспусканием
где Получаем коэффициент теплоотдачи с поверхности S2
.6 Рассчитываем коэффициент теплоотдачи с поверхности где Определяем температуру окружающей среды в пространстве между
ребрами охлаждения с толщиной δ2 (рис.1.1)
Рассчитываем определяющую температуру
По таблицам выбираем физические параметры охлаждающей среды
Определяем коэффициент теплоотдачи конвекцией
C и n выбираем по таблице 3.2.
C3=0,54 и n3=0,25
Рассчитываем коэффициент теплоотдачи лучеиспусканием
где
Получаем коэффициент теплоотдачи с поверхности S3
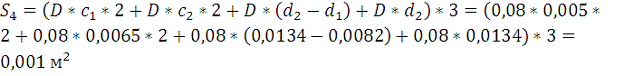
4.7 Рассчитываем коэффициент теплоотдачи с поверхности где Определяем температуру окружающей среды в пространстве отверстий
для закрепления охладителя (рис.1.1)
Рассчитываем определяющую температуру
По таблицам выбираем физические параметры охлаждающей среды
Определяем коэффициент теплоотдачи конвекцией
C и n выбираем по таблице 3.2.
C4=0,54 и n4=0,25
Рассчитываем коэффициент теплоотдачи лучеиспусканием
где Получаем коэффициент теплоотдачи с поверхности S4
4.8 Рассчитываем коэффициент теплоотдачи с поверхности где Рассчитываем определяющую температуру
и выбираем физические параметры охлаждающей среды:
Определяем коэффициент теплоотдачи конвекцией
C и n выбираем по таблице 3.2.
C5=0,54 и n5=0,25
Рассчитываем коэффициент теплоотдачи лучеиспусканием. В данном
случае теплоотдача происходит непосредственно в окружающую среду, как и в
случае теплообмена с поверхностью Получаем коэффициент теплоотдачи с поверхности S5
.9 Рассчитываем коэффициент теплоотдачи с поверхности Находим определяющую температуру
и определяем по ней физические параметры охлаждающей среды:
Рассчитываем коэффициент теплоотдачи конвекцией
C и n выбираем по таблице 3.2.
C6=1,18 и n6=0,125
Определяем коэффициент теплоотдачи лучеиспусканием (формула 1.18).
Получаем коэффициент теплоотдачи с поверхности S6
.10. Рассчитываем коэффициент теплоотдачи с поверхности Находим определяющую температуру
и определяем по ней физические параметры охлаждающей среды:
Рассчитываем коэффициент теплоотдачи конвекцией
C и n выбираем по таблице 3.2.
C7=0,54 и n7=0,25
Определяем коэффициент теплоотдачи лучеиспусканием (формула 1.18).
Получаем коэффициент теплоотдачи с поверхности S7
.11. Рассчитываем коэффициент теплоотдачи с поверхности Находим определяющую температуру
и определяем по ней физические параметры охлаждающей среды:
Рассчитываем коэффициент теплоотдачи конвекцией
C и n выбираем по таблице 3.2.
C8=0,54 и n8=0,25
Определяем коэффициент теплоотдачи лучеиспусканием (формула 1.18).
Получаем коэффициент теплоотдачи с поверхности S7
.12. Рассчитываем тепловую мощность, отдаваемую с каждой
поверхности охладителя
.13. Определяем полную тепловую мощность, отдаваемую с поверхности
охладителя
.14. Задаемся следующим значением превышения температуры нагрева
поверхности охладителя над температурой окружающей среды Таблица 4.1
К расчету тепловой характеристики охладителя при естественном
охлаждении
4,63
5.47
6.02
6.43
6.76
7.04
4,38
4.59
4.81
5.04
5.28
5.53
9,00
10.06
10.83
11.48
12.05
12.57
4,03
5.32
5.88
6.35
6.65
6.92
0,73
0.75
0.79
0.83
0.87
0.91
4,75
6.08
6.67
7.18
7.52
7.84
3,26
4,79
5.44
5.81
6.12
6.44
0,26
0,28
0.29
0.31
0.33
0.34
3,52
5,06
5.73
6.12
6.44
6.79
4,50
5.45
6.00
6.42
6.74
7.02
1,62
1.69
1.77
1.86
1.95
2.04
6,12
7.15
7.78
8.28
8.69
9.06
4,78
5.65
6.22
6.65
6.99
7.28
4,38
4.59
4.81
5.04
5.28
5.53
9,16
10.24
11.03
11.69
12.28
12.81
14,43
15.79
16.67
17.34
17.88
18.35
4,38
4.59
4.81
5.04
5.28
5.53
18,81
20.38
21.48
22.38
23.16
23.88
7.23
8.55
9.41
10.06
10.57
11.00
4,378
4.59
4.81
5.04
5.28
5.53
11.61
13.14
14.22
15.10
15.85
16.54
5.62
6.65
7.32
7.82
8.22
8.56
4,38
4.59
4.81
5.04
5.28
5.53
10.00
11.24
12.13
12.87
13.51
14.09
1,63
3.64
5.88
8.31
10.91
13.66
0,35
1.40
2.33
3.45
4.51
5.65
0,76
5.26
10.12
14.41
19.24
25.39
0,55
1.41
2.31
3.27
4.30
5.37
0,33
0.73
1.18
1.66
2.18
2.73
0,60
1.29
2.04
2.84
3.67
4.54
0,18
0.42
0.68
0.96
1.26
1.58
0,05
0.11
0.17
0.24
0.32
0.40
4,45
14.26
24.71
35.15
46.40
59.33
4.15. Строим тепловую характеристику охладителя при
естественном охлаждении (рис 4.1)
Рисунок 4.1 Тепловая характеристика охладителя при естественном
воздушном охлаждении.
5.1 Разбиваем всю поверхность охладителя на поверхности с
одинаковыми условиями охлаждения с окружающей средой и рассчитываем их площади.
При этом все поверхности охлаждения сводим к тем, наиболее часто встречающимся
при тепловом расчете охладителей частным случаем, для которых известны
критериальные уравнения теплоотдачи с окружающей средой: теплоотдача при
вынужденном движении охлаждающей среды вдоль плоской или цилиндрической
поверхности; теплоотдача при вынужденном движении охлаждающей среды в трубках
или каналах; теплоотдача при поперечном обтекании тел различной формы.
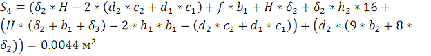
Поверхность Поверхность Поверхность Поверхность .2 Задаемся превышением температуры нагрева охладителя над
температурой окружающей среды 5.3 Рассчитываем температуру нагрева поверхности охладителя
.4 Определяем коэффициент теплоотдачи конвекцией с поверхности Температура, по которой определяем (берем из таблицы) все
физические свойства воздуха, - это температура потока. То есть Для выбора критериального уравнения по расчету критерия Нуссельта
определяем критерий Рейнольдса
значит режим течения охлаждающей среды ламинарный и критериальное
уравнение
Вычисляем коэффициент теплоотдачи конвекцией для поверхности S1
.5 Рассчитываем коэффициент теплоотдачи с поверхности тепловая характеристика охладитель радиатор
где Определяем критерий Рейнольдса
значит режим протекания охлаждающей среды переходный.
Критериальное уравнение
где k1 - табличный безразмерный коэффициент (таблица 3.4);
Возьмем критерий Прандтля охлаждающей среды для температуры
поверхности охладителя Рассчитываем критерий Нуссельта
Вычисляем коэффициент теплоотдачи конвекцией для поверхности S2
.6 Рассчитываем коэффициент теплоотдачи конвекцией с поверхности где Определяем критерий Рейнольдса
значит режим протекания охлаждающей среды переходный.
Критериальное уравнение
Рассчитываем критерий Нуссельта
Вычисляем коэффициент теплоотдачи конвекцией для поверхности S3
.7 Определяем коэффициент теплоотдачи с поверхности где Средний коэффициент теплоотдачи при поперечном обтекании
охлаждающей средой вычисляется по следующему критериальному уравнению
где C и n коэффициенты зависят от величины числа Рейнольдса и выбираются по
таблице 3.5.
Рассчитываем число Рейнольдса
Выбираем коэффициенты для критериального уравнения
Рассчитываем критерий Нуссельта
Вычисляем коэффициент теплоотдачи конвекцией для поверхности S4
.8 Рассчитываем тепловую мощность, отдаваемую с каждой поверхности
.9 Определяем полную тепловую мощность, отдаваемую всей
поверхностью охладителя
.10. Задаемся следующим значением превышения температуры нагрева
поверхности охладителя над температурой окружающей среды Таблица 5.1
К расчету тепловой характеристики охладителя при
принудительном охлаждении.
38.31
38.31
38.31
38.31
38.31
38.31
18.19
18.19
18.18
18.17
18.16
18.15
8.35
8.35
8.34
8.34
8.34
8.33
32.57
32.57
32.57
32.57
32.57
32.57
6.94
13.88
20.81
27.75
34.69
41.63
2.32
4.64
6.96
9.28
11.59
13.91
7.23
14.45
21.67
28.87
36.07
43.27
1.43
2.86
4.30
5.73
7.16
8.59
17.92
35.84
53.74
71.64
89.52
107.40
.11. Строим тепловую характеристику охладителя при
принудительном охлаждении (рис.5.1)
Рисунок 5.1 Тепловая характеристика охладителя при
принудительном охлаждении.
Наименее эффективным способом охлаждения является
естественное воздушное охлаждение. Принудительное воздушное охлаждение эффективнее
в разы.
1. Медведев,
В.А. Конструирование преобразователей: учеб. пособие / В.А. Медведев. -
Тольятти: ТГУ, 2014. - 164с.
2. Медведев,
В.А. Расчет тепловых характеристик охладителей для полупроводниковых приборов:
учебно-методическое пособие по курсовому проектированию / В.А. Медведев. -
Тольятти: ТГУ, 2015. - 26с.
![]()
, (3.3)
![]()
![]()
, (3.4)
![]()
- коэффициент объемного расширения охлаждающей среды; ![]()
- ускорение свободного падения; ![]()
- длина ребра охлаждения; ν - кинематическая вязкость охлаждающей
среды.
![]()
или ![]()
).
![]()
, (3.5)
![]()
), значения которых приведены в таблице 1.2.
![]()
(3.6)
![]()
.
![]()
, то режим течения охлаждающей среды ламинарный и критериальное
уравнение имеет вид
![]()
(3.7)
![]()
![]()
(3.8)
![]()
.
![]()
- гидравлический диаметр канала с расстоянием между ребрами
охлаждения b1; ![]()
- площадь поперечного сечения канала; ![]()
- периметр поперечного сечения канала.
![]()
)
![]()
, (3.9)
![]()
.
![]()
)
![]()
, (3.10)
![]()
- критерий Прандтля охлаждающей среды, взятый при температуре
поверхности охладителя ![]()
; ![]()
- коэффициент, учитывающий изменение среднего коэффициента
теплоотдачи по длине L трубы или
канала, значения которого приведены в таблице 3.3.
![]()
![]()
) рекомендуется следующее критериальное уравнение
![]()
, (3.11)
![]()
(3.12)
![]()
- определяемый диаметром эквивалентного, поперечно обтекаемой
поверхности, цилиндра. ![]()
![]()
, (3.13)
![]()

![]()

![]()

![]()

![]()

![]()
![]()
![]()

![]()
![]()
![]()
![]()
,
![]()
и ![]()
- соответственно, коэффициенты теплоотдачи конвекцией и
лучеиспусканием (тепловым излучением) с поверхности ![]()
.
![]()
![]()
,
![]()
- коэффициент теплопроводности окружающей среды; ![]()
- критерий Нуссельта, рассчитываемый по выбранному критериальному
уравнению.
![]()
,
![]()
)
,
![]()
выбираем из таблицы 3.2 коэффициенты C1=0,54 и n1=0,25
![]()

,
![]()
- постоянная Больцмана; ![]()
- степень черноты полного излучения поверхности охладителя. Для
меди ![]()
![]()
![]()
,
![]()
,
![]()
выбираем по таблице 3.1, в зависимости от ![]()
![]()
.
,
![]()
,
![]()
![]()

,
![]()
- коэффициент взаимооблученности ребер охлаждения для поверхности
![]()
.
![]()
![]()
,
![]()
и ![]()
- соответственно, коэффициенты теплоотдачи конвекцией и
лучеиспусканием.
![]()
,
![]()
,
![]()
;

,
![]()
- коэффициент взаимооблученности ребер охлаждения для поверхности
![]()
.
![]()
![]()
,
![]()
и ![]()
- соответственно, коэффициенты теплоотдачи конвекцией и
лучеиспусканием.
![]()
,
![]()
,
![]()
;

,
![]()
![]()
![]()
,
![]()
и ![]()
- соответственно, коэффициенты теплоотдачи конвекцией и
лучеиспусканием.
![]()
,
![]()
;

![]()
. Поэтому ![]()
= ![]()
(уравнение 1.18).
![]()
![]()
,
![]()
,
![]()
;

![]()
![]()
,
![]()
,
![]()
;
![]()
![]()
,
,
![]()
,
![]()
;
![]()
и аналогично повторяем расчет (п. п.4.3 - 4.13.). Результаты
расчетов для каждой температуры (до ts = 100єC) заносим в таблицу 4.1.
![]()
, ºC102030405060
![]()
.
5. Расчет
тепловой характеристики охладителя при принудительном воздушном охлаждении
![]()
с характерным геометрическим размером D, вдоль которого движется охлаждающая среда со скоростью ![]()

![]()
с каналом, имеющим геометрические размеры h1, b1, в котором протекает охлаждающая среда со скоростью υ
![]()
![]()
с каналом, имеющим геометрические размеры h2, b2, в котором протекает охлаждающая среда со скоростью υ
![]()
![]()
которую поперек обтекает охлаждающая среда со скоростью υ

![]()
(шагом расчета). ∆ts = 10єC.
![]()
![]()
.
,
![]()
![]()
![]()
- гидравлический диаметр канала с расстоянием между ребрами
охлаждения b1; ![]()
- площадь поперечного сечения канала; ![]()
- периметр поперечного сечения канала.
![]()
.
![]()
![]()
- гидравлический диаметр канала с расстоянием между ребрами
охлаждения b2; ![]()
- площадь поперечного сечения канала; ![]()
- периметр поперечного сечения канала.
![]()
- берем из таблицы 3.4.
![]()
![]()
- характерный геометрический размер для поперечно обтекаемой
поверхности, определяемый диаметром эквивалентного ей цилиндра
![]()
и аналогично повторяем расчет (п. п.5.3 - 5.9). Результаты
расчетов для каждой температуры (до ts = 100єC) заносим в таблицу 5.1.
![]()
, ºC102030405060
Заключение
Список
использованной литературы