Материал: Расчет ремонтной базы АТП

Внимание! Если размещение файла нарушает Ваши авторские права, то обязательно сообщите нам

Расчет ремонтной базы АТП

Реферат

автомобиль двигатель трансмиссия

Тяговый расчет, скоростная характеристика, техническое обслуживание, текущий ремонт, технологический расчет, технико-экономические показатели, затраты, безубыточность.

Объектом исследования является грузовой автомобиль класса 65, организация и технология технического обслуживания и текущего ремонта группы автомобилей этого класса.

Цель работы - определение основных параметров тягово-динамической характеристики автомобиля и разработка компоновочного плана производственного корпуса, зоны ТО, составить технико-экономический прогноз, спроектировать стенд для обслуживания грузового автомобиля

Введение

Главной задачей автомобильного транспорта является полное, качественное и своевременное удовлетворение потребностей народного хозяйства и населения в перевозках при возможно минимальных затратах материальных и трудовых ресурсов.

Решение этой задачи требует преимущественного развития, повышение грузо- и пассажирооборота, укрепление материально технической базы, улучшение технического обслуживания (ТО) и ремонта подвижного состава (ПС).

ТО и ремонт автомобильного транспорта требует больших материальных и трудовых затрат, которые вместе составляют около 90% от общих затрат, выделяемых на выделяемых на приобретение и содержание ПС. Несмотря на это, по причинам технических неисправностей простаивает значительная часть автопарка.

Исследования свидетельствуют о том, что разработка и внедрение рациональных технологических процессов ТО и текущего ремонта (ТР) и углубленной диагностики является значительным резервом повышения уровня технического состояния ПС и снижения затрат на его содержание.

Развитие производственно-технической базы (ПТБ) предприятий неразрывно связано с реконструкцией и перевооружением действующих автотранспортных предприятии (АТП). Реконструкция и техническое перевооружение должны отвечать современным требованиям научно-технического прогресса.

Одно из главных направлений технического прогресса при создании и реконструкции АТП - это сокращение трудоемких работ, оснащение рабочих мест и постов высокопроизводительным оборудованием, и на этой основе повышение уровня механизации производственных процессов ТО и ТР автомобилей.

В целях повышения эффективности производства, производительности труда, увеличения выпуска ПС на линию должны учитываться основные направления совершенствования ПТБ:

1.         создание централизованных производств, позволяющих максимально механизировать процессы ТО и ТР, уменьшить потребность в оборудовании, упорядочить работу службы материально-технического снабжения, улучшит условия труда работающих;

2.         дальнейшее совершенствование системы централизованного управления производством и материально-техническим снабжением АТП, что обеспечивает сокращение потерь рабочего времени до 70%

3.         организация двухсменной работы ремонтных рабочих позволяющих снизить потребность в производственных площадях в 1,5 раза, в оборудовании в 2-раза, высвободить водителей от участия в ремонтных работах и повысить коэффициент выпуска ПС.

4.         внедрение коллективно-сдельной оплаты труда за конечный результат, что позволит повысить производительность труда и дисциплину, обеспечить справедливое распределение фонда заработной платы по количеству труда каждого;

5.         создание специализированных постов ТО и ТР напольного типа, позволяющие улучшить условия труда работающих;

6.         создание в каждом АТП цехов и участков по изготовлению нестандартного оборудования с численностью работающих в них до 10 % от численности ремонтных рабочих, это позволит резко повысить уровень механизации;

7.         совершенствование материально-технического обеспечения, при широком использовании централизованной доставки запасных частей, узлов и агрегатов;

8.         обучение кадров всех уровней производственно-технической службы АТП.

1. Определение технических данных и характеристик автомобиля

.1 Определение технических данных и характеристик автомобиля

.1.1 Уточнение задания на тягово-динамический расчет

Выбор типа и класса автомобиля: автомобиль большой грузоподъемностью класса 65, Vmax=95 км/ч - максимальная скорость, на высшей передаче, грузоподъемностью 20 т. Тип двигателя: дизельный с турбонаддувом. Расположение кабины - над двигателем; коробка передач - шестнадцатиступенчая. При выполнении расчета некоторые данные принимаются исходя из среднестатистических величин, характерных для существующих конструкций.

Минимальные устойчивые обороты дизельного двигателя- 500…800 об/мин-1, для расчётов принимается 620 об/мин-1.

Максимальное сопротивление, преодолеваемое автомобилем на первой передаче - ψмах=0,2.

Выбирается коэффициент сопротивлению качению колес для сухого асфальта f =0,02.

Коэффициент деформации шин (для расчета радиуса качения) - λ=0,96.

Масса водителя и пассажира принимается равной 80 кг.

δ -коэффициент учета вращающихся масс, определяется по формуле:


где iк - передаточное число соответствующей передачи КП.

Максимальная частота вращения двигателя по внешней скоростной характеристике равна номинальной частоте вращения.

Коэффициент сцепления ведущих колес с дорогой φ=0,8.

1.1.2 Определение массы автомобиля, выбор размера и радиуса качения шин

Для выбора размера шины необходимо определить нагрузку, приходящуюся на одно колесо автомобиля. Для автомобилей с колесной формулой 4х2 и сдвоенными задними колёсами оптимальным распределением массы на переднюю ось принимаем 35,5%. На заднюю ось принимаем 64,5%.

Полная масса автомобиля Мa автомобиля складывается из массы полезной нагрузки МГ и собственной массы автомобиля М0.

Для определения полной массы автомобиля принимают коэффициент использования массы автомобиля ηм, для данного класса автомобиля принимаем ηм= 1,6, следовательно,


Ма = 20000 ∙ (1 + 1 / 1,6) = 32500 кг.

Массу самосвала определяют по формуле:


где М0 - масса самосвала ;

G - грузоподъемность;

nч - число людей, размещающихся в кабине тягача;

Gч - масса одного человека.

М0 = 32500 - 2000 - 3 ∙ 80 = 12260 кг.

Нагрузка на переднюю Ga1 и заднюю Ga2 оси автомобиля:

Ga1 = 0,355∙(12260+20000)·9,8 = 112232,54=112,3 кН;

Ga2 = 0,645∙(12260+20000) ·9,8 = 203915,46=204кН.

При полной массе автомобиля 33100 кг максимальная нагрузка на колесо задней оси, как более нагруженной, составляет примерно 7500 кг. Максимальная скорость движения автомобиля 95 км/ч.

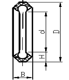
Исходя из данных условий принимаем для проектируемого автомобиля радиальные шины: 315/80R22,5 152/148L. Где 315 - ширина профиля покрышки в мм, 80 высота профиля в % от ширины, R - обозначает что шины радиальные, 22,5 диаметр обода в дюймах. 152/148 индекс нагрузки при одинарной и двойной ошиновки, K - индекс скорости. На рисунке 1.1 изображён разрез шины. Величина rk -радиус качения колеса определяется экспериментально по числу оборотов (n) колеса при его прокатывании по мерному участку (L) ровного, сухого, твердого асфальтового шоссе.


Но для приближенных расчетов воспользуемся эмпирической формулой:


где λ - эмпирический коэффициент, зависящий от типа шин иавтомобиля (λ=0,96);

r0 - свободный радиус шины.


r0= 950/2= 475 мм;

rk= 0,96·475= 456 мм.

Принимаем радиус качения колеса rk=456 мм.

Рекомендуемы к применению шины бескамерного типа.

Рисунок 1.1 - Разрез шины:В,Н - ширина и высота профиля, d - диаметр обода,D - наружный диаметр шины в свободном состоянии.

.2 Подбор ДВС. Расчет его характеристик и параметров трансмиссии

Расчет параметров двигателя и трансмиссии включает в себя расчет внешней скоростной характеристики ДВС, КПД трансмиссии, передаточных чисел главной передачи и коробки передач. Расчёт в данном разделе (и в последующих) производится по методическим указаниям [8] и [9].

С учётом максимальной скорости Vmax=95 км/ч = 26,4м/с, двигатель КамАЗ 740.73-400 выбирается за прототип. Nmax = 294 кВт (400л.с.) при 1900 мин-1. Рабочий объем данного ДВС равен Vh = 11,76 л.

.2.1 Построение внешней скоростной характеристики

Для расчета и построения внешней скоростной характеристики (ВСХ) поршневого двигателя внутреннего сгорания используем метод профессора С.Р. Лейдермана.

Внешняя скоростная характеристика представляет собой графическое изображение мощности (Ne) и момента (Me) от оборотов двигателя.

Эффективная мощность Ne:

где a, b, c - коэффициенты (для дизельных 4-х тактных двигателей равные: а = 0,87, b = 1,13, c = 1);

Nе, ne - текущее значение мощности и соответствующее ей число оборотов вала ДВС;

Nе.max, nN - максимальная мощность и соответствующее ей число оборотов вала ДВС;

Наименее устойчивое число оборотов коленчатого вала двигателя принимают равным:


nе.minст = 0,2 ∙ 1900 = 380 мин-1;

Крутящий момент равен (в кгс∙м):


Условия работы двигателя, установленного на автомобиле, отличаются от двигателя, принятого за прототип: двигатель работает с другими впускными и выпускными системами, на нем устанавливаются дополнительные механизмы, на привод которых затрачивается определенная мощность, двигатель работает при другом температурном режиме. Поэтому мощность двигателя, установленного на автомобиле Nе, несколько меньше мощности, полученной при испытаниях прототипа Nе.ст.

При использовании для тягово-скоростных расчетов внешней скоростной характеристики, значения мощности Nе.ст уменьшают путем умножения на коэффициент kст, зависящий как от конструктивных особенностей и условий эксплуатации автомобиля, так и от особенностей стандарта, по которому была снята внешняя скоростная характеристика. Следовательно, мощность и момент, передающиеся в трансмиссию автомобиля, определяются по выражениям:


В приближенных расчетах можно принимать kст= 0,93...0,96.

Зависимости мощностей Ne, Ne.ст и моментов Me, Me.ст двигателя, установленного на автомобиле, от частоты вращения коленчатого вала ne, наносятся на график внешней скоростной характеристики (рисунок1.2).

Результаты расчётов заносятся в таблицу 1.1

Таблица 1.1 - Результаты расчетов ВСХ

ne,мин-1

Ne.ст, кВт (740.73-400)

Me.ст, кгс∙м (740.73-400)

Ne, кВт

Me, кгс∙м

620

108,625

175,202

101,021

162,937

780

140,653

180,325

130,807

167,702

940

172,258

183,253

160,199

170,425

1100

202,386

183,987

188,219

171,108

1260

229,983

182,526

213,884

169,749

1420

253,996

178,871

236,217

166,350

1580

273,373

173,021

254,237

160,909

1740

287,058

164,976

266,964

153,428

1900

294

154,737

273,42

143,905


Рисунок 1.2 - Внешняя скоростная характеристика

1.2.2 Расчет передаточного числа главной передачи

При определении передаточного числа главной передачи грузовых автомобилей с дизельными двигателем, задаются либо коэффициентом запаса мощности (К3), либо величиной максимальной скорости (Vмах) движения автомобиля.

Передаточное отношение главной передачи рассчитывается по формуле:

 

iГП = 0,377 ∙ 0,456∙1900 / 95 = 3,438.

.2.3 Расчет передаточных чисел КПП

Расчет выполняем из условий, что передаточное число прямой передачи равно 1. Количество передач в КПП -16.

Для коробки передач с n ступенями передач передаточное число любой передачи можно определить по формуле


где k - номер передачи;

n - число ступеней, исключая заднюю и ускоряющую передачи.

.2.3.1 Расчет передаточного отношения 1-ой передачи

Так как на первой передаче скорость движения автомобиля мала, то сила сопротивления воздуха Рв=0, и преодоление сопротивления движения без использования инерции автомобиля. Тогда сопротивление дороги оценивается общим коэффициентом дорожного сопротивления ψ: для самосвала ψ = 0,33, то передаточное отношение 1-ой передачи находим по формуле:


где ψmax- коэффициент дорожного сопротивления;

iГП - передаточное число главной передачи;

Ме.мах - максимальный крутящий момент на валу ДВС;

ηтр - КПД трансмиссии (0,9 - для грузовых с одинарной главной передачей).

i1 ≥ (0,2 ∙ 0,456 ∙ 32500 ∙ 9,8) / (1634,079 ∙ 3,438∙ 0,9) = 5,74

Во избежание проскальзывания колёс по дорожному покрытию необходимо соблюдать условие:


где Рт.max- максимальная тяговая сила;

mр = 1,12 - коэффициент перераспределения реакций при разгоне автомобиля (для самосвалов).


Рт.max = (1634,079∙5,74∙ 3,438∙ 0,9)/0,456 = 63700Н = 63,7 кН.

Gсц=G1=112,3 кН - вес приходящийся на ведущие колёса автомобиля;

φ = 0,8- коэффициент сцепления колеса с дорогой (для асфальтобетонного покрытия).

Gсц ∙φ = 112,3 ∙ 0,8∙ 1,12 = 100,621 Н.

,7 < 100,621, следовательно проскальзывание отсутствует.

Принимаем окончательно i1=5,74.

.2.3.2 Расчет передаточного числа остальных передач КПП

Известно, что: i1 = 5,74; i8 = 1.

Тогда по формуле передаточные числа других передач:

Для II передачи i2 = = 4,47;

Для III передачи i3 = = 3,48;

Для IV передачи i4 = = 2,71;

Для V передачиi5 = = 2,12;

Для VI передачиi6 = = 1,65;

Для VII передачиi7 = = 1,28.

.3 Тяговая характеристика автомобиля

Тяговой характеристикой называют зависимость силы тяги от скорости автомобиля. Строят её либо по результатам стендовых, либо по результатам дорожных испытаний, либо по расчетам. При построении тяговой характеристики расчетным путем обычно пользуются скоростной характеристикой двигателя.

Скорость автомобиля на различных передачах в зависимости от числа оборотов:


где iк - передаточное число коробки передач.

Сила тяги на различных передачах в зависимости от крутящего момента:


В таблице 1.2 и на рисунке 1.3 приведены результаты расчета тяговой характеристики автомобиля.

Таблица 1.2 - Результаты расчета скорости автомобиля и силы тяги


Параметр

Значение


n, мин-1

620

780

940

1100

1260

1420

1580

1740

1900

1

Va1, км/ч

5,401

6,795

8,189

9,583

10,976

12,370

13,764

15,158

16,552


Рт1, кН

60,607

62,379

63,392

63,646

63,140

61,876

59,852

57,069

53,527

2

Va2, км/ч

6,936

8,725

10,515

12,305

14,095

15,885

17,675

19,464

21,254


Рт2, кН

47,197

48,577

49,366

49,564

49,170

48,186

46,610

44,442

41,684

3

Va3, км/ч

8,934

11,240

13,546

15,851

18,157

20,463

22,768

25,074

27,379


Рт3, кН

36,638

37,710

38,322

38,476

38,170

37,406

36,182

34,500

32,359

4

Va4, км/ч

11,440

14,392

17,344

20,297

23,249

26,201

29,153

32,106

35,058


Рт4, кН

28,614

29,451

29,929

30,049

29,810

29,213

28,258

26,944

25,272

5

Va5,км/ч

14,624

18,398

22,171

25,945

29,719

33,493

37,267

41,041

44,814


Рт5, кН

22,384

23,039

23,413

23,507

23,320

22,853

22,106

21,078

19,770

6

Va6, км/ч

18,789

23,638

28,487

33,336

38,184

43,033

47,882

52,731

57,580


Рт6, кН

17,422

17,931

18,222

18,295

18,150

17,787

17,205

16,405

15,387

7

Va7, км/ч

24,220

30,471

36,721

42,972

49,222

55,473

61,723

67,973

74,224


Рт7, кН

13,515

13,910

14,136

14,193

14,080

13,798

13,347

12,726

11,936

8

Va8, км/ч

39,003

47,003

55,004

63,004

71,005

79,006

87,006

95,007


Рт8, кН

10,559

10,867

11,044

11,088

11,000

10,780

10,427

9,942

9,325


Рисунок 1.3 - Тяговая характеристика автомобиля

1.4 Тяговая динамика автомобиля

.4.1 Уравнение движения автомобиля

Уравнение движения связывает силы, движущие автомобиль, с силами сопротивления движению и позволяет определить характер прямолинейного движения в любой момент времени.


где ηтр- КПД трансмиссии;

Iм - момент инерции маховика;

Iк - момент инерции колёс;

iтр - передаточное число трансмиссии;

r - радиус колеса;

Ма - масса автомобиля;

j - линейное ускорение автомобиля;

Рк - сила сопротивления качению;

Рв - сила сопротивления воздуха.

Сила, которую нужно приложить к автомобилю, чтобы сообщить ему ускорение j:


где Ри - сила инерции;

δвр- коэффициент учёта вращающихся масс.

1.4.2 Расчет сил сопротивления движению автомобиля(качению, подъёму, воздуха, инерции)

Сила сопротивления качению колёс определяется по формуле:


где α- угол подъема полотна дороги.

Сила сопротивления воздуха Pw определяется по формуле:


где Кв- коэффициент обтекаемости (Кв = 0,85);

F -площадь лобового сопротивления автомобиля;


где В - ширина автомобиля, м;

Н - высота автомобиля, м.

F = 0,75 ∙ 2,5 ∙ 3,005 = 5,635 м2.

Для построения тягового баланса(рисунок 1.4), вычисляем силы сопротивлению движения на 8-ой передаче, а результаты расчета сводим в таблицу 1.3. Пересечение характеристики тяговой силы на 8-ой передаче и линии сил сопротивления движению, дает решение максимальной скорости.

Таблица 1.3 - Расчет сил сопротивления

n, мин-1

620

780

940

1110

1260

1420

1580

1740

1900

Va8, км/ч

31,002

39,003

47,003

55,004

63,004

71,005

79,006

87,006

95,007

Рf, кН

3,442

3,442

3,442

3,442

3,442

3,442

3,442

3,442

3,442

Рw, кН

0,354

0,560

0,814

1,115

1,463

1,858

2,300

2,789

3,326

Рсум, кН

3,796

4,002

4,256

4,556

4,904

5,299

5,741

6,231

6,767


Рисунок 1.4 - Диаграмма тягового баланса

.4.2.1 Предельный угол подъёма дороги для проектируемого автомобиля

Силу тяги автомобиля можно рассчитать по формуле:

1.4.3 Мощностной баланс автомобиля

По аналогии с уравнениями силового баланса уравнения мощностного баланса можно записать следующим образом:


где Nк - мощность, затрачиваемая на преодоление сил сопротивления качению;

Nп - мощность, затрачиваемая на преодоление подъёма;

Nв - мощность, затрачиваемая на преодоление сил сопротивления воздуха;

Nтр - потери мощности в трансмиссии.

При Nп=0, Nд=Nк:


В таблице 1.3 приведены результаты расчета мощностей. Мощностной баланс построен на рисунке 1.4.

Таблица 1.3 - Мощностной баланс

n, мин

620

780

940

1100

1260

1420

1580

1740

1900

Va8, км/ч

31,002

39,003

47,003

55,004

63,004

71,005

79,006

87,006

95,007

Рf, кН

3,442

3,442

3,442

3,442

3,442

3,442

3,442

3,442

3,442

Рw, кН

0,354

0,560

0,814

1,115

1,463

1,858

2,300

2,789

3,326

Nk, кВт

29,639

37,288

44,937

52,586

60,234

67,883

75,532

83,181

90,830

Nв, кВт

3,050

6,072

10,628

17,031

25,596

36,638

50,471

67,409

87,766

Nk+Nв, кВт

32,689

43,360

55,565

69,617

85,831

104,52

126,00

150,59

178,6

Nе, кВт

101,02

130,81

160,20

188,22

213,88

236,22

254,24

266,96

273,40

Nтр, кВт

90,92

117,73

144,18

169,4

192,5

212,6

228,81

240,27

246,06


Рисунок 1.4 - Мощностной баланс

.5 Динамический паспорт автомобиля

Динамическим фактором (Д) автомобиля называют отношение разности силы тяги и силы сопротивления воздуху к весу автомобиля:


То есть динамический фактор зависит от конструктивных и весовых параметров автомобиля.

Для построения динамической характеристики (таблица 1.4, рисунок 1.5) автомобиля используют данные тягового расчёта (см. раздел 1.3).

Таблица 1.4 - Динамический паспорт автомобиля

n,об/мин

620

780

940

1100

1260

1420

1580

1740

1900

Va1,км/ч

5,401

6,795

8,189

9,583

10,976

12,370

13,764

15,158

16,552

Рт1, кН

60,607

62,379

63,392

63,646

63,140

61,876

59,852

57,069

53,527

Рв1, кН

0,013

0,021

0,031

0,042

0,055

0,070

0,087

0,105

0,126

Д1

0,190

0,196

0,199

0,200

0,198

0,194

0,188

0,179

0,168

Va2,км/ч

6,936

8,725

10,515

12,305

14,095

15,885

17,675

19,464

21,254

Рт2, кН

47,197

48,577

49,366

49,564

49,170

48,186

46,610

44,442

41,684

Рв2, кН

0,022

0,035

0,051

0,069

0,091

0,116

0,143

0,174

0,207

Д2

0,148

0,152

0,155

0,155

0,154

0,151

0,146

0,139

0,130

Va3,км/ч

8,934

11,240

13,546

15,851

18,157

20,463

22,768

25,074

27,379

Рт3, кН

36,638

37,710

38,322

38,476

38,170

37,406

36,182

34,500

32,359

Рв3, кН

0,037

0,058

0,084

0,115

0,151

0,192

0,238

0,289

0,344

Д3

0,115

0,118

0,120

0,120

0,119

0,117

0,113

0,107

0,101

Va4,км/ч

11,440

14,392

17,344

20,297

26,201

29,153

32,106

35,058

Рт4, кН

28,614

29,451

29,929

30,049

29,810

29,213

28,258

26,944

25,272

Рв4, кН

0,060

0,095

0,138

0,189

0,248

0,315

0,390

0,473

0,564

Д4

0,090

0,092

0,094

0,094

0,093

0,091

0,087

0,083

0,078

Va5,км/ч

14,624

18,398

22,171

25,945

29,719

33,493

37,267

41,041

44,814

Рт5, кН

22,384

23,039

23,413

23,507

23,320

22,853

22,106

21,078

19,770

Рв5, кН

0,098

0,155

0,226

0,309

0,405

0,515

0,637

0,773

0,922

Д5

0,070

0,072

0,073

0,073

0,072

0,070

0,067

0,064

0,059

Va6,км/ч

18,789

23,638

28,487

33,336

38,184

43,033

47,882

52,731

57,580

Рт6, кН

17,422

17,931

18,222

18,295

18,150

17,787

17,205

16,405

15,387

Рв6, кН

0,162

0,256

0,372

0,510

0,669

0,850

1,052

1,276

1,522

Д6

0,054

0,055

0,056

0,056

0,055

0,053

0,051

0,047

0,044

Va7,км/ч

24,220

30,471

36,721

42,972

49,222

55,473

61,723

67,973

74,224

Рт7, кН

13,515

13,910

14,136

14,193

14,080

13,798

13,347

12,726

11,936

Рв7, кН

0,269

0,426

0,619

0,848

1,112

1,412

1,749

2,121

2,529

Д7

0,042

0,042

0,042

0,042

0,041

0,039

0,036

0,033

0,030

Va8,км/ч

31,002

39,003

47,003

55,004

63,004

71,005

79,006

87,006

95,007

Рт8, кН

10,559

10,867

11,044

11,088

11,000

10,780

10,427

9,942

9,325

Рв8, кН

0,441

0,698

1,014

1,389

1,822

2,314

2,865

3,475

4,143

Д8

0,032

0,032

0,031

0,030

0,029

0,027

0,024

0,020

0,016


По динамическому паспорту (рисунок 1.5) можно решать следующие задачи:

1.    по заданной нагрузке автомобиля и скорости его движения определяют максимальный коэффициент общего дорожного сопротивления, который может преодолеть автомобиль при этих условиях;

2.      по заданному коэффициенту общего дорожного сопротивления и по нагрузке определяют максимальную скорость и передачу, на которой может двигаться автомобиль;

.        по заданному коэффициенту общего дорожного сопротивления и по скорости определить максимальную нагрузку;

.        определяют критическую скорость автомобиля.

Рисунок 1.5 - Динамический паспорт автомобиля

.5.1 Разгон автомобиля

.5.1.1 Расчет ускорений

f0=0,014 - коэффициент сопротивления качению колес при движении со скоростью до 14 м/с (50 км/ч), тогда


Примем значение Д по динамической характеристике (см. раздел 1.5).

Расчёт коэффициента вращающихся масс по передачам производится по формуле:


где Ga=G- вес автомобиля;

δ1=0,03 и δ2=0,04 - коэффициенты учета вращающихся масс на ведомых и ведущих колесах соответственно.

Ускорения при скоростях в интервале Vmin…Vmax по передачам:


В таблице 1.5 приведены результаты расчета характеристик разгона. По данным таблицы строится график ускорения автомобиля (рисунок 1.6).

Таблица 1.5 - Результаты расчёта характеристик разгона

Va1,км/ч5,4016,7958,1899,58310,97612,37013,76415,15816,552










f1

0,014

0,014

0,014

0,014

0,014

0,014

0,014

0,014

0,014

δвр1

2,179

2,179

2,179

2,179

2,179

2,179

2,179

2,179

2,179

Д1

0,190

0,196

0,199

0,200

0,198

0,194

0,188

0,179

0,168

j1, м/с2

0,792

0,817

0,831

0,835

0,827

0,809

0,780

0,741

0,690

Va2,км/ч

6,936

8,725

10,515

12,305

14,095

15,885

17,675

19,464

21,254

f2

0,014

0,014

0,014

0,014

0,014

0,014

0,014

0,014

0,014

δвр2

1,742

1,742

1,742

1,742

1,742

1,742

1,742

1,742

1,742

Д2

0,148

0,152

0,155

0,155

0,154

0,151

0,146

0,139

0,130

j2, м/с2

0,754

0,778

0,792

0,795

0,787

0,769

0,741

0,701

0,652

Va3,км/ч

8,934

11,240

13,546

15,851

18,157

20,463

22,768

25,074

27,379

δвр3

1,471

1,471

1,471

1,471

1,471

1,471

1,471

1,471

1,471

f3

0,014

0,014

0,014

0,014

0,014

0,014

0,014

0,014

0,015

Д3

0,115

0,118

0,120

0,120

0,119

0,117

0,113

0,107

0,101

j3, м/с2

0,672

0,694

0,706

0,708

0,683

0,656

0,619

0,573

Va4,км/ч

11,440

14,392

17,344

20,297

23,249

26,201

29,153

32,106

35,058

f4

0,014

0,014

0,014

0,014

0,014

0,014

0,015

0,015

0,015

δвр4

1,302

1,302

1,302

1,302

1,302

1,302

1,302

1,302

1,302

Д4

0,090

0,092

0,094

0,094

0,093

0,091

0,087

0,083

0,078

j4, м/с2

0,568

0,587

0,597

0,598

0,590

0,574

0,548

0,514

0,472

Va5,км/ч

14,624

18,398

22,171

25,945

29,719

33,493

37,267

41,041

44,814

f5

0,014

0,014

0,014

0,014

0,015

0,015

0,015

0,015

0,015

δвр5

1,198

1,198

1,198

1,198

1,198

1,198

1,198

1,198

1,198

Д5

0,070

0,072

0,073

0,073

0,072

0,070

0,067

0,064

0,059

j5, м/с2

0,457

0,471

0,478

0,477

0,469

0,453

0,429

0,397

0,358

Va6,км/ч

18,789

23,638

28,487

33,336

38,184

43,033

47,882

52,731

57,580

f6

0,014

0,014

0,015

0,015

0,015

0,015

0,016

0,016

0,016

δвр6

1,135

1,135

1,135

1,135

1,135

1,135

1,135

1,135

1,135

Д6

0,054

0,055

0,056

0,056

0,055

0,053

0,051

0,047

0,044

j6, м/с2

0,345

0,355

0,358

0,354

0,344

0,327

0,303

0,272

0,234

Va7,км/ч

24,220

30,471

36,721

42,972

49,222

55,473

61,723

67,973

74,224

f7

0,014

0,015

0,015

0,015

0,016

0,016

0,017

0,017

0,018

δвр7

1,095

1,095

1,095

1,095

1,095

1,095

1,095

1,095

1,095

Д7

0,042

0,042

0,042

0,042

0,041

0,039

0,036

0,033

0,030

j7, м/с2

0,243

0,248

0,246

0,238

0,224

0,203

0,176

0,143

0,104

Va8,км/ч

31,002

39,003

47,003

55,004

63,004

71,005

79,006

87,006

95,007

f8

0,015

0,015

0,016

0,016

0,017

0,018

0,018

0,019

0,021

δвр8

1,070

1,070

1,070

1,070

1,070

1,070

1,070

1,070

1,070

Д8

0,032

0,032

0,031

0,030

0,029

0,027

0,024

0,020

0,016

j8, м/с2

0,156

0,154

0,146

0,131

0,110

0,082

0,048

0,008

-0,039


Рисунок 1.6 - Ускорение автомобиля

.5.1.2 Время и путь разгона

Разобьём график ускорений для каждой передачи на интервалы и вычислим среднее ускорение в интервалах:

Приращение скоростей на интервалах определяется:


Определим путь автомобиля, пройденный до каждой расчётной скорости:

S = ∆S1 + ∆S2 + … + ∆Sn.

(1.42)


По динамическому паспорту определяем скорости движения автомобиля, при превышении которых возникает необходимость переключения передачи на более низкую:

VI-II =16,55 км/ч (4,59 м/с), VII-III = 21,254 км/ч (5,9 м/с),

VIII-IV =27,38 км/ч (7,61 м/с), VIV-V =35,06 км/ч (9,74 м/с),

VV-VI =44,81 км/ч (12,45 м/с), VVI-VII =57,58 км/ч (15,99 м/с),

VVII-VIII = 74,22 км/ч (20,62 м/с).

Время переключения передачи принимаетсяtп=1 с; уменьшение скорости при переходе с передачи на передачу:


При скоростях:

∆VI-II

ψ = f =0,014

∆VI-II = 33 ∙ 0,014 ∙ 1= 0,462 км/ч;

∆VII-III

ψ = f =0,014

∆VII-III = 33 ∙ 0,014 ∙ 1 = 0,462 км/ч;

∆VIII-IV

ψ = f =0,015

∆VIII-IV = 33 ∙ 0,015 ∙ 1 = 0,495 км/ч;

∆VIV-V

ψ = f =0,015

∆VIV-V = 33 ∙ 0,015 ∙ 1 = 0,495 км/ч;

∆VV-VI

ψ = f = 0,015

∆VV-VI = 33 ∙ 0,015 ∙ 1 = 0,495 км/ч;

∆VVI-VII

ψ = f =0,016

∆VVI-VII = 33 ∙ 0,016 ∙ 1 = 0,528 км/ч;

∆VVII-VIII

ψ = f =0,018

∆VVII-VIII =33 ∙ 0,018 ∙ 1 = 0,594 км/ч.


Скорость в конце переключения передач:

с первой на вторую: VI-II=16,55 -0,462=16,09 км/ч;

со второй на третью: VII-III=21,25 -0,462=20,79 км/ч;

с третьей на четвёртую: VIII-IV=27,38 -0,495=26,89 км/ч;

с четвертой на пятую: VIV-V=35,06 -0,495 =34,57 км/ч;

с пятой на шестую: VV-VI = 44,81 - 0,495 = 44,32 км/ч;

с шестой на седьмую: VVI-VII = 57,58 - 0,528 = 57,05 км/ч;

с седьмой на восьмую: VVII-VIII = 74,22 -0,594 = 73,63 км/ч.

Средние скорости за время переключения передач:

VI ср. = (16,55 + 16,09) / 2 =16,32 км/ч;

VII ср. = (21,25 + 20,79) / 2 = 21,02 км/ч;

VIII ср. = (27,38 + 26,89) / 2 = 27,14 км/ч;

VIV ср. = (35,06 + 34,57) / 2 = 34,82 км/ч;

VV ср. = (44,81 + 44,32) / 2 = 44,57 км/ч;

VVI ср. = (57,58 + 57,05) / 2 = 57,32 км/ч;

VVII ср. = (74,22 + 73,63) / 2 = 73,93 км/ч;

Путь за время переключения передач:

Sп = (16,32 ∙ 1) / 3,6 = 4,53 м;

Sп = (21,02 ∙ 1) / 3,6 = 5,56 м;

Sп = (27,14 ∙ 1) / 3,6 = 7,54 м;

Sп = (34,82 ∙ 1) / 3,6 = 9,67 м;

Sп = (44,57 ∙ 1) / 3,6 = 12,38 м;

Sп = (57,32 ∙ 1) / 3,6 = 15,92 м;

Sп = (73,93 ∙ 1) / 3,6 = 20,54 м.

Для расчета первой передачи принимают интервалы скоростей от 0,5 до 1м/с, для промежуточных - от 1 до 3 м/с, для прямой - от 3 до 4 м/с.

В таблице 1.6 приведены результаты расчета времени и пути разгона автомобиля. По данным таблицы строятся графики зависимости времени разгона от скорости автомобиля и пути разгона от скорости автомобиля (рисунок 1.7 и 1.8).

Таблица 1.6 - Результаты расчёта времени и пути разгона

V, км/ч

V, м/с

j, м/с^2

jср, м/с^2

ΔV, м/с

Δt, с

t, с

Vср, м/с

ΔS, м

S, м

5,40

1,50

0,79

0,80

0,39

0,48

0,48

1,69

0,81

1,69

6,79

1,89

0,82

0,82

0,39

0,47

0,95

2,08

0,98

8,19

2,27

0,83

0,83

0,39

0,46

1,42

2,47

1,15

3,82

9,58

2,66

0,83

0,83

0,39

0,47

1,88

2,86

1,33

5,15

10,98

3,05

0,83

0,82

0,39

0,47

2,35

3,24

1,53

6,68

12,37

3,44

0,81

0,79

0,39

0,49

2,84

3,63

1,77

8,45

13,76

3,82

0,78

0,76

0,39

0,51

3,35

4,02

2,05

10,50

15,16

4,21

0,74

0,72

0,39

0,54

3,89

4,40

2,38

12,88

16,55

4,60

0,69

0,73

-0,13

-0,18

3,72

4,53

-0,80

12,08

16,09

4,47

0,77

0,75

0,44

0,58

4,30

4,69

2,73

14,82

17,67

4,91

0,74

0,72

0,50

0,69

4,99

5,16

3,56

18,37

19,46

5,41

0,70

0,68

0,50

0,73

5,72

5,66

4,16

22,53

21,25

5,90

0,65

0,67

-0,13

-0,19

5,53

5,84

-1,13

21,40

20,79

5,78

0,68

0,67

0,55

0,82

6,35

6,05

4,96

26,37

22,77

6,32

0,66

0,64

0,64

1,00

7,36

6,64

6,67

33,04

25,07

6,96

0,62

0,60

0,64

1,07

8,43

7,29

7,83

40,87

27,38

7,61

0,57

0,57

-0,14

-0,24

8,19

7,54

-1,79

39,08

26,89

7,47

0,57

0,56

0,63

1,12

9,31

7,78

8,72

47,80

29,15

8,10

0,55

0,53

0,82

1,54

10,86

8,51

13,13

60,93

32,11

8,92

0,51

0,49

0,82

1,66

12,52

9,33

15,52

76,45

35,06

9,74

0,47

0,46

-0,14

-0,29

12,23

9,67

-2,84

73,61

34,57

9,60

0,45

0,44

0,75

1,70

13,93

9,98

16,96

90,57

37,27

10,35

0,43

0,41

1,05

2,54

16,47

10,88

27,62

118,19

41,04

11,40

0,40

0,38

1,05

2,78

19,24

11,92

33,13

151,32

44,81

12,45

0,36

0,34

-0,14

-0,40

18,84

12,38

-4,97

146,35

44,32

12,31

0,33

0,31

0,99

3,14

21,99

12,81

40,26

186,60

47,88

13,30

0,30

0,29

1,35

4,69

26,67

13,97

65,50

252,10

52,73

14,65

0,27

0,25

1,35

5,32

31,99

15,32

81,51

333,61

57,58

15,99

0,23

0,22

-0,15

-0,67

31,32

15,92

-10,71

322,90

57,05

15,85

0,20

0,19

1,30

6,85

38,17

16,50

112,96

435,86

61,72

17,15

0,18

0,16

1,74

10,88

49,05

18,01

196,00

631,86

67,97

18,88

0,14

0,12

1,74

14,08

63,13

19,75

278,11

909,97

74,22

20,62

0,10

0,09

-0,16

-1,78

61,35

20,54

-36,52

873,46

73,63

20,45

0,08

0,07

1,49

22,97

84,32

21,20

486,90

1360,36

79,01

21,95

0,05

0,05

2,22

46,11

130,43

23,06

1063,23

2423,59

87,01

24,17

0,05

0,00

2,22

463,68

594,11

25,28

11721,66

14145,24

95,01

26,39

-0,04

-0,02

-26,39

1362,53

1956,64

13,20

17979,03

32124,28

Рисунок 1.7 - Зависимость времени разгона от скорости автомобиля

Рисунок 1.8 - Зависимость пути разгона от скорости автомобиля

.5.2 Тормозная динамика автомобиля

.5.2.1 Построение тормозной диаграммы

Исходные данные:

Vа=25 м/с;

время реакции водителя tр=0,6..1,4 с, примем tр=0,8 с;

время срабатывания тормозного привода tпр=1…2 с, примем tпр=1 с;

время увеличения замедления tу=0,2..1,5 с, примем tу=0,4 с.

Скорость в начале экстренного торможения с jз max равна:


где jз max - величина максимального замедления.

jзmax = g ∙ φ = 9.81 ∙ 0.8 = 7,85 м/с2.

Время остановки автомобиля:


tост = 0,8 + 1 + 0,4+ 25 / 7,85 = 5,39 с.

Скорость по окончанию нарастания замедления:

V1 = 25 - (7,85 ∙ 0,4 / 2) = 23,43 м/с.

На рисунке 1.9 показан график изменения скорости и ускорения автомобиля в зависимости от времени.

Рисунок 1.9 - Изменение скорости и ускорения автомобиля в зависимости от времени

.5.2.2 Остановочный путь

Остановочный путь автомобиля рассчитывается по формуле:


Или

где кэ - коэффициент эффективности торможения, кэ=1,1..1,6, примем кэ=1,2.

So = (0,8 + 1 + 0,5 ∙ 0,4) ∙ 25 + 252 / (2 ∙ 7,85) ∙ 1,2 = 107,42 м.

.5.2.3 Тормозные характеристики автомобиля

Время торможения:


Расчёты сведены в таблицу 1.7. На рисунке 1.11 показан график изменения пути и времени торможения автомобиля в зависимости от скорости.

Таблица 1.7 - Результаты расчёта тормозных параметров

V, м/с

0,000

2,778

5,556

8,333

11,111

13,889

16,667

19,444

22,222

25,000

tтор, с

0,200

0,556

0,912

1,268

1,625

1,981

2,337

2,693

3,049

3,405

Sтор, м

0,000

1,545

5,068

10,570

18,050

27,509

38,946

52,362

67,756

85,128


Рисунок 1.11 - Изменение пути и времени торможения автомобиля в зависимости от скорости

1.6 Топливная экономичность автомобиля

Путевой расход топлива определяется по формуле:


где QS - расход топлива, л/100 км;

Nс - суммарная мощность сопротивления, кВт;

V - скорость автомобиля, км/ч;

ge - удельный расход топлива, г/кВтч;

χ=0,95 - коэффициент учитывающий потери на глушитель и вентилятор;

γ=0,74 кг/л плотность топлива;

ηт =0,87 - КПД трансмиссии.

Тогда путевой расход топлива будет равен:


где gN=(1,15...1,05)∙gemin, г/кВтч;

gemin=143 г/кВтч - минимальный удельный расход топлива для данного двигателя;

кu и коб определяем по графикам (рисунки 1.12 и 1.13), в зависимости от N и от ne/nN соответственно.

Результаты расчетов сведены в таблицу 1.8.

Рисунок 1.12 - Зависимость Коб от ne/nN

Рисунок 1.13 - Зависимость Кu от N

Таблица 1.8- Данные для построения топливной характеристики автомобиля

 n, мин-1

520

780

1040

1300

1560

1820

2080

2300

Va4, км/ч

31,00

39,00

47,00

55,00

63,00

71,00

79,01

87,01

Nк+Nв, кВт

32,69

43,36

55,56

69,62

85,83

104,52

126,00

150,59

Nт, кВт

90,92

117,73

144,18

169,40

192,50

212,59

228,81

240,27

N

0,36

0,37

0,39

0,41

0,45

0,49

0,55

0,63

ne/nN

0,33

0,41

0,49

0,58

0,66

0,75

0,83

0,92

Кu

1,45

1,43

1,25

1,24

1,19

1,15

1,00

0,98

Коб

1,03

1

0,96

0,95

0,95

0,95

0,95

0,99

ge, г/кВтч

224,25

214,71

180,61

177,45

169,03

163,33

142,64

145,68

Qs,л/100 км

33,58

33,90

30,32

31,89

32,70

34,14

32,30

35,80


Рисунок 17 -Скоростная характеристика удельного расхода топлива

Рисунок 18 -Топливная характеристика установившегося движения расчетного автомобиля на пятой передаче

2. Технологическая часть

2.1 Выбор и обоснование исходных данных

2.1.1 Характеристика объекта исследования

.1.1.1 Сведения о подвижном составе

Общее количество автомобилей АТП - 40 автомобилей;

расчётные автомобили:

КамАЗ-6520- 40 шт.

.1.1.2 Сведения об интенсивности эксплуатации АТС

Среднесуточный пробег (lСС):

КамАЗ-6520 - 175км.

.1.1.3 Режим работы производственных зон АТП

Рабочих дней - Д р.г. = 269; 2 выходных в неделю.

Продолжительность смены - Тсм = 8 ч.

.1.2 Условия эксплуатации транспортных средств

.1.2.1 Дорожные условия

КамАЗ-6520 - III КУЭ

.2.2 Климатические условия

Ярославская область.

Коэффициент технического состояния автомобиля:

КамАЗ-6520 - К4 = 0,7

2.1.3 Выбор и обоснование нормативов технической эксплуатации автомобилей

Нормативы технической эксплуатации автомобилей (ТЭА) занесены в таблицу 2.1.

Таблица 2.1 - Нормативы ТЭА ([7, табл. 3.7])

Подвижной состав

Норма пробега до КР, Lкр, тыс.км.

Нормативная трудоемкость.

Нормативная периодичность.



ЕО, tеон чел-ч.

ТО - 1, t1н чел-ч.

ТО - 2, t2н чел-ч.

ТР, tтрн чел-ч.

ТО - 1, L1н км

ТО - 2, L2н км

КамАЗ 6520

500

0,9

6,3

27,6

9,6

5500

16500


Нормативы необходимо привести к реальным условиям эксплуатации. Корректирование осуществляется с помощью коэффициентов коррекции:

К1 - коэффициент корректирования дорожных условий эксплуатации.

К2 - коэффициент типа и модификации подвижного состава

К3 - коэффициент природно-климатических условий

К4 - коэффициент технического состояния автомобиля

К5 - коэффициент учета размеров АТП.

Выбранные коэффициенты показаны в таблице 2.2.

Таблица 2.2 - Корректирующие коэффициенты ([7, табл. 2.1 - 2.4])

Подвижной состав.


Значение коэффициентов



Пробег до КР

Периодичность ТО

Трудоемкость ТО

Трудоемкость ТР

КамАЗ - 6520

К1

0,8

0,8

 -

1,2


К2

0,8

-

1,2

1,2


К3

1,0

1,0

-

1,0


К4св

-

-

-

0,7


К5

-

-

1,15

1,15


Корректирование нормативов ТЭА осуществляется по формулам:


где Lкр’ иLi’ - фактический пробег до i-го вида обслуживания (ТО-1, ТО-2) и КР.

Lкрн и Liн - номинальный пробег до i-го вида обслуживания (ТО-1, ТО-2) и КР.

Для автомобилей КамАЗ - 6520:

Lкр = 500000 ∙ 0,8 ∙ 0,8 ∙ 1,0 = 320000 км

L1 = 5500 ∙ 0,8 ∙ 1,2 = 5280 км

L2 = 16500 ∙ 0,8 ∙ 1,2 = 15840 км

Скорректированные со среднесуточным пробегом периодичность ТО и пробег до КР:


гдеlСС- среднесуточный пробег автомобиля, км1, n2, nкр- целое кратное число

Автомобили КамАЗ-6520:1= 5280/175 =31;

L1 = 175 ∙ 31 = 5425 км;2= 15840/5425 = 3;

L2 = 5425 ∙ 3 = 16275 км;кр = 320000 /16275 =20;

LКР = 16275 ∙ 20= 325500 км.

.2 Технологический расчет АТП

.2.1 Определение числа КР, ТО на 1 автомобиль за цикл эксплуатации

Определим число КР, ТО-1, ТО-2, ЕО за цикл эксплуатации на 1 автомобиль:


Для автомобилей КамАЗ-6520:

NКР = 1

N2 = 325500/16275 - 1 = 19

N1 = 316800/5425 - (19 + 1) = 39

NЕО = (316800/175) ∙0,2 = 362.

2.2 Расчет производственной программы для всего парка подвижного состава за цикл эксплуатации

Для этого расчета умножим число КР, ТО-2, ТО-1, ЕО за цикл эксплуатации на 1 автомобиль на списочное число автомобилей.


где АИ - списочное число автомобилей.

Для автомобилей КамАЗ - 6520:

N1.Г = 39 ∙ 40 = 1560;

N2.Г = 19 ∙ 40= 760;

NЕО.Г = 362∙ 40 =14480;

.2.1 Расчет производственной программы всего парка на год эксплуатации

Для данного расчета вводят коэффициент перехода от цикла к году, так как пробег автомобиля за год отличается от его пробега за цикл.


где ДРАБ.Г. - число дней работы предприятия в году;

αТ - коэффициент технической готовности парка;

αТ = ДЭ.Ц. / (ДЭ.Ц, + ДР.Ц.),

(2.19)



где ДЭ.Ц,- число дней нахождения автомобиля за цикл в технически исправном состоянии;

ДР.Ц. - число дней простоя автомобиля в ТО и ремонте за цикл.


где ДК - число дней простоя автомобиля в КР;

dТО и ТР - удельный простой в ТО и ТР в днях на 1000 км пробега;

ДК и dТО и ТР определяем из таблицы [1,табл. 2.6].

Определяем производственную программу всего парка на год эксплуатации.

Для автомобилей КамАЗ-6520:


где ДК’ - нормативное значение простоя автомобиля в КР, дней

ДТ- время транспортировки автомобиля до ремонтного завода (10%-20% от времени на КР), дней

Принимаем ДТ =20%

ДТ =20%;

ДК’=22 дней;

ДК =22+4=26 дней.

dТО И ТР = 0,53 дней/1000 км.

ДР.Ц = 26 + (0,53 ∙ 325500 ∙ 0,7)/1000 = 147 дня.

ДЭ.Ц = 325500/175 = 1860 дней.

αТ = 1860 / (1860 + 121) = 0,93.

LГ = 269 ∙ 175 ∙ 0,93 = 43780 км.

ηГ = 43780/325500 = 0,135.

Определяем годовое количество ТО и ЕО на 1 списочный автомобиль:


N2.Г. = 19 ∙ 0,135 = 3;

NЕО.Г. = 362 ∙ 0,135= 49.

Определяем годовое количество ТО и ЕО на весь парк.


∑N2.Г.= 19 ∙ 0,135 · 40 = 103;

∑NЕО.Г.= 362 ∙ 0,135· 40 = 1955.

.2.2 Определение числа диагностических воздействий на весь парк за год

Диагностирование Д-1 проводится после каждого ТО-1, ТО-2, и после некоторых ТР. Число Д-1 на весь парк за год:

Диагностирование Д-2 - перед каждым ТО-2 и в отдельных случаях при ТР. Число Д-2 на весь парк за год:


Для автомобилей КамАЗ - 6520:

∑NД1.Г = 1,1 ∙211+ 103= 336;

∑NД2.Г = 1,2 ∙ 103 = 124.

.2.3 Определение суточной программы по ТО и диагностированию автомобилей

По видам ТО (ЕО, ТО-1, ТО-2) и диагностированию (Д-1 и Д-2) суточная производственная программа:


где Ni - суточная программа по каждому ТО или диагностированию.

ДРАБ.Г - годовое число рабочих дней зоны.

ДРАБ.Г = 269 дней для ТО-1, ЕО, Д-1.

ДРАБ.Г = 269 дней для ТО-2, Д-2.

Для автомобилейКамАЗ-6520:

N2.С = 103/269 = 1

NЕО.С = 1955/269 = 8

NД-1.С = 336/269 = 2

NД-2.С = 124/269 = 1

2.2.4 Расчет годового объема работ

Выбор и корректирование нормативных трудоемкостей.

Расчетная нормативная скорректированная трудоемкость (ТО-1, ТО-2, ЕО) для подвижного состава проектируемого АТП:


где Км - коэффициент механизации. КМ = 0,65;

КЧМ - коэффициент частоты мойки КЧМ=0,2

Удельная нормативная скорректированная трудоемкость текущего ремонта:


Для автомобилей КамАЗ - 6520:

tЕО = 0,9∙ 1,2 ∙ 1,15 ∙ 0,55 ∙ 0,25= 0,171 чел-ч;

t1 = 6,3∙ 1,2 ∙ 1,15 = 8,694 чел-ч;

t2 = 27,6 ∙ 1,2 ∙ 1,15 = 38,088 чел-ч;

tТР = 9,6 ∙ 1,2 ∙ 1,2 ∙ 1,0 ∙ 0,7 ∙ 1,15 = 11,128 чел-ч.

Годовой объем работ по ТО и ТР.

Объем работ по ЕО, ТО-1, ТО-2 за год определяется произведением числа ТО на нормативное (скорректированное) значение трудоемкости данного вида ТО.


или при поточном методе проведения работ:


где ∆W - снижение трудоёмкости работ ТО данного вида при поточном методе обслуживания, % (принимать при расчётах ∆W = 10-20%).

Годовой объем работ по ТР:


Для автомобилей КамАЗ - 6520:

ТЕО.Г. = 1955 ∙ 0,171 = 334,3чел-ч;

Т1.Г. = 211 ∙ 8,694 =1921,4 чел-ч ;

Т2.Г. = 103 ∙ 38,088 =3408,1 чел-ч ;

ТТР.Г. = 43780 ∙ 40 ∙ 11,128 /1000 = 19487,4 чел-ч.

Годовой объем работ по самообслуживанию предприятия.


ТОБЩ = 1921,4 + 3408,1 + 19487,4 + 334,3= 25151,2 (чел-ч).

Работы по самообслуживанию являются вспомогательными, могут включать в себя перегон автомобилей, уборку производственных помещений, территории. Такие виды работ как правило составляют 20 - 30% от годового объема основных работ. Годовой объем вспомогательных работ (чел.-ч.) рассчитывается по формуле:

ТВСП = 0,25 ∙ 25151,2 = 6287,8 (чел-ч).

.2.5 Распределение трудоемкости по видам работ

Распределение осуществляется в соответствии с нормативно-технической документацией. Методика расчёта численности производственных рабочих приводится в пункте 2.2.8.

Распределение годовых объемов работ ЕО по видам выполняемых работ показано в таблице 2.3.

Таблица 2.3 - Распределение годовых объемов работ ЕО (суммируя ЕОС и ЕОТ) по видам выполняемых работ

№ п/п

Виды работ

Автомобили

Число рабочих, чел



КамАЗ-6520




%

Чел-ч


1

Моечные

5

16,715

0,009

2

Уборочные (включая сушку-обтирку)

7,5

25,073

0,014

3

Заправочные

7,5

25,073

0,014

4

Контрольно-диагностические

8

26,744

0,015

5

Ремонтные (устранение мелких неисправностей)

23

76,889

0,042

6

УборочныеЕОТ

20

66,86

0,036

7

Моечные ЕОТ (включая сушку-обтирку)

30

100,29

0,055

 

Всего

100

334,3

0,185


Распределение годовых объемов работ ТО-1 по видам выполняемых работ показано в таблице 2.4.

Таблица 2.4 - Распределение годовых объемов работ ТО-1 по видам выполняемых работ

№ п/п

Виды работ

Автомобили

Число рабочих, чел



КамАЗ-4308




%

Чел-ч


1

Диагностические

10

192,14

0,106

2

Крепежные

35

672,49

0,371

3

Регулировочные

10

192,14

0,106

4

Смазочные, заправочно-очистительные

25

480,35

0,264

5

Электротехнические

10

192,14

0,106

6

По обслуживанию системы питания

3

57,642

0,032

7

Шинные

7

134,498

0,074

 

Всего

100

1921,4

1,059


Распределение годовых объемов работ ТО-2 по видам выполняемых работ показано в таблице 2.5.Распределение годовых объемов работ ТР по видам выполняемых работ показано в таблице 2.6

Таблица 2.5 - Распределение годовых объемов работ ТО-2 по видам выполняемых работ

№ п/п

Виды работ

Автомобили

Число рабочих, чел



КамАЗ-6520




%

Чел-ч


1

Диагностические

10

340,81

0,185

2

Крепежные

35

1192,835

0,648

3

Регулировочные

15

511,215

0,278

4

Смазочные, заправочно-очистительные

15

511,215

0,278

5

Электротехнические

10

340,81

0,185

6

По обслуживанию системы питания

12

408,972

0,222

7

Шинные

3

102,243

0,007

 

Всего

100

3408,1

1,803


Таблица 2.6 -Распределение годовых объемов работ ТР по видам выполняемых работ

Виды работ

Автомобили

Число рабочих, чел


КамАЗ-6520



%

Чел-ч


Постовые: Общее диагностирование (Д-1)

1

194,847

0,106

Углублённое диагностирование (Д-2)

1

194,847

0,106

Регулировочные и разборочно-сборочные

35

6820,59

3,707

Сварочные

4

779,496

0,424

Жестяницкие

3

584,622

0,318

Малярные

6

1169,244

0,636

Итого

50

9743,7

5,297

Участковые работы:



 

Агрегатные

18

3507,732

1,906

Слесарно-механические

10

1948,74

1,059

Электротехнические

5

974,37

0,529

Аккумуляторные

2

389,748

0,212

Ремонт приборов системы питания

4

779,496

0,424

Шиномонтажные

1

194,847

0,106

Вулканизационные (ремонт камер)

1

194,847

0,106

Кузнечно-рессорные

3

584,622

0,318

Медницкие

2

389,748

0,212

Сварочные

1

194,847

0,106

Жестяницкие

1

194,847

0,106

Арматурные

1

194,847

0,106

Обойные

1

194,847

0,106

Итого

50

9743,7

5,297

Всего

100

19487,4

10,594


.2.6 Расчет численности производственных рабочих

Расчет производим исходя из годового фонда рабочего времени производственного рабочего.

Общесоюзные нормы технологического проектирования предприятий автомобильного транспорта ОНТП-01-91/РОСАВТОТРАНС устанавливают следующие нормы:

Для нормальных условий труда ФШ.Н.У. = 1820 ч.

Для вредных условий труда ФШ.В.У. = 1610 ч.

К вредным условиям относятся сварочно-жестяночные, малярные, аккумуляторные, вулканизационные, сварочные работы.

Произведём перерасчёт, в соответствии с количеством рабочих дней, актуальным в 2015 году.


где ФШ.Н.У. - номинальный годовой фонд времени штатного производственного рабочего при односменной работе.

ДРАБ.Г - количество рабочих дней в году;

ДОТП - количество основных отпускных дней в году-24;

β- коэффициент, учитывающий потери времени по уважительным причинам - 0,96.

По сокращенному (7часовому) дню работают участки(цеха):

. Аккумуляторный

. Медницкий

. Сварочный

. Кузнечно-рессорный

. Малярный

ФШ.Н.У. =(269-24) ·8·0,96=1811,6 ч.;

ФШ.В.У.=(269-24) ·7·0,96=1616,4 ч..

Число рабочих на постах рассчитывается:


Расчет численности рабочих по участкам и постам для ЕО, ТО-2, ТР представлен в таблицах: таблица 2.3, таблица 2.4, таблица 2.5 и таблице 2.6 соответственно.

Суммарное количество рабочих по участкам и постам для ЕО - 1 человек, ТО-1 -2человек, ТО-2 - 2 человек, количество рабочих на постах ТР - 11 человек.

С учётом рассчитанной трудоёмкости, рабочего с зоны ЕО целесообразно подключать также для работ ТО-2.

Суммарное число производственных рабочих:


N = 2+2+11+1 = 16 чел.

.3 Расчет числа постов и линий для зон технического обслуживания, текущего ремонта, диагностирования

Для выполнения основных элементов или отдельных операций технологического процесса ТО или ТР организуются рабочие посты оснащённые необходимым оборудованием, приспособлениями и инструментами. На одном посту может быть одно или несколько рабочих мест, т.е. участков (зон), обслуживаемых рабочим (рабочими) данного поста.

.3.1 Расчет числа универсальных постов обслуживания

Расчет числа постов обслуживания. Число таких постов для зон ТО-1 и ТО-2 определяется соответственно из выражений:

П1 = Рт.1/ (Рср * С),  (2.45)

П2 = Рт.2/(Рср * С *ηП), (2.46)

где Рт.1 ,Рт.2 - соответственно технологически необходимое число рабочих для зон ТО - 1 и ТО - 2;

Рср - принятое среднее число рабочих на одном посту ([2], стр. 21),

(Рср1 = 2 чел., Рср2 =2 чел.);

С- число смен работы соответствующей зоны ТО, (С=1);

ηП= 0,85 - 0,95 - коэффициент использования рабочего времени поста, учитывающий возможное увеличение времени простоя автомобиля при выполнении сопутствующего ТР

П1= 2/ (2 * 1) =1 .

П2 = 2/ (2* 1*0,95) = 1,05.

Из расчетов следует, что необходим 1 пост ТО-1 и пост ТО-2

2.3.2 Расчет числа постов зоны текущего ремонта

Общее число постов в зоне ТР

XТР = (ТТР ∙ φ) / (ДРАБ.Г. ∙ С∙ ТСМ ∙ ηп∙ РП),          (2.47)

где ТТР- годовой объем работ, выполняемых на постах ТР;

φ - коэффициент неравномерности поступления в зону ТР;

η - коэффициент использования рабочего времени поста;

РП - число рабочих на посту.

С = 1; ТСМ = 8 ч.; φ = 1,5; ηп = 0,9; РП = 2 чел.; ДРАБ.Г.= 269.

Число постов ТР для автомобилей КамАЗ-6520:

XТР = (19487,4∙ 1,5)/(269∙1∙ 8 ∙ 0,9 ∙ 2) ≈6.

.3 Расчет числа постов для диагностирования

Диагностирование технического состояния автомобиля будет производиться на постах ТО и ТР совместно с текущими работами

.4 Расчет числа постов ожидания

При расчете числа постов ожидания (ХОЖ) исходят из следующих соотношений: по одному посту на каждую поточную линию ТО или 20 % от числа соответствующих отдельных постов ТО, ТР и диагностирования. Для проектируемого АТП:

ХОЖ = 0,2 ∙ ХТОТР (2.48)

ХОЖ = 0,2 ∙ 2 + 7 = 2,8.

Принимаем ХОЖ =3 .

.3.5 Расчет числа постов контрольно-пропускного пункта

Количество вспомогательных постов контрольно-пропускного пункта(ХКПП) определяется по формуле

ХКПП = (АСП ∙ αт ∙ kпик) / Ач ∙ Тв, (2.49)

Где АСП-списочное количество подвижного состава, ед.;

αт- коэффициент технической готовности подвижного состава; пик-коэффициент «пикового» возврата подвижного состава (kпик = 0,70);

Ач-часовая пропускная способность одного поста [2, табл. 2.14];

Тв-продолжительность возвращения, подвижного состава в предприятие [1, табл. 3.4].

ХКПП = (40 ∙ 0,93 ∙ 0,70) / 40 ∙ 1,5 = 0,55.

Принимаем ХКПП = 1.


.4.1 Распределение трудоемкости работ и рабочих по постам зон технического обслуживания и ремонта

Данные распределения рабочих в укрупненном плане по специальностям (видам работ) и трудоемкости работ по постам (специализированным звеньям) сводим в таблицы 2.7, 2.8 и 2.9.

Таблица 2.7.1 - Пост №1(ЕО)- уборочные работы ЕО без механизации

Вид работ по ЕО

Трудоемкость

Число рабочих


%

чел.-час

расчетное

принятое

Ремонтные (устранение мелких неисправностей)

23

76,889

0,042

1

УборочныеЕОТ

20

66,86

0,036


Контрольно-диагностические

8

26,744

0,015


Всего

51

170,493


1


Таблица 2.7.2 - Пост №2 (ЕО) -механизированная мойка

Вид работ по ЕО

Трудоемкость

Число рабочих


%

чел.-час

расчетное

принятое

Моечные ЕОТ (включая сушку-обтирку)

30

100,29

0,055

1

Всего

30

100,29

0,055

1


Таблица 2.7.3 - Пост №3 (ЕО) - сушка и дозаправка

Вид работ по ЕО

Трудоемкость

Число рабочих


%

чел.-час

расчетное

принятое

Заправочные

7,5

25,073

0,014

1

Уборочные (включая сушку-обтирку)

7,5

25,073

0,014


Моечные

5

16,715

0,009


Всего

20

61,861

0,037

1


Посты будут работать в прямоточном режиме работы.

Таблица 2.8.1 - Пост №1 (ТО-1):

Вид работ по ТО-1

Трудоемкость

Число рабочих


%

чел.-час

расчетное

принятое

Диагностические

10

192,14

0,106

2

Крепежне

35

672,49

0,371


Регулировочные

10

192,14

0,106


Смазочно-заправочные

25

480,35

0,264


Электротехнические

10

192,14

0,106


Обслуживание системы питания

3

57,642

0,032


Шинные

7

134,498

0,074


Всего

100

1921,4

1,059

2


Таблица 2.8.2 - Пост №2 (ТО-2):

Вид работ по ТО-2

Трудоемкость

Число рабочих


%

чел.-час

расчетное

принятое

Диагностические

10

340,81

0,185

2

Крепежне

35

1192,835

0,648


Регулировочные

15

511,215

0,278


Смазочно-заправочные

15

511,215

0,278


Электротехнические

10

340,81

0,185


Обслуживание системы питания

12

408,972

0,222


Шинные

3

102,243

0,007


Всего

100

3408,1

1,803

2


Таблица 2.9.1 - Пост №1, 2 (ТР) - разборочно-сборочные и регулировочных работы; пост № 3 (ТР) - специализированный пост по замене агрегатов

Вид работ по ТР

Трудоемкость

Число рабочих


%

чел.-час

расчетное

принятое

Регулировочные и разборочно-сборочные

35

6820,59

3,707

4

Всего

35

6820,59

3,707

4


Таблица 2.9.2 - Пост №4 (ТР) - сварочно-жестяницкие работы

Вид работ по ТР

Трудоемкость

Число рабочих


%

чел.-час

расчетное

принятое

Сварочные

1

194,847

0,106

1

Жестяницкие

1

194,847

0,106


Всего

2

389,694

0,212

1


Таблица 2.9.3 - Пост №5 (ТР) - Шиномонтажные работы

Вид работ по ТР

Трудоемкость

Число рабочих


%

чел.-час

расчетное

принятое

Малярные

1

194,847

0,106

1

Всего

1

194,847

0,106

1


Таблица 2.9.4 - Пост №6 (ТР) - универсальный пост

Вид работ по ТР

Трудоемкость

Число рабочих


%

чел.-час

расчетное

принятое

Общее диагностирование (Д-1)

1

194,847

0,106

6

Углублённое диагностирование (Д-2)

1

194,847

0,106


Регулировочные и Разборочно-сборочные

35

6820,59

3,707


Сварочные

4

779,496

0,424


Жестяницкие

3

584,622

0,318


Малярные

6

1169,244

0,636


Всего

50

9743,7

5,297

6


.4.2 Распределение рабочих по специальности, квалификации и рабочим местам зон технического обслуживания и ремонта

Произведя укрупненное распределение рабочих и трудоемкости работ по постам (звеньям) соответствующей зоны ТО, необходимо распределить рабочих по специальности, квалификации и рабочим местам для одного из постов зоны ТО (ЕО, ТО -1, ТО - 2).

Поскольку численность рабочих зоны ТО-1 и ТО-2 относительно мала (2 человека), а распределение рабочих происходит в зависимости от загруженности линии, целесообразным будет назначение универсальных специалистов высокой квалификации:

автомеханик VI разряда;

автоэлектрик-аккумуляторщик V разряда.

Для зоны ТР (11 производственных рабочих):

автомеханик VI разряда;

маляр- подготовщик (автомобильный);

автоэлектрик- аккумуляторщикV разряда;

автослесарь- шиномонтажник III разряда;

слесарь-авторемонтник II разряда;

слесарь-авторемонтник III разряда;

автослесарь- жестянщик IVразряда;

слесарь-авторемонтник IV разряда.

.4.3 Расчет площадей помещений

Расчет площадей зон ТО и ТР.

Площади АТП по своему функциональному назначению подразделяются на три основные группы:

производственно-складские;

хранения подвижного состава (стоянки);

вспомогательные (административные и бытовые).

Ориентировочно площадь, зоны ТО и ТР определяется по формуле:

FЗ = fА ∙ XЗ ∙ КП, (2.50)

где fА - площадь, занимаемая автомобилем в плане (по габаритным размерам);

fА = 19,5 м2 .

XЗ - число постов;

КП - коэффициент плотности расстановки постов (КП = 6-7 при односторонней расстановке постов);

Для ЕО:

FЗЕО= 19,5 ∙ 1 ∙ 6 = 117 м2

Для ТО и ТР:

FЗТО и ТР= 19,5 ∙ 8 ∙ 7 = 1092 м2


Не нашли материал для своей работы?
Поможем написать уникальную работу Без плагиата!