Материал: Расчет регенеративных подогревателей

Внимание! Если размещение файла нарушает Ваши авторские права, то обязательно сообщите нам

Расчет регенеративных подогревателей

Введение

тепловой труба напор

В современной стационарной теплоэнергетике используются вертикальные и горизонтальные подогреватели сетевой воды. Назначение регенеративных подогревателей питательной воды низкого давления и подогревателей сетевой воды - использование в качестве греющей среды пара промежуточных отборов турбин для снижения потерь теплоты в конденсаторах и повышения термического КПД тепловых электрических станций и ТЭЦ.

1. Подогреватели сетевой воды горизонтальные (ПСГ)

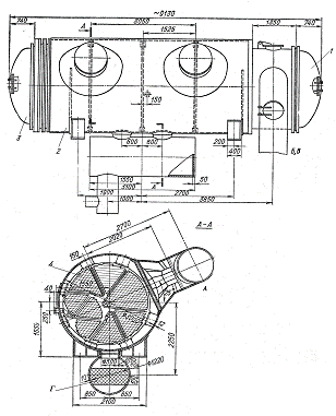
На рисунке 1 представлен подогреватель сетевой воды горизонтального типа ПСГ-2300-3-8-ІІ, т.е. этот тип подогревателя имеет площадь поверхности теплообмена 2300 м2, давление пара в паровом пространстве составляет 3 кгс/см2 (максимальное), а воды в трубах - 8 кгс/см2.

Подогреватель имеет горизонтальный цилиндрический корпус 2, с двумя пат-рубками А для подвода пара. По торцам корпуса расположены две водяные камеры 1 и 3, отделённые от корпуса трубными досками. В трубных досках вальцовкой закрепляются латунные трубы 4 диаметром 24×1 мм. Возможно использование труб из нержавеющей стали с теми же размерами. Для компенсации разности температурных удлинений труб и корпуса на последнем вблизи трубной доски у поворотной водяной камеры имеется линзовый двухволновой компенсатор.

Сетевая вода может совершать в ПСГ двух- или четырёхходовое движение. В зависимости от этого задняя водяная поворотнаякамера 3 не имеет или имеет одну перегородку, а передняя камера 1 имеет одну или две перегородки.

Важнейшим вопросом является эффективная организация движения теплоносителей в аппарате. Для равномерного распределения пара по поверхности теплообмена внутри обоих патрубков имеются концентрические рассекатели, а внутри пучка - специальные проходы для пара.


Рисунок 1. Подогреватель сетевой воды горизонтального типа ПСГ-2300-3-8-II (А - подвод пара, Б, В-подвод и отвод воды, Г - отвод конденсата)

Условие. Сетевая вода при давлении P2 с расходом G2и скоростью ω подаётся в горизонтальный сетевой подогреватель (ПСГ) с температурой  и, совершив по латунным трубам (латунь Л68, , диаметр 24x1 мм) m ходов, выходит из аппарата с температурой . Греющей средой является насыщенный пар с давлением P1и температурой (tн), который проходит в межтрубном пространстве и конденсируется на наружной поверхности труб.

делить площадь поверхности теплообмена подогревателя, количество и длину труб, диаметр корпуса аппарата. Теплопотери с наружной поверхности подогревателя Qппринять равными 1% теплоты, отдаваемой паром Q1.

Дополнительное задание

Определить, как изменятся площадь поверхности Fтеплообмена и длина труб , если при неизменных расходе воды, количестве труб и других данных вода будет совершать только один ход.

Таблица 1 - Начальные данные

Вариант

Греющая среда - пар

Нагреваемая среда - сетевая вода

ДЗ

  , МПа, °С,

МПа,

кг/сω,

м/с,

°С,

°Сm









 

11

0,25

300

0,8

1666

2

95

122

4

1



2. Тепловой расчет горизонтального подогревателя сетевой воды

В основе теплового конструктивного расчёта рекуперативных теплообменных аппаратов лежат 2 уравнения - уравнение теплового баланса и уравнение теплопередачи.

Уравнение теплового баланса в общем виде

Q1 = Q2+ Qп,

где Q1 - теплота, отдаваемая горячим теплоносителем;

Q2 - теплота, воспри-нимаемая холодным теплоносителем;

Qп - теплопотери на наружной поверхности теплообменного аппарата.

В поверхностных рекуперативных теплообменных аппаратах ТЭС греющая среда (пар) движется в межтрубном пространстве, а нагреваемая вода - внутри труб кожухотрубного аппарата. В этом случае уравнение теплового баланса может быть записано в виде 

Q1 = Q2/h,

гдеh - коэффициент, учитывающий тепловые потери на наружной поверхности аппарата. При этом расчётной величиной для определения площади поверхности теплообмена является тепловой поток, передаваемый через стенку от пара к воде Q2.

Уравнение теплопередачи

Q = kDtF,

где k - коэффициент теплопередачи;

Dt - средний температурный напор;

F - площадь поверхности теплообмена.

Целью теплового конструктивного расчёта является определение площади поверхности теплообмена из уравнения теплопередачи

F = Q/(kDt),

т.е. расчёт сводится к определению величин в правой части уравнения.

.1 Определение мощности теплового потока

Уравнение теплового баланса для пароводяного теплообменного аппарата может быть записано в следующем виде

D1(h’1 - h»1)h = G2(h»2 - h’2)2 = G2 cp2 (t» 2 - t’2)

Средняя температураt = (122 +95)/2 = 108,50C

cp2 =         4,232кДж/кг · К

Q2 = 666 · 4,232 (122 - 95 = 190363,8кВт

Q1 = Q/h= 190363/0,99 = 192286,7кВт1 = [G2 cp2 (t» 2 - t’2)/(h’1 - h»1)h

D1  = [1666 · 4,232 (122 - 95)] / [(3070,8 - 535,35) 0,99] = 75,8 кг/с

где D1, h’1, h»1и G2, h’2, h»2 - соответственно массовые расходы, энтальпии на входе и на выходе из аппарата пара и воды.

2.2 Средний температурный напор

Для пароводяных сетевых теплообменных аппаратов греющей средой является насыщенный водяной пар, который конденсируется на поверхности труб. Температура насыщения tн при этом постоянна, поэтому независимо от схемы движения теплоносителей средний температурный напор рассчитывается по формуле:

tн= 127,410С

.

Δt = (122 - 95) / ln = 15,08 0С

2.3 Теплоотдача при вынужденном течении жидкости внутри труб

Расчет теплоотдачи начинается с определения числа Рейнольдса:


tcр= (122 + 95)/2 = 108,5 0С

ρ = 952,2 кг/м3

ср = 4,232 кДж/кг ·к

λ = 68,5 ·10-2 Вт/м ·К

μ = 263,0 · 10-6 Па · с

 = 0,274 · 10-6 м2

Pr = 1,62

Re1 = 2 · 0,022/ 0,274 · 10-6 =160583




Nu = 0,023 · 1605830,8·1,620,43 = 413,4

α2 = Nu·λ/d = 413,4 · 0,685/0,022 = 12871 Вт/м2 · К

.4 Определение количества труб в пучке

Этот расчет предшествует окончательному определению интенсивности теплоотдачи при конденсации, коэффициента теплопередачи, плотности теплового потока, площади поверхности теплообмена и длины труб.

Количество труб в одном ходе воды определяется из уравнения неразрывности потокакак

,

где m - число ходов воды; ρ - плотность воды при средней температуре.

N = 4G/= 4 · 1666/ 2 ·952,2 · 3,14 ·0,0222 = 2302,5

В одном ходе 2303 трубок

N= 4 · 2303 = 9212

Число рядов

n = /2 = /2 = 48


H = 48· 0,022 = 1,056

.5 Графоаналитический метод расчета

Применение этого метода обусловлено тем, что температура наружной поверхности tс1 неизвестна, что затрудняет определение плотности теплового потока.

Из условия стационарности теплообмена плотность теплового потока при отнесении к площади наружной поверхности выражается равенствами

,

где

- средняя температура воды

.

При этом средний температурный напор

.

Поскольку в уравнении все величины известны, кроме температурных напоров и , то уравнение можно представить в виде:

,

где b1, b2, b3 - константы.

; ;

λ = 0,685 Вт/м ·К

v = 0,238 · 10-6

ρ’ = 1,4 кг/м3

ρ’’= 936,8 кг/м3

Из уравнения; ;

b1 = 0,943 [0,6853·9,81 · 2181150 · (936,8 - 1,4) / 0,238 · 10-6·1,056)0,25 = 1,2648 · 104

b2 = 2 · 105/[0,024 ·ln (0,024/0,022)] = 100574

α2 = Nuλ /d1 = 413,4· 0,685/ 0,022 = 12871 Вт/м2 · К

b3 = 12871·0,022/0,024 = 11798

Таблица 2 - Зависимость температурных напоров от плотности теплового потока

Dt, oC

q, кВт м2


40

50

60

70

t1

4,64

6,25

7,97

9,79

0,390,490,60,69





3,394,235,085,93





8,4210,9613,6516,41








Приq = 40кВт/м2

Δt1 = (q/b1)4/3 = (40000/12648)4/3 = 4,64 oC

Δtст= q/b2 = 40000/100574 = 0,39 oC

Δt2 = q/b3 = 40000/11798 = 3,39 oC

Приq = 50кВт/м2

Δt1 = (q/b1)4/3 = (50000/12648)4/3 = 6,25 oC

Δtст= q/b2 = 50000/100574 = 0,49 oC

Δt2 = q/b3 = 50000/11798 = 4,23 oC

Δt1 = (q/b1)4/3 = (60000/12648)4/3 = 7,97 oC

Δtст= q/b2 = 60000/100574 = 0,6 oC


Приq = 60кВт/м2

Δt1 = (q/b1)4/3 = (70000/12648)4/3 = 9,79 oC

Δtст= q/b2 = 70000/100574 = 0,69 oC

Δt2 = q/b3 = 70000/11798 = 5,93 oC


Рисунок 2. Графоаналитическое определение плотности теплового потока

Задавая плотность потока с определенным шагом, получают ряд значений температурных напоров Δt1, Δt2, Δt3и суммарный температурный напор в соответствии с уравнением. Полученные расчетные данные заносят в таблицу 2, затем строят график зависимости  (рисунок 2).Проектируя на кривую зависимости суммарного напора от плотности потока ранее рассчитанное значение среднего температурного напора, получают искомое значение плотности теплового потока.

q = 66кВт/ м2 · К

F1 = Q/q = 190363,8/66,5 = 2862,6м2

Далее определяют значения частных температурных напоров , , и температуры поверхностей труб  и .

Приq = 66,5кВт/м2

Δt1 = (q/b1)4/3 = (66500/12648)4/3 = 9,14 0С

Δtст= q/b2 = 66500/100574 = 0,66 0С       

Δt2 = q/b3 = 66500/11798 = 5,63 0С

1= 127,41 - 9,14 = 118,270С

2 = 108,5 + 5,63 = 114,130С

Затем определяют коэффициент теплопередачи по выражению

,

k = 66500/15,08 = 4409Вт/м2 · К

2.6 Конструктивный расчёт

Длина труб определяется через рассчитанную площадь поверхности теплообмена. Длина аппарата определяется в соответствии с принятыми соотношениями основных конструктивных элементов: длины корпуса, водяных камер и т.д. Внутренний диаметр кожуха многоходового теплообменника может быть определён по формуле


где fп - площадь поперечного сечения пучка; может быть определена как сумма площадей поперечных сечений труб и межтрубного пространства по формуле



s = 1,3· 0,024 = 0,0312 м

fп= 9212· 3,14 ·· 1,017 = 7,15 м2

Dв = 1,1 = 3,3 м

Здесь s - межцентровое расстояние между трубами, при развальцовке s= (1,3…1,6) dн [7]; коэффициент , учитывающий площади криволинейных треугольников между тремя смежными кругами, можно принять равным 1,017.

L1 = F1/πd2N = 2862,6/3,14 · 0,024 ·9212 = 4,12 м

Сторона квадратного сечения

b =  =  = 2,67 м

Площадь боковой грани пучка

S = b·l = 2,67· 4,12 = 11,0м2

Скорость набегающего потока

w0 = G1 / ρ’ · S = 75,8/ 1,4 · 11,0 = 4,92 м/c

· ρ’ = 4,922 · 1,4 = 33,88 > 1

Средняя температура на последнем ходе составит:

 = [122 + 0,5 (122 +95)]/2 = 115,250C

Температура поверхности стенки определяется как:

tс1= (+ tн)/2 = (115,25 + 127,41)/2 = 124,375 0C

а температура конденсата:

tн1= ( + tн)/2 = (124,375 + 127,41)/2 = 125,90C

При этой температуре

λ = 68,6 ·10-2 Вт/м ·к

 = 0,244 · 10-6 м2

Pr = 1,41

r = 2118,043кДж/кг

ρ = 939,6 кг/м3

 

2.7 Конденсация на горизонтальных трубах и пучках труб

Коэффициент теплоотдачи при конденсации неподвижного пара на поверхности горизонтальной трубы или пучка труб.


где l0 - определяющий размер - наружный диаметр dн (d2) для одиночной трубы.

α = 0,725 · [0,6863· 9,81 · 2118043 (939,6 - 1,4)/ 0,244 · 10-6(127,41 - 124,375) ·0,024]0,25 = 17685Вт/м2 · К

Коэффициент теплоотдачи для первого ряда пучка, омываемого сверху вниз насыщенным паром, может быть рассчитан по формуле:



α1 = 25,7·17685 (1,4·4,922/ 9,81 · 939,6· 0,024)0,08 (17685·0,024/0,686)-0,5 = 15725Вт/м2 · К

где αн - коэффициент теплоотдачи для первого ряда пучка при конденсации неподвижного пара; все физические характеристики конденсата и пара берутся при температуре насыщения. Для всего пучка средний коэффициент теплоотдачи  можно определить по формуле

,

где x - степень сухости;

(1-x) - степень конденсации пара;

n - число рядов в пучке.

Если пар полностью конденсируется при прохождении через пучок, то степень сухости на выходе x= 0, и уравнение примет вид:

αп= 0,84 · α1 / n0,07 = 0,84 · 15725/ 480,07 = 10073Вт/м2 · К

.8 Второе приближение


k = 1/[0,024 (1/(12871· 0,024) + ln (0,024/0,022)/2 · 105 + 1/(10073 · 0,022))] = 5116Вт/м2 · К

Определим плотность теплового потока для 2-го приближения

q= kΔt = 5116 · 15,08 = 77149Вт/м2


F= Q/q = 190363800/77149 = 2467,48м2

Расчёт длины трубопровода для 2-го приближения

L = F/πd2N = 2467,48/3,14 · 0,024 ·9212 = 3,55 м

Δ = (L2 - L1)/ L1 = (4,12 - 3,55)/4,12 = 0,138 = 13,8%

2.9 Третье приближение

Сторона квадратного сечения

b =  =  = 1,614 м

Площадь боковой грани пучка

S = b·l = 1,614· 1,086 = 1,752м2

Скорость набегающего потока

w0 = G1 / ρ’ ·S = 24,5/ 1,66 · 1,752 = 8,42 м/c

·ρ’ = 8,422 · 1,66 = 117,68 > 1

Средняя температура на последнем ходе составит:

 = [95 + 0,5 (95 +70)]/2 = 88,750C

Температура поверхности стенки определяется как:

tс1= (+ tн)/2 = (88,75 + 133,5)/2 = 111,125 0C

а температура конденсата:

tн1= ( + tн)/2 = (111,125 + 133,5)/2 = 122,30C

При температуре 111,1250С

λ = 68,4 ·10-2 Вт/м ·к

 = 0,227 · 10-6 м2

Pr = 1,41

r = 2226,646кДж/кг

ρ = 941,17 кг/м3

Конденсация на горизонтальных трубах и пучках труб

Коэффициент теплоотдачи при конденсации неподвижного пара на поверхности горизонтальной трубы или пучка труб.


где l0 - определяющий размер - наружный диаметр dн (d2) для одиночной трубы.

α = 0,725 · [0,6843· 9,81 · 2226646 (941,17 - 1,66)/ 0,227 · 10-6(133,5 - 88,75) ·0,024]0,25 = 9288Вт/м2 · К

Коэффициент теплоотдачи для первого ряда пучка, омываемого сверху вниз насыщенным паром, может быть рассчитан по формуле:




α1 = 25,7·9288 (1,66·8,422/ 9,81 · 947,17· 0,024)0,08 (9288·0,024/0,684)-0,5 = 15725Вт/м2 · К

Для всего пучка средний коэффициент теплоотдачи  можно определить по формуле

,

где x - степень сухости;

(1-x) - степень конденсации пара;

n - число рядов в пучке.

Если пар полностью конденсируется при прохождении через пучок, то степень сухости на выходе x= 0, и уравнение примет вид:

αп= 0,84 · α1 / n0,07 = 0,84 · 15725/ 480,07 = 10073Вт/м2 · К


k = 1/[0,024 (1/(8036· 0,024) + ln (0,024/0,022)/2 · 105 + 1/(10708 · 0,022))] = 4234 Вт/м2 · К

Определим плотность теплового потока для 3-го приближения

q= kΔt = 4234 · 50 = 211700 Вт/м2

Далее рассчитывается площадь поверхности теплообмена для 3-го приближения:

F= Q/q = 58352200/211700 = 275,63м2

Расчёт длины трубопровода для 3-го приближения

L = F/πd2N = 275,63/3,14 · 0,024 ·3352 = 1,09 м

Δ = (L2 - L1)/ L1 = (1,09 - 1,086)/1,086 = 0,0037= 0,37%

Таблица 3 - Результаты теплового расчета ПСГ

,

,

МВт,

,

2,

°CF,

м2N,

мDв,

м










58,2522

58941,6

12563

8036

10708

50

275,63

3352

1,09

2

3. Определить, как изменятся F и, если на внутренней поверхности труб появится слой накипи толщиной 0,15 мм с теплопроводностью н = 0,8 Вт/(м.К).

Уже известно

Q2 = 58352,2кВт

Δt= 50 0С

a1 = 8036 Вт/м2 · К

a2= 10708 Вт/м2 · К

dн = d1 - 2δ = 22 - 2 · 0,15 = 21,7 мм = 0,0217 м

k =  = = 2267Вт/м2·К

F = Q/ Δtk = 58352200/50·2267 = 514,79м2

L= F1/πd2N = 514,79/3,14 · 0,024 · 3352 = 2,038 м2/F1 = 514,79/275,63 = 1,867 L2/L1 = 2,038/1,086 = 1,867

Вывод: если на внутренней поверхности труб появится слой накипи толщиной 0,15 мм, то уменьшится коэффициент теплоотдачи, а площадь поверхности теплообмена F и высота труб Н увеличатся в 1,977 раз.

Заключение

В данной курсовой работе рассчитаны параметры горизонтального подогревателя сетевой воды:

Мощность подогревателя.

Количество трубок внутри подогревателя.

Площадь поверхности трубок.

Длина трубок.

Внутренний диаметр кожуха многоходового теплообменника.

Температурный напор.

Коэффициенты теплоотдачи и теплопередачи.

Плотность теплового потока.

По результатам дополнительного задания сделанного в курсовой работе можно сделать следующий вывод:

Даже малый слой накипи, образующийся на внутренних стенках трубы, во много раз ухудшает её теплопроводные свойства.

Список использованных источников

1. Авчухов В.В., Паюсте Б.Я. Задачник по процессам тепломассообмена/ В.В. Авчухов, Б.Я. Паюсте. - М.: Энергоатомиздат, 1986. - 144 с.

. Александров А.А., Григорьев Б.А. Таблицы теплофизических свойств воды и водяного пара: справочник/ А.А. Александров, Б.А. Григорьев. - М.: Издательство МЭИ, 1999. - 168 с.

. Домрачев Б.П., Корнеев В.В. Тепловой конструктивный расчёт подогревателя питательной воды высокого давления: метод. указания по выполнению курсовой работы/ Б.П. Домрачев, В.В Корнеев. - Иркутск: Изд-во ИрГТУ, 1997. - 32 с.

. Исаченко В.П. [и др.]. Теплопередача/ В.П. Исаченко [и др.]. - М.: Энергоиздат, 1981. - 416 с.

. Краснощёков Е.А., Сукомел А.С. Задачник по теплопередаче/ Е.А. Красно-щёков, А.С. Сукомел. - М.: Энергия, 1980. - 288 с.

. Назмеев Ю.Г., Лавыгин В.М. Теплообменные аппараты тепловых электрических станций/ Ю.Г. Назмеев, В.М. Лавыгин. - М.: Энергоатомиздат, 1998. - 285 с.

. Промышленная энергетика и теплотехника: cправочник/ под ред. Б.А. Григорьева и В.М. Зорина. - М.: Энергоатомиздат, 1983. - 552 с.

. Рыжкин В.Я. Тепловые электрические станции/ В.Я. Рыжкин - М.: Энергоатомиздат, 1987. - 328 с.

. Тепловые и атомные электрические станции: cправочник/ под ред. В.А. Григорьева и В.М. Зорина. - М.: Энергоиздат, 1982. - 624 с.

. Тепло- и массообмен. Теплотехнический эксперимент: cправочник/под ред. В.А. Григорьева и В.М. Зорина. - М.:Энергоиздат, 1982. - 552 с.


Не нашли материал для своей работы?
Поможем написать уникальную работу Без плагиата!