Министерство образования и науки Российской Федерации
ГОУ ВПО ЮУрГУ
Архитектурно-строительный факультет
Кафедра
«Строительные конструкции и инженерные сооружения»
Семестровая работа
по дисциплине «Основания и фундаменты»
на тему
«Расчет
основания фундаментов мелкого заложения и свайного фундамента»
Челябинск 2014г.
АННОТАЦИЯ
«Расчет основания фундаментов мелкого заложения и свайного фундамента». - Челябинск: ЮУрГУ, 2014. страниц - 31 и 14 иллюстраций.
В данной семестровой работе по дисциплине
«Основания и фундаменты» выполнен расчет основания фундаментов мелкого
заложения и свайного фундамента.
ВВЕДЕНИЕ
Фундаменты являются опорной частью здания и предназначены для передачи нагрузки от всех вышерасположенных конструкций на основание. От надежной работы фундамента в большой степени зависят эксплуатационные качества здания, его капитальность и долговечность.
В последние годы под строительство все чаще отводятся площадки со сложными для строительства инженерно-геологическими условиями. В то же время вследствие увеличения пролетов в промышленном строительстве резко возрастают нагрузки на фундаменты. Эти обстоятельства повышают ответственность проектировщиков при выборе и расчете фундаментов.
Поэтому цель данного курсового проекта: закрепление
теоретических знаний по дисциплине «Механика грунтов. Основания и фундаменты» и
их практическое применение.
Исходные данные
Рис 1. Схема грунтовых условий
Рис.2. Тип здания
1. Анализ грунтовых
условий
Нам предоставлен образец грунтов залегающих под предполагаемым местом строительства. Для получения представления о пригодности тех или иных слоев грунта к строительству и восприятию нагрузки необходимо классифицировать их. На схеме 1 представлен разрез основания.
) ИГЭ 1-почвенно растительный слой мощностью 1500мм.
) ИГЭ 2- глинистый грунт мощностью 2500мм.
ρs=2.73т/м3; ρ=1.75т/м3; W=0.3; Wp=0.17; WL=0.37; Kф=30; Е=20мПа; ν=0.42; φ=19град; с=71кПа.
Наименование
Jp= WL-
Wp Jp=0.37-0.17=0.2
Согласно ГОСТ 25100-95 "Грунты. Классификация" данный глинистый грунт относится к глинам, так как Jp>0.17
Консистенция
![]()
JL=(0.3-0.17)/0.2=0.65
.5<JL<0.75-глина мягкопластичная
Влажность, коэффициент пористости,
поведение при замачивании
![]()
![]()
![]()
ρd=1.75/(1+0.3)=1.346т/м3
e=(2.73-1.346)/1.346=1.028
Sr=(0.3*2.73)/(1.028*1)=0.797
Таким образом, можно сделать вывод: согласно ГОСТ 25100-95 "Грунты. Классификация, данный грунт обладает рыхлым скелетом( 2.1< ρd< 1.2) , и является влажным. Данный грунт не является хорошим основанием.
) ИГЭ 3- глинистый грунт мощностью 3500мм.
ρs=2.7т/м3; ρ=1.7т/м3; W=0.2; Wp=0.13; WL=0.27; Kф=40; Е=20мПа; ν=0.35; φ=23град; с=35кПа.
Наименование
Jp= WL- Wp Jp=0.27-0.13=0.14
Согласно ГОСТ 25100-95 "Грунты. Классификация" данный глинистый грунт относится к суглинкам, так как 0,17>Jp>0.07
Консистенция
![]()
JL=(0.2-0.13)/0.14=0.5
.5<JL<0.75-глина мягкопластичная
Влажность, коэффициент пористости,
поведение при замачивании
![]()
![]()
![]()
ρd=1.7/(1+0.2)=1.417т/м3
e=(2.7-1.417)/1.417=0,907
Sr=(0.2*2.7)/(0,907*1)=0.596
Таким образом можно сделать вывод: согласно ГОСТ 25100-95 "Грунты. Классификация, данный грунт обладает рыхлым скелетом (2.1< ρd< 1.2) , и является влажным. Данный грунт не является хорошим основанием.
) ИГЭ 4-скалистое основание. Прочность R = 80МПа
Согласно ГОСТ 25100-95 "Грунты.
Классификация" данное основание относится к прочным, так как 120< R<50.
Данный ИГЭ является хорошим основанием, но залегает слишком глубоко.
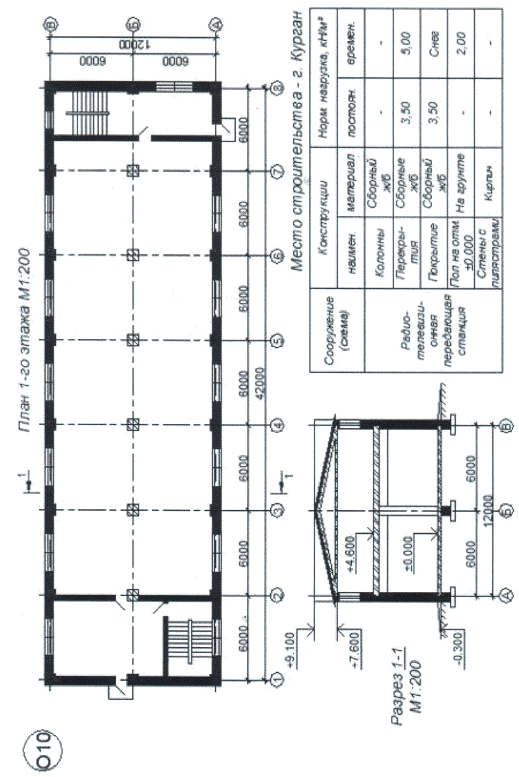
. СБОР НАГРУЗОК НА ФУНДАМЕНТ
Нагрузки и конструкции здания
|
Сооружение |
Конструкции |
Нормативная нагрузка |
||
|
|
Наименование |
Материал |
Постоянные |
Временные |
|
Радиотелевизионная передающая станция |
Колонны |
Сборный ж/б |
γ=24,5 Н/м3 |
- |
|
|
Перекрытия |
Сборные ж/б |
3,50 кН/м2 |
5,00 кН/м2 |
|
|
Покрытие |
Сборный ж/б |
3,50 кН/м2 |
Снег |
|
|
Пол на отм. ±0,000 |
На грунте |
- |
2,00 кН/м2 |
|
|
Стены с пилястрами |
Кирпич |
- |
- |
|
|
Нагрузка от технологического оборудования - 0 |
|||
|
|
Место строительства - г. Курган |
|||
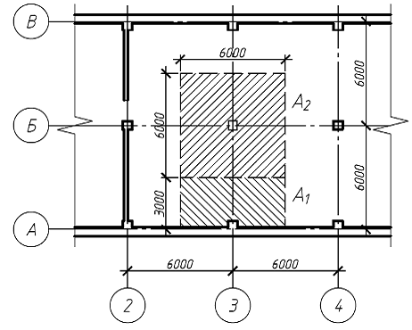
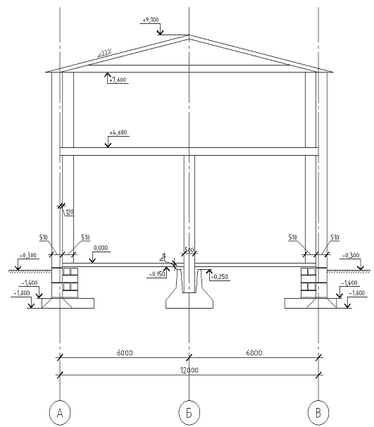
Рис3. Конструктивная схема сооружения и исходные
данные
Рис4. Схема грузовых площадей
Фундамент под пилястру с участком стены.
Общая нагрузка на фундамент рассчитывается по
формуле:
N1 = Nст+Nпер+Nпокр+Nпол
где: Nст-
собственный вес пилястра с участком стены:
Ncт =
(Ап+Аст)*Hст*γмат,
где: Ап = 0,51*0,51 = 0,26 м2 - площадь сечения пилястры;
Аст = 0,51*1 = 0,51 м2 - площадь сечения участка стены;
Нст = 7,9 м - высота стены;
γмат = 18 кН/м3 - удельный вес материала - кирпич;
Nпер - нормальная
нагрузка от перекрытия:
Nпер = Агр*(qпост+qврем)
где: Агр = 3,0*6,0=18,0 м2 - грузовая площадь;
qпост = 3,5 кН/м2 - постоянная нормальная нагрузка;
qврем = 5,0 кН/м2 - временная нормальная нагрузка;
Nпокр - нормальная
нагрузка от покрытия:
Nпокр = Агр*(qпост+qснег)
где: Агр = 6,0*6,0 = 36,0 м2;
qпост = 3,5 кН/м2;
Полное расчетное значение снеговой нагрузки на
горизонтальную проекцию покрытия следует определять из СНиП 2.01.07-85*
«НАГРУЗКИ И ВОЗДЕЙСТВИЯ» по формуле
где Sg - расчетное значение веса снегового покрова на 1 м2 горизонтальной поверхности земли, принимаемое в соответствии с картой снеговых районов РФ. Курган относится к III зоне и соответственно:
Sg =1.8 кПа
коэффициент следует принимать в соответствии с обязательным приложением 3, при этом промежуточные значения коэффициента необходимо определять линейной интерполяцией.
Для двускатной крыши зависит от £.
Принимаем
Nпол - вес пола на
отметке +0.000
Nпол= Агр*(qпост+qснег)
Агр = 3,0*6,0=18,0 м2 - грузовая площадь;
qпост = 0 кН/м2 - постоянная нормальная нагрузка;
qврем = 2,0 кН/м2 - временная нормальная нагрузка;
Тогда, получаем:
N1 = (0,26+0,51)*7,9*18+18*(3,5+5)+36*(3,5+1,8*1,25)+18*2 = 487,7 кН = 48,8 т
Фундамент под колонну.
Общая нагрузка на фундамент рассчитывается по
формуле:
N2 = Nк+Nпер+
Nпол
где: Nк
- собственный вес колонны:
Nк = Асеч*Hк*γмат
где: Асеч = 0,4*0,4 = 0,16 м2 - площадь сечения колонны;
Нк = 4,38 м - высота колонны (с подземной частью);
γмат = 24,5 кН/м3 - удельный вес материала - железобетон;
Nпер - нормальная
нагрузка от перекрытия:
Nпер = Агр*(qпост+qврем)
где: Агр = 6,0*6,0=36,0 м2 - грузовая площадь;
qпост = 3,5 кН/м2 - постоянная нормальная нагрузка;
qврем = 5,0 кН/м2 - временная нормальная нагрузка;
Nпол - вес пола на
отметке +0.000
Nпол= Агр*(qпост+qснег)
Агр = 6,0*6,0=36,0 м2 - грузовая площадь;
qпост = 0 кН/м2 - постоянная нормальная нагрузка;
qврем = 2,0 кН/м2 - временная нормальная нагрузка;
Тогда, получаем:
N2 = 0,16*4,38*24,5+36*(3,5+5) )+36*2 = 395,2 кН = 39,5 т
Ветровая нагрузка для данного типа зданий не
учитывается.
3. Назначение глубины
заложения фундамента мелкого заложения
Под пилястр с участком стены устраивается комбинированный ленточный фундамент из сборных элементов, под колонну - столбчатый
Слой ИГЭ1 - почвенно растительный, мощностью 1500мм. При устройстве фундамента этот слой убирается.
Слой ИГЭ2 - мягко пластичная глина. Он не
является хорошим основанием, поэтому нужно либо проходить его , либо делать
более широкую подошву фундамента. С учетом того что мы уже убираем 1500мм.
почвенно-растительного слоя убирать еще 2500мм. глины не целесообразно,
учитывая что под ней находится слой ИГЭ 3 состоящий из мягкопластичного
суглинка, который так же не является хорошим основанием. Поэтому вариантов 2:
устраивать свайный фундамент до ИГЭ 4, являющегося скальным основанием, либо
устраивать более широкую подошву фундамента. Выбираем 2ой вариант исходе из
технико-экономических соображений.
dfn = d0
dfn - нормативная глубина сезонного промерзания грунта.
d0 - коэффициент, который для глин и суглинков принимается равным 0.23м.
Mt-
безразмерный коэффициент численно равный сумме среднемесячных отрицательных
значений температуры за зиму для данного региона, принимаемое по СНиП с учетом
данных по климатологии за последние 10 лет.
Средняя месячная и годовая температура воздуха, °С
|
Место строительства |
I |
II |
III |
IV |
V |
VI |
VII |
VIII |
IX |
X |
XI |
XII |
Год |
|
Курган |
-17,7 |
-16,6 |
-8,6 |
4,1 |
12,6 |
17,2 |
19,1 |
16,3 |
10,9 |
2,4 |
-7,2 |
-14,3 |
1,5 |
dfn =0,23·
=
0,23·6,97 = 1,6м
df = dfn·kh
df - расчетная глубина сезонного промерзания грунта.
kh- коэффициент учитывающий влияние теплового режима здания. Принимается по СНиП 2.02.01-83 равным 0.5.
df = 1,6·0,5 = 0,8м
Под сборные железобетонные колонны используется сборный стаканный фундамент.
Под несущие стены закладывается ленточный
фундамент.
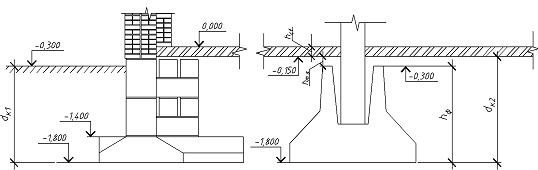
Рис5 Глубина заложения фундаментов
dк2 = hт.з.
+ hф = 150 + 1500 =
1650 мм
Отметка низа подошвы фундамента = hcf + 1650 = 150 + 1650 = 1800 мм
dк1 = 1800 - 300 = 1500 мм
dк1 ≥ df
: 1,5 м ≥ 0.8 м - условие выполнено.
4. Расчет основания
фундаментов мелкого заложения по деформациям
При расчёте должны быть выполнены следующие условия:
. по напряжениям, действующим на слои грунтов: p ≤ R (±5%)
. по деформациям основания: S ≤ Su
Наружный фундамент (Ф-1) под кирпичный столб.
ое приближение
Фундамент выполняется из блоков ФБС. Для подбора
ширины фундамента примим ее равной 1000мм. И проверим условие P<R
- нагрузка на фундамент (487,7 кН)- вес фундамента и грунта на его обрезах;= γmtBLdк, где γmt - удельный осреднённый вес грунта и бетона (20 кН/м3), B - ширина подошвы фундамента, принимается 1 м, dк - глубина заложения фундамента (1,5 м);
А - площадь подошвы фундамента;
А = BL, где L - условная длина подошвы фундамента = 1 п.м.
P=(487,7+20*1*1*1.5)/1*1=517,7кПа-
расчётное сопротивление основания

(MγkzBγII + Mqd1γ'II + (Mq - 1)dbγ'II + MccII)
γС1, γС2 - коэффициенты условий работы, принимаются по табл. 3 СНиП 2.02.01-83*: γС1=1,1; γС2=1;
k - коэффициент надёжности, принимается k=1, так как были проведены ИГИ;
Mγ, Mq, Mc - коэффициенты, принимаются по табл.4 СНиП 2.02.01-83*: Mγ=0,47; Mq=2,89; Mc=5,48;
kz - коэффициент, принимается kz=1;
γII - осреднённое расчётное значение удельного веса грунтов, залегающих ниже подошвы фундамента до глубины z = B/4: γII= 13,192 кН/м3
γ'II - осреднённое расчётное значение удельного веса грунтов, залегающих выше подошвы фундамента: γ'II = 13,192 кН/м3
сII - расчётное значение удельного сцепления грунта, залегающего непосредственно под подошвой фундамента: сII = 71кПа- глубина заложения фундаментов бесподвальных сооружений от уровня планировки: d1= 1,5 м
db - глубина подвала: db = 0
R=(1.1*1)/1*(0.47*1*1*13,192
+ 2.89*1,5*13,192 + (2.89 - 1)*0*13,192 + 5.48*71) = 497,71 кПа
,7 кПа > 497,71 кПа → условие не выполнено
ое приближение
Принимаем ширину подошвы фундамента равной 1200мм.
P=(487,7+20*1,2*1*1.5)/1,2*1=436,42кПа
R=(1.1*1)/1*(0.47*1,2*1*13,192
+ 2.89*1,5*13,192 + (2.89 - 1)*0*13,192 + 5.48*71) = 499,08 кПа
,42 кПа > 499,08 кПа → условие выполнено
Внутренний
фундамент (Ф-2) под сборные железобетонные колонны
N
=395,2 кН
G = γmtBLdк
где γmt = 20 кН/м3, B =1м, dк =1,65м
А - площадь подошвы фундамента; A=B2
P=(395,2+20*1*1*1.65)/1*1
= 428,2 кПа

(MγkzBγII + Mqd1γ'II + (Mq - 1)dbγ'II + MccII)
γС1=1,1; γС2=1;
k=1;
Mγ=0.47; Mq=2.89; Mc=5.48;
kz=1;
γII = γ'II = 8.261 кН/м3
сII = 71кПа= 1,65 м
db = 0
![]()
R=(1.1*1)/1*(0.47*1*1*13,192 +
2.89*1,5*13,192 + (2.89 - 1)*0*13,192 + 5.48*71) = 497,71 кПа
,2 кПа < 497,71 кПа → условие выполнено
Проверим в целях экономии материала ширину столбчатого фундамента равную 800мм.
P=(395,2+20*0,8*0,8*1.65)/0,8*1
= 520,4 кПа
R=(1.1*1)/1*(0.47*0,8*0,8*13,192 + 2.89*1,65*13,192 + (2.89 - 1)*0*13,192 + 5.48*71) = 501,55кПа
Условие
не выполняется. Принимаем ширину столбчатого фундамента, с запасом прочности,
равной 1000мм.