Материал: Расчет ленточного тормоза

Внимание! Если размещение файла нарушает Ваши авторские права, то обязательно сообщите нам

Расчет ленточного тормоза

Министерство образования и науки Российской Федерации

федеральное государственное бюджетное образовательное учреждение

высшего профессионального образования

«Сахалинский государственный университет»

Технический нефтегазовый институт

Кафедра нефтегазового дела







КУРСОВАЯ РАБОТА

по дисциплине «ТЕХНОЛОГИЯ БУРЕНИЯ НЕФТЯНЫХ И ГАЗОВЫХ СКВАЖИН»

на тему: «РАСЧЕТ ЛЕНТОЧНОГО ТОРМОЗА»








Южно-Сахалинск 2015

Содержание

Введение

Глава 1. Описательная часть

.1 Кинематические схемы ленточного тормоза

.2 Элементы ленточного тормоза

Глава 2. Расчетная часть

.1 Расчет главного тормоза. Усилия, действующие при торможении

.2 Расчет колодочно-ленточного тормоза

.3 Силы, действующие в рычажном механизме тормоза

.4 Тепловой расчет главного тормоза

.5 Проверочный расчет тормозной ленты

Глава 3. Безопасность жизнедеятельности

Заключение

Список литературы

Введение

Тормозные системы буровых лебедок предназначены для создания усилия в ведущей струне, обеспечивающего надежное удерживание в статическом состоянии колонны максимального веса, на который рассчитаны установки; поглощения мощности при спуске колонны на длину одной свечи с наибольшей допустимой скоростью, контролируемой торможением, и остановки в конце спуска; плавной подачи бурильной колонны по мере углубления скважины при бурении за счет регулирования тормозного момента.

При спуске бурильной колонны развивается большая мощность, и поглощение ее механическими тормозами ограничивается предельно допустимыми температурами, возникающими на поверхностях трения, и возможностью отвода выделяемой теплоты этими тормозами. Предельная температура поверхностей трения обычно ограничивается 500 С. При более высоких температурах резко ухудшаются фрикционные качества тормозных колодок и прочность поверхности шкива. Спуск тяжелых колонн с большой скоростью и резким торможением приводит к тому, что местная температура на поверхностях трения достигает 1000 С и более.

Для выполнения всех требуемых операций в буровых лебедках необходимо предусматривать два вида тормозов: главный тормоз (останова), вспомогательный тормоз, регулирующий скорость спуска и поглощающий часть выделяющейся при этом энергии, и специальный механизм для регулирования скорости подачи долота при бурении.

Глава 1. Описательная часть

Ленточный тормоз - основной тормоз буровой лебедки. Он предназначен для остановки и удержания в неподвижном состоянии бурильной колонны и другого инструмента, спускаемых и поднимаемых из скважины. Ленточный тормоз при необходимости может быть использован в качестве вспомогательного. Например, в случаях отказа или недостаточного тормозного момента вспомогательного тормоза лебедки для снижения скорости спуска колонны труб в скважину используется ленточный тормоз. При отсутствии регулятора подачи долота ленточный тормоз служит для поддержания осевой нагрузки на долото и подачи бурильной колонны по мере углубления забоя скважины.

Согласно ГОСТ 12.2.041-79, к ленточным тормозам предъявляются следующие требования:

тормозной момент должен быть достаточным для надежного

удержания в неподвижном состоянии колонны труб наибольшей массы, соответствующей допускаемой грузоподъемности лебедки; привод тормоза должен обеспечить плавное регулирование тормозного момента и мягкую посадку на стол ротора спускаемой в скважину колонны труб; тормоз должен растормаживаться одновременно с включением привода лебедки;

температура на поверхностях трения фрикционной пары не

должна превышать допускаемой температуры нагрева материалов, используемых в тормозной паре;

конструкция тормоза должна исключать самопроизвольное торможение и растормаживание и обеспечить легкость управления,удобство и доступность осмотра, регулирования и замены износившихся деталей и узлов.

В буровых лебедках в качестве основного используется двухленточный тормоз, обладающий важными преимуществами по сравнению с одноленточным. В первую очередь следует отметить надежность двухленточного тормоза, сохраняющего работоспособность при отказе одной из лент. Распределение тормозного момента на два шкива позволяет вдвое уменьшить контактные давления и, следовательно, повысить долговечность тормозных шкивов и колодок.

Тормозные шкивы монтируют непосредственно на барабане лебедки, что диктуется требованиями техники безопасности работ при бурении, кроме того, это уменьшает вращающиеся массы промежуточных элементов, что делается с целью улучшения динамических качеств лебедки. В буровых лебедках можно использовать как гидравлические, так и электродинамические вспомогательные тормоза, регулирующие скорость спуска.

Как указывалось выше, главные тормоза в ряде случаев выполняют функции устройства для подачи долота. Эти устройства могут иметь разнообразные конструкции, как воздействующие на основную тормозную систему, так и представляющие собой отдельные механизмы. Следует, однако, учитывать, что главные тормоза рассчитывают на торможение крюка, движущегося со скоростью 1 - 3 м/с и поглощающего при спуске мощность до 10000 кВт, в то время как при подаче бурильной колонны скорости спуска ничтожны (до 0,03 м/с), а мощность соответственно 5 - 30 кВт. Естественно, что один и тот же механизм тормоза не может полностью удовлетворить всем требованиям в столь широком диапазоне мощностей, так как коэффициенты трения при низких скоростях нестабильны; поэтому для бурения в тяжелых условиях целесообразно проектировать лебедки с устройствами, способными осуществлять тонкое регулирование скорости спуска и подачи при проходке.

В качестве главных тормозов буровых лебедок рекомендуют использовать простые ленточные или ленточно-колодочные тормоза. Колодочные тормоза в буровых лебедках не используют из-за громоздкости. Ленточные тормоза дифференциальные и суммарные также не применяют, первые из-за резкого торможения и малого пути растормаживания, вторые из-за того, что они предназначены обычно для двустороннего торможения и не обладают способностью прогрессивного увеличения силы торможения. Требование двустороннего торможения барабана к лебедкам не предъявляют (хотя барабаны вращаются в обе стороны, но натяжение каната всегда имеет одно направление).

Тормоза буровых лебедок поглощают большую мощность, в результате чего выделяется количество теплоты, которое мгновенно нагревает поверхность трения. В связи с этим хороший отвод выделяющейся теплоты при торможении является одним из важнейших качеств тормоза лебедки.

Система водяного охлаждения с камерами, расположенными под тормозными шкивами, имеет ряд недостатков: не устраняется большая разность температур на поверхностях торможения и внутренней поверхности шкива; необходим подвод воды к вращающемуся валу лебедки и отепление системы водоподвода во избежание замерзания зимой. Поэтому системы охлаждения следует проектировать в зависимости от нагруженности тормозов с охлаждением водой или воздухом. [1]

.1 Кинематические схемы ленточного тормоза

По конструктивному выполнению и кинематическим схемам управления ленточные тормоза буровых лебедок выполняются довольно разнообразно, хотя принципиальное устройство тормозов разных конструкций мало отличается друг от друга.

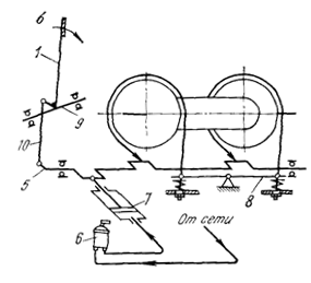
На рисунке 1 приведены различные схемы управления тормозами. Тормоз лебедки, который изображен на рисунке 2, состоит из двух шкивов, смонтированных на барабане, которые охватываются лентами с колодками. Тормозные ленты соединены одним концом с балансиром, который служит для равномерного распределения тормозного усилия между обеими лентами; другим - коленчатым валом. На коленчатом валу с одной стороны находится тормозной рычаг управления, а одно из его колен соединено с пневматическим цилиндром, увеличивающим тормозное усилие.

Рисунок 1 - Тормоз лебедки, тормозной рычаг которого смонтирован на коленчатом валу: 1 - тормозной рычаг; 2 - шкив тормозной; 3 - барабан лебедки; 4 - лента тормоза; 5 - коленчатый вал; 6 - кран управления пневмоцилиндром; 7 пневмоцилиндр; 8 - балансир

Рисунок 2 - Тормоз лебедки с дистанционным управлением: 1 - тормозной рычаг; 5 - коленчатый вал; 6 - кран управления пневмоцилиндром; 7 пневмоцилиндр; 8 - балансир; 9 - ось тормозного рычага; 10 тяга

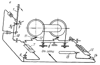
Рисунок 3 - Тормоз лебедки с дистанционным управлением: 1 - тормозной рычаг; 2 - шкив тормозной; 3 - барабан лебедки; 4 - лента тормоза; 5 - коленчатый вал; 6 - кран управления пневмоцилиндром; 7 пневмоцилиндр; 8 - балансир; 9 - ось тормозного рычага; 10 - тяга; 11 - толкатель; 12 - башмак ленты; 13 - аварийный пневмоцилиндр; 14 - обратный клапан;15 - баллон с жатым воздухом

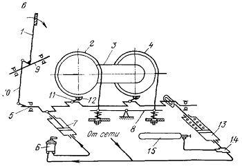
Рисунок 4 - Тормоз лебедки с дистанционным управлением: 1 - тормозной рычаг; 6 - кран управления пневмоцилиндром; 7 пневмоцилиндр; 8 - балансир; 10 - тяга; 11 - толкатель; 12 - башмак ленты; 13 - аварийный пневмоцилиндр; 14 - обратный клапан;15 - баллон с жатым воздухом

Неподвижные концы лент закреплены на балансире, а подвижные, прикрепленные к шейкам коленчатого вала, при повороте его перемещаются, охватывают шкивы и прижимают к ним ленту с колодками, осуществляя тем самым торможение. Управление тормозом производят тормозными рычагами, связанными с подвижными концами лент системой рычагов и коленчатым валом. Этот вал проворачивают либо рычагом, либо поршнем пневматического цилиндра. Управление пневматическим торможением осуществляется рукояткой, находящейся на тормозном рычаге или пульте бурильщика.

Тормозной рычаг должен иметь угол поворота не более 90˚, так как при длине рычага один, два - один, шесть метров рабочий не может перемещать его на больший угол.

На рисунке 2 показана схема тормоза с дистанционным расположением тормозного рычага непосредственным соединением концов ленты к балансиру и коленчатому валу.

Согласно требованиям техники безопасности [2], независимо от расстояния, на котором находится лебедка от поста бурильщика, управление ленточным тормозом должно осуществляться механической системой; другие устройства (пневматические, электрические и т.д.) могут быть только вспомогательными.

На рисунке 3 показаны схемы тормозов также с дистанционным расположением тормозного рычага и креплением концов лент к коленчатому валу и балансиру через башмаки, которые служат для увеличения угла охвата шкивов лентами.

Тормозные системы снабжены дополнительным (аварийным) пневматическим цилиндром, связанным коленчатым валом с серьгой. Этот цилиндр может дополнительно питаться сжатым воздухом из баллона через обратный клапан и действует в случае падения давления сжатого воздуха в сети.

На рисунке 4 приведена схема тормозов с пневматической фиксацией положения тормозного рычага. Фиксация осуществляется поворотом рукоятки тормозного рычага, управляющей клапаном.

На рисунке 5 показан общий вид ленточно - колодочного тормоза с креплением концов лент через башмак и с тормозным рычагом, укрепленным на коленчатом валу. Эти валы выполняются кривошипными или эксцентриковыми. Выбор того или иного типа зависит от мощности тормоза и выбранных соотношений длины рычагов тормозной системы. Различные конструкторы эту задачу решают по-разному.

Рисунок 5 - Общий вид ленточно-колодочного тормоз: 1 - рукоятка тормозного рычага; 2 - тормозной рычаг; 3 - колодка; 4 - фиксатор рычага; 5 - опора коленчатого вала; 6 - рычаги; 7 - вал коленчатый; 8 пневмоцилиндр; 9 - пружина крепления ленты; 10 - опора балансира; 11 - балансир; 12 - контргайка; 13 - тяга; 14 - крепление ленты; 15 - лента тормозная; 16 - ролик поддерживающий

Конструкция ленточно-колодочного тормоза показана на рисунке 6.

Преимущество ленточных тормозов - простота их конструкции и прогрессивное увеличение тормозного момента по мере поворота рычага. Что характеризируется зависимостью мощности торможения и перемещения подвижных концов ленты от угла поворота рычага. Конец тормозного рычага согласно правилам Госгортехнадзора [2] при полном торможении должен находиться на расстоянии не менее 0,8 - 0,9 м от пола буровой. Уменьшение хода рычага достигается регулировкой зазора между тормозными колодками лент и поверхностью шкивов. Дистанционное управление тормозов также активно используется. [1]

.2 Элементы ленточного тормоза

Тормозные рычаги необходимо снабжать запирающимися устройствами, позволяющими бурильщику оставлять тормоз надежно заторможенным, исключающим проскальзывание барабана и самопроизвольное опускание бурильной колонны. Эти устройства выполняют как механическими, так и пневматическими.

Рукоятка управления ленточным тормозом установлена на консоли вала на напряженной посадке. Опорами вала служат два роликоподшипника, закрепленные в корпусах. Корпуса подшипников болтами крепятся к бонкам, которые привариваются к полу буровой.

В средней части вала на шпонке сидит рычаг для подсоединения тяги.

Крышки подшипников имеют лабиринтные уплотнения. Смазка подшипников осуществляется через масленки. [2]

Рисунок 6 - Конструкция ленточно-колодочного тормоза: 3 - колодка; 14 - крепление ленты; 16 - ролик поддерживающий

Рисунок 7 - Конструкции шкивов тормозов: а - с ребрами жесткости, увеличивающими поверхность теплоотдачи; б - с запрессованным алюминиевым ребристым барабаном; в, г - с камерой для водяного охлаждения; д, е - без устройства для отвода теплоты; 1 - шкив; 2 - реборда барабана лебедки; 3 - охладитель кольцевой; 4 - кожух камеры кольцевого охлаждения; DТ - диаметр шкива тормоза

По конструктивному оформлению шкивы тормозов выполняются весьма разнообразно. В большинстве случаях их лучше проектировать литыми. Конструкции с ребрами для воздушного охлаждения, отлитыми за одно целое со шкивом, которые изображены на рисунке 4а, можно проектировать для условий эксплуатации на Севере. Шкивы с вставным литым алюминиевым ребристым барабаном для охлаждения, которые изображены на рисунке 4б, широкого распространения не получили из-за сложности изготовления. Конструкции с камерами охлаждения, изображенными на рисунках 4в, г, можно успешно использовать в лебедках, применяемых в районах с умеренным и жарким климатом при бурении с небольшим числом СПО.

Шкивы менее удачных конструкций без охлаждающих устройств показаны на рисунках 8-9.

Толщину шкива рассчитывают с учетом его износа, допускаемого 0,4 - 0,5 его толщины. Ширина должна быть на 5 -10 мм больше ширины тормозных колодок.

Пневмоцилиндр поршневой одностороннего действия включается с подачи воздуха через отверстие в крышке. Под давлением воздуха поршень вместе с направляющим штоком перемещается в гильзе. В направляющем штоке установлен резиновый буфер со сферическим углублением пол головку штока. При включении пневмоцилиндра поршень через резиновый буфер выдвигает шток, который через рычаг поворачивает коленвал на затормаживание. Шток не связан с поршнем, поэтому при отключенном пневмоцилиндре пружина удерживает поршень в исходном положении. Уплотнением поршня служит резиновая манжета, зажатая между поршнем и диском направляющего штока. Войлочные кольца поршня пропитаны маслом и служат для смазывания поверхности трения гильзы.

Направляющей для трубы штока является втулка, установленная в стакане. Смазка поверхности трения втулки производится через масленку.

Шесть шпилек стягивают стакан с крышкой и одновременно крепят цилиндр к сварной стойке, которая на бонках устанавливается на площадке рамы.