Материал: Расчет железобетонных конструкций многоэтажного здания в монолитном исполнении

Внимание! Если размещение файла нарушает Ваши авторские права, то обязательно сообщите нам

Расчет железобетонных конструкций многоэтажного здания в монолитном исполнении















Расчет железобетонных конструкций многоэтажного здания в монолитном исполнении

Введение

В курсовом проекте предлагается разработать конструкции многоэтажного здания с неполным каркасом (комбинированная система) с несущими наружными стенами и внутренним железобетонным каркасом.

Исходные данные для проектирования.

Параметры здания:

Параметры здания: L1= 21 м, L2= 54 м, l1= 7 м, l2=5,4.

Количество этажей: 5

Высота этажа 3,6 м

Место строительства: г. Томск.

Полная временная нагрузка - 8 кПа, из них длительно действующая часть - 5 кПа.

Пол-1,0 кН/м2

Класс бетона В25 (Rb= 14.5 *0,9= 13.05 ); Марка продольной арматуры А-III. (Rs=365). Поперечную, монтажную, косвенную арматуру сеток принимаем конструктивно из стали классов Вр-I, A-III.

Рис. 1-Плита, 2-Второстепенные балки, 3-Главные балки, 4-Колонны, 5-Грузовая полоса плиты, 6-Грузовая полоса второстепенной балки, 7- Грузовая полоса главной балки, 8-Грузовая площадь второстепенной балки, 9- Грузовая площадь колонны.

1. Компоновка конструктивной схемы монолитного перекрытия

Монолитное ребристое перекрытие образовано системой, состоящей из плит, второстепенных и главных балок. Направления, пролеты и размеры поперечных сечений элементов перекрытия определяются по технологическим, архитектурным и конструктивным требованиям. Все элементы перекрытия монолитно взаимосвязаны.

Таблица 1


Толщина плиты перекрытия производственного здания принимается как

hпл=(1/20…1/30)*а,

где а - пролет плиты (расстояние между второстепенными балками) принимается в пределах 1200 - 2200 мм (в нашем случае примем а= 1750 мм).

hпл=(1/20…1/30)* 1750= 60 (мм).

Глубина опирания плиты на кирпичную стену назначается равной 120 мм. Высота сечения второстепенных балок принимается

h вт.б.=(1/12…1/20)*lвт.б.

h вт.б 1/12…1/20)* 5400=400 (мм)

ширина

b вт.б.=(1/2…1/3)* h вт.б

b вт.б=(1/2…1/3)*400=200 (мм).

Длина площадки опирания второстепенных балок на кирпичную стену принимается равной 250 мм. Главные балки воспринимают нагрузку от второстепенных балок и передают ее на колонны и стены. Высота сечения назначается в пределах

h гл.б.=(1/8…1/15)*lгл.б.

h гл.б.=(1/8…1/15)* 7000=600 (мм).

Ширина сечения

bгл.б.=(1/2…1/3)* h гл.б

bгл.б.=(1/2…1/3)* 600=300 (мм).

Длина площадки опирания на кирпичную стену 380 мм. При компоновке перекрытия назначают направление главных и второстепенных балок и их пролеты, а также пролет плит, т.е. количество второстепенных балок по длине главной. При этом ось одной из второстепенных балок должна совпадать с осью колонны.

2. Расчет и конструирование плиты

Рис.2

2.1 Статический расчет

Для расчета плиты, условно, вырезается полоса шириной 1 м поперек второстепенных балок. Эта полоса рассматривается как многопролетная балка, загруженная равномерно распределенной прогонной нагрузкой q (кН/м), численно равной нагрузке на 1 м². Расчетные пролеты плиты определяются следующим образом:

для средних пролетов lср=a-b, где а - расстояние между осями второстепенных балок, b - ширина второстепенной балки;

lср = 1750-200=1550 (мм);

для крайних пролетов lкр=a-(b/2)-с+( dn/2), здесь с - привязка оси к внутренней грани стены;

l кр=1750-(200/2)-250+120/2=1460 (мм).

hпл=60 мм.

hвб=400мм.

bвб=200мм.

а=1750 мм.

l01=1460 мм.

l02=1550 мм.

с=250мм.

Изгибающие моменты определяются по формулам, учитывающим пластические свойства железобетона и перераспределение изгибающих моментов:

для средних пролетов и промежуточных опор

gn=0,06*1*1*25=1.5 кПа

q=(g+p)*0,95*1=12.45*1*0,95=11.827 Н/м

М2= + (q*l²ср)/16

М2= + (11.827*1.55²)/16= + 1.776 (кН*м);

для крайних пролетов и первой от края опоры

М1= + (q*l²кр)/11

М1= + (11.827*1.46²)/11= + 2.292 (кН*м).

hпл/lкр=60/1460=0.033>1/30 => уменьшаем момент М2 на 20%

М2= + 1.421 (кН*м)

2.2 Расчет прочности нормальных сечений

Рис.3

Расчет прочности нормальных сечений сводится к определению площади продольной арматуры для прямоугольного сечения высотой hпл и шириной 1000 мм:

в средних пролетах и над средними опорами;

в крайнем пролете и над крайней опорой.

Вычисляем табличные коэффициенты при h0= hпл-12,5 мм, где 10 мм - защитный слой бетона; 2,5 мм - половина диаметра арматуры

h0= 60-12,5=47.5 (мм).

Принимаем класс арматуры Вр-1.

Для средних:

α м2/(Rb*b* h²0)

α м =1.421*106/(13.05*1000*47.5²)=0.0483

ξ=x/h0=1-√1-2*α м =1-√1-2*0.0483=0.049

Для сечений, в которых предусмотрено образование пластического шарнира, должно выполняться условие:

ξ<0,37;

.049<0,37, условие выполняется.

x= ξ*h0=0.049*47.5=2.35 мм

Определяем требуемую площадь сечения арматуры:

Аs= (Rb*b*x)/ Rs

Аs= 13.05*1000*2.35/410=74.805 (мм²).

Принимаем для сетки С1 5 Ø5 Вр - I с шагом 200 мм и с площадью As1=98,2 мм2.

Марка сетки:

Т.к. µ=As/b*h=98.2/1000*47.5=0.002067>µmin=0,0005

Конструктивные требования соблюдены.

Проверяем прочность при подобранной арматуре:

X=Rs*As/(Rb*b)=410*98,2 /(13.05*1000)= 3.085 мм

Mu=Rb*b*x*(h0-0,5*x)=13.05*1000*3.085*(47.5-0,5*3.085)=

=1.85*106 H*мм>M2=1.421*106 H*мм

Прочность достаточна, арматура подобрана правильно.

Для крайних:

α м1/(Rb*b* h²0)

α м =2.292*106/13.05*1000*47.52=0.078

ξ=x/h0=1-√1-2*α м =1-√1-2*0.078=0.081

Для сечений, в которых предусмотрено образование пластического шарнира, должно выполняться условие:

ξ<0,623;

.081<0,623, условие выполняется.

x= ξ*h0=0.081*47.5=3.854 мм

Определяем требуемую площадь сечения арматуры:

Аs= (Rb*b*x)/ Rs

Аs= 13.05*1000*3.854/410=122.663 (мм²).

Сетка С2 должна иметь арматуру с площадью

As2=As-As1=122.663-98.2= 24.463 мм2

Поскольку шаг стержней не должен превышать 200 мм, принимаем для сетки С2 5Ø3 Вр - I с шагом 200 мм и с площадью As2=35.3 мм2.

Марка сетки:

Тогда суммарная площадь сечения растянутой арматуры в крайних пролётах и над первыми промежуточными опорами As=As1+As2=98.2+35.3 =133.5 мм2 Т.к. µ=As/b*h=133.5/1000*47.5=0.002811>µmin=0,0005, конструктивные требования соблюдены.

Проверяем прочность при подобранной арматуре:

X=Rs*As/(Rb*b)=410*133.5 /(13.05*1000)= 4.194мм

Mu=Rb*b*x*(h0-0,5*x) =13.05*1000*4.194*(47.5-0,5*4.194)=

= 2.485*106 H*мм>M1= 2.292*106 H*мм

Прочность достаточна, арматура подобрана правильно.

3.Расчет и конструирование второстепенной балки

.1 Назначение расчетной схемы. Статический расчет

В качестве расчетной схемы принимается многопролетная неразрезная балка с крайними шарнирными опорами при опирании на стены и промежуточными опорами - главными балками.


hвб=400мм.

hгб=600мм

bгб=300мм.

l01=5255 мм.

l02=5100 мм.

l2=5400 мм.

с=120мм

Равномерно распределенная нагрузка на балку собирается с полосы шириной равной пролету плиты, т.е. расстоянию между осями второстепенных балок. Постоянная нагрузка состоит из собственного веса перекрытия и собственного веса ребра балки.

g вт.б=( h вт.б.- hпл)*bвб*1*25*γf

 

g вт.б=(0,40-0,06)*0,2*25*1,1=1.87 (кН/м)

где 25 (кН/м) - объемная масса железобетона.

Величина расчетных пролетов показана на рис. 3:

средних

l02= l2-bгб= 5.4-0,3=5.1 (м)

крайних

l01= l2-bгб/2-с+dвб/2= 5400-300/2-120+250/2=5255 (м).

Тогда погонная расчетная нагрузка на балку с полосы шириной 1.75 м и с учётом коэффициента надежности по назначению γf =0,95 равна:

Постоянная

g=( 2.85 *1.75+1.87)*1*0,95= 6.515 кН/м

Временная

p=9.6*1.75*1*0,95=15.96 кН/м

Полна

q=g+p=6.515 +15.96 =22.475 кН/м

Максимальные пролетные и минимальные опорные изгибающие моменты могут быть определены по формулам:

в крайнем пролете

М1= (q*l²01)/11

М1= (22.475*5.255 2)/11=56.422 (кН*м);

lср= (l01+ l02)/2=(5.255+5.1)/2=5.178 (м)

на грани первой промежуточной опоры

М01= -(q*l²0ср)/14

М01= -(22.475 *5.178 ²)/14= -43.033 (кН*м);

в средних пролетах и на гранях средних опор

М2= ±(q*l²02)/16

М2= ±(22.475 *5.1²)/16=±36.535 (кН*м).

Остальные ординаты огибающей эпюры изгибающих моментов вычисляем по зависимости:

Mmax=±β*q* l²0

где ±β - коэффициенты, принимаемые в зависимости от отношения p/q

p/q=15.96 /6.515 =2.45

3.2 Построение огибающей эпюры моментов и эпюры перерезывающих сил

многоэтажный здание железобетонный каркас

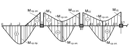
Огибающая эпюра изгибающих моментов с учетом действия постоянной и временной нагрузки (рис.4)

Рис.4. Эпюра перерезывающих сил

Рис.5

Величина поперечных сил на гранях опор

свободной А:

QА=0.4*q* l01

QА=0,4*22.475 *5.255 = 47.242 (кН);

первой промежуточной В слева: Q В(лев)=-0,6*q* l01

Q В(лев)=-0,6*22.475 *5.255 =-70.862 (кН);

первой промежуточной В справа: Q В(пр) =0,5*q* l02

Q В(пр) =0,5*22.475 *5.1=57.31 (кН);

всех остальных слева и справа: ±QС= ±0,5*q* l02

±QС= ±0,5*22.475 *5.1= ±57.31 (кН).

3.3 Расчет прочности нормальных сечений

При расчете балок в пролете рассматривается тавровое сечение с полкой в сжатой зоне. При hпл/hвт.б.=>0,1; 60/400=0.15>0,1, ширина сжатой полки b’f принимается равной расстоянию между осями второстепенных балок. При расчете балки на отрицательные изгибающие моменты сечение рассматривается как прямоугольное шириной b. На рис. 4 даны формы расчетных сечений балки в пролетах и на опорах.

Рис. 6

Минимальная полезная высота второстепенной балки определяется по формуле:

h 0(min) =1.8*√( М01/Rb*b)

h 0(min) = 1.8*√(43.033 *106/13.05*200)= 231.129 (мм),0= hвб-a=400-30=370>231.129 (мм)

а- расстояние от центра тяжести продольной арматуры до низа балки, принимается при расположении арматуры в один ряд - 30 мм.

Расчет сечения арматуры производится по формулам для изгибаемых моментов при соответствующих значениях изгибающих моментов. Необходимо подобрать продольную арматуру в четырех сечениях: в первом пролете и над первой от края опорой, в среднем пролете и над второй опорой. Во всех остальных пролетах и над промежуточными опорами сечение арматуры будет таким же, как и в среднем пролете и над второй опорой.

Подбираем арматуру в первом пролете (тавровое сечение).

Рис. 7

Принимаем стержневую арматуру класса АIII.

Определим граничный момент при x=h’f

Мтр=Rb*b’f*h’f*(h0-0,5h’f)=13.05* 1750 *60*(370-0,5*60)=

= 465.885*106>M1=56.422 *106 Н*мм

Сжатая зона не выходит за пределы полки.

Определим коэффициент

α м1/(Rb* b’f * h²0)

α м =56.422 *106/(13.05*1750 *370²)=0.018

Относительная высота сжатой зоны

ξ=x/h0=1-√1-2*α м =1-√1-2*0.018=0.018<ξR=0,623

x= ξ*h0=0.018*370=6.739 мм<hпл=60мм

Определяем требуемую площадь сечения растянутой арматуры:

Аs= (Rb*b’f*x)/Rs

Аs= (13.05*1750*6.739)/365=421.622 (мм²).

Принимаем для первого пролёта 2 Ø 18 A - III с площадью As=509 мм2

Определим несущую способность сечения с подобранной арматурой:

x=Rs*As/(Rb*b’f)=365*509 /13.05*1750 =8.135 мм

Mu=Rb*b’f*x*(h0-0,5*x)=13.05*1750 *8.135*(370-0,5*8.135)=

=67.985*106 Н*мм >M1=56.422 *106Н*мм

Прочность достаточна, арматура подобрана правильно.

Подбираем арматуру во втором пролёте (тавровое сечение)

Рис.8

Определим коэффициент

α м =М2/(Rb* b’f * h²0)

α м =36.535 *106/(13.05*1750 *370²)=0.012

Относительная высота сжатой зоны

ξ=x/h0=1-√1-2*α м

=1-√1-2*0.012=0.012<ξR=0,623

x= ξ*h0=0.012*370= 4.349 мм<hпл=60мм

Определяем требуемую площадь сечения растянутой арматуры:

Аs= (Rb*b’f*x)/Rs

Аs= (13.05*1750 *4.349)/365= 272.131 (мм²).

Принимаем для второго пролёта 2 Ø 14 A - III с площадью As=308 мм2

Определим несущую способность сечения с подобранной арматурой:

x=Rs*As/(Rb*b’f)=365*308 /13.05*1750 =4.923 мм

Mu=Rb*b’f*x*(h0-0.5*x)=13.05*1750 *4.923*(370-0,5*4.923)=

=41.319*106 Н*мм >M2=36.535 *106Н*мм

Прочность достаточна, арматура подобрана правильно.

На первой промежуточной опоре (прямоугольное сечение)


Рис.9

Определим коэффициент

α м01/(Rb* b * h²0)

α м =43.033 *106/(13.05*200*370²) =0.12

Относительная высота сжатой зоны

ξ=x/h0=1-√1-2*α м =1-√1-2*0.12=0.129<ξR=0,623

x= ξ*h0=0.129*370=47.627 мм

Определяем требуемую площадь сечения растянутой арматуры:

Аs= (Rb*b*x)/Rs

Аs= (13.05*200*47.627)/365=340.4146 (мм²).

Принимаем над первой промежуточной опорой 3 Ø 14 A - III с площадью As=462 мм2.

Определим несущую способность сечения с подобранной арматурой:

x=Rs*As/(Rb*b)=365*462 /(13.05*200)= 64.609 мм

Mu=Rb*b*x*(h0-0,5*x)=13.05*200*64.609*(370-0,5*64.609)=

=56.946*106 Н*мм >M01=43.033 *106Н*мм

Прочность достаточна, арматура подобрана правильно.

На второй промежуточной опоре (прямоугольное сечение)


Рис. 10

Определим коэффициент

α м02/(Rb* b * h²0)

α м =36.535 *106/(13.05*200*370²)=0.102

Относительная высота сжатой зоны

ξ=x/h0=1-√1-2*α м =1-√1-2*0.102=0.108<ξR=0,623

x= ξ*h0=0.108*370=39.995 мм

Определяем требуемую площадь сечения растянутой арматуры:

Аs= (Rb*b*x)/Rs

Аs= (13.05*200*39.995)/365=285.988 (мм²).

Принимаем над второй промежуточной опорой 2 Ø 14 A - III с площадью As=308 мм2.

Защитный слой (400-370-14/2=23 (мм)) обеспечен