Материал: Производство карбамида

Внимание! Если размещение файла нарушает Ваши авторские права, то обязательно сообщите нам

Газообразный диоксид углерода, полученный в качестве отхода в процессе очистки азотоводородной смеси, предварительно осушенный и очищенный от механических примесей, от сульфида водорода и сульфидсодержащих соединений, сжимается в четырехступенчатом компрессоре 1 до 20 МПа и при температуре 95 - 100оС направляется в смеситель 6. Одновременно в смеситель плунжерным насосом 3 подается жидкий аммиак под давлением 20 МПа с температурой 90оС, а плунжерный насосом 7 - раствор карбонатов аммония (t = 95оС), в виде которого возвращаются в систему аммиак и двуокись углерода. В процессе перемешивания компонентов в смесителе при 175оС начинается образование карбамата аммония, после чего реакционная масса [молярное отношение NH3:CO2:H2O = [(3.8-4,5):1:(0,5-0,8)] поступает в колонну синтеза 5, в которой при 180 - 230оС и давлении 12 - 25 МПа завершается образование карбамата аммония и его разложение до карбамида [3].

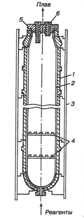
Рис. 5. Колонна синтеза карбамида:1 - корпус колонны; 2 - футеровка; 3 - коллектор контроля футеровки; 4 - решетки; 5 - крышка; 6 - штуцер для термопары

Колонна синтеза карбамида (рис. 5.) представляет собой полый цилиндрический аппарат со сферическим днищем, изготовленный из углеродистой низколегированной стали. Соприкасающиеся с плавом внутренние поверхности аппарата защищены листовой хромоникельмолибденовой сталью X17H16M3T или титаном. Многослойный корпус высокого давления (25 - 30 МПа) изготовляется из листовой углеродистой стали. Для контроля за состоянием футеровки в корпусе колонны имеются отверстия, соединенные с общим коллектором. Реакционная масса, состоящая из карбамида, карбамата аммония и карбонатных солей, аммиака и воды, поступает в колонну через нижний штуцер и, постепенно заполняя колонну, движется к выходному штуцеру в плоской крышки аппарата. С целью более интенсивного перемешивания образующегося плава в нижней части колонны имеются решетчатые перегородки. Габаритные размеры колонны при производительности агрегата 1250 т/сут (450 тыс. т/год): диаметр 2,0 - 2,5 м, высота 30-35 м (объем до 160 м3) [3].

Образующийся в колонне синтеза плав, содержащий 30 - 31% карбамида, 21 - 22% карбамата аммония, 33 - 34% избыточного аммиака и 16 - 17% воды, направляется на двухступенчатую дистилляцию. Агрегат дистилляции каждой ступени состоит их трех аппаратов: ректификационной колонны, подогревателя и сепаратора [3].

Плав карбамида, выходящий из колонны синтеза 5 (рис. 4.), дросселируется от 20 до 1,8 - 2,0 МПа и поступает в верхнюю часть ректификационной колонны 9 агрегата дистилляции I ступени. В колонне 9 при температуре 120 - 125оС происходит выделение в газовую фазу избыточного аммиака, после чего плав для полного разложения карбамата аммония нагревается до 158 - 162оС в теплообменнике 10. Образовавшаяся при этом паражидкостная смесь разделяется в сепараторе 11 - газовая фаза возвращается в нижнюю часть (барботажный слой) ректификационной колонны 9, а жидкая фаза дросселируется до давления 0,25 - 0,4 МПа и направляется на дистилляцию II ступени [3].

Газовая фаза из ректификационной колонны 9, содержащая 75 - 76% NH3, 21 - 22% CO2 и около 3% воды, направляется в нижнюю часть промывной колонны 8, в которой с помощью парового подогревателя поддерживают температуру 92 - 96оС. Одновременно в колонну 8 подается раствор карбонатов аммония со II ступени дистилляции, в процессе которой поглощается основное количество двуокиси углерода и конденсируется водяной пар с образованием раствора, содержащего 38 - 45% аммиака, 30 - 37% диоксида углерода и 22 - 27% воды. Далее раствор сжимается плунжерным насосом 7 до 20 МПа и возвращается в смеситель 6. Газообразный аммиак при 45 - 50оС отделяется от диоксида углерода в верхней насадочной части колонны 8, орошаемой концентрированным водным раствором аммиака (93 - 96% NH3), и направляется в конденсатор 4, где он сжимается и, проходя, возвращается в систему (цикл). Неконденсировавшиеся газы (в основном азот, водород и кислород) отмываются от содержащегося аммиака в системе абсорбции, дросселируются до атмосферного давления и сбрасываются в атмосферу [3].

Раствор, поступающий на дистилляцию II ступени, содержит 55 - 61% карбамида, 4 - 5% карбамата аммония, 6 - 7% избыточного аммиака и 28 - 35% воды. Процесс дистилляции во II ступени протекает так же, как и в I, т. е. раствор в начале проходит через ректификационную колонну 12, охлаждаясь до 110оС за счет испарения аммиака и разложения карбамата аммония, затем в подогревателе 13 нагревается до 140 - 142оС и поступает в сепаратор 14, в котором проходит разделение газообразной и жидкой фаз. Во II ступени дистилляция заканчивается разложение карбамата аммония и отгонка аммиака и диоксида углерода. Остающийся раствор, содержащий 70 - 72% карбамида, из сепаратора 14 дросселируется и поступает в вакуум - испаритель 15, в котором при остаточном давлении 40 кПа происходит его концентрирование до 74 - 76% и охлаждение до 90оС за счет самоиспарения. Раствор далее через сборник 16 и маслоотделитель 17 направляется на переработку в целевой продукт [3].

Газовая фаза из ректификационной колонны 12, содержащая 55 - 56% NH3, 24 - 25% CO2 и 20 - 21% H2O, направляется в конденсатор 21. Образующийся при 40оС неконцентрированный раствор карбонатов аммония (33 - 50% NH3, 10 - 16% CO2 и 35 - 55% H2O) через резервуар 22 центробежным насосом 23 направляется в промывную колонну 8. Газовая фаза из конденсатора 21 и другие отходящие газы, содержащие NH3 и CO2, направляют в абсорбер 24, в котором NH3 и CO2 поглощаются при 40оС раствором карбонатов аммония, циркулирующих через холодильник 27. Инертные же газы из адсорбера удаляются в атмосферу [3].

Образовавшийся в адсорбере 24 раствор карбонатов аммония подогревается в теплообменнике 28 до 90 - 95оС и направляется в десорбер 26, в котором при температуре 135 - 145оС и под давлением 0,3 - 0,4 МПа в присутствии острого пара происходит полное его разложение на NH3, CO2 и H2O. Газообразные аммиак и диоксид углерода вместе с водяными парами направляются в конденсатор II ступени 21, а оставшаяся вода сливается в отстойники [3].

Недостатками рассмотренной схемы получения плава карбамида являются сравнительная низкая (62 - 65%) степень конверсии карбамата аммония в карбамиид, сложность системы регенерации и возврата непрореагировавших компонентов, отсутствие полного использования теплоты синтеза. Поэтому все более широкое распространение получают усовершенствованные процессы, так называемые стриппинг - процессы, основанные на отгонке и конденсации большей части непрореагировавших аммиака и диоксида углерода под давлением синтеза, что позволяет упростить схему, уменьшить объемы возвращаемой в узел синтеза воды и лучше утилизировать теплоту конденсации. Процесс дистилляции в таких процессах осуществляется при противоточной обработке плава диоксидом углерода или аммиаком, что обеспечивает возможность проведения дистилляции плава при при относительно низкой температуре и, главное, предотвращает гидролиз карбамида [3].

.2.2Отделение абсорбции - десорбции. Технологическая схема

На рис. 6. изображена схема отделения абсорбции- десорбции в производстве карбамида.

Рис. 6. Технологическая схема абсорбции - десорбции карбамида [8].

Инертные газы с некоторой примесью аммиака после конденсации с установки производства карбамида поступают в абсорбер 1. Здесь аммиак и углекислый газ при атмосферном давлении поглощаются циркулирующим раствором аммонийных солей, охлаждаемым до 40оС в холодильнике 2. Инертные газы из абсорбера 1 выбрасываются в атмосферу [8].

Раствор аммонийных солей накапливается в сборнике 3, оттуда подается в теплообменник 4, где подогревается до температуры 95оС и затем вместе с острым паром поступает в десорбер 5. В десорбере при температуре 130-140оС и давлении 0,3 МПа происходит полное разложение аммонийных солей [8].

Газообразные аммиак и углекислый газ вместе с парами воды из десорбера поступают в конденсатор второй ступени на установку производства карбамида. Пары воды, свободные от аммиака и углекислого газа. Охлажденные до температуры ниже 100оС, конденсируются из десорбера 5 в канализацию после нейтрализации [8].

.2.3Отделение переработки раствора карбамида в целевой продукт

На рис. 7. Изображена схема отделения переработки раствора карбамида в целевой продукт.

Рис. 7. Схема получения гранулированного карбамида [3]:

- сборник раствора карбамида; 2 - фильтр ФПАКМ; 3, 16 - напорные сборники; 4 - греющая камера выпарного аппарата I ступени; 5 - сепаратор; 6 - сборник упаренного раствора; 7 - поверхностный конденсатор; 8 - брызгоуловитель; 9 - вакуум-насос; 10 - барометрический бак; 11 - ретурный выпарной аппарат II ступени; 12 - барометрический конденсатор; 13 - парструйный эжектор; 14 - гранулирующая башня; 15 - гранулятор; 17 - вентилятор; 18 - ленточный транспортер; 19 - холодильник с кипящим слоем гранул; 20 - элеватор; 21 - грохот; 22 - растворитель пыли и крупных гранул; 23 - центробежный насос

Из сборника 1 фильтруют 74 - 75% раствор на ФПАКМ 2 для отчистки его от механических примесей. Отфильтрованный раствор из напорного сборника 3 поступает на двухступенчатое выпаривание. С целью предотвращения образования биурета процесс упарки ведут ведут в выпарных аппаратах пленочного типа при минимально возможных температуре и продолжительности процесса упарки сначала при остаточном давлении 20 - 40 кПа и 118 - 125оС до концентрации 92 - 95%, а затем при 2,5 - 6,5 кПа и 135 - 140оС до 99,5 - 99,8% [3].

Выпарной аппарат I ступени состоит из греющей камеры 4 и сепаратора 5 сокового пара. Выпарной аппарат II ступени 11 роторного типа. В вертикальной испарительной трубе аппарата, находящейся в паровой рубашке, имеется ротор - вертикальный вал с радиально расположенными пластинами. В процессе его вращения выпариваемый раствор распределяется по поверхности нагрева в виде тонкой пленки [3].

Получаемый после II ступени выпарки плав карбамида перекачивается в расположенную над грануляционной башней 14 напорную емкость 18, обогреваемую паром, откуда он поступает в гранулятор 15. Образующиеся капли плава охлаждаются встречным потоком воздуха и затвердевают в гранулы. Охлаждение гранул от 60 - 70 до 40 - 50оС производится в аппаратах с кипящим слоем, расположенных внутри башни или рядом с ней. С целью получения целевого продукта с размером гранул 1 - 4 мм. его подвергают сортировке на двухситном грохоте 21, а частицы с размерами меньше 1 мм. и более 4 мм. собирают в растворитель 22. Полученные от растворения мелких (менее 1 мм.) и крупных (более 4 мм.) частиц растворы возвращаются на выпарку. Применение в производстве вибрационных грануляторов обеспечивает получение монодисперсного целевого продукта [3].

Для получения 1 т. карбамида по описанной схеме расходуется:

,58 т. NH3 (в пересчете на 100%-ный);

,75 т. CO2 (100%-ный);

,82 ГДж пара;

м3 охлаждающей воды;

МДж электроэнергии [3].

Холодильники с кипящим слоем гранул работают со значительно большей интенсивностью, чем вращающиеся барабанные. Однако в процессе охлаждения в кипящем слое гранулы карбамида раскалываются и истираются, в результате чего образуется запыленность. В результате часть мелких частиц уноситься с газом, а другая часть остается в продукте и способствует его слеживанию [3].

Процесс гранулирования производят также на наклонном вращающемся грануляторе тарельчатого типа. Мелкие гранулы ретура, находящиеся на тарелке, опрыскивают 99,5 - 99,8%-ным плавом карбамида. Полученные стандартные гранулы охлаждают и рассеивания [3].

Перспективными являются способы получения гранулированного карбамида в аппарате кипящего слоя непосредственно из растворов, выводимых из цикла после дистилляции, содержащих до 30% воды. Раствор карбамида выпрыскивается горячим паром через форсунки в кипящий или фонтанирующим слой гранул. Отводимые из аппарата гранулы охлаждают, рассеивают, а фракцию менее 1 мм возвращают в кипящий слой или растворяют в исходных растворах [3].

Для получения кристаллического карбамида исходный раствор упаривают до 92 - 94%, а затем напаривают его в кристаллизаторы шнекового типа или вакуум-кристаллизаторы, в которых охлаждают до 40 - 45oC. Отделение кристаллов от маточного раствора ведут на центрифугах с одновременной подсушкой воздухом [3].

Незначительные добавки полифосфата натрия существенно увеличивают прочность гранул карбамида. Образующийся полифосфат карбамида затвердевает в виде пространственной сетки из переплетающихся волокон, выполняющей роль укрепляющей гранул арматуры [3].

3.Экология

На установках карбамида, как правило, источники выбросов в окружающую среду бывают постоянные и периодические. К числу постоянных относятся [8]:

загрязненная маслом вода с примесью CO2 (из узла компрессии CO2), с примесью NH3 или также CO2 и CO(NH2)2 (после охлаждения сальников аммиачных и других сальников;

конденсат сокового пара из узла вакуум - концентрирования растворов карбамида;

воздух системы гранулирования и охлаждения гранул карбамида;

инертные по отношению к процессу синтеза карбамида газы.

К числу источников периодических выбросов относятся [8]:

вода после промывки аппаратуры;

вода после смыва полов;

сброс предохранительных клапанов;

сбросы пускового и аварийного периодов.

.1Предельно допустимые концентрации аммиака, двуокиси углерода, карбамида и солей аммония в атмосфере и водоемах

Загрязнение водоемов и атмосферы создает реальную опасность здоровью населения и причиняет огромный ущерб рыбному хозяйству [7]. В данном разделе рассматриваются вопросы, связанные с воздействием на живые организмы веществ, которые могут сбрасываться в атмосферу и со сточными водами при производстве карбамида. Такими веществами являются: аммиак, карбонаты аммония, карбамид и двуокись углерода [7].

Известно, что аммиак и его соли оказывают токсическое действие на обитателей водоемов; причем соли аммония менее токсичны, чем свободный аммиак [7].

Предельно допустимые концентрации аммиака и солей аммония для рыбохозяйственных водоемов установлены соответственно 0,1 и 5 мг/л. Из солей аммония наиболее токсичен карбонат аммония, предельно допустимая концентрация его в водоемах 5 мг/л; для бикарбоната аммония допустимая концентрация 30 мг/л. [9].

Основным условием при нормировании сбросы сточных вод в водоемы питьевого и культурно - бытового назначения является обеспечение санитарно - технических требований к качеству воды в местах водопользования с учетом возможного смешения и разбавления их на пути до контрольного пункта.

Таблица 4. Предельно допустимые концентрации вредных веществ в водоемах (в мг/л) [7].

Вещество

Нетоксичная концентрация для наиболее чувствительного биологического объекта

Норма внесения для удобрения

Установленная норма





Аммиак

1,0

-

0,1

Карбонат аммония

-

-

Бикарбонат аммония

5,0

-

-

Карбамид

30,0

1,0 - 5,0

-


Таблица 5. Предельно допустимые концентрации вредных веществ в воздухе (в мг/м3) [7,10].

 Вещество

Рабочая зона производственных помещений

Атмосфера на территории промышленных предприятий

Угольные озокеритовые шахты

Жилые и гражданские здания

Атмосфера населенных мест






максимальноразовая

среднесуточная

Аммиак

20,0

6,0

-

-

0,2

0,04

Двуокись углерода

-

-

10000,0

2000,0

-

-

Пыль не токсическая (карбамид)

10,0

3,0

-

-

0,5

0,15


Двуокись углерода в относительно малых концентрациях возбуждает дыхательный центр, в очень больших - угнетает его. При содержании в воздухе 4 - 5 % двуокиси углерода появляются ощущения раздражения слизистых оболочек дыхательных путей, кашель, ощущение тепла в груди, раздражение глаз, потливость, головные боли, шум в ушах, повышение кровяного давления, сердцебиение, психическое возбуждение, головокружение, иногда рвота. При более высоких концентрациях двуокиси углерода наступает смерть от остановки дыхания ( при содержании 20 % - через несколько секунд). На практике в качестве критерия для оценки чистоты воздуха при проектировании вентиляции культурно - бытовых и гражданских зданий ранее рекомендовалось принимать предельное содержание двуокиси углерода не более 02 %. Однако последние исследования показывают, что ПДК двуокиси углерода для жилых и общественных зданий не должна превышать 0,1 % (табл. 4 и 5) [7,].