кількість мікрокоманд k/=7; число процесорних тактів p/=](6+23+1+1)/2[=16
Тривалість такту операції множення
буде Т/=Р/*τ=14τ
Рис.9
6.1.5 Операція умовного переходу JNZ
Операція JNZ
змінює
вміст ПЛ при значенні умови Z≠0.
ГМП показаний на рис.10. T=2τ.
Рис.10
6.1.6 Такт збереження ТО3
Команда ST
- адресна і призначена для захисту вмісту регістра R10
в ОП або РЗП. ГМП показаний на рис. 11. T=3τ.
Рис.11
6.2 Мікропрограми
тактів Твк, ТО1, ТО2
.2.1 Такт вибірки команди Твк
У такті вибірки команди код команди вибирається із ОП на регістр RGK.
Адресацію команд забезпечує ПЛ. ГМП
такту показаний на рис.12. Т=2τ.
Рис.12
6.2.2 Такти вибірки операндів То1, То2
В цих тактах операнди завантажуються відповідно в регістри R9 та R10.
Джерелом операндів можуть бути
регістр РЗП або комірка ОП, що визначається ознакою режиму адресації ПА1(ПА2).
ГМП тактів наведений на рис.13.
Т=](3+2)/2[=3τ
Рис.13
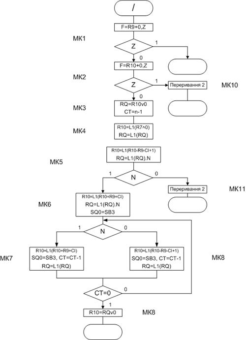
6.2.3 Мікропрограма IPL
Мікропрограма IPL забезпечує завантаження початкової адреси програми в ПЛ з кнопкового регістра Rкн. ГМП зображений на рис.14.
6.3 Такт
декодування коду операції Тд
У такті Тд виконується ідентифікація операції, яка представлена в полі
КОП регістра RGK.
Декодер поля КОП реалізується як ПЗП (ROM)
(рис.15) і перетворює код операції в початкову адресу МП операції.
Код у полі КОП є адресою комірки ПЗП, в якій записна початкова адреса
МП відповідної операції. У табл.3
наведені ці відповідності. З неї можна визначити такі параметри ПЗП як ємність q
та розрядність r
комірок .
ПЗП(q:r)=5x3
Для реалізації декодера вибираємо
ІМС КР556РТ4, що має організацію РТ4[q
x r]=256x4.
Таблиця 3
|
Адреса (КОП) |
Початкова адреса МП |
Операція |
|
000 |
1 |
NOP |
|
001 |
2 |
“+” |
|
010 |
3 |
“*” |
|
011 |
4 |
“/” |
|
101 |
5 |
“JNZ” |
.4
Розподіл адресного простору пам’яті
мікрокоманд
Керуючий пристрій мікрокомп’ютера
реалізує принцип програмованої логіки. Мікропрограми тактів операцій в
закодованій формі зберігаються в пам’яті
мікрокоманд. Розподіл адресного простору ПМК виконується з урахуванням
кількості мікрокоманд в ГМП тактів, способі реалізації декодування поля КОП, а
також організації ВІС ВУ4. Орієнтований розподіл мікрокоманд показаний у
табл.4.
Таблиця 4
|
Адреси |
АП ПМК |
Примітка |
|
0 |
CJP16 |
IPL |
|
1 |
CJP16 |
|
|
2 |
CJP49 |
“+” |
|
3 |
CJP54 |
“*” |
|
4 |
CJP59 |
“/” |
|
5 |
CJP64 |
JNZ |
|
6-10 |
To1 |
|
|
11-15 |
To2 |
|
|
16-18 |
Твк |
|
|
19-24 |
То3 |
|
|
25-26 |
Т+ |
|
|
27-34 |
Т* |
|
|
35-46 |
Т/ |
|
|
47-48 |
Tjnz |
|
|
49 |
CJS6 |
Цикл “+” |
|
50 |
CJS11 |
|
|
51 |
CJS25 |
|
|
52 |
CJS19 |
|
|
53 |
CJP16 |
|
|
54 |
CJS6 |
Цикл “*” |
|
55 |
CJS11 |
|
|
56 |
CJS27 |
|
|
57 |
CJP19 |
|
|
58 |
CJP16 |
|
|
59 |
CJS6 |
Цикл “/” |
|
60 |
CJS11 |
|
|
61 |
CJS35 |
|
|
62 |
CJP19 |
|
|
63 |
CJP16 |
|
|
64 |
CJS47 |
Цикл JNZ |
|
65 |
CJP16 |
|
Для керування функціонуванням ВІС ВУ4 використовуються мікрокоди,
символічні позначення яких наведені у табл.4. Наприклад, запис CJP19 - це безумовний перехід до мікропідпрограми операції збереження ST за адресою 19. До загальної кількості мікрокоманд мікропідпрограм додається ще одна - МК виходу з мікропідпрограми.
З табл.4 випливає, що ємність
пам’яті МК = 66 комірок. Отже, розрядність адреси ПМК: nАПМК=]log266[=7
7. Структурна схема мікрокомп’ютера
Структурна схема мікрокомп’ютера
показана на рис.16. До його
складу входять: процесор, пам’ять,
пристрої вводу/виводу, генератор
тактових імпульсів.
Рис.16.
7.1
Процесор
Склад процесора: БМК, БОД,
блок регістрів.
7.1.1 Блок мікропрограмного керування
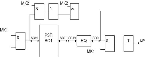
Регістр команд RGK призначений для прийому, зберігання та видачі коду команди. Для реалізації RGK використовуємо ІМС КМ1804ИР2.
Умовно-графічне позначення
регістра і поле мікрокоманди керування ним показано на рис.17.
Рис.17
Кількість ІМС ИР2, які необхідні для реалізації регістра RGK, дорівнює:
n/nИР2=24/8=3
Перетворювач початкової
адреси ППА виконує функцію декодера КОП. Реалізується на ВІС КР556РТ4А
(рис.18).
Рис.18
Мультиплексор логічних умов MX ЛУ призначений для комутації логічних умов (ЛУ) ПА1, ПА2, ПА3, N, Z, NZ, Т на вхід “СС” ВІС ВУ4. Для вибору ЛУ використовується поле MS в полі мікрокоманди БМК. Розрядність поля визначається за формулою:
MS=]log2(L+1)[
де L - кількість логічних умов. У нашому випадку L=7.
MS=]log2(7+1)[=3
Кодування логічних умов в
полі MS
наведено у табл.5.
Таблиця 5
|
К(MS) |
ЛУ |
|
000 |
“1” |
|
001 |
N |
|
010 |
Z |
|
011 |
NZ |
|
100 |
ПА1 |
|
101 |
ПА2 |
|
110 |
ПА3 |
|
111 |
Т |
Мультиплексор MX
реалізується на ІМС КР1533КП5
.
Рис.19
Схема керування послідовністю
МК призначена для генерації адрес МК і реалізується на ВІС КМ1804ВУ4.
Рис. 20.
УГП СКПМК1804ВУ4
Мікрокоманда керування ВІС ВУ4 має таку структуру:
|
16 |
ВУ4 |
0 |
|||||||||||||||
|
3 |
I |
0 |
6 |
A |
0 |
2 |
MS |
0 |
CI |
CC |
COM |
||||||
|
16 |
|
13 |
12 |
|
6 |
5 |
|
3 |
|
2 |
|
|
1 |
|
|
0 |
|
Пам’ять
мікрокоманд ПМК називається керуючою і призначена для зберігання мікропрограм
операцій. Орієнтована ємність ПМК 66 комірок. Розрядність комірок ПМК
відповідає розрядності МК. Реалізується як ПЗП (ROM)
на ВІС КР556РТ17, що має організацію 0,5Кх8. (Примітка: як буде визначено
пізніше, розрядність мікрокоманди становить nМК=56,
отже для реалізації запам’ятовуючого масиву ПМК потрібно буде взяти 56/8=7
мікросхем РТ17).
Рис. 21.
УГП ПЗП на ВІС
КР556РТ17
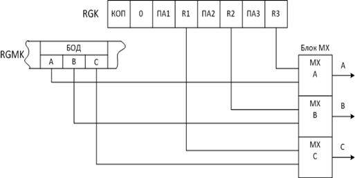
Блок мультиплексорів MX призначений для комутації адрес звернень до регістрів загального призначення (РЗП), що представлені в полях R1, R2, R3 коду команди або адрес звернень до регістрів мікрокоманд, що відображені в полях A, B, C регістра RGMK (поле БОД). Структура блока MX представлена на рис.22.
Блок MX реалізується на ІМС КР1533КП11.
Поле БМК коду мікрокоманди має таку
структуру:
|
20 |
БМК |
0 |
||||||||||||||||
|
RGMK |
16 |
ВУ4 |
0 |
MX |
MX |
МХ |
||||||||||||
|
EN |
WR |
3 |
I |
0 |
6 |
A |
0 |
2 |
MS |
0 |
CI |
CC |
COM |
A |
B |
С |
||
Рис.22
Функціональна схема блока MX
показана на рис.23.
Рис.23
7.1.2 Блок регістрів
Блок регістрів забезпечує короткочасне зберігання даних та адрес звернення до пам’яті. До складу блоку входять наступні регістри.
Кнопковий регістр Rкн
призначений для завантаження та зберігання початкової адреси коду програми
ПА=010h.
Регістр Rкн
реалізується на ІМС КМ1804ИР2. Кількість ІМС ИР2 визначається розрядністю
фізичної адреси:
КRкн=nA/nИР2=16/8=2
Структура Rкн показана на рис.24.
Включенням регістра керує поле МК Rкн.
Рис.24
Регістри даних RDI/RDO служать для прийому/видачі з пам’яті/в пам’ять відповідно. Реалізуються на ІМС КМ1804ИР2. Кількість ІМС становить 24/8=3. Керування функціями RDI/RDO виконують відповідні поля МК.
Регістр адреси RA
призначений для прийому з БОД адреси, її зберігання та подачі на шину адресу.
Розрядність RA=nA=16.
Кількість ІМС: 16/8=2. Регістром керує відповідне поле МК.
Рис.25
Поле МК “RG” має таку структуру:
|
6 |
RG |
0 |
||||||||||
|
Rкн |
5 |
RDI |
4 |
3 |
RDO |
2 |
1 |
RA |
0 |
|||
|
EN |
WR |
EN |
WR |
EN |
WR |
EN |
||||||
7.1.3 Блок обробки даних БОД
Блок призначений для обробки даних та адресної інформації. Реалізується на ВІС ВС1 та ВР1. Кількість ВІС ВС1 визначається як max{n, nA}. Так як n=24 і nA=16, то число ВІС ВС1
КВС1=n/nВС1=]24/4[=6
Для прискорення розповсюдження переносу між ВІС ВС1 використовується ВІС ВР1.
Для зберігання ознак N, NZ , Z, T служить регістр стану RGC. Релізується на ІМС ИР2.
Для виконання операцій “*”
та ”/”
необхідна відповідна комутація виводів ВІС ВС1, яка показана на рис.26.
Рис.26
Мікрокоманда керування блоком обробки даних має структуру:
|
24 БОД 0 |
|||||||
|
24 \ ВС1 2 |
МК1 1 |
МК2 0 |
|||||
|
8 І 0 |
3 A 0 |
3 B 0 |
3 C 0 |
СІ |
EN |
|
|
7.2 Пам’ять
.2.1 Оперативна пам’ять
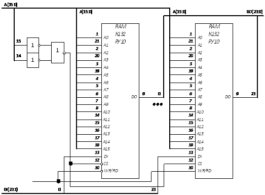
Оперативна пам’ять має організацію (48Кх24).Реалізується на динамічних ІМС К132РУ10А з організацією (64Кх1).
Визначимо організацію ЗМ. Він має площинну організацію t x s,
де t
- кількість рядків, s
- кількість стовпчиків.
t
x s
= 48Кх24 / 64Кх1 = 1 х 24, t
= 1, s
= 24.
Функціональна схема RAM
мікрокомп’ютера
показана на рис.27.
Рис.27
.2.2 Постійна пам’ять
Постійна пам’ять має
організацію (16Кх24).
Реалізується на ВІС КМ555РР4, що мають організацію (8Кх8). Визначимо
організацію ЗМ. Він має площинну організацію t x s, де
t -
кількість рядків, s - кількість стовпчиків.
t x s = 16Кх24
/ 8Кх8 = 2 х 3, t = 2, s = 3.
Функціональна схема ROM
зображена на рис.28.
Рис.28
7.2.3 Дешифратор ПВВ
Дешифратор DC ПВВ
реалізується на ІМС КР1533ИД3.
7.2.4 Дешифратор DC АП
Функціональна схема
дешифратора DC АП
показана на рис.2. Для його реалізації в КП використовуються логічні елементи
серії КР1533.