Материал: Проектирование узловой участковой станции (2)

Внимание! Если размещение файла нарушает Ваши авторские права, то обязательно сообщите нам

ПРИЛОЖЕНИЕ Ж

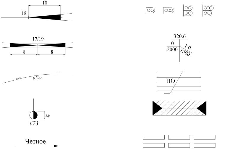
ОСНОВНЫЕ УСЛОВНЫЕ ОБОЗНАЧЕНИЯ НА СХЕМАТИЧНЫХ ПЛАНАХ СТАНЦИЙ

Названия условных

Изображение на плане

Названия условных

Изображение на плане

знаков

(М 1:2000)

знаков

(М 1:2000)

 

 

 

 

Главные пути

 

Глухие

 

 

 

пересечения

 

 

 

 

 

Станционные пути

 

Путевые упоры

 

 

 

 

 

Стрелочные

 

Сортировочные

 

переводы

 

горки

 

централизованные

 

 

 

 

 

 

 

Стрелочные

 

Светофор

 

переводы

 

мачтовый

 

нецентрализованные

 

 

 

 

 

 

 

Сбрасывающие

 

Светофор

 

стрелки, остряки

 

консольный

 

 

 

 

 

161

Названия условных

Изображение на плане

Названия условных

Изображение на плане

знаков

(М 1:2000)

знаков

(М 1:2000)

 

 

 

 

Симметричные

 

Светофоры

 

стрелочные

 

карликовые

 

переводы

 

(одиночные и

 

 

 

сдвоенные)

 

 

 

 

 

Перекрестные

 

Уклоноуказатели

 

съезды

 

 

 

 

 

 

 

Круговая кривая

 

Группировка

 

 

 

основных путей

 

 

 

парка

 

 

 

 

 

Указатели

 

Крытые грузовые

 

километров

 

склады каменные и

 

 

 

железобетонные

 

 

 

 

 

Указатель

 

Склад угля

 

направления

 

 

 

 

 

 

 

162

Названия условных

Изображение на плане

Названия условных

Изображение на плане

 

знаков

 

(М 1:2000)

знаков

(М 1:2000)

 

 

 

 

 

 

 

Пешеходный

 

 

Повышенный

 

 

мост

 

 

путь для выгрузки

 

 

 

 

 

угля

 

 

 

 

 

 

 

 

Тоннели

под

 

Вагонные весы

 

 

путями

 

 

 

 

 

соединяющие

 

 

 

 

 

платформы

 

 

 

 

 

 

 

 

 

 

 

Каменное

 

 

Навалочные

 

 

пассажирское

 

 

площадки

 

 

здание с

 

 

 

 

 

платформой (без

 

 

 

 

штриховки –

 

 

 

 

 

деревянное)

 

 

 

 

 

 

 

 

 

 

 

Платформы

 

 

Контейнерные

 

 

железобетонные и

 

площадки

 

 

асфальтовые

 

 

 

 

 

 

 

 

 

 

 

 

 

 

 

163

Изолирующий

Забор

стык

164

ПРИЛОЖЕНИЕ И

МЕТОДИЧЕСКИЕ УКАЗАНИЯ ПО ИСПОЛЬЗОВАНИЮ

СИСТЕМЫ АВТОМАТИЗИРОВАННОГО ПРОЕКТИРОВАНИЯ

AUTOCAD

Для проектирования масштабного плана участковой станции в среде AutoCad

рекомендуется выполнить предварительную настройку программы32.

Настройка панелей инструментов.

Рекомендуется отображать следующие панели инструментов: «Стандартная»; «Рисование»;

«Редактирование»;

«ПСК»;

«Размеры».

На панели инструментов рекомендуется вынести пиктограммы (значки) часто используемых команд33:

панель «Рисование»34: «Отрезок», «Прямоугольник», «Круг», «Точка», «Штриховка», «Многострочный текст»;

панель «Редактирование»35: «Копирование», «Зеркало», «Перенести», «Повернуть», «Обрезать», «Удлинить», «Разорвать в точке», «Разорвать», «Сопряжение», «Разъединить»;

панель «ПСК»36: «МСК», «Объект»;

панель «Размеры»: «Линейный», «Угловой»37.

Другие полезные команды:

«Копировать с базовой точкой» (для выделенного объекта доступна из контекстного меню после щелчка правой кнопкой мыши35).

32Нижеследующий материал излагается на примере AutoCad 2006, русифицированная версия. В других версиях AutoCad команды и нестройки могут отличаться от приводимых.

33Многие из описанных ниже операций могут быть выполнены и другими способами, отличающимися от приводимых в примерах. Доступ к полным спискам команд можно выполнить через основное меню AutoCad.

34Команды доступны также из основного меню AutoCad, «Рисование».

35Команды доступны также из основного меню AutoCad, «Редакт».

36Команды доступны также из основного меню AutoCad, «Сервис» → «Новая ПСК».

37Команды доступны также из основного меню AutoCad, «Размеры».

35 Команда доступна также из основного меню AutoCad, «Правка».

165