Материал: Проектирование фундамента под 9-этажное 36-квартирное здание в городе Белгороде

Внимание! Если размещение файла нарушает Ваши авторские права, то обязательно сообщите нам

S=0,01645м=1,645см

7. Определение несущей способности одиночной сваи

Ø  высота (длина)-6м;

Ø  размеры 300х300 мм.

Определяем её несущую способность:


γс-коэффициент условий работы материала сваи, γс=1;

γсr-коэффициент условий работы грунта на боковой поверхности, γсr=1;

R-расчётное сопротивление грунта основания, R=7150кПа;

A-площадь поперечного сечения сваи, A=0,09м2;

U-периметр сваи, U=1,2м;

γcf-коэффициент условий работы грунта под нижним концом сваи, γcf=1,0;

fi-расчётное сопротивление i-го слоя грунта, соприкасающегося с боковой поверхностью,

hi-толщина i-го слоя грунта,

h1=1,56 м, z1=2,7; f1= 46,2кПа

h2=1,0м, z2=3,7; f2= 26,4кПа

h3=1,84 м, z3=5,54; f3= 30,08кПа

h4=1,35м, z4=6,89; f4= 59,78кПа

где γк-коэффициент надёжности, γк=1,4.

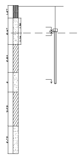
Рис. 5 Схема к определению несущей способности одиночно стоящей сваи

8. Проектирование и конструирование свайного фундамента

Определяем число свай, необходимое для фундамента и расстояние между ними:


Принимаем а=1,8м

Ширину ростверка принимаем bp=0,7м

9. Расчет осадок свайного фундамента

Определим размеры условного фундамента АБВГ. Определим усредненное значение угла внутреннего трения :


Определим величину с:


byсл- эквивалентная ширина фундамента;

φср- осреднённое значение угла внутреннего трения.

Определим фактическое давление под подошвой условного фундамента:




γс1, γс2-коэффициенты условий работы грунта, γс1=1,4; γс2=1,4;

Mγ, Mq, Mc- коэффициенты, зависящие от прочностных характеристик грунта,

Mγ=2,11, Mq=9,44, Mс=10,8;

Kz-коэффициент, зависящий от размеров фундамента, Kz=1,1;

b-ширина фундамента;

γII-осреднённый удельный вес грунта, залегающего ниже подошвы фундамента, γII= кН/м3;

γIII- осреднённый удельный вес грунта, залегающего выше подошвы фундамента, γIII=17,73кН/м3;

d-приведённая глубина заложения фундамента; db=2,3

cII-удельное сцепление грунта основания, cII=1Па.

 

Условие выполнено, проводим расчет осадок методом послойного суммирования

Определим

Расчёт сводим в табл.3.

Таблица

№ точки

z, м

α№ слоя кПаH, мЕi. кПа








1

0,00

0,00

1,00







2

0,40

0,53

0,934

1

205,71

0,40

0,74

30000

0,00202967

3

1,17

0,810

2

185,50

0,51

0,74

30000

0,00233359

4

1,51

1,94

0,448

3

133,81

0,60

0,62

8000

0,00622193

5

2,11

2,71

0,289

4

78,39

0,60

0,62

8000

0,00364514

6

2,71

3,47

0,197

5

51,70

0,60

0,62

8000

0,00240382

7

2,84

3,64

0,183

6

40,38

0,13

0,62

8000

0,00040678

7

3,31

4,24

0,141







8

3,91

5,01

0,105







9

4,34

5,56

0,087












Суммарная осадка:

0,01704093


S=0,01704=1,704см

Расчетная схема

10. Сравнение вариантов фундаментов

Вычисляем технические показатели для каждого из фундаментов.

Таблица 4 Технические показатели на 1 фундамент, 1м2

Показатель

Для фундаментов

свайных, Ф2

Общий объём бетона, м³

2,28

2,73

Масса арматуры, кг

68,4

95,55


Исходя из технических показателей для проектирования выбираем фундамент мелкого заложения (Ф1).

Заключение

В ходе курсовой работы было выполнено проектирование двух видов фундаментов: свайного и мелкого заложения. Проектирование производилось на основе анализа надфундаментной конструкции и инженерно-геологических слоев площадки строительства. Для каждого из фундаментов был выбран несущий слой

мелкого заложения - песок - средней крупности,

свайного - песок - крупный.

Было выполнено конструирование фундаментов, произведен расчет осадок. Произведено сравнение фундаментов по техническим показателям, в результате чего был выбран фундамент мелкого заложения.

Из-за высокого уровня грунтовых вод, следует предусмотреть мероприятия по гидроизоляции фундамента, возможно устройство дренажа.

Библиографический список

1.      Механика грунтов. Основания и фундаменты/Ухов С.Б., Семёнов В.В., Знаменский В.В. и др.-М.:АСВ,2014.-524с.

.        Далматов Б.И. Механика грунтов, основания и фундаменты.-Л.:Стройиздат,2010.-415с.

.        СНиП 2.02.01.-83. Основания зданий и сооружений/Госстрой.-М.:Стройиздат.-40с.

.        СНиП 2.02.03.-85. Свайные фундаменты/Госстрой.-М.:Стройиздат.-48с.