Материал: Проектирование цифровых устройств

Внимание! Если размещение файла нарушает Ваши авторские права, то обязательно сообщите нам

Проектирование цифровых устройств














ОТЧЕТ ПО ПРАКТИКЕ

Проектирование цифровых устройств

1. Система автоматики печи. Структура АСУ печи

Печь предназначена для плавления алюминия из алюминиевого лома.

Автоматизированная система управления технологическим процессом печи ООО «Втормет-Регион» включает в себя технические и программные средства управления.

АСУ ТП предназначена для управления тепловым режимом печи, а также для обеспечения эффективного функционирования печи, информационного обеспечения оперативно-технологического персонала и подготовки данных о технико-экономических показателях работы.

Существующая система состоит из трех уровней:

нижний уровень - уровень датчиков, исполнительных и отсечных органов, пультов управления;

средний уровень - уровень программируемого логического контроллера (ПЛК);

верхний уровень - панель оператора (HMI) совмещенная с ПЛК и инженерная станция на базе ноутбука.

Автоматизированное управление печи реализуется на базе контроллера Unitonics V1040-T20B.

Контроллер связан по сети Ethernet с инженерной рабочей станцией, которая служит для настройки и пуско-наладочных работ. Инженерная рабочая станция имеет выход в интернет для оперативного удаленного контроля за состоянием печи.

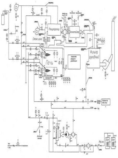
Структурная схема АСУ печи показана на рисунке 1.0

Рисунок 1.0 Структурная схема АСУ печи

Оборудование нижнего уровня - преобразователи температуры (термометры сопротивления, термопары), преобразователи давления и перепада давления, исполнительные механизмы и отсечные клапана, пульты управления горелками и электрооборудованием.

Сигналы с измерительных средств нижнего уровня поступают на средний уровень, который выполнен на базе контроллера Unitonics V1040-T20B, обеспечивающий сбор и автоматическую обработку информации о процессе, выработку управляющих воздействий, которые поступают на исполнительные механизмы нижнего уровня, и реализацию схем безопасности.

Для отображения информации о ходе технологического процесса и для управления им на верхнем уровне имеется панель оператора HMI с установленной на ней SCADA - системой. Так же к верхнему уровню относиться инженерная рабочая станция на базе ноутбука (ПК). Инженерная рабочая станция служит для выполнения настройки в процессе режимо-наладочных работ. Панель оператора имеет связь по сети Ethernet с инженерной рабочей станцией.

АСУ печи позволяет работать в двух режимах - дистанционном и автоматическом.

2. Функции, выполняемые системой АСУ печи

Контуры регулирования и управления выполнены согласно функциональным схемам автоматизации (см. АНХ-М143-СХ).

Функции системы реализуются тремя основными подсистемами.

1. Подсистема автоматики безопасности

Данная подсистема реализована на двух независимых схемах: релейной и микропроцессорной.

Система функционирует следующим образом. Каждый датчик-реле (Падение давления сжатого воздуха перед горелками, падение давления дутьевого воздуха перед горелками) обеспечивает питание катушек промежуточных реле в шкафу управления. Через одну группу нормально - разомкнутых контактов таких реле осуществляется подача сигнала на соответствующий дискретный вход контроллера. Также имеется дискретный выход с контроллера, питающий катушку промежуточного реле управления отсечкой масла (реле контроллера) по сигналу контроллера.

Вторая группа нормально-разомкнутых контактов промежуточных реле датчиков безопасности (датчики-реле) и контакт реле контроллера собраны в последовательную электрическую цепь питания катушки контактора по «самоподхвату» через кнопку «Пуск масла». Через контакты контактора подаётся напряжение на отсечной клапан печи.

При срабатывании одного из датчиков - реле безопасности, обрыве сигнальных цепей или отключении электричества происходит обесточивание катушки соответствующего промежуточного реле и его нормально - разомкнутые контакты размыкаются, разрывая всю цепочку подачи напряжения на катушку контактора подачи масла на печь.

В то же время на дискретный вход контроллера перестаёт подаваться сигнал с соответствующего датчика-реле. По логической программе контроллера распознается аварийная ситуация и дискретный выход обнуляется, обесточивая реле контроллера. Контакты реле размыкаются, разрывая всю цепочку подачи напряжения на катушку контактора подачи масла на печь.

В результате прекращается подача напряжения на отсечной клапан печи. Таким образом, происходит отсечка масла на печь.

При восстановлении системы из аварийного состояния после отсечки, клапан остаётся в закрытом состоянии до тех пор, пока не будет нажата кнопка «Пуск масла». Также в системе предусмотрена кнопка аварийной «Отсечки масла».

Кнопки «Пуск масла» и «Отсечка масла» дублируются программно-аппаратными средствами на панели оператора.

Автоматика безопасности обеспечивает отключение подачи масла на горелки по команде оператора с панели оператора или при отключении электроэнергии, а также производит автоматическое включение световой, звуковой и графической (на панели оператора) сигнализации при следующих условиях:

давление сжатого воздуха перед горелками ниже 2 бар;

давление дутьевого воздуха перед горелками ниже 250 Па.

Также в системе предусмотрен контроль пламени горелок, отображаемый на панели оператора.

Питание контактора осуществляется через нормально-разомкнутый контакт реле контроллера, а значит, при выключении контроллера или выходе его из строя данное реле обесточит контактор и тем самым заблокирует подачу масла на печь. Подача масла возможна только при работающем контроллере.

В программе контроллера реализованы параметры безопасности, представленные в таблице 1.

Таблица 1

п/п

Наименование параметра

Предельно допустимое значение параметра

Время срабатывания защиты

Защитное действие

1

Превышение температуры в печи (тп1)

>1050°С

15 с

Сигнализация

2

Превышение температуры в печи (тп1)

>1100°с

30 с

Отсечка масла

3

Превышение температуры перед рекуператором (тп2)

> 900°С

15 с

Сигнализация

4

Превышение температуры перед рекуператором (тп2)

> 925°С

30 с

Отсечка масла

5

Превышение температуры перед рекуператором (тп2)

>950°С

Мгновенно

Остановка дымососа Д1, отсечка масла

6

Превышение температуры перед фильтром (тп5)

>200°С

15 с

Сигнализация

7

Превышение температуры перед фильтром (тп5)

> 210°С

30 с

Отсечка масла

8

Превышение температуры перед фильтром (тп5)

> 220°С

Мгновенно

Остановка дымососа Д1, отсечка масла

9

Превышение температуры масла (тс1)

> 80°С

15 с

Сигнализация

10

Превышение температуры масла (тс1)

> 85°С

30 с

Сигнализация

11

Превышение давления в печи (дд1)

>20 Па

15 с

Сигнализация

12

Превышение давления в печи (дд1)

> 40 Па

30 с

Отсечка масла

13

Падение разрежения перед фильтром (дд2)

< 0,45 кПа

15 с

Сигнализация

14

Падение разрежения перед фильтром (дд2)

< 0,40 кПа

30 с

Отсечка масла

15

Температура подогретого воздуха (тп4)

> 425°С

15 с

Сигнализация

16

Температура подогретого воздуха (тп4)

>450°С

30 с

Отсечка масла

17

Падение давления масла после насоса подачи масла (ддЗ)

< 0,50 бар

15 с

Сигнализация

18

Падение давления масла после насоса подачи масла (ддЗ)

< 0,30 бар

15 с

Остановка насоса Н1, отсечка масла

19

Превышение давления масла после насоса подачи масла (ддЗ)

> 10,00 бар

15 с

Сигнализация

20

Превышение давления масла после насоса подачи масла (ддЗ)

> 13,00 бар

15с

Остановка насоса Н1, отсечка масла

21

Превышение температуры теплоносителя после экономайзера (тпб)

> 77,0°С

15с

Сигнализация

22

Превышение температуры теплоносителя после экономайзера (тпб)

> 85,0°С

3 с

Отсечка масла

23

Превышение температуры теплоносителя после экономайзера (тр1)

> 90,0°С

Мгновенно

Отсечка масла

24

Питание ЧП насоса подачи масла Н1

Отсутствие питания

Мгновенно

Сигнализация

25

Работа насоса подачи масла Н1

Отсутствие работы

Мгновенно

Отсечка масла

26

Авария ЧП насоса подачи масла Н1

Сигнал аварии

Мгновенно

Сигнализация

27

Питание ЧП дутьевого вентилятора В1

Отсутствие питания

Мгновенно

Сигнализация

28

Работа дутьевого вентилятора В1

Отсутствие работы

Мгновенно

Отсечка масла

29

Авария ЧП дутьевого вентилятора В1

Сигнал аварии

Мгновенно

Сигнализация

30

Питание ЧП дымососа Д1

Отсутствие питания

Мгновенно

Сигнализация

32

Авария ЧП дымососа Д1

Сигнал аварии

Мгновенно

Сигнализация

33

Падение давления сжатого воздуха перед горелками (пв2)

< 2,00 бар

Мгновенно

Отсечка масла

34

Падение давления дутьевого воздуха перед горелками (пв)

<250 Па

Мгновенно

Отсечка масла

35

Падение давления сжатого воздуха перед фильтром (пв1)

< 2,00 бар

Мгновенно

Сигнализация

36

Падение разряжение перед фильтром (пд)

< 2 мбар

15 с

Отсечка масла

37

Авария фильтра

Сигнал аварии

Мгновенно

Сигнализация

38

Авария пилотной горелки 1

Сигнал аварии

Мгновенно

Сигнализация

39

Авария пилотной горелки 2

Сигнал аварии

Мгновенно

Сигнализация

40

Работа вентилятора разбавления В2

Отсутствие работы

Мгновенно

Сигнализация

41

Авария командоаппарата заслонки 1

Сигнал аварии

Мгновенно

Остановка заслонки 1

42

Отсутствие питания заслонки 1

Отсутствие питания

Мгновенно

Остановка заслонки 1

43

Авария командоаппарата заслонки 2

Сигнал аварии

Мгновенно

Остановка заслонки 2

44

Отсутствие питания заслонки 2

Отсутствие питания

Мгновенно

Остановка заслонки 2

45

Отсутствие питания 24 VDC внешних цепей

Отсутствие питания

Мгновенно

Сигнализация


2. Подсистема теплового режима печи

Подсистема обеспечивает контроль и регулирование технологических параметров. Подсистема выполняет следующие функции:

контроль и регулирование температуры в печи;

регулирование соотношения «масло / воздух»;

контроль и регулирование давления в печи;

контроль и регулирование температуры дыма перед рекуператором;

контроль температуры дыма перед экономайзером;

контроль и регулирование температуры теплоносителя после экономайзера;

контроль и регулирование температуры дыма перед фильтром;

контроль температуры горячего воздуха, идущего на горение;

контроль и регулирование разрежения перед фильтром;

контроль и регулирование температуры масла на горение;

контроль и регулирование давления масла;

контроль положения заслонок;

контроль расхода масла.

2.1.   Контроль и регулирование температуры в печи

Контроль и регулирование температуры осуществляется по показанию термопары (тп1), установленной в рабочем пространстве печи. Сигналы от термопар поступают на контроллер. При отклонении температуры от заданного значения контроллер выдает сигнал на изменение мощности горелок.

В АСУ предусмотрено 2 механизма изменения мощности горелок. Первый механизм заключается в одновременном изменении положений заслонки подачи масла на горелки (ркЗ) и сброса масла на циркуляцию (рк4) при неизменном давлении масла после насоса. При этом заслонки ркЗ и рк4 движутся в противоположных направлениях. Второй механизм - ркЗ переводится в положение почти открыто, рк4 переводится в положение почти закрыто, и изменения мощности производиться за счет изменения задания в контуре управления давлением масла. Выбор механизма производится через настройки.

2.2.   Регулирование соотношения «масло-воздух»

С целью обеспечения поддержания необходимого соотношения «масло-воздух» при различных режимах работы горелок производится изменение частоты вращения дутьевого вентилятора (В1) в зависимости от давления масла перед горелками (дд4).

2.3.   Контроль и регулирование давления в печах

Регулирование давления в рабочем пространстве печи осуществляется по сигналу датчика давления - разрежения (дд1).

Давление регулируется изменением положения заслонки на дымоходе после рекуператора (рк1).

2.4.   Контроль и регулирование температуры дыма перед рекуператором

Регулирование температуры дыма перед рекуператором осуществляется по сигналу термопары (тп2), установленной в дымовом тракте перед рекуператором.

Сигнал от термопары поступают на контроллер. При отклонении температуры от заданного значения контроллер выдает сигнал на изменение положения заслонки (рк2) на разбавлении дымовых газов воздухом, подаваемым вентилятором разбавления (В2).

2.5. Контроль температуры дыма перед экономайзером

Контроль температуры дыма перед экономайзером осуществляется по сигналу термопары (тпЗ), установленной в дымовом тракте на пересечении потоков дымовых газов от новой и старых печей.

2.6. Контроль температуры и регулирование температуры теплоносителя после экономайзера

Контроль температуры теплоносителя после экономайзера осуществляется по сигналу термопары (тпб), установленной на выходе из экономайзера.

Сигнал от термопары поступают на контроллер. При отклонении температуры от заданного значения контроллер выдает сигнал на изменение положения заслонок подачи дыма на экономайзер (ркб) и подачи дыма через байпас (рк7). При этом заслонки ркб, рк7 движутся в противоположных направлениях.

При температуре дыма перед экономайзером (тпб) ниже 220°С заслонки ркб, рк7 работают в диапазоне 0-100%, а при температуре выше 220°С ркб работает в диапазоне 0 - 40%, рк7 всегда остается в положении 100%.

2.7. Контроль и регулирование температуры перед фильтром

Регулирование температуры перед фильтром осуществляется по сигналу термопары (тп5), измеряющей температуру перед фильтром.

Сигнал от термопары поступают на контроллер. При отклонении температуры от заданного значения контроллер выдает сигнал на изменение положения заслонки разбавления дыма перед фильтром (рк5).

2.8. Контроль температуры горячего воздуха

Температура горячего воздуха контролируется на воздуховоде после рекуператора.

3. Локальная подсистема общего контроля, учета и визуализации

Подсистема выполняет функции учета, диагностики, анализа и представления всей информации об управлении:

- общий контроль и учет параметров энергоносителей;

визуализацию на экране панели оператора текущих данных о технологических параметрах печи;

протоколирование, выдачу сообщений и внешней сигнализации о нарушениях технологического регламента;

архивирование и отображение архивной информации о работе печи;

- диагностику работоспособности системы.

автоматика печь цифровой

3. Основные контролируемые и регулируемые параметры АСУ ТП

Основные контролируемые и регулируемые параметры АСУ ТП печи представлены в таблице 2.

Таблица №2

п/п

Наименование параметра

Контроль

Регулирование

Примечание

1

Температуры в рабочем пространстве печи

+

+

Автоматика безопасности

2

Температура дыма перед рекуператором

+

+

Автоматика безопасности

3

Температура дыма перед экономайзером

+

-


4

Температура дыма перед фильтром

+

+

Автоматика безопасности

5

Температура горячего воздуха на выходе из рекуператора

+

-

Автоматика безопасности

6

Температура масла

+

+


7

Температура теплоносителя после экономайзера

+

+

Автоматика безопасности

8

+

+

Автоматика безопасности

9

Разрежение дыма перед фильтром

+

+

Автоматика безопасности

10

Давление масла после насоса

+

+

Автоматика безопасности

11

Давление масла перед горелками

+

+


12

Расход масла на печь

+

-


13

Расход электроэнергии

+

-


14

Положения заслонок

+

-


15

Падение давление сжатого воздуха перед фильтром

+

-


16

Падение давления сжатого воздуха перед горелками

+

-

Автоматика безопасности

17

Падение давление дутьевого воздуха

+

-

Автоматика безопасности

18

Превышение температуры теплоносителя после экономайзера

+

-

Автоматика безопасности

19

Падение разрежения перед фильтром

+

-

Автоматика безопасности

20

Контроль пламени горелок

+

-



4. Диапазоны рабочих параметров АСУ ТП печи

Диапазоны рабочих параметров АСУ ТП печи представлены в таблице №3.

Таблица №3

№ п/п

Наименование параметра

Рабочий диапазон параметра

Рекомендуемое задание

1

Температуры в рабочем пространстве печи

600-1050°С

600 - 1000°с

2

Температура дыма перед рекуператором

200 - 800°С

700°С

3

Температура дыма перед экономайзером

100-400°С

-

4

Температура дыма перед фильтром

50 - 190°С

170°С

5

Температура горячего воздуха на выходе из рекуператора

100-400°С

-

6

Температура масла

45 - 75°С

55-65°С

7

Температура теплоносителя после экономайзера

50 - 80°С

70°С

8

Давления в рабочем пространстве печи

-50-+50 Па

-10 - +10 Па

9

Разрежение дыма перед фильтром

0,6 - 1,5 кПа

0,8 - 1,2 кПа

10

Давление масла после насоса

0,5 - 3 бар

1,0-2,2 бар

11

Давление масла перед горелками

0,5 - 3 бар

-

12

Расход масла на печь

20 - 180 л/ч (при работе двух горелок) 10-90 л/ч (при работе одной горелки)

-

13

Расход электроэнергии

10-90 кВА

-

14

Давление сжатого воздуха (по манометру)

2-6 бар

-

15

Давление дутьевого воздуха (по манометру)

0,5 - 6 кПа

-

16

Разрежение перед дымососом (по манометру)

1,0-2,5 кПа

-

17

Частота дутьевого вентилятора В1



18

Частота дымососа Д1



19

Частота насоса подачи масла Н1



20

Привод управления шибером печи (рк1)



21

Привод заслонки разбавления перед рекуператором (рк2)



22

Привод подачи масла на печь (ркЗ)



23

Привод сброса масла на циркуляцию (рк4)



24

Привод заслонки разбавления перед фильтром (рк5)



25

Привод шибера подачи дыма на экономайзер (ркб)



26

Привод шибера подачи дыма через байпас (рк7)





Рисунок 1.1 Функциональная схема печи АСУ

5. Разработка схемы

Введение

В связи с повсеместным использованием цифровых управляющих систем необходимость их разработки и усовершенствования постоянно растет.

Большинство цифровых систем строится на микропроцессорах либо на микроконтроллерах. При помощи микропроцессорных систем происходит управление различными технологическими процессами и операциями. Данные системы практически универсальны, так как они имеют очень высокое быстродействие, и достаточную разрядность для различного выполнения различных расчетов на производстве. Используя в данных системах ППЗУ, возможно, при помощи одной компьютерной системы управление различным оборудованием. То есть необходимо изменение только программы управления.

Центральное место в структуре микропроцессорного устройства занимает микропроцессор, который выполняет арифметические и логические операции над данными, программное управление процессором обработки информации, организует взаимодействие всех устройств, входящих в систему. Микропроцессор представляет собой функционально законченное устройство, состоящее из одной или нескольких программно-управляемых БИС и предназначенное для выполнения операций по обработке информации и управления вычислительным процессом.

Во время прохождения производственной практики мне было поручено техническое задание по разработке измерителя температуры жидкости для экономайзера.

Данное устройство будет построено на базе Clasic серии микроконтроллеров Atmel.

Датчиком температуры является цифровой термометр DS1620. Данный термометр позволяет по последовательному интерфейсу считывать показания в цифровом виде.

В качестве индикатора применен ЖКИ-модуль.

1. Анализ поставленной задачи

Задачей разработки является «Измеритель температуры жидкости». Для реализации поставленной задачи, нам необходимо использовать процессор AT1200S, вместо него мы будем использовать AT90S1200. Он является полным аналогом своего предшественника. Данная система позволяет очень быстро и точно производить измерение температуры.

Рассмотрим структурную схему, приведенную на рисунке 1.2.

Рисунок 1.2 - Структурная схема устройства.

В качестве микроконтроллера по заданию задан AT90S1200. Это микроконтроллер из семейства clasic.

1.1 Аналитический обзор микроконтроллера AT90S1200

В состав данного микроконтроллера входит следующие периферийные устройства:

–       встроенный сторожевой таймер;

–       аналоговый компаратор.

На рисунке 1.3 приведен микроконтроллер AT90S1200.

Рисунок 1.3 - микроконтроллер AT90S1200

Характеристики AT90S1200:

         Память программ 1 Кбайт

         Память данных (EEPROM) 64 байт

         Память данных (ОЗУ) -

         Количество лин. ввод/выв. 15

         Напряжение питания 2.7-5.5 В

         Тактовая частота 0 - 12 МГцS1200 является 8-ми разрядным CMOS микроконтроллером с низким энергопотреблением, основанным на усовершенствованной AVR RISC архитектуре. Благодаря выполнению высокопроизводительных инструкций за один период тактового сигнала, AT90S1200 достигает производительности, приближающейся к уровню 1 MIPS на МГц, обеспечивая разработчику возможность оптимизировать уровень энергопотребления в соответствии с необходимой вычислительной производительностью. Ядро AVR содержит мощный набор инструкций и 32 рабочих регистра общего назначения. Все 32 регистра напрямую подключены к арифметико-логическому устройству (АЛУ), что обеспечивает доступ к двум независимым регистрам при выполнении одной инструкции за один такт. В результате, данная архитектура имеет более высокую эффективность кода, при повышении пропускной способности, вплоть до 10 раз, по сравнению со стандартными микроконтроллерами CISC.

Архитектура также эффективно поддерживает языки высокого уровня, как и ультра - уплотненные программы на ассемблерном коде. AT90S1200 имеет: 1 Кбайт Flash - памяти с поддержкой внутрисистемного программирования, 64 байт EEPROM, 15 линий I/O общего назначения, 32 рабочих регистра общего назначения, внутренние и внешние прерывания, программируемый следящий таймер с встроенным тактовым генератором и программируемый последовательный порт SPI для загрузки программ, а также, два программно выбираемых режима экономии энергопотребления. Режим ожидания «Idle Mode» останавливает CPU, но позволяет функционировать регистрам, таймеру/ счетчику, следящему таймеру и системе прерываний. Режим экономии энергопотребления «Power Down» сохраняет значения регистров, но останавливает тактовый генератор, отключая все остальные функции микроконтроллера, вплоть до следующего внешнего прерывания, или до аппаратной инициализации.

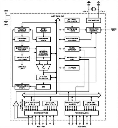
Устройство производится с применением технологи энергонезависимой памяти с высокой плотностью размещения, разработанной в корпорации Atmel. Встроенная Flash - память с поддержкой внутрисистемного программирования обеспечивает возможность перепрограммирования программного кода в составе системы, посредством SPI последовательного интерфейса, или с помощью стандартного программатора энергонезависимой памяти. Благодаря совмещению усовершенствованного 8-ми разрядного RISC CPU с Flash - памятью с поддержкой внутрисистемного программирования на одном кристалле получился высокопроизводительный микроконтроллер AT90S1200, обеспечивающий гибкое и экономически - высокоэффективное решение для многих приложений встраиваемых систем управления. AVR AT90S1200 поддерживается полным набором программ и пакетов для разработки, включая: макроассемблеры, отладчики/ симуляторы программ, внутрисхемные эмуляторы и наборы для макетирования. На рисунке 1.4 приведена внутренняя структура AT90S1200

Рисунок 1.4 - Внутренняя структура AT90S1200

1.3 Аналитический обзор цифрового термометра

По заданию в качестве цифрового термометра необходимо применить цифровую микросхему DS 1620. Данная микросхема не требует внешних компонентов, напряжение питания может варьировать от 2.7 В до 5.5 В, диапазон температур -55 С - +125 С с точностью 0.5 С, время измерения до 1 секунды. На рисунке 1.5 приведен цифровой термометр DS 1620.

Рисунок 1.5 - Структурная схема цифрового термометра DS 1620

Микросхема DS1620 это термометр и термостат с цифровым вводом / выводом, обеспечивающий точность ±0.5°C. При использовании в качестве термометра, данные считываются через 3-проводную последовательную шину в дополнительном 9-битном коде с ценой младшего разряда ±0.5°C. Для приложений требующих более высокого разрешения, пользователь может прочитать дополнительные регистры и произвести простые арифметические действия, чтобы достичь более чем 12-битового разрешения (с ценой самого младшего разряда 0.0625°C).

При использовании в качестве термостата, микросхема DS1620 отличается наличием во внутренней энергонезависимой памяти (EEPROM) программируемых пользователем уставок по превышению температуры (TH) и по понижению температуры (TL). Три специальных логических выхода срабатывают, когда соответствующие уставки пересекаются. Один срабатывает, когда пересекается уставка TH, другой при пересечении TL, и третья срабатывает, когда TH достигнут, и выход будет оставаться активным до тех пор, пока температура не упадёт ниже TL (программируемый гистерезис). DS1620 может быть запрограммирован с этими уставками и использоваться в автономном приложении только как термостат до тех пор, пока не понадобится их перенастроить.

Микросхема DS1620 прелагается в 300mil, 8-контактном PDIP и 208mil, 8-контактном SOIC. Для приложений, которым не требуется точность ±0.5°C, доступна микросхема DS1720 с пониженной точностью ±2.5°C, более дешёвая полностью совместимая микросхема (только в корпусе SOIC).

2. Проектирование принципиальной схемы устройства

.1 Схема включения микроконтроллера

Микроконтроллер AT90S1200 содержит 2 портов ввода / вывода. Порт D используется для связи с цифровым термометром по 3-wire интерфейсу, а так же для управления ЖК-индикатором.

На рисунке 1.6 приведена структурная схема включения микроконтроллера.

Рисунок 1.6 - Структурная схема включения микроконтроллера

.2 Формирование тактовых импульсов

Источником тактовых импульсов в микроконтроллере AT90S1200 может быть:

         Генератор с внешним резонатором;

         Генератор с внутренней RC-цепочкой;

Наиболее предпочтительным в данном блоке является генератор с внешним резонатором т.к. он позволяет задавать любую тактовую частоту, которая зависит только от кварцевого резонатора, на которой может работать микроконтроллер. Это стабильный генератор с точной выдержкой частоты генерации.

Использование внешнего генератора требует наличия дополнительной аппаратуры.

Генератор с внутренний и внешний RC-цепочкой не гарантирует стабильность частоты.

На рисунке 1.7 приведена схема включения тактового генератора.

Рисунок 1.7 - Схема включения тактового генератора с внешним резонатором.

2.3 Схема сброса

На рисунке 1.8 приведена аппаратная схема сброса по включению питания. Данная схема необходима для первичной инициализации аппаратуры микроконтроллера.

Рисунок 1.8 - Аппаратная схема сброса по включению.

2.4 Схема подключения цифрового термометра

Для подключения цифрового термометра используется три порта ввода / вывод. На рисунке 1.9 приведена схема включения термометра.

Рисунок 1.9 - Схема включения термометра

Функциональная схема приведена на рисунке 2.0

Рисунок 2.0 - Функциональная схема DS1620.

2.5 Схема подключения ЖКИ

ЖКИ подключен к микроконтроллеру AT90S1200 с помощью 8-ми разрядной шиной.

Рисунок 2.1 - Схема подключения ЖКИ.

Алфавитно-цифровые ЖКИ - модули представляют собой недорогое и удобное решение, позволяющее сэкономить время и ресурсы при разработке новых изделий, при этом обеспечивают отображение большого объема информации при хорошей различимости и низком энергопотреблении. Возможность оснащения ЖКИ - модулей задней подсветкой позволяет эксплуатировать их в условиях с пониженной или нулевой освещенностью, а исполнение с расширенным диапазоном температур (-20°С…+70°С) в сложных эксплуатационных условиях, в том числе в переносной, полевой и даже, иногда, в бортовой аппаратуре.

В соответствии с временной диаграммой в исходном состоянии сигнал Е = 0, сигнал R/W = 0, значение сигнала RS - произвольное, шина данных DBO…DB7 в состоянии высокого импеданса (НI). Такое состояние управляющих сигналов (E и R/W) должно поддерживаться все время в промежутках между операциями обмена с ЖКИ-модулем. Шина данных в эти моменты в принципе свободна, и может использоваться в мультиплексном режиме для каких-либо других целей, например, для сканирования матрицы клавиатуры. Естественно, необходимо позаботиться об исключении конфликтов на шине данных в момент совершения операций обмена с ЖКИ-модулем.

Последовательности действий, которые необходимо выполнять управляющей системе при совершении операций записи и чтения для 8-ми разрядной шины приведены соответственно в таблицах 1, 2. Для нормальной работы ЖКИ необходимо сформировать временные диаграммы приведенные на рисунках 2.2 и 2.3

Таблица 1. Операции записи для 8-ми разрядной шины

Установить значение линии RS Вывести значение байта данных на линии шины DB0…DB7 Установить линию Е = 1 Установить линию У = 0 Установить линии шины DB0…DB7 = HI


Таблица 2. Операции чтения для 8-ми разрядной шины

Установить значение линии RS Установить линию R/W = 1 Установить линию Е = 1 Считать значение байта данных с линий шины DB0…DB7 Установить линию Е = 0 Установить линию R/W = 0


Рисунок 2.2 - Временная диаграмма операции записи

Рисунок 2.3 - Временная диаграмма операции чтения

2.6 Схема стабилизатора напряжения

Стабилизатор напряжения построен на микросхеме фирмы LM7805. Напряжение стабилизации 5V. На рисунке 2.4 приведена схема включения стабилизатора.

Рисунок 2.4 - Схема включения стабилизатора.

Особенностью данного стабилизатора является большой разброс напряжений подаваемых на вход, простая схема включения, большие токи нагрузки.

Заключение


Прохождение производственной практики является важным элементом учебного процесса по подготовки специалиста в области программирования.

За время прохождения производственной практики в ООО «Втормет-Регион» я применила полученные в процессе обучения знания, умения и навыки на практике.

Широкий охват отраслей, с которыми мне пришлось сталкиваться, позволил мне лучше усвоить изученный теоретический материал, полученных на занятиях в колледже.

С основными поставленным задачами справилась успешно. Разработанное мною устройство выполнено в соответствии с требованиями нормативно-технической документации и полностью соответствует показателю надёжности и качества.