Материал: Проект закладки виноградника привитыми саженцами

Внимание! Если размещение файла нарушает Ваши авторские права, то обязательно сообщите нам

Проект закладки виноградника привитыми саженцами

Содержание

 

Введение

1. Агроклиматические и почвенные условия хозяйства или района

1.1 Климатические условия

1.2 Почвенные условия

2. Выбор участка под закладку виноградника и организация его территории

3. Обоснование подбора сортов винограда и их размещение на участке

4. Обоснование схемы посадки кустов и расчёт потребности в посадочном материале

5. Производство саженцев для закладки виноградника

5.1 Расчёт объёма производства корнесобственных и привитых саженцев, требуемых материалов, площадей маточных насаждений и школки

5.2 Особенности создания сертифицированных суперинтенсивных маточных насаждений подвоя и привоя и технологии выращивания черенков на них

5.3 Агротехнический план производства привитых виноградных саженцев

6. Агротехнический план по закладке виноградника и уходу за молодыми насаждениями

7. Обоснование выбора форм кустов, техника их выведения и расчет нагрузки при обрезке

8. Обоснование выбора системы ведения кустов, расчёт материалов на устройство шпалеры

9. Агротехнический план по уходу за эксплуатационным виноградником

10. Составление плана уборки технических и столовых сортов винограда и технология её проведения

Заключение

Список использованной литературы

Введение

Виноград - одно из древнейших растений земного шара, о чём свидетельствуют ископаемые остатки окаменелых семян и листьев, относящихся к третичному периоду, а также сохранившаяся настенная живопись и рисунки на древнегреческих и египетских памятниках. Впервые культивировать виноград стали в Закавказье, Средней Азии, Иране, Афганистане, Восточном Китае, Сирии, Турции, Египте. Ещё до нашей эры виноградарство процветало в Греции, а несколько позднее - во Франции, Испании и других странах Европы. В XVI в. виноград начали культивировать на американском континенте, значительно позже - в Южной Африке, Австралии, Новой Зеландии, Японии, на полуострове Корея. В конце XVII - начале XVIII вв. виноградарство и виноделие Франции, Испании, Португалии, Италии, Венгрии достигло наивысшего расцвета. В литературе имеются сведения о том, что в 1613 г. насаждения винограда были заложены под Астраханью, а позднее были созданы дворцовые и монастырские виноградники в Киеве, Чугуеве и других местах. 150-200 лет назад виноградарством стали заниматься на Дону, Кубани, Нижней Волге, побережье Каспийского, Чёрного морей.

Виноградарство является одной из важнейших отраслей сельского хозяйства. Достоинства винограда состоят в том, что в его ягодах содержится до 30% сахара. Один килограмм винограда содержит 700 - 800 калорий, около 30% дневного рациона человека. Один литр виноградного сока эквивалентен 1,7 литру коровьего молока, или 650 г. говяжьего мяса, 1 кг рыбы, 300 г. брынзы, 500 г. хлеба, 5 яйцам, 1,2 кг картофеля, 3,5 кг томатов, 1,5 кг яблок. Глюкоза содержится в большом количестве, в других фруктах такого количества нет. Кроме сахаров в 1 кг ягоды имеются органические кислоты, которые играют определённую роль. В соке ягод преобладают винная и яблочная кислоты. Винная кислота в большом количестве только в виноградной ягоде. В винограде содержатся коллоиды и пектиновые вещества, витамины, ферменты, ароматические и другие вещества. Ампелотерапия - это лечение виноградом. Доза потребления человеком в день 300 - 500 г.

Виноград широко используется в производстве консервов, варенья, кондитерской промышленности. Получают виноградный сок. Виноград - основное сырьё для вина, коньяка, шампанского. 80% винограда используется для производства вина. Вино содержит ряд питательных и биологически активных веществ: винная кислота, янтарная, молочная, аминокислоты, пектиновые вещества, глицерин и минеральные вещества. Белые и красные вина при умеренном потреблении применяются для лечения желудочных заболеваний. Красные вина способствуют выведению из организма радиоактивных веществ и тяжёлых металлов. Кроме вина получают коньяк. Из отходов виноделия получают винную кислоту, винный уксус, виноградное масло из семян, энантовый эфир, типографские краски, тонин, ферменты, 8

Виноград может произрастать на тех почвах, где зерновые не могут производить: каменистые, песчаные. На этих почвах получают самый качественный виноград и вино.

Общая площадь виноградных насаждений в мире 7,5 млн га. Это такие страны как: Италия, Франция, Португалия, Греция, Болгария, Румыния, Сербия, Венгрия. В бывшем СССР: Молдавия, Украина, Узбекистан, Грузия, Россия (Краснодарский край, Дагестан, ставропольский край, Ростовская область, Чеченская республика).

В Испании 1 млн. 280 тыс. га, во Франции 929 тыс. га, в США 310 тыс. га. Производство винограда в мире 54 - 55 млн. тонн, вина 280 гектолитров. Душевое потребление на душу населения во Франции 63 литра, в Испании 37 литров, в Греции и Венгрии по 30 литров. Ежегодно в мире производится 7 млн. тонн столового винограда, употребляемого в свежем виде: Италия, Турция, США, Чили, Греция, Сирия, Афганистан, Алжир, ЮАР, Австралия.

До 1985 года в России было 200 тыс. га виноградных насаждений. В 1985 году вышел закон по борьбе с пьянством, после чего насаждения стали выкорчевывать. Сейчас в стране 70 тыс. га (Краснодарский край и республика Дагестан). В Краснодарском крае до 1985 года 64 тысячи виноградников, после 30 тыс., а после морозов 2006 года осталось всего 22 тыс. га. Основная часть виноградников края расположена в анапо-таманской зоне. Значительные площади в Крымском и Абинском районах, остальная часть па побережье. В республике Дагестан на данный момент площадь насаждений составляет 16-17 тыс. га.

Основным сдерживающим фактором является колоссальный дефицит посадочного материала. Первая проблема обеспечить посадки отечественным привитым качественным посадочным материалом. Соотношение насаждений виноградника должно быть: технических к столовым 4: 1, в техническом сортименте сорта с окрашенной ягодой должны составлять 60%, а с белой 40%, требуется разработка низкозатратных технологий - беcшпалерная система ведения винограда, за счет применения формировок. Важно также выведение новых высокоустойчивых и устойчивых сортов винограда.

1. Агроклиматические и почвенные условия хозяйства или района


1.1 Климатические условия


Калининский район расположен в центральной и северо-западных частях Краснодарского края. Территория района составляет 151655 гектаров, численность населения 50489 человек. Район имеет вытянутую форму с северо-запада на юго-восток протяженностью более 80 км.

Такое географическое положение делит район на две климатические зоны северную плавневую и южную, что характеризуется разностью выпадения осадков и разностью почв. По схеме агроклиматического районирования Краснодарского края Калининский район входит в первый (60% территории) и второй (40% территории) агроклиматический район. Первый характеризуется недостаточным и неустойчивым увлажнением. Годовое количество осадков 468 мм. Второй характеризуется умеренным увлажнением. За год выпадает 600 - 700 мм осадков. Коэффициент увлажнения 0,30-0,40. Климат района умеренно-континентальный. Среднегодовая температура воздуха составляет + 9.6°С, средняя температура января - 4.0°С, июня + 19,9°С. Абсолютный минимум - 35°С, максимум температур воздуха +41°С. Средняя продолжительность безморозного периода 181 день, наименьшая 152, наибольшая 217. Средняя дата последнего заморозка 14 апреля. Средняя дата наступления заморозков 13 октября. Зима умеренная, снежный покров впервые появляется в первой декаде декабря. За зиму средняя из наибольших высот снежного покрова не превышает 15 см. Снежный покров в 60-90% случаев неустойчив. Спад снежного покрова происходит в середине марта. Средняя глубина промерзания почвы 32 см, наибольшая 52 см. В середине апреля обычно устанавливается жаркая погода с наличием засух: в определенные годы дневные температуры могут повышаться до 30ºС и выше. Лето наступает в первой декаде мая. Лето жаркое, сухое. При наличии высоких температур количество осадков за вегетацию недостаточно. В течение всего года на территории всего района преобладают восточные и северо-восточные ветры. Средняя скорость ветра 3,8 м/сек. В течение вегетационного периода очень часто появляются суховеи 85 - 90 дней. Сумма активных температур колеблется в пределах 2800 - 3200º.

1.2 Почвенные условия


По природно-сельскохозяйственному районированию земельного фонда Р.Ф. территория СПК "Октябрь" Калининского района входит в суббориальный почвенно-климатический пояс. Почвенный покров СПК "Октябрь" занимает лугово-черноземная почва, мощная малогумусная выщелоченная и карбонатная, солонцеватая и луговая малогумусная солонцеватая и солончаковатая. Они расположены как правило на понижениях.

Сформировались чернозёмы выщелоченные на лёссовидных глинах. Данные почвы отличаются от чернозёмов наличием гидроморфных признаков в виде ржавых и сизых пятен, появляющихся в основном горизонте "С". Водно-физические их несколько ухудшены (невысокая водопроницаемость и воздухоёмкость) обусловлены они повышенной плотностью профиля, особенно горизонта "АВ2".

Структура горизонта "А" зернистая, уплотнение незначительное. Однако в горизонте B сильно набухает, становится практически водонепроницаемым. Очень низкая фильтрационная способность почв является причиной скапливания на поверхности, особенно в зимнее-весенний период вод, что может приводить к вымоканию озимых культур. Мощность лугово-черноземных почв в среднем 145 см при колебаниях от 120 до 160, то есть можно сказать, что они относятся к сверх мощным.

Механический состав почв суглинистый. Содержание физической глины в верхнем слое равно 50%. Для них характерно высокое содержание илистой фракции, максимальное количество которой в горизонте АВ, достигает 48,6%.

Почвы довольно хорошо гумусированы. В пахотном слое количество гумуса достигает 4,8%, вниз по профилю снижается постепенно.

Чернозёмы выщелоченные обладают значительной поглотительной способностью. Сумма поглотительных оснований составляет в них 32,5 мг/экв на 100 г. почвы. На долю кальция в которых приходится 85% от почвенного поглощающего комплекса в верхней части профиля. Содержание общих карбонатов и подвижного кальция у выщелоченного чернозёма в горизонте А равно нулю.

Реакция почвенного раствора, в целом, близкая к нейтральной (6,7 - 7,0) по профилю, только в горизонте С pH поднимается 7,7 т. е до слабощелочной. В целом лугово-чернозёмные выщелоченные почвы западин характеризуются не вполне благоприятными водно-физическими свойствами и хорошим химическим составом.

При весьма не высоких валовых запасах фосфора до 0,17% подвижных соединений этого элемента мало 60 - 100 мг/100г в выщелоченных разностях. Валовое содержание К в почвах относительно высокое, поэтому растения не испытывают недостатка в нём. 80% чернозёмных почв обладают повышенной и высокой нитрификационной способностью, 6,8%.

Таблица 2 - Агрохимические свойства почвы

Тип почвы

Содержание гумуса, %

Сумма поглощенных оснований, мг-экв.

Содержание элементов питания, мг/100г почвы




N

P2O5

K2O

Чернозём выщелоченный

 4,8%

 32,5

0,185

0,17

2,10


В целом, проанализировав почвенно-климатические условия района можно сделать вывод, что они подходят для выращивания культуры винограда, но при соблюдении необходимых агротехнических мероприятий. В виду того, что абсолютный минимум температур составляет - 35ºС, снежный покров неустойчивый, а средняя глубина промерзания почвы 32 см требуется ведение укрывной культуры. В качестве сорта подвоя можно использовать Кобер 5ББ. Чернозёмные почвы способствуют сильному росту виноградных кустов. На них можно получать обильные урожаи удовлетворительного качества. В большей степени почвенные условия подходят для выращивания культуры столового винограда. Однако температурный режим позволяет выращивать и столовые сорта.

2. Выбор участка под закладку виноградника и организация его территории


Виноградное растение это многолетняя культура и на одном месте произрастает несколько десятков лет, поэтому ошибки, допущенные при закладке виноградника впоследствии исправить очень трудно, а порой даже невозможно. Поэтому закладку виноградника необходимо производить по проекту, который выполняет специальная проектная организация. Подбирается проектная группа по выполнению проекта куда входят специалисты виноградари из хозяйства, руководитель проектной группы, как правило инженер, землеустроитель, почвовед и т.д.

Виноградное растение не прихотливо к почвенным условиям, может произрастать на почвах, которые не пригодны для с/х культур (овощные, зерновые, технические). Виноград можно культивировать на склонах (южные). Не может произрастать на засолённых, заболоченных почвах. Глубокие бесплодные пески можно использовать в том случае, если проведены мелиоративные мероприятия.

Не смотря на то, что виноград неприхотлив, наиболее пригодными для возделывания являются перегнойно-карбонаидные, краснозёмновидные, серо-карбонатные, каменистые, аллювиально-наносные, чернозёмы, тёмно-каштановые почвы.

Для винограда недопустимо близкое залегание грунтовых вод с высокой концентрацией солей. Привитой виноград и подвои менее (в 2 раза и более) устойчивы к токсическому действию солей, чем корнесобственные европейские сорта.

Уплотнение почвы и малая воздухопроницаемость препятствуют нормальному росту. На плотных почвах привитой виноград растёт значительно хуже, чем корнесобственный. На уплотнённых для привитого винограда достаточно, чтобы слой 40-70 см имел объёмный вес ниже: для лёгкого суглинка - 1,55, среднего - 1,50, тяжёлого - 1,40, глины - 1,35, тяжёлой глины - 1,25.

Содержание подвижного кальция является основным критерием при оценки почв под привитые виноградники. Основные подвои, а так же привитые на них европейские сорта при избытке в почве извести заболевают хлорозом. Оптимальное количество извести для разных подвоев неодинаково. На выщелоченных чернозёмах, где содержание и активность карбонатов незначительны, подвои выбирают в соответствии с аффинитетом их с сортами привоя.

Основная задача предпосадочной подготовки почвы - выравнивание рельефа и создание мощного плодородного корнеобитаемого слоя с хорошими водно-воздушным и тепловым режимами.

При отводе под виноградники пахотных земель подготовка почвы сводится к обработке плантажным плугом на глубину 60 см с последующим выравниванием вспаханной поверхности. Плантаж поднимают за 6 месяцев до посадки, чтобы почва успела осесть. Перед плантажной вспашкой почву заправляют органическими и минеральными удобрениями. Дозы их устанавливают в зависимости от обеспеченности почвы элементами питания.

На отводимых под виноградники старопахотных землях для восстановления их плодородия предварительно высевают многолетние травы. Это так же карантинно-профилактическое мероприятие в борьбе с филлоксерой.

Участки, засорённые корневищными сорняками: свинороем, пыреем, осотом предварительно пашут на глубину 20-25 см с вычёсыванием и сжиганием корневищ. Уничтожают сорняки гербицидами, посевом однолетних трав или сидератов.

При выборе участка для маточника подвойных сортов прежде всего нужно учитывать содержание карбонатов в разных горизонтах. Предпочтение следует отдавать супесчаным, суглинистым и легко суглинистым почвам типичных и выщелоченных чернозёмов. Непригодны тяжёлые глинистые, известковые и заболоченные почвы, а также с близким залеганием грунтовых вод. Следует избегать сильно богатых и увлажнённых почв т.к. вегетация на них затягивается и они плохо вызревают. Для хорошего вызревания побегов необходимо выбирать хорошо обогреваемые места, защищённые от северных и северо-восточных ветров. Участки следует выбирать после обследование на наличие нематод. При подготовке выбранного участка к посадке производится осенью плантажная вспашка на глубину 68-70 см. Перед подъёмом пласта вносятся удобрения 12-15 ц суперфосфата, 5-7 ц калийной соли, навоз 60 т/га или 20 ц азота. Плантаж поднимают не позднее, чем за 3 месяца до посадки.

Маточники привойных сортов интенсивного и суперинтенсивного типа нужно располагать на хорошо обогреваемых участках с лёгкими по мех составу плодородными почвами. Объёмная масса почвы должна находиться в пределах 1,2-1,4 г/см. Нельзя маточники сажать по раскорчёванным садам, виноградникам, ягодникам ранее, чем через 10 лет, для того чтобы предупредить заражение вирусными болезнями. На выбранном участке поднимают плантаж, а перед его подъёмом вносят 15-20 ц суперфосфата, 10-15 ц калийной соли на га.

Организация территории прямо влияет на урожайность насаждений, качество продукции и её себестоимость. Расположение участков и дорожной сети должно быть увязано с планом хозяйства, соответствовать требованиям культуры и возможностям полного использования механизации.

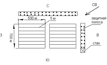
Общепринятая первичная территориальная единица виноградника на равнине - клетка площадью 5 га (длина по ширине квартала 500 м, ширина клетки в квартале - 100 м.). Так как у нас площадь виноградника 70 га, то я предлагаю разбить на 2 квартала (по 35 га). В квартале по 7 клеток площадью 5 га.

На виноградниках равнин ширина межклеточных дорог 6 м, межквартальных 8 м, магистральных 10 - 14 м. Продуктивность виноградников во многом зависит от принятого направления рядов в отношении сторон света. На равнине наилучшие условия создаются при размещении рядов с севера на юг. На нашем винограднике одна магистральная дорога (она же межквартальная), шириной 10 м.

Виноградные клетки окаймлённые, магистральными дорогами сводятся в кварталы. На равнинных участках площадь кварталов планируется в пределах 8 от 25 до 50 га. С северной и восточной сторон размещаются ветрозащитные лесополосы. Расстояние между лесными полосами 700-1000 м. ширина лесополосы до 20 м.

Рис. 1. План-схема организации территории виноградника площадью 70 га.

3. Обоснование подбора сортов винограда и их размещение на участке


Согласно рекомендациям 50% площади планируемого виноградника должны составлять столовые сорта, так как данный участок находится всего лишь в 65 км от краевого центра, что позволяет выгодно реализовывать урожай. Тенденции развития современного виноградарства требуют, чтобы соотношение технических к столовым сортам было 4׃1. Но в нашем случае, для данного района, выбран наиболее оптимальный вариант, поэтому остальные 50% посадок составляют технические сорта.

Набор столовых и технических сортов соответствует районированному сортименту и обеспечивает равномерный и более растянутый по срокам созревания период сбора урожая. Мы старались подобрать морозостойкие, устойчивые к болезням и вредителям, обладающие хорошими вкусовыми и товарными качествами, различными по окраске сорта как столового, так и технического направления.

Столовые сорта.

Восторг. Сорт выеден во ВНИИВиВ им. Я.И. Потапенко в результате скрещивания гибридной формы (Заря Севера × Долорес) с сотом Русский Ранний.

Относится к сортам раннего срока созревания: продукционный период длиться 115 - 120 дней.

Листья средние, округлые, средне рассечённые, пятилопастные, черешковая выемка закрытая.

Грозди крупные (до 500 г), конические, средней плотности или рыхлые. Ягоды крупные (5-6 г), овально - яйцевидные белые. Кожица прочная, мякоть мясисто - сочная. Вкус приятный, с сортовым ароматом.

Кусты средне - и сильнорослые. Побеги вызревают хорошо.

Плодоносность побегов около 70%. Коэффициент плодоношения 0,6 - 0,8, плодоносности - 1,2-1,4. урожайность в пределах 10 - 13 т/га. Сахаристость ягод 15 - 18 г/см3, титруемая кислотность 6 - 7 г/дм3.

Так как наиболее плодоносные почки располагаются на 5 - 6 узлах побегах от их основания, то рекомендуемая длина обрезки 7 - 8 глазков. Регенерационная активность черенков невысокая. Имеет лёгкую пробуждаемость глазков к росту во время оттепелей. При неблагоприятных условиях во время цветения наблюдается горошение ягод.

Характеризуется повышенной устойчивостью к морозам ( - 24 - 25ºС), милдью и серой гнили. Ягоды хорошо сохраняются на кустах и в холодильных камерах.

Дегустационная оценка свежего винограда 8,5 балла.

Нептун. Сорт получен во ВНИИ генетики и селекции плодовых растений им. И.В. Мичурина в результате скрещивания гибрида 6-53 и сорта Муромец.

Относится к сортам раннего срока созревания.

Листья средней величины, округлые, слабо рассечённые, трёх или пятилопастные. На нижней поверхности листа имеется щетинистое опушение.

Грозди средние или круглые, конические или ветвистые, средней плотности или рыхлые. Ягоды очень крупные, овальные или продолговатые, или фиолетовые. Мякоть мясисто-сочная. Вкус терпковатый, приятный.

Сила роста кустов средняя, вызревание побегов хорошее.

Процент плодоносных побегов 80-95. коэффициент плодоношения 1,3, плодоносности - 1.6.

Урожайность средняя: 5 - 7 т/га. Сахаристость ягод 14,5 - 17,0 г/100 см3 при титруемой кислотности 7,1 - 8.0 г/дм3.

Обладает повышенной устойчивостью к милдью, пятнистостям и серой гнили. Морозостойкость повышенная: - 23-24ºС.

Транспортабелен, хорошо хранится.

Дегустационная оценка свежего винограда 9 баллов.

Надежда АЗОС. Сорт селекции Анапской ЗОС, полученный от скрещивания сортов Молдова и Кардинал.

Относится к группе сортов раннего срока созревания: потребительская зрелость наступает во второй декаде августа.

Листья крупные, глубоко рассечённые, пятилопастные. Верхняя поверхность листьев гладкая, нижняя с густым паутинистым опушением. Черешковая выемка открытая. Лировидная с заострённым дном.

Грозди крупные, ширококонические, рыхлые. Ягоды крупные, овальные, тёмно-синие с восковым налётом. Кожица толстая или средняя, плотная, прочная. Мякоть мясистая, хрустящая. Вкус гармоничный.

Рост побегов сильный. Вызревание побегов очень хорошее (85-90%).

Процент плодоносных побегов 75-90. коэффициент плодоношения 1.2, плодоносности 1,6.

Урожайность высокая 13-15 т/га. Сахаристость ягод 15,0-16.6 г/100 см3 при титруемой кислотности 6.6-8,0 г/дм3.

Сорт относительно устойчив к милдью. Устойчивость к оидиуму и серой гнили - повышенная.

Транспортабельность средняя. Сорт предназначен для местного потребления в свежем виде, удовлетворительно переносит перевозки на дальние расстояния.

Русмол. Сорт совместной селекции ВНИИВиВ им. Я.И. Потапенко и Молдавского НИИВиВ (Бируинца×Шалфейный).

Относится к сортам средне-позднего срока созревания: продолжительность продукционного периода 135-150 дней.

Листья крупные, средне-рассечённые пятилопастные.

Грозди крупные (500-600 г), конические, средней плотности или плотные. Ягоды крупные или очень крупные (7-8 г), овальные или округлые, белые, со слабым мускатным привкусом; созревают на Кубани в середине сентября.

Кусты сильнорослые, побеги вызревают хорошо (80-85 %).

Плодоносных побегов 65-85 %. Коэффициент плодоношения 0.8. плодоносности - 1,3. Урожайность высокая: 8-12 т/га. Сахаристость ягод 17,4 г/100 см3, титруемая кислотность 8,6 г/дм3.

Повышенно устойчив к милдью, филлоксере (2,5 балла) и низким температурам (-24-25ºC). Во влажные годы ягоды растрескиваются.

Транспортабельность средняя.

Осенний чёрный. Сорт селекции Национального института винограда и вина республики Молдова: получен в результате скрещивания сортов Альфонс Лавалле и СВ 20-366.

Сорт среднего срока созревания.

Листья средние, средне рассечённые, пятилопастные.

Грозди очень крупные (450-550 г) конические, средней плотности, очень нарядные. Ягоды крупные, продолговато-овальные, тёмно-фиолетовые с густым восковым налётом. Мякоть мясистая, хрустящая; вкус гармоничный.

Кусты сильнорослые, вызревание побегов хорошее.

Процент плодоносных побегов 60-80. Коэффициент плодоношения 1,1, плодоносности - 1,5.

Урожайность умеренная: 8,0-9,3 т/га. Сахаристость ягод 15,8-17,7 г/100 см3 при титруемой кислотности 7,1-8,1 г/100 г/дм3.

Устойчивость к милдью, серой гнили и оидиуму повышенная.

Сорт хорошо хранится в течении 150-180 дней.

Дегустационная оценка свежего винограда 8,5 балла.

Технические сорта.

Гечеи Заматош. Сорт венгерской селекции: получен от скрещивания сортов Сейв Виллар 12-286 и Медок Нуар.

Относится к сортам ранне-среднего срока созревания.

Листья средние, округлые, слабо или средне-рассечённые, пятилопастные, пластинка листа воронковидная. Нижняя сторона листа не опушена.

Грозди средние (150-180 г), цилиндрические, ветвистые, очень плотные. Ягоды мелкие, округлые, янтарные. Вкус приятный, с лёгким мускатным привкусом.

Сила роста кустов большая или средняя. Лоза вызревает хорошо.

Коэффициент плодоношения 1.0-1.7 Урожайность довольно высокая: до 12 т/га. Сахаристость сока ягод 18-23 г/100 см3 при титруемой кислотности 8.5-9,5 г/дм3.

Отзывчив на короткую обрезку (3-4 глазка) с нагрузкой 60-80 глазков на куст. Имеет повышенную устойчивость к милдью, оидиуму, паутинному клещу, филлоксере. Поражается серой гнилью. Сорт используется для приготовления легких мускатных столовых вин.

Саперави северный. Сорт селекции Всероссийского НИИВиВ им.Я.И. Потапенко, полученный от скрещивания сортов Северный (Сеянец Маленгра×Витис амурензис) и Саперави. По морфологическим признакам листьев и форме ягод близок к сорту Саперави.

Относится к сортам средне-позднего периода созревания (вторая половина сентября).

Листья средние. Слабо рассечённые, цельные или трёхлопастные. Черешковая выемка закрытая с яйцевидным просветом и острым дном. Опушение на нижней поверхности листа очень слабое, щетинистое.

Грозди средние (105-200 г), конические, средней плотности. Ягоды мелкие или средние, овальные, тёмно-синие. Кожица прочная. Мякоть сочная, сок слабо окрашен.

Сила роста кустов средняя. Вызревание побегов хорошее (85%).

Процент плодоносных побегов 80. коэффициент плодоношения 1,4-1,6, плодоносности - 1.7-1,9. Урожайность высокая: 14,5 т/га. Сахаристость сока ягод 18-22 г/100 см3 при титруемой кислотности 7-9 г/дм3.

Сорт способен давать плодоносные побеги из замещающих почек. В годы с недостатком влаги и при большой перегрузке урожаем наблюдается осыпание ягод. Морозоустойчивость высокая (-26ºC). Устойчивость сорта против милдью повышенная, кусты можно формировать в виде средне - и высокоштамбового кордона или бесштамбового веера с двумя-тремя рукавами. Обрезка на 5-8 глазков.

Используется для приготовления столовых и десертных вин. Столовые вина имеют интенсивную окраску, сортовой аромат, лёгкий вкус: дегустационная оценка 7,8 балла. Десертные вина очень интенсивно окрашены, вкус полный, мягкий, при выдержке в аромате развиваются оригинальные шоколадные тона, переходящие во вкус: дегустационная оценка 8,3 балла.

Цветочный. Сорт выведен в 1947 г. во Всероссийском НИИВиВ им Я.И. Потапенко в результате опыления сорта Северный (сеянец Маленгра×Витис амурензис) смесью пыльцы сортов Мускат венгерский, Мускат белый и Мускат александрийский. По морфологическим признакам листьев и ягод близок к сортотипу Мускат белый.

Относится к сортам средне-позднего срока созревания (вторая декада сентября)

Листья средние, округлые, средне рассеченные, пятилопастные. Черешковая выемка открытая, стрельчатая. Нижняя поверхность листа не опушена, лишь на жилках встречаются редкие щетинки.

Грозди средние или довольно крупные (150-300 г), цилиндроконические, средней плотности. Ягоды средние, округлые, янтарные, с сильным восковым налётом. Мякоть сочная. Вкус приятным, с сильным мускатным привкусом.

Сила роста кустов выше средней, вызревание побегов хорошее.

Процент плодоносных побегов 58. коэффициент плодоношения 0.7. Урожайность средняя: 8 т/га. Сахаристость сока ягод 19,9-23,3 г/100 см3, при титруемой кислотности 10,3-12,1 г/дм3.

Морозоустойчивость повышенная (-25ºC). Максимальная гибель глазков в условиях Дона при неукрывной культуре 50%. Устойчивость к милдью средняя (3 балла): при двух-трёх опрыскиваниях против милдью обеспечивается сохранение урожая. Рекомендуется для возделывания в южной зоне укрывного урожая - без укрытия на зиму, в северной - с небольшим окучиванием кустов.

Используется для приготовления белых столовых, десертных и игристых вин. Дегустационная оценка столового вина 8, десертных десертного - 8.5, игристого - 9 баллов.

Гранатовый. Сорт выведен в северо-кавказском ЗНИИСиВ в результате скрещивания сортов Саперави и Каберне.

Относится к сортам позднего срока созревания (третья декада сентября).

Листья средние, округлые, средние или глубоко рассеченные, пятилопастные. Пластинка листа воронковидно-изогнутая. Черешковая выемка закрытая, с округлым или овальным просветом или открытая лировидная, с дном, ограниченным жилками. Опушение на нижней поверхности листа слабое, паутинистое, с густыми короткими мягкими щетинками на жилках.

Грозди средние или крупные (180-250 г), ширококонические или целиндро-конические, плотные или средне плотности. Ягоды средние или мелкие, округло-овальные, тёмно-синие, с густым восковым налётом. Кожица средней толщины, прочная. Мякоть сочная, расплывающаяся. Вкус полный, гармоничный.

Сила роста кустов при корнесобственной культуре средняя, при привитой - выше средней. Сорт отличается тонкими побегами. Вызревание побегов к концу вегетации хорошее.

Процент плодоносных побегов 65-70. Коэффициент плодоношения 1.0-1.1 плодоносности 1,5-1.8 урожайность высокая и стабильная: 12-14 т/га. Сахаристость сока ягод 20,4-25,2 г/100 см3 при титруемой кислотности 6-9 г/дм3.

Рекомендуется в условиях юга России выращивать на подвоях Берландиери × Рипария Кобер 5 ББ и СО4. Обрезка длинная, на 10-12 глазков.

Зимостойкость средняя. При укрывной культуре гибель глазков может составлять 45-52 %. Сорт сравнительно засухоустойчив.

Выход сока составляет 78 % к общей массе грозди. Используется для приготовления красных столовых вин, а также виноградных соков. Вина характеризуются интенсивной окраской, полным, гармоничным вкусом и хорошо выраженным сортовым ароматом. Дегустационная оценка столового вина 7,7-7,9 балла, десертного - 7,9-8,5.

Рис. 2. План-схема распределения сортов по кварталам.

. Восторг - 7 га (очень ранний)

. Нептун - 7 га (ранний)

. Надежда АЗОС - 7 га (ранний)

. Русмол - 7 га (средний)

. Осенний чёрный - 7 га (поздний)

. Гечеи заматош - 8.75 га (ранне-средний)

. Саперави северный - 8,75 га (средне-поздний)

. Цветочный - 8.75 га (средне-поздний)

. Гранатовый - 8.75 га (средне-поздний).

4. Îáîñíîâàíèå ñõåìû ïîñàäêè êóñòîâ è ðàñ÷¸ò ïîòðåáíîñòè â ïîñàäî÷íîì ìàòåðèàëå


Ñõåìà ðàçìåùåíèÿ êóñòîâ îïðåäåëÿåòñÿ ñèñòåìîé âåäåíèÿ, áèîëîãè÷åñêèìè îñîáåííîñòÿìè ñîðòîâ (ñèëîé ðîñòà), ïðèðîäíûìè óñëîâèÿìè (òèïîì ïî÷â, âëàãîîáåñïå÷åííîñòüþ), ñïîñîáàìè êóëüòóðû (óêðûâíàÿ, íåóêðûâíàÿ), ñèñòåìîé ìàøèí è îðóäèé äëÿ ìåõàíèçàöèè òðóäî¸ìêèõ ïðîöåññîâ.

Ïðîìûøëåííûå íàñàæäåíèÿ âî âñåõ çîíàõ âèíîãðàäàðñòâà ïðåäñòàâëåíû øïàëåðíî-ðÿäîâûìè ïîñàäêàìè.

Øèðèíó ìåæäóðÿäèé è ðàññòîÿíèå ìåæäó êóñòàìè â ðÿäó ïðè çàêëàäêå íîâûõ íàñàæäåíèé äèôôåðåíöèðóþò â çàâèñèìîñòè îò òèïà ïî÷â, ñèëû ðîñòà êóñòîâ, îñîáåííîñòåé òåõíîëîãèè âîçäåëûâàíèÿ.

 çîíå óêðûâíîãî âèíîãðàäàðñòâà äëÿ ïðîìûøëåííûõ íàñàæäåíèé â çàâèñèìîñòè îò îáåñïå÷åííîñòè ïî÷âû ïèòàòåëüíûìè ýëåìåíòàìè ïðèíÿòî ðàññòîÿíèå ìåæäó ðÿäàìè 3 - 3,5 ì. Ðàññòîÿíèå ìåæäó êóñòàìè äèôôåðåíöèðóåòñÿ â çàâèñèìîñòè îò ñèëû ðîñòà: äëÿ ñëàáîðîñëûõ ñîðòîâ äî 1,5 ì; ñðåäíåðîñëûõ 1,75-2,0 ì; ñèëüíîðîñëûõ - 2,0-2,5 ì.

Ðåêîìåíäóåìàÿ ñõåìà ïîñàäêè êóñòîâ íà ìàòî÷íèêàõ ïðèâîéíûõ ëîç èíòåíñèâíîãî òèïà 3,0 ×1,5-2.0 ì. Ïðè çàêëàäêå ñóïåðèíòåíñèâíûõ ìàòî÷íèêîâ ïðèâîÿ ðàññòîÿíèå ìåæäó êóñòàìè â ðÿäó - ñ ó÷¸òîì ïëàíèðóåìîãî ñïîñîáà îáðàáîòêè ìåæäóðÿäèé - 3,0 ì.

Òàáëèöà 3 - Ðàñ÷¸ò ïîòðåáíîñòè â ïîñàäî÷íîì ìàòåðèàëå

Ñîðò

Ïëîùàäü ïîñàäîê, ãà

Ñõåìà ïîñàäêè, ì

Ïîñàäî÷íûõ ìåñò íà 1 ãà øò.

Ñòðàõîâîé ôîíä 10%

Òðåáóåòñÿ ñàæåíöåâ ñî ñòðàõîâûì ôîíäîì, øò






íà 1ãà

íà âñþ ïëîùàäü

Âîñòîðã

7

3,0×2,0

1667

167

1834

12838

Íåïòóí

7

3,0×2,0

1667

167

1834

12838

Íàäåæäà ÀÇÎÑ

7

3,0×2,0

1667

167

1834

12838

Ðóñìîë

7

3,0×2,0

1667

167

1834

12838

Îñåííèé ÷¸ðíûé

7

3,0×2,0

1667

167

1834

12838

Ãå÷åè çàìàòîø

8.75

3,0×2,0

1667

167

1834

16048

Ñàïåðàâè ñåâåðíûé

8,75

3,0×1.5

2222

222

2444

21385

Öâåòî÷íûé

8,75

3,0×2,0

1667

167

1834

16048

Ãðàíàòîâûé

8,75

3×1,75

1905

191

2096

18340

 Èòîãî 136011



5. Ïðîèçâîäñòâî ñàæåíöåâ äëÿ çàêëàäêè âèíîãðàäíèêà


5.1 Ðàñ÷¸ò îáú¸ìà ïðîèçâîäñòâà êîðíåñîáñòâåííûõ è ïðèâèòûõ ñàæåíöåâ, òðåáóåìûõ ìàòåðèàëîâ, ïëîùàäåé ìàòî÷íûõ íàñàæäåíèé è øêîëêè


Äëÿ îïðåäåëåíèÿ òðåáóåìîãî êîëè÷åñòâà ïðèâèòûõ ÷åðåíêîâ íåîáõîäèìî çíàòü âûõîä ñòàíäàðòíûõ ñàæåíöåâ èç øêîëêè. Äëÿ îòêðûòîãî ñïîñîáà âûõîä ñòàíäàðòíûõ ñàæåíöåâ ìîæåò äîõîäèòü äî 50%.

Âûõîä ïåðâîñîðòíûõ ñàæåíöåâ èç øêîëêè ïðè îòêðûòîì ñïîñîáå ïîñàäêè ñîñòàâëÿåò 50%, à ïîòðåáíîñòü â ñàæåíöàõ 136011 øò.

- 50%

Õ - 100 %

Õ=136011×100׃50=272022 øò. ïðèâèòûõ ÷åðåíêîâ.

Äëÿ âûïîëíåíèÿ 272022 øò. ïðèâèòûõ ÷åðåíêîâ íåîáõîäèìî îïðåäåëèòü ïîòðåáíîñòü â ñòàíäàðòíûõ ïîäâîéíûõ è ïðèâîéíûõ ÷åðåíêàõ.

Ïîäâîéíûõ ÷åðåíêîâ ïîòðåáóåòñÿ 272022 øò., à ñ ó÷¸òîì òîãî, ÷òî 20% ÷åðåíêîâ îòîéäåò â áðàê â ïðîöåññå ñîðòèðîâêè è ïðèâèâêè, ïîòðåáíîñòü â íèõ ñîñòàâèò

- 100%, Õ - 120%

Õ= 272022×120׃100=326426 øò.

Ïðè âûðàùèâàíèè ñàæåíöåâ îäíîé äëèíû èñïîëüçóþò ñàæåíöû îáû÷íîé äëèíû èñïîëüçóþò ïîäâîéíûå ÷åðåíêè 0.54 ì äëèíû.

Ïîòðåáíîñòü â ïðèâîéíûõ 8-ìè ãëàçêîâûõ ÷åðåíêàõ ñîñòàâëÿåò îäíó ÷åòâ¸ðòóþ ÷àñòü èçâåñòíîãî êîëè÷åñòâà ïðîèçâîäèìûõ ïðèâèòûõ ÷åðåíêîâ:

׃4= 68005,5 øò.

Ðàñ÷¸ò ïëîùàäè ìàòî÷íèêà ïîäâîéíûõ ëîç ñóïåðèíòåíñèâíîãî òèïà.

׃120000=2,7 ãà.

Ðàñ÷¸ò ïëîùàäè ìàòî÷íèêîâ ñóïåðèíòåíñèâíîãî òèïà ïðèâîéíûõ ÷åðåíêîâ

,5 ׃150000=0.45 ãà.

Ïëîùàäü øêîëêè.

Ïðè îòêðûòîì ñïîñîáå âûðàùèâàíèÿ íà 1 ãà øêîëêè âûñàæèâàåòñÿ - 250 - 300 òûñ. øò. ïðèâèòûõ ÷åðåíêîâ

׃ 250000=1,1 ãà.

Ðàñ÷¸ò ïîòðåáíîñòè â ìàòåðèàëàõ è îáîðóäîâàíèè.

Äëÿ ñòðàòèôèêàöèè ïðèâèòûõ ÷åðåíêîâ íåîáõîäèìî èìåòü ÿùèêè. Ñ ó÷¸òîì òîãî, ÷òî â îäèí ñòðàòèôèêàöèîííûé ÿùèê óìåùàåòñÿ 700 ïðèâèòûõ ÷åðåíêîâ, ïîëó÷àåì:

׃ 700=389 øò.

Íà 1 ìëí. ïðèâèâîê íåîáõîäèìî èìåòü 50 òîíí îïèëîê ìÿãêèõ ïîðîä, â íàøåì æå ñëó÷àå:

- 1000000

Õ - 272022, Õ= 14 òîíí.

Íà 1 ìëí ïðèâèâîê íóæíî 1,5 - 2 òîííû ïàðàôèíà, â íàøåì ñëó÷àå

- 1000000

Õ - 272022

Õ=0,5 òîíí.

Íà 1 ìëí ïðèâèâîê íåîáõîäèìî 0,6 òîíí ïîëèýòèëåíîâîé ïë¸íêè:

,6 - 1000000

Õ - 272022

Õ=0.2 òîííû.

Ãåòåðîàóêñèíà íå ìåíåå 1 êã íà 1 ìëí:

- 1000000

Õ - 272022

Õ=0,3 êã.

Õèíàçîëà íà 1 ìëí 150 êã:

- 1000000

Õ - 272022

Õ=41 êã.

Íà 1 ìëí ïðèâèâîê òðåáóåòñÿ 15 ýëåêòðîñòðàòèôèêàöèîííûõ óñòàíîâîê, â íàøåì æå ñëó÷àå:

- 1000000

Õ - 272022, Õ=4 øò.

Ýëåêòðîïàðàôèíàòîðîâ íà 1 ìëí 3 øò:

- 1000000

Õ - 272022, Õ=1.

Íà 1 ìëí ìàøèí ÌÓÃ - 2 äëÿ îñëåïëåíèÿ ãëàçêîâ íà ïîäâîå íåîáõîäèìî 6 øò:

- 1000000

Õ - 272022

Õ=2.

Òàêæå íàì ïîòðåáóþòñÿ ÷àíû äëÿ çàìî÷êè ÷åðåíêîâ, îäèí âàêóóì àïïàðàò ñ îáúåìîì êàìåð 1 ì3. Ïîòðåáíîñòü ïðèâèâî÷íûõ ìàøèí "îìåãà ñòàð" ðàññ÷èòûâàåòñÿ ñ ó÷¸òîì èõ ïðîèçâîäèòåëüíîñòè èõ çà ñìåíó è ïðîäîëæèòåëüíîñòè ïðèâèâî÷íîãî ñåçîíà: 30 äíåé×4000=120000.  íàøåì ñëó÷àå íåîáõîäèìî èìåòü 2 ìàøèíû.

5.2 Îñîáåííîñòè ñîçäàíèÿ ñåðòèôèöèðîâàííûõ ñóïåðèíòåíñèâíûõ ìàòî÷íûõ íàñàæäåíèé ïîäâîÿ è ïðèâîÿ è òåõíîëîãèè âûðàùèâàíèÿ ÷åðåíêîâ íà íèõ


Ìàòî÷íèêè ñóïåðèíòåíñèâíîãî òèïà ïîçâîëÿþò â 15-20 ðàç èíòåíñèôèöèðîâàòü ïðîèçâîäñòâî ñåðòèôèöèðîâàííûõ ÷åðåíêîâ âèíîãðàäà íà íåáîëüøèõ èçîëèðîâàííûõ ó÷àñòêàõ, ñâîáîäíûõ îò íåìàòîä è ôèëëîêñåðû, ïåðåíîñ÷èêîâ âèðóñîâ è äðóãèõ áîëåçíåé. Çàêëàäêà ìàòî÷íèêîâ ñóïåðèíòåíñèâíîãî òèïà çäîðîâûì, âûñîêîïðîäóêòèâíûì ïîñàäî÷íûì ìàòåðèàëîì ïîçâîëÿåò íå òîëüêî ñîêðàòèòü ïëîùàäè ìàòî÷íèêîâ ïîäâîéíûõ ñîðòîâ â 2,5 ðàçà, à ïðèâîéíûõ â 8 - 10 ðàç, íî áûñòðî ðàçìíîæèòü òðåáóåìûå ñîðòà è êëîíû êëàññè÷åñêèõ, ïåðñïåêòèâíûõ è íóæíûõ ïîäâîéíûõ ñîðòîâ. Íàëè÷èå òàêèõ ìàòî÷íèêîâ ïîçâîëÿåò ñâîåâðåìåííî çàãîòàâëèâàòü ÷åðåíêè, çàãîòàâëèâàòü ÷åðåíêè, èñïîëüçîâàòü äëÿ ðàçìíîæåíèÿ ëó÷øèå ïî êà÷åñòâó íèæíèå è ñðåäíèå ÷àñòè õîðîøî ðàçâèòûõ è âûçðåâøèõ ïîáåãîâ, ó÷èòûâàÿ ðàçíîêà÷åñòâåííîñòü èõ è ãëàçêîâ íà íèõ, ðåãåíåðàöèîííûå îñîáåííîñòè ñîðòà, à òàêæå ïîääåðæèâàòü âûñîêèé óðîâåíü àãðîòåõíèêè è ïðîâîäèòü âñå âèäû êîíòðîëÿ.

Äëÿ ïîñàäêè ìàòî÷íèêîâ ïîäâîéíûõ è ïðèâîéíûõ ñîðòîâ ïðèìåíÿþò ÷åðåíêè, îäíîëåòíèå è äâóëåòíèå ïðèâèòûå è êîðíåñîáñòâåííûå, à òàêæå âåãåòèðóþùèå ñàæåíöû. Ó÷èòûâàÿ, ÷òî ñóïåðèíòåíñèâíûå ìàòî÷íèêè çàêëàäûâàþò çäîðîâûì ïîñàäî÷íûì ìàòåðèàëîì íà çåìëÿõ, ñâîáîäíûõ îò íåìàòîä, ôèëëîêñåðû è äðóãèõ áîëåçíåé è âðåäèòåëåé, à òàêæå íåáîëüøîé ñðîê ýêñïëóàòàöèè (10-12 ëåò) èõ ëó÷øå ñîçäàâàòü êîðíåñîáñòâåííûì ïîñàäî÷íûì ìàòåðèàëîì. Ýòî ñóùåñòâåííî ñîêðàùàåò ñðîêè ñîçäàíèÿ íàñàæäåíèé, òðóäî¸ìêîñòü, ñòîèìîñòü è â çíà÷èòåëüíîé ñòåïåíè ãàðàíòèðóåò îò çàðàæåíèÿ âèðóñíûìè è äðóãèìè áîëåçíÿìè, îñîáåííî îò ïîäâîÿ. Ïðè çàêëàäêå ìàòî÷íèêîâ ïðåèìóùåñòâî íåîáõîäèìî îòäàâàòü ñàæåíöàì. Äëÿ îáåñïå÷åíèÿ íàèáîëüøåé íàèáîëüøåé ïðîäóêòèâíîñòè íàñàæäåíèé, õîðîøåãî ðîñòà è âûçðåâàíèÿ ïîáåãîâ, íàêîïëåíèÿ äîñòàòî÷íîãî êîëè÷åñòâà ïèòàòåëüíûõ âåùåñòâ â íèõ, îáåñïå÷åíèÿ ïðèìåíåíèÿ ìåõàíèçàöèè ïî óõîäó ñ ó÷¸òîì áèîëîãè÷åñêèõ îñîáåííîñòåé ñîðòîâ äëÿ ìàòî÷íèêîâ ïðèâîéíûõ è ïîäâîéíûõ ñîðòîâ ÿâëÿåòñÿ øèðèíà 3 ìåòðà. Ðàññòîÿíèå ìåæäó êóñòàìè äëÿ ïîäâîéíûõ ñîðòîâ 0,5-0,6 ì (6670 êóñòîâ íà ãà), à äëÿ ïðèâîéíûõ - 0.3 ì (11100 êóñòîâ íà ãà) â çàâèñèìîñòè îò ñèëû ðîñòà ñîðòîâ è ïî÷âåííûõ óñëîâèé.

Êóñòû ìàòî÷íèêîâ ïîäâîéíûõ ñîðòîâ ìîæíî îáðåçàòü ïî ìèíèêîðîòêîðóêàâíîé ôîðìå ñî øòàìáîì âûñîòîé 30 - 40 ñì. ò.å. ÷òîáû îí äîõîäèë äî íèæíåé ïðîâîëîêè øïàëåðû. Ýòî ñâÿçàíî ñ òåì, ÷òî ïîäâîéíûå ñîðòà íå òðåáóþò óêðûòèÿ íà çèìó, è êðîìå òîãî, îáëåã÷àåòñÿ îáðàáîòêà ïî÷âû â ðÿäàõ. Êóñòû ìàòî÷íèêîâ ïðèâîéíûõ ëîç ôîðìèðóþ ò ïî ìèíèêîðîòêîðóêàâíîé ôîðìå ñ îñòàâëåíèåì íà ãîëîâå êóñòà 2-3 ñó÷êîâ äëèíîé 1 - 2 ãëàçêà. Ýòà ôîðìà êóñòà îáëåã÷àåò îêó÷èâàíèå êóñòîâ íà çèìó, íå òðåáóåò ïðîâåäåíèÿ ñóõîé ïîäâÿçêè è óäîáíà ïðè å¸ âûâåäåíèè è ïðè çàãîòîâêå ÷åðåíêîâ. Ëó÷øåé îïîðîé äëÿ òàêèõ ôîðìèðîâîê ÿâëÿåòñÿ âåðòèêàëüíàÿ. Âåðòèêàëüíàÿ øïàëåðà íà ìàòî÷íèêàõ îòëè÷àåòñÿ îò øïàëåðû íà îáû÷íûõ âèíîãðàäíèêàõ òîëüêî áîëüøåé âûñîòîé (2,2-2,5 ì) è áîëåå ÷àñòûì ðàñïîëîæåíèåì ïðîâîëîê. Êîòîðûå íàäî íàòÿãèâàòü ÷åðåç 30-40 ñì îäíà îò äðóãîé.

Òàáëèöà 4. Ïîêàçàòåëè ñòàíäàðòà íà ÷åðåíêè (ÃÎÑÒ 28 81-89)

Íàïðàâëåíèå èñïîëüçîâàíèÿ

Âíåøíèé âèä

Òîëùèíà ÷åðåíêîâ, ìì

Äëèíà ÷åðåíêîâ, ñì èëè ãëàçêîâ

Âëàæíîñòü, %

×åðåíêè ïîäâîåâ

Áåç ìåõàíè÷åñêèõ ïîâðåæäåíèé, áåç óñèêîâ è ïàñûíêîâ, áåç ïðèçíàêîâ ïîäñûõàíèÿ.

 7 - 13

 35 - 50

 46

×åðåíêè ïðèâîåâ


 7 - 13

 6 - 8

 47 - 48


Ïîäâîéíûå ÷åðåíêè çàãîòàâëèâàþò ïîñëå íàñòóïëåíèÿ ìîðîçîâ ò.ê. çäåñü íå íóæíî áîÿòüñÿ çà ãëàçêè. Îïòèìàëüíûé ñðîê çàãîòîâêè ÷åðåíêîâ ïîäâîÿ äåêàáðü-ÿíâàðü.  ýòî âðåìÿ â ÷åðåíêàõ íàêàïëèâàåòñÿ íàèáîëüøåå êîëè÷åñòâî ïèòàòåëüíûõ âåùåñòâ, îñîáåííî óãëåâîäîâ â âèäå ìîíî - è äèñàõàðèäîâ. Ñ îðãàíèçàöèîííîé òî÷êè çðåíèÿ â ýòî âðåìÿ íàèáîëüøåå êîëè÷åñòâî ñâîáîäíîé ðàáî÷åé ñèëû. ×åðåíêè íàðåçàòü íà âñþ âûçðåâøóþ ÷àñòü, îòâå÷àþùóþ ïî òîëùèíå ñòàíäàðòó, ò.å. ÷òîáû â âåðõíåì êîíöå ÷åðåíêà òîëùèíà äîëæíà áûòü 7 ìì. Ñòàíäàðòíûì ñ÷èòàåòñÿ ÷åðåíîê ïîäâîÿ, èìåþùèé äëèíó 0,5 ì. Ïðè çàãîòîâêå ëîçó îñâîáîæäàþò îò ïàñûíêîâ, óñèêîâ, íåâûçðåâøèõ âåðõóøåê, ñâÿçûâàþò â ïó÷êè ïî 100 øò. Åñëè ïîáåãè äëèííûå ñâÿçûâàþò â òð¸õ ìåñòàõ, äâîéíîé äëèíû ñâÿçûâàþòñÿ â äâóõ. Íàâåøèâàþò íà ïó÷îê ýòèêåòêó ñ óêàçàíèåì ñîðòà è êàêîãî êëàññà êà÷åñòâà. Âî âðåì ÿ çàãîòîâêè íàäî îïðåäåëèòü ñîäåðæàíèå âëàãè â ÷åðåíêàõ. Îïòèìàëüíàÿ âëàãà 47-48% íà ñûðóþ ìàññó. Åñëè âëàæíîñòü íèæå îïòèìàëüíîé, òî ÷åðåíêè íåîáõîäèìî ïåðåä óêëàäêîé íà õðàíåíèå çàìî÷èòü â òå÷åíèè ñóòîê â âîäå, à çà òåì â ðàñòâîðå õèíàçîëà (0,5% ð-ð). Ïðîäîëæèòåëüíîñòü çàìî÷êè ÷åðåíêîâ â ðàñòâîðå õèíàçîëà çàâèñèò îò òåìïåðàòóðû âîäû: ïðè 5ºÑ îíà äëèòñÿ 5 ÷àñîâ. åñëè 10ºÑ 3 ÷àñà, åñëè 20ºÑ òî 2 ÷àñà. Ïîñëå çàìî÷êè ÷åðåíêàì äàþò ïðîòðÿõíóòü ñâåðõó. Ëó÷øå âñåãî õðàíèòü ÷åðåíêè â õîëîäèëüíèêàõ, ãäå ïîääåðæèâàåòñÿ òåìïåðàòóðà îò 0 äî 4ºÑ è âëàæíîñòü 75 - 80%. ×åðåíêè óêëàäûâàþò â øòàáåëè äëèíîé 2 - 2,5 ì â ãîðèçîíòàëüíîì ïîëîæåíèè, à ñâåðõó è ñ áîêîâ óêðûâàþò ïîëèýòèëåíîâîé ïë¸íêîé, êîòîðóþ ïåðèîäè÷åñêè ïîäíèìàþò ñ öåëüþ ïðîâåòðèâàíèÿ. À â ñëó÷àå ïîÿâëåíèÿ ïëåñåíè íàäî îáðàáàòûâàòü ìîëîòîé ñåðîé.

×åðåíêè ïðèâîÿ çàãîòàâëèâàþò äî íàñòóïëåíèÿ îñåííèõ çàìîðîçêîâ (â íàøèõ óñëîâèÿõ ñåðåäèíà îêòÿáðÿ è ïåðâàÿ ïîëîâèíà íîÿáðÿ). Ñòàíäàðòíûé ÷åðåíîê ïðèâîÿ äîëæåí èìåòü îò 6 äî 8 ìè ãëàçêîâ. Òîëùèíà ÷åðåíêîâ â âåðõíåì êîíöå äîëæíà áûòü îò 7 äî 13 ìì. ×åðåíêè äîëæíû áûòü àáñîëþòíî âûçðåâøèìè, ñîäåðæàòü íå ìåíåå 48% âëàãè è íå ìåíåå 12% óãëåâîäîâ, àáñîëþòíî ñâîáîäíûìè îò ëþáûõ âðåäèòåëåé è áîëåçíåé, ñî çäîðîâûìè ãëàçêàìè. Íåìåäëåííî ïîñëå çàãîòîâêè èõ ñâÿçûâàþò â ïó÷êè. Ñâÿçûâàþò ìÿãêîé ïðîâîëîêîé ëèáî èâîâûìè ïðóòüÿìè, øïàãàòîì, íàâåøèâàþò ýòèêåòêè ñ îáîçíà÷åíèåì ñîðòà, êëàññà êà÷åñòâà è íåìåäëåííî îòïðàâëÿþò íà õðàíåíèå.

5.3 Àãðîòåõíè÷åñêèé ïëàí ïðîèçâîäñòâà ïðèâèòûõ âèíîãðàäíûõ ñàæåíöåâ


Òàáëèöà 5

¹ ï/ï

Íàèìåíîâàíèÿ Ðàáîò, åä. èçì.

Îáú¸ì ðàáîò

 Ñîñòàâ àãðåãàòà

Êàëåíäàðíûå ñðîêè âûïîëíåíèÿ ðàáîò (ìåñÿö, äåêàäà)

Öåëü ðàáîòû è Òåõíîëîãèÿ âûïîëíåíèÿ




Ìàðêà òðàêòîðà

Ìàðêà ñ. - õ. ìàøèíû



 1. Çàãîòîâêà è õðàíåíèå ÷åðåíêîâîãî ìàòåðèàëà

1.

Çàãîòîâêà ÷åðåíêîâ ïîäâîÿ â øò.

326426

 ðó÷íóþ

 _

Äåêàáðü-ÿíâàðü

Ïîçâîëÿåò ñîêðàòèòü ñðîêè õðàíåíèÿ ëîçû, óìåíüøàåò âîçìîæíîñòü ïîðàæåíèÿ ìèêðîîðãàíèçìàìè. Äëèíà 35 - 50 ñì, òîëùèíà 7-13 ìì. Ëîçó îñâîáîæäàþò îò ïàñûíêîâ, óñèêîâ, íåâûçðåâøèõ âåðõóøåê.

2.

Çàãîòîâêà ÷åðåíêîâ ïðèâîÿ â øò.

68006

 ðó÷íóþ

 _

Ñåðåäèíà îêòÿáðÿ -  ïåðâàÿ ïîëîâèíà íîÿáðÿ

 Çàãîòîâêà ïðîâîäèòñÿ äî íàñòóïëåíèÿ îñåííèõ çàìîðîçêîâ. Äëèíà 6 - 8 ãëàçêîâ, òîëùèíà 7-13 ìì. Ëîçó îñâîáîæäàþò îò ïàñûíêîâ, óñèêîâ, íåâûçðåâøèõ âåðõóøåê.

3.

Ïîäñ÷¸ò è âÿçêà ÷åðåíêîâ â ïó÷êè, òûñ. øò.

394432

 ðó÷íóþ

 _

Äåêàáðü - ÿíâàðü (ïîäâîé) 2 ÿ äåêàäà îêòÿáðÿ - 1 ÿ äåêàäà íîÿáðÿ (ïðèâîé)

Ñâÿçûâàþò â ïó÷êè ïî 100 øò â äâóõ-òð¸õ ìåñòàõ øïàãàòîì. Ïðèêðåïëÿþò ýòèêåòêó ñ íàçâàíèåì ñîðòà, êëàññà, íîìåðà ïàðòèè.

 4.

 Äåçèíôåêöèÿ ÷åðåíêîâ

 394432

 _

 Äåêàáðü - ÿíâàðü (ïîäâîé) 2 ÿ äåêàäà îêòÿáðÿ - 1 ÿ äåêàäà íîÿáðÿ (ïðèâîé)

 Äëÿ ïðåäóïðåæäåíèÿ ïîðàæåíèÿ ãðèáíûìè áîëåçíÿìè. Âûäåðæèâàþò äî 5 ÷àñîâ â 0.5% ð-ðå õèíàçîëà èëè áåíëàòà.

5.

Ïîãðóçêà è ðàçãðóçêà ÷åðåíêîâ ïðèâîÿ øò.

68006

 ðó÷íóþ

 _

 2 ÿ äåêàäà îêòÿáðÿ - 1 ÿ äåêàäà íîÿáðÿ

Âûïîëíÿåòñÿ ñ öåëüþ òðàíñïîðòèðîâêè ê ìåñòó õðàíåíèÿ. Ïó÷êè ñëåäóåò ïåðåìåùàòü àêêóðàòíî, íå ðîíÿòü, íå áðîñàòü âî èçáåæàíèå ïîâðåæäåíèé.

6.

Ïîãðóçêà è ðàçãðóçêà ÷åðåíêîâ ïîäâîÿ Øò.

326426

 ðó÷íóþ

 _

3 ÿ äåêàäà ÿíâàðÿ

Âûïîëíÿåòñÿ ñ öåëüþ òðàíñïîðòèðîâêè ê ìåñòó õðàíåíèÿ. Ïó÷êè ñëåäóåò ïåðåìåùàòü àêêóðàòíî, íå ðîíÿòü, íå áðîñàòü âî èçáåæàíèå ïîâðåæäåíèé.

7.

Óêëàäêà ïó÷êîâ ÷åðåíêîâ ïðèâîÿ íà õðàíåíèå øò.

68006

 ðó÷íóþ

 _

 2 ÿ äåêàäà îêòÿáðÿ - 1 ÿ äåêàäà íîÿáðÿ.

Ñâåñòè äî ìèíèìóìà ïîòåðþ ïëàñòè÷åñêèõ âåùåñòâ, âëàãè, ïðåäîòâðàòèòü çàðàæåíèå ãðèáíûìè áîëåçíÿìè. Óêëàäûâàþò â õîëîäèëüíèê øòàáåëÿìè. Øòàáåëÿ ñî âñåõ ñòîðîí óêðûâàþò ïîëèýòèëåíîâîé ïë¸íêîé.

8.

Óêëàäêà ïó÷êîâ ïîäâîÿ íà õðàíåíèå øò.

326426

 ðó÷íóþ

_

Êîíåö ÿíâàðÿ

Ñâåñòè äî ìèíèìóìà ïîòåðþ ïëàñòè÷åñêèõ âåùåñòâ, âëàãè, ïðåäîòâðàòèòü çàðàæåíèå ãðèáíûìè áîëåçíÿìè. Óêëàäûâàþò â õîëîäèëüíèê øòàáåëÿìè. Øòàáåëÿ ñî âñåõ ñòîðîí óêðûâàþò ïîëèýòèëåíîâîé ïë¸íêîé.

9.

Óõîä çà ÷åðåíêàìè ïîäâîÿ è ïðèâîÿ âî âðåìÿ õðàíåíèÿ øò.

394432

 _

 _

 2 ÿ äåêàäà îêòÿáðÿ-íà÷àëî ìàðòà

Îáåñïå÷èòü âûñîêîå êà÷åñòâî ÷åðåíêîâ. Ïîääåðæèâàþò òåìïåðàòóðó 0 - 3ºÑ ïðè âëàæíîñòè âîçäóõà 90 - 95%. Ïðèîòêðûâàþò ðåãóëÿðíî ïë¸íêó íà 1 - 2 ÷àñà äëÿ ïðîâåòðèâàíèÿ øòàáåëÿ. Ïðîâåðÿþò óðîâåíü âëàæíîñòè ÷åðåíêîâ (47%), àíàëèçèðóþò íà çàðàæ¸ííîñòü ïÿòíèñòûì íåêðîçîì. Ïðèâîéíûå ÷åðåíêè ïðîâåðÿþò íà ñîõðàííîñòü ïî÷åê.

 2. Ïîäãîòîâêà ó÷àñòêà ïîä øêîëêó

1.

Ïîãðóçêà è ïîäâîç ìèíåðàëüíûõ óäîáðåíèé, êã ïî äâ. íà ãà

120-150 ôîñôîðíûõ, 150-200 êàëèéíûõ.

 

ÓÇÑÀ-40

Ñåíòÿáðü-îêòÿáðü

Îáåñïå÷èòü ñâîåâðåìåííóþ äîñòàâêó ìèíåðàëüíûõ óäîáðåíèé.

2.

Ïîãðóçêà è ïîäâîç îðãàíè÷åñêèõ óäîáðåíèé ò.

Ïåðåãíîé 40 - 60

ÌÒÇ-80

ÐÎÓ-5, ÏÔ-0,75

Ñåíòÿáðü-îêòÿáðü

Îáåñïå÷èòü ñâîåâðåìåííóþ äîñòàâêó îðãàíè÷åñêèõ óäîáðåíèé.

3.

Âíåñåíèå óäîáðåíèé. Êã ïî äâ íà ãà, ò.

120-150 ôîñôîðíûõ, 150-200 êàëèéíûõ. Ïåðåãíîé 40 - 60

ÄÒ-75Ì ÌÒÇ-80

ÏÓÕ-2À ÐÎÓ-6À

Ñåíòÿáðü-îêòÿáðü

Îáåñïå÷èòü óñëîâèÿ ïèòàíèÿ ñàæåíöåâ. Ðàçáðàñûâàþòñÿ ïåðåä ïîäú¸ìîì ïëàíòàæà

4.

Ïîäú¸ì ïëàíòàæà, ãà

1,1

Ò-130

ÏÏÓ-50À

Ñåíòÿáðü-îêòÿáðü

Óëó÷øåíèå ôèçèêî-õèìè÷åñêèõ ñâîéñòâ ïî÷âû è ïðîòåêàþùèõ â íåé ïðîöåññîâ. Ïàõîòó ïðîâîäÿò íà ãëóáèíó íå ìåíåå 50 ñì, ñ òàêèì ðàñ÷¸òîì, ÷òîáû îíà áûëà ðàçðûõëåíà íà 10-15 ñì ãëóáæå óðîâíÿ ïîñàäêè ïðèâèâîê.

5.

Âûðàâíèâàíèå ïëàíòàæà, ãà

1,1

ÄÒ-75

ÏÀ-3

 îêòÿáðü

Îáåñïå÷èòü ðîâíóþ ïîâåðõíîñòü äëÿ äàëüíåéøåé ðàçáèâêè.

6.

Çàãîòîâêà êîëûøêîâ äëÿ ðàçáèâêè, øò.


 ðó÷íóþ


ëåòî


7.

Ðàçáèâêà ó÷àñòêà íà êëåòêè, ãà

1,1

 ðó÷íóþ


 Êîíåö îêòÿáðÿ.

Îáîçíà÷èòü ãðàíèöû. Ïëîùàäü êëåòêè 1 ãà. Äëèíà 100 ì.

8.

Ìàðêèðîâêà ðÿäîâ, ãà

1,1

Ò-38

ÊÐÍ-4.2

 Êîíåö îêòÿáðÿ.

Îáîçíà÷èòü ðÿäû äëÿ áóäóùåé ïîñàäêè. Ðàáî÷èå îðãàíû óñòàíàâëèâàþò íà ðàññòîÿíèè 3ì.

 3. Ïðåäïðèâèâî÷íàÿ ïîäãîòîâêà ÷åðåíêîâ

1.

Âûáîðêà ÷åðåíêîâ ïîäâîÿ è ïðèâîÿ èç õðàíèëèùà, øò

394432

 ðó÷íóþ


1 ÿ äåêàäà ìàðòà (ïîäâîé) 3 ÿ äåêàäà ìàðòà (ïðèâîé)

Âûíóòü ÷åðåíêè èç õðàíèëèùà äëÿ ïîäãîòîâêè ê ïðèâèâî÷íîé êîìïàíèè.

2.

Íàðåçêà ÷åðåíêîâ ïîäâîÿ íà 0,5 ì ÷åðåíêè. øò

326426

 ðó÷íóþ


 1ÿ äåêàäà ìàðòà

Ðàçðåçàòü ïîäâîéíóþ ëîçó íà ÷åðåíêè òðåáóåìîé äëèíû. Íèæíèé ñðåç äåëàþò íà 0,5 ñì íèæå óçëà, à âåðõíèé ïî ìåòêå. Îòáðàêîâûâàþò êðèâûå, ñ ìåõàíè÷åñêèìè ïîâðåæäåíèÿìè.

3.

Îñëåïëåíèå ÷åðåíêîâ ïîäâîÿ, øò

326426


ÌÓÃ-2

 1ÿ äåêàäà ìàðòà

Óäàëèòü çèìóþùèå ãëàçêè. Ãëàçêè óäàëÿþòñÿ áåç ïîâðåæäåíèÿ ñîñóäîâ êñèëåìû.

4.

Íàðåçêà ïðèâîÿ íà îäíîãëàçêîâûå ÷åðåíêè è óêëàäêà èõ â ïîëèýòèëåíîâûå ïåðôîðèðîâàííûå ìåøêè äëÿ çàìî÷êè, øò

68006

 ðó÷íóþ


 3ÿ äåêàäà ìàðòà

 Ïðè íàðåçêå âûøå ãëàçêà îñòàâëÿþò îòðåçîê ìåæäîóçëèÿ 1-1,5 ñì. À íèæå âñ¸ ìåæäîóçëèå. Êðàéíèå ãëàçêè, à òàêæå ðàçìî÷àëåííûå, íàáèòûå èëè ñò¸ðòûå ãëàçêè, ïëîõî ñôîðìèðîâàâøèåñÿ âûáðàêîâûâàþò. Íà ìåøêè íàâåøèâàþò ýòèêåòêó ñ íàçâàíèåì ñîðòà, êîëè÷åñòâà è ãðóïïû ïî òîëùèíå.

5.

Ïîäñ÷¸ò, óêëàäêà è ñâÿçêà îñëåïë¸ííûõ ÷åðåíêîâ ïîäâîÿ â ïó÷êè èëè â ïàêåòû, øò.

326426

 ðó÷íóþ


 1ÿ äåêàäà ìàðòà

Ñâÿçûâàþò â ïó÷êè ïî 100 øò, òùàòåëüíî âûðàâíèâàþò âåðõíèå êîíöû.

6.

Óêëàäêà ïîäâîéíûõ è ïðèâîéíûõ ÷åðåíêîâ íà çàìî÷êó.

 544044

 ðó÷íóþ


 1ÿ äåêàäà ìàðòà (ïîäâîé) 3ÿ äåêàäà ìàðòà (ïðèâîé)

Îáåñïå÷åíèå èíòåíñèôèêàöèè ðåãåíåðàöèîííûõ ïðîöåññîâ. Ïîäâîéíûå ÷åðåíêè çàìà÷èâàþò â òå÷åíèå 48-72 ÷àñîâ, ïðèâîéíûå â òå÷åíèå 14-16 ÷àñîâ.

7.

Âûåìêà ïðèâîéíûõ è ïîäâîéíûõ ÷åðåíêîâ ïîñëå çàìî÷êè, øò

 544044

 ðó÷íóþ


 1ÿ äåêàäà ìàðòà (ïîäâîé) 3ÿ äåêàäà ìàðòà (ïðèâîé)

Íåîáõîäèìî äîáèòüñÿ óðîâíÿ âëàæíîñòè 53-55%.

8.

Ïîäãîòîâêà ðàñòâîðà õèíàçîëà è îáðàáîòêà â í¸ì ÷åðåíêîâ ïîäâîÿ è ïðèâîÿ, øò.

 544044

 ðó÷íóþ


 1ÿ äåêàäà ìàðòà (ïîäâîé) 3ÿ äåêàäà ìàðòà (ïðèâîé)

Äëÿ ïðåäîòâðàùåíèÿ ðàçâèòèÿ ãðèáíûõ áîëåçíåé ÷åðåíêè çàìà÷èâàþò â 0,5% ðàñòâîðå õèíàçîëà â òå÷åíèå 2 ÷àñîâ â æåëåçíûõ ¸ìêîñòÿõ.

9.

Óêëàäêà ÷åðåíêîâ ïîäâîÿ íà ïðåäïðèâèââî÷íóþ ñòðàòèôèêàöèþ, øò.

326426

 ðó÷íóþ


1ÿ äåêàäà ìàðòà.

Ïðîâîäèòñÿ ñ öåëüþ ïîëó÷åíèÿ îäíîâðåìåííîãî è êðóãîâîãî êàëëóñà ïî âñåé îêðóæíîñòè êîïóëÿöèîííûõ ñðåçîâ ïðèâîÿ è ïîäâîÿ. Ïîñëå çàìî÷êè â ðàñòâîðå 0,5 % õèíàçîëà íà ïîë íå îáîãðåâàåìîãî ïîìåùåíèÿ ðàññûïàþò âëàæíûå ïðîïàðåííûå îïèëêè ñëîåì 5-6 ñì. Ñ áîêîâ óñòàíàâëèâàþò äåðåâÿííûå ùèòû âûñîòîé îêîëî ìåòðà. Íà îïèëêè óñòàíàâëèâàþò ïó÷êè ïîäâîéíûõ ÷åðåíêîâ íèæíèìè êîíöàìè âíèç, ïëîòíî äðóã ê äðóãó. Ïðîñòðàíñòâî ìåæäó íèìè çàñûïàþò îïèëêàìè. Ðàññòîÿíèå ìåæäó ùèòàìè è êðàéíèìè ðÿäàìè ïó÷êîâ 5-6 ñì. Òàêæå çàïîëíÿþò îïèëêàìè è òùàòåëüíî óïëîòíÿþò. Ïî âåðõ ïó÷êîâ íàñûïàþò ñëîé îïèëîê òîëùèíîé 3-4ñì. Çàòåì íàêðûâàþò ïîëèýòèëåíîâîé ïë¸íêîé. Ïë¸íêà çàïðàâëÿåòñÿ âíèç íà 10 ñì. Ïî âåðõ ïë¸íêè ïîìåùàþòñÿ ýëåêòðîíàãðåâàòåëüíûå ýëåìåíòû. Äëÿ îïðåäåëåíèÿ îêîí÷àíèÿ ñòðàòèôèêàöèè ðÿäîì ñ îñëåïë¸ííûìè ÷åðåíêàìè êëàäóò ïó÷îê íåîñëåïë¸ííûõ ÷åðåíêîâ. Ñòðàòèôèêàöèÿ ïðîõîäèò ïðè òåìïåðàòóðå 25 - 26ºÑ â òå÷åíèè 7-8 äíåé.

10.

Âûåìêà ÷åðåíêîâ ïîäâîÿ ïîñëå ïðåäïðèâèâî÷íîé ñòðàòèôèêàöèè

326426

 ðó÷íóþ


3ÿ äåêàäà ìàðòà

Ïî ïðîøåñòâèè 7-8 ìè äíåé ïðîâåðÿþò ïó÷îê íåîñëåïë¸ííûõ ÷åðåíêîâ. Íà÷àëî ðàñïóñêàíèÿ ãëàçêîâ íà ýòîì ïó÷êå ñâèäåòåëüñòâóåò îá îêîí÷àíèè ïðåäïðèâèâî÷íîé ñòðàòèôèêàöèè.

11.

Ïîäíîñ ÷åðåíêîâ ïîäâîÿ è ïðèâîÿ ê ïðèâèâàëüùèêàì.

544044

 ðó÷íóþ


 3ÿ äåêàäà ìàðòà


 4. Ïðèâèâêà, ñòðàòèôèêàöèÿ è çàêàëêà

 1.

 Ïðèâèâêà ðó÷íàÿ

 272022

 Â ðó÷íóþ


 Òðåòüÿ äåêàäà ìàðòà

 ×åðåíîê ïðèâîÿ èëè ïîäâîÿ áåðóò â ëåâóþ ðóêó, óêàçàòåëüíûé ïàëåö ðàñïîëàãàþò íåïîñðåäñòâåííî ïîä ìåñòîì ñðåçà. Ïðèâèâî÷íûé íîæ óäåðæèâàþò ïðàâîé ðóêîé, áîëüøîé ïàëåö êîòîðîé óïèðàåòñÿ â ÷åðåíîê. ßçû÷îê äîëæåí íàõîäèòüñÿ íàä ñåðäöåâèíîé ÷åðåíêà è äîõîäèòü äî å¸ îñíîâàíèÿ. Íåîáõîäèìî îáðàòèòü âíèìàíèå, ÷òîáû ïðè íàðåçêå ÿçû÷êîâ íîæ çàãëóáëÿëñÿ ïëàâíî è áåç ðûâêîâ. Ïîäâîé áåðóò â ëåâóþ ðóêó, ïðèâîé â ïðàâóþ. Ïàëüöû îáåèõ ðóê äîëæíû óïèðàòüñÿ äðóã â äðóãà. Ýòî ïîçâîëÿåò ïîäâåñòè ÿçû÷êè äðóã çà äðóãà ïóò¸ì íàæàòèÿ íà ïðèâîé è ïîäâîé, è çà òåì áåç óïîðà ïàëüöåâ ïóò¸ì íàæàòèÿ íà ïðèâîé è ïîäâîé ñîåäèíèòü èõ âìåñòå. Ñîåäèíåíèå äîëæíî áûòü ïðî÷íîå, áåç ïðîñâåòîâ è ðàñêîëîâ.

2.

Ìàøèííàÿ ïðèâèâêà, øò

272022


"Îìåãà ñòàð"

Òðåòüÿ äåêàäà ìàðòà

Ñíà÷àëà â ìàøèíó âêëàäûâàþò ïðèâîé, äåëàþò ñðåç, ïðè÷¸ì íîæ ïðèäåðæèâàåò ÷åðåíîê. Çàòåì ñ ïðîòèâîïîëîæíîé ñòîðîíû âêëàäûâàþò ïîäâîé, äåëàþò ñðåç. Îäíîâðåìåííî ìàøèíà âäâèãàåò ïðèâîé â ðàçðåç ïîäâîÿ, ïîñëå ÷åãî ñáðàñûâàåò ãîòîâóþ ïðèâèâêó.

3.

Êîíòðîëü êà÷åñòâà è ïîäñ÷¸ò ïðèâèòûõ ÷åðåíêîâ, øò

272022

 ðó÷íóþ


 3ÿ äåêàäà ìàðòà

Ó ïðèâèâîê, ñäåëàííûõ ðó÷íûì ñïîñîáîì îáðàùàþò âíèìàíèå íà ñîåäèíåíèå. Îíî äîëæíî áûòü ïëîòíûì, áåç ïðîñâåòîâ, êîìïîíåíòû ïðèâèâêè äîëæíû áûòü îäèíàêîâîãî äèàìåòðà Ïðè ìàøèííîé ïðèâèâêè íå äîëæíî áûòü ðàçìî÷àëèííûõ ñðåçîâ

4.

Ïðîñåèâàíèå îïèëîê, ò

50

 ðó÷íóþ


3ÿ äåêàäà ìàðòà

Èñïîëüçóþò îïèëêè ìÿãêèõ ïîðîä (åëü, ñîñíà), îáåñïå÷èâàþùèõ õîðîøóþ àýðàöèþ. Îíè äîëæíû áûòü êðóïíûå. Ïðîñåèâàþò ÷åðåç ãðîõîò.

5.

Ïðîïàðêà îïèëîê ñ îäíîâðåìåííîé äåçèíôåêöèåé ðàñòâîðîì õèíîçîëà, ò.

50



3ÿ äåêàäà ìàðòà

Íàñûùåíèå âëàãîé è óíè÷òîæåíèå âðåäîíîñíûõ îáúåêòîâ. Ïðîïàðèâàþò ïåðåãðåòûì ïàðîì 130ºÑ, äîâîäÿò äî îïòèìàëüíîé âëàæíîñòè, äëÿ ïðåäóïðåæäåíèÿ ïîÿâëåíèÿ ïëåñåíè èëè ãíèëè ïðîïàðèâàþò ñ ïðèìåíåíèåì õèíîçîëà (100 ã íà 1000 ë âîäû).

6.

Óêëàäêà ïðèâèòûõ ÷åðåíêîâ â ñòðàòèôèêàöèîííûå ÿùèêè ñ ïåðåñëàèâàíèåì âëàãîóäåðæèâàþùèì ìàòåðèàëîì, øò.

272022

 ðó÷íóþ

ÓÝÑ - 6,ÝÑÓ - 2ì

 3ÿ äåêàäà ìàðòà

Îáåñïå÷èòü óñëîâèÿ äëÿ îáðàçîâàíèÿ êàëóññà â ìåñòàõ ñîåäèíåíèÿ ïîäâîÿ è ïðèâîÿ. Ñíèìàåòñÿ áîêîâàÿ ñòåíêà è ÿùèê óñòàíàâëèâàåòñÿ â íàêëîííîì ïîëîæåíèè îòêðûòîé ñòîðîíîé êâåðõó. Íà äíî ÿùèêà íàñûïàþò îïèëêè ñëîåì 5 ñì, íà÷èíàÿ îò ëåâîé áîêîâîé ñòîðîíû, íà ñëîé îïèëîê óêëàäûâàåòñÿ íèæíèìè êîíöàìè ðÿä ïðèâèâîê. Êðàéíèå ïðèâèâêè äîëæíû íàõîäèòüñÿ íà ðàññòîÿíèè 5 - 6 ñì îò áîêîâûõ ñòåíîê ÿùèêà. Âåðõóøêè ïðèâèâîê äîëæíû áûòü íà îäíîì óðîâíå. Êîãäà äî êðàÿ ÿùèêà îñòà¸òñÿ ñâîáîäíîãî ìåñòà 5 ñì, óêëàäêà ïðèâèâîê ïðåêðàùàåòñÿ, ïîñëå ïðèâåäåíèÿ ÿùèêà â ãîðèçîíòàëüíîå ïîëîæåíèå, âåðõóøêè ïðèâèâîê çàñûïàþò ïðîïàðåííûìè è óâëàæí¸ííûìè îïèëêàìè, èìåþùèìè òåìïåðàòóðó 25 - 30ºÑ ñëîåì 5 - 6 ñì. Íà îïèëêè íàñòèëàþò êîâðèê èç ïîëèýòèëåíîâîé ïë¸íêè, êðàÿ êîòîðîé çàïðàâëÿþò íà 10 - 12 ñì, à íà ïë¸íêó óêëàäûâàþò íàãðåâàòåëüíûé ýëåìåíò. Ñâåðõó íà íåãî íàñûïàþò ñëîé îïèëîê 7 - 8 ñì.

7.

Óõîä çà ïðèâèòûìè ÷åðåíêàìè âî âðåìÿ ñòðàòèôèêàöèè, øò

272022



3ÿ äåêàäà ìàðòà-3ÿ äåêàäà àïðåëÿ

Îáåñïå÷èòü îáðàçîâàíèå êðóãîâîãî êàëëóñà â çîíå ñïàéêè, ñâåñòè äî ìèíèìóìà îáðàçîâàíèå êàëëóñà è êîðíåé íà íèæíåì êîíöå ïîäâîÿ è ðàñïóñêàíèÿ ïî÷åê ïðèâîÿ. Òåìïåðàòóðà äîëæíà áûòü ïîâûøåííàÿ 25 - 26ºÑ â çîíå ñïàéêè è ïîíèæåííàÿ 15 - 18ºÑ ó îñíîâàíèÿ ïîäâîÿ. ßùèêè óñòàíàâëèâàþòñÿ íà öåìåíòíûé ïîë. Âëàæíîñòü âîçäóõà 85 - 90%. Ïîìåùåíèå äîëæíî õîðîøî îñâåùàòüñÿ è ñèñòåìàòè÷åñêè ïðîâåòðèâàòüñÿ, äëÿ ýòîãî ïîë ñìà÷èâàåòñÿ âîäîé.

8.

Ñíÿòèå ïðèâèòûõ ÷åðåíêîâ ñ òðàíñïîðòèðîâêîé ê ìåñòó ðàçáîðêè

272022

 ðó÷íóþ


 3ÿ äåêàäà àïðåëÿ

Çàâåðøåíèå ïðîöåññà ñòðàòèôèêàöèè ïðîèçâîäèòñÿ òîãäà, êîãäà ó 70% ïðèâèâîê â çîíå ñïàéêè îáðàçóåòñÿ êðóãîâîé êàëëóñ. Óñòàíîâêè îòêëþ÷àþòñÿ îò ñåòè, ðàçúåäèíÿþòñÿ íàãðåâàòåëüíûå ýëåìåíòû è èçâëåêàþòñÿ âìåñòå ñ âåðõíèì ñëîåì îïèëîê èç ÿùèêîâ. Ïðèâèâêè òðàíñïîðòèðóþòñÿ ê ìåñòó ðàçáîðêè àêêóðàòíî, ñòàðàþòñÿ èçáåæàòü ìåõàíè÷åñêèõ ïîâðåæäåíèé.

9.

Ðàçáîðêà è ñîðòèðîâêà ïðîñòðàòèôèöèðîâàííûõ ÷åðåíêîâ íà 1 - 2 ñîðò è áðàê.

272022

 ðó÷íóþ


 3ÿ äåêàäà àïðåëÿ

Ïðèâèâêè ðàçáèðàþòñÿ, íà íèõ óäàëÿþòñÿ îïèëêè è êîðíè îò ïðèâîÿ. Ïðèâèâêè äåëÿòñÿ íà äâà ñîðòà. Ê ïåðâîìó ñîðòó îòíîñÿòñÿ òå ó êîòîðûõ ðàçâèëñÿ êðóãîâîé êàëëóñ â çîíå ñïàéêè. À íà ïðèâîå çäîðîâûé ãëàçîê, íà áàçàëüíîì êîíöå ïîäâîÿ èìåþòñÿ êîðíåâûå áóãîðêè. Êî âòîðîìó ñîðòó îòíîñÿò ïðèâèâêè êîòîðûå èìåþò äåôåêòû: â çîíå ñïàéêè íå êðóãîâîé êàëëóñ è ñîìíèòåëüíûé ãëàçîê, èëè êðóãîâîé êàëëóñ íî ñîìíèòåëüíûé ãëàçîê.

 10.

 Ïàðàôèíèðîâàíèå ïðèâèòûõ ÷åðåíêîâ ïåðâîãî è âòîðîãî ñîðòà.

 272022

 Â ðó÷íóþ

 ÝÏ-2

 3ÿ äåêàäà àïðåëÿ

 Ïðåäîòâðàòèòü ïîòåðþ âëàãè ïðèâèâêàìè. Ïàðàôèí äîëæåí áûòü ðàñïëàâëåí äî òåìïåðàòóðû 75 - 85º. Ïðèâèâêè âåðõíåé ÷àñòüþ (ïîëîâèíó) â ðàñïëàâëåííûé â ïàðàôèíàòîðå ïàðàôèí.7 - 10 ïðèâèâîê äåðæàò âååðîîáðàçíî çà íèæíèå êîíöû ïîäâîÿ è îïóñêàþò âåðõíèìè êîíöàìè íà äîëþ ñåêóíäû â ãîðÿ÷èé ïàðàôèí.

11.

Óêëàäêà â ÿùèêè èëè ïàêåòû ïðèâèòûõ ÷åðåíêîâ ïåðâîãî ñîðòà è óñòàíîâêà íà ñâåòîâóþ çàêàëêó

 190415

 ðó÷íóþ


3ÿ äåêàäà àïðåëÿ

Ïîñòåïåííîå ïðèó÷åíèå ðàñòåíèé ê åñòåñòâåííûì óñëîâèÿì ïðîèçðàñòàíèÿ. Ïðèâèâêè óêëàäûâàþò â ÿùèêè èëè â ïàêåòû íà ðîâíûå ó÷àñòêè, êîòîðûå ïîêðûâàþò ïîëèýòèëåíîâîé ïë¸íêîé.  òàðó çàëèâàþò ïèòàòåëüíûé ðàñòâîð ñ äîáàâëåíèåì 0,005% ãåòåðîàóêñèíà. Ïðîâîäÿò íà ñâåòó ïðè òåìïåðàòóðå 18 - 25ºÑ

12.

Óêëàäêà â ÿùèêè èëè ïàêåòû âòîðîñîðòíûõ ïðèâèòûõ ÷åðåíêîâ è óñòàíîâêà èõ íà ïîâòîðíóþ ñòðàòèôèêàöèþ (äîðàùèâàíèå)

 81607

 ðó÷íóþ


 3ÿ äåêàäà àïðåëÿ

Îáåñïå÷èòü ïîÿâëåíèå êðóãîâîãî êàëëóñà è ïîÿâëåíèå èç æèâûõ ïî÷åê çåë¸íûõ ïîáåãîâ.  ñëåä çà ïàðàôèíèðîâàíòåì ïðèâèâêè óêëàäûâàþò â ñòðàòèôèêàöèîííûå ÿùèêè, äíî, áîêîâûå è òîðöåâûå ñòåíêè êîòîðûõ íà âûñîòó íå ìåíåå 10 ñì ïðåäââàðèòåëüíî âûñòèëàþò âîäîíåïðîíèöàåìîé ïë¸íêîé. Ïðèâèâêè óêëàäûâàþò òàêèì îáðàçîì, ÷òîáû èõ ïÿòêè íå êàñàëèñü äíà, çàëèâàþò âîäó, å¸ ñëîé íå äîëæåí ïðåâûøàòü 5 ñì. Òåìïåðàòóðó â ïîìåùåíèè ïîäíèìàþò äî 27 - 30ºÑ, à ïðèâèâêè ñâåðõó è ñ áîêîâ ïîêðûâàþò ïðîçðà÷íîé ïë¸íêîé.

13.

Ïàðàôèíèðîâàíèå ïðèâèòûõ ÷åðåíêîâ ïîñëå ïîâòîðíîé ñòðàòèôèêàöèè è óñòàíîâêà èõ íà ñâåòîâóþ çàêàëêó

81607

 ðó÷íóþ

ÝÏ-2

 3ÿ äåêàäà àïðåëÿ

Ïðåäîòâðàòèòü ïîòåðþ âëàãè ïðèâèâêàìè. Ïàðàôèí äîëæåí áûòü ðàñïëàâëåí äî òåìïåðàòóðû 75 - 85º. Ïðèâèâêè âåðõíåé ÷àñòüþ (ïîëîâèíó) â ðàñïëàâëåííûé â ïàðàôèíàòîðå ïàðàôèí.7 - 10 ïðèâèâîê äåðæàò âååðîîáðàçíî çà íèæíèå êîíöû ïîäâîÿ è îïóñêàþò âåðõíèìè êîíöàìè íà äîëþ ñåêóíäû â ãîðÿ÷èé ïàðàôèí. Ïðèâèâêè óêëàäûâàþò â ÿùèêè èëè â ïàêåòû íà ðîâíûå ó÷àñòêè, êîòîðûå ïîêðûâàþò ïîëèýòèëåíîâîé ïë¸íêîé.  òàðó çàëèâàþò ïèòàòåëüíûé ðàñòâîð ñ äîáàâëåíèåì 0,005% ãåòåðîàóêñèíà. Ïðîâîäÿò íà ñâåòó ïðè òåìïåðàòóðå 18 - 25ºÑ

14.

Óõîä çà ïðèâèòûìè ÷åðåíêàìè âî âðåìÿ çàêàëêè

272022



 3ÿ äåêàäà àïðåëÿ-1ÿ äåêàäà ìàÿ

Îáåñïå÷èâàåòñÿ íåîáõîäèìûé ñâåòîâîé ðåæèì è ïîääåðæèâàåòñÿ òåìïåðàòóðà 18 - 25º

 5. Ïîñàäêà ïðèâèòûõ ÷åðåíêîâ â øêîëêó.

1.

Ïîãðóçêà òàðû ñ ïðèâèòûìè ÷åðåíêàìè â òðàíñïîðòíîå ñðåäñòâî, øò

389

 ðó÷íóþ


 1ÿ äåêàäà ìàÿ

Ïîãðóçêà ïðîèçâîäèòñÿ àêêóðàòíî, íåîáõîäèìî èçáåãàòü ìåõàíè÷åñêèõ ïîâðåæäåíèé.

2.

Ðàçãðóçêà òàðû ñ ïðèâèòûìè ÷åðåíêàìè ñ ïîäíîñîì èõ ê ìåñòó ïîñàäêè.

389

 ðó÷íóþ


 1ÿ äåêàäà ìàÿ

Ïîãðóçêà ïðîèçâîäèòñÿ àêêóðàòíî, íåîáõîäèìî èçáåãàòü ìåõàíè÷åñêèõ ïîâðåæäåíèé

3.

Íàðåçêà ùåëåé, ïîëèâ, íàòÿæêà ïë¸íêè è å¸ ïåðôîðèðîâàíèå

34

 Ò-70Â

ØÏË-1

 1ÿ äåêàäà ìàÿ

Ïî÷âó òùàòåëüíî ïëàíèðóþò, íà íåé ÷åðåç êàæäûå 3 ì íàðåçàþò ïàðàëëåëüíûå áîðîçäû ãëóáèíîé äî 40 ñì.  áîðîçäû çàëèâàåòñÿ âî äà äî îáðàçîâàíèÿ ïóëüïû. Ðàññòèëàþò ïë¸íêó, êàê ìîæíî ïëîòíåå ïðèæèìàþò ê ïîâåðõíîñòè ïî÷âû è çàêðåïèòü â öåëÿõ íåäîïóùåíèÿ ñäóâàíèÿ å¸ âåòðîì. Ïåðåä ïîñàäêîé ïë¸íêó ïðîêàëûâàþò ìåòàëëè÷åñêèì øòûð¸ì-ìàðêåðîì, çàãëóáëÿÿ åãî íà ãëóáèíó 20-25 ñì.

4.

Ïîñàäêà ïðèâèòûõ ÷åðåíêîâ

272022

 ðó÷íóþ


1ÿ äåêàäà ìàÿ

Ïðèâèâêè âûñàæèâàþò íà ãëóáèíó 18 - 20 ñì, ðàçìåùàÿ èõ òð¸õñòðî÷íûìè ëåíòàìè ñ ðàññòîÿíèåì ìåæäó ñòðî÷êàìè â ëåíòå - 20 ñì, ìåæäó ëåíòàìè - 60 ñì, ìåæäó ïðèâèâêàìè â ñòðîêå - 10ñì. Ñðàçó ïîñëå ïîñàäêè ïðèâèâîê âëàæíîñòü ïî÷âû äîâîäÿò äî 90 - 95 % ÍÂ.

 6. Óõîä çà ðàñòåíèÿìè â øêîëêå

1.

4 - 5 êðàòíîå ðûõëåíèå ïî÷âû â ìåæäóðÿäüÿõ øêîëêè, ãà

1,1

Ò-70Â

ÓØ-2,2

 òå÷åíèå âñåãî ïåðèîäà âåãåòàöèè

Ïîääåðæàíèå ïî÷âû â ÷èñòîì ðûõëîì ñîñòîÿíèè.  ñëåä çà ïîñàäêîé ñëåäóåò ïðîâåñòè ãëóáîêîå ðûõëåíèå ìåæäóðÿäèé (íà 20 ñì).

2.

Äâóêðàòíîå óäàëåíèå ïîðîñëè, ãà

1,1

 ðó÷íóþ


Çà âåñü âåãåòàöèîííûé ïåðèîä

Äåëàåòñÿ äëÿ òîãî, ÷òîáû äàòü âîçìîæíîñòü óêðåïèòüñÿ ñïàéêå è õîðîøî âûçðåòü âñåìó ïðèðîñòó íà ñàæåíöå. Óäàëåíèå ïðîâîäÿò ñ ïîìîùüþ íîæà.

3.

3 - 5 êðàòíûé ïîëèâ øêîëêè

1,1


ÒÎÓ-5

Èþíü - âòîðàÿ ïîëîâèíà ñåíòÿáðÿ

Îáåñïå÷èòü áëàãîïðèÿòíûå òåïëîâîé è ïèùåâîé ðåæèìû ïîä ìóëü÷èðóþùåé ïë¸íêîé. Âëàæíîñòü ïî÷âû íåîáõîäèìî ïîääåðæèâàòü â ïðåäåëàõ 90 - 95 % ÍÂ. Ïîëèâ ïðîâîäÿò äîæäåâàíèåì.

4.

10 êðàòíîå îïðûñêèâàíèå øêîëêè ïðîòèâ ìèëäüþ

 1,1

 ÌÒÇ-80

ÎÌ-320

 òå÷åíèå âñåãî ïåðèîäà âåãåòàöèè

Ïîñëå ïîÿâëåíèÿ ëèñòîâîé ïîâåðõíîñòè îïðûñêèâàþò äî 10 ðàç 1% - íûì ðàñòâîðîì áîðäîññêîé æèäêîñòè.

5.

Àïðîáàöèÿ øêîëêè ñ óäàëåíèåì ñîðòîâîé ïðèìåñè, áîëüíûõ è íå ïðèæèâøèõñÿ ðàñòåíèé. ãà

1.1



Àâãóñò - ñåíòÿáðü

Îïðåäåëèòü ñîðòîâóþ ïðèìåñü, áîëüíûå è íå ïðèæèâøèõñÿ ðàñòåíèé ñ äàëüíåéøèì óäàëåíèåì èõ.

 6.

Äåôîëèàöèÿ ðàñòåíèé â øêîëêå, ãà

1.1



Òðåòüÿ äåêàäà îêòÿáðÿ

Óäàëåíèå ëèñòüåâ. Ïðîâîäÿò ïðè ïîìîùè 10% ðàñòâîðîì õëîðàòîì ìàãíèÿ. Äëÿ ïðèãîòîâëåíèÿ ðàñòâîðà íà 100 ë âîäû íåîáõîäèìî 1 êã õëîðàòà ìàãíèÿ ðàñòâîðèòü â 50 ë âîäû, çàòåì â áàê îïðûñêèâàòåëÿ íà 100 ë çàëèâàþò ýòîò ðàñòâîð è äîëèâàþò ÷èñòîé âîäîé äî 100 ë. Ðàñõîä íà ãà 800 - 1000 ë.

7. Âûêîïêà ñàæåíöåâ è óêëàäêà èõ íà õðàíåíèå

1.

Ìåõàíèçèðîâàííàÿ âûêîïêà ñàæåíöåâ, ãà

1.1

Ò-70Â

ÏÐÂÍ-15000

Êîíåö îêòÿáðÿ - ïåðâàÿ äåêàäà íîÿáðÿ

Ñàæåíöû âûêàïûâàþò ìàøèíîé, êîòîðàÿ óãëóáëÿåòñÿ íà 10 - 15 ñì íèæå ïÿòêè ñàæåíöåâ, ïîäðåçàåò êîðíè ñíèçó è ñ áîêîâ è ïîäíèìàåò ñàæåíöû âìåñòå ñ ðàçðûõëåííîé çåìë¸é.

2.

Âûä¸ðãèâàíèå ñàæåíöåâ ïîñëå ïîäïàõèâàíèÿ, ãà

1.1

 ðó÷íóþ


Êîíåö îêòÿáðÿ - ïåðâàÿ äåêàäà íîÿáðÿ

Ïåðåä âûáîðêîé ñàæåíöåâ èõ ïðèðîñò ñðåçàþò ñ îñòàâëåíèåì 5-6 íèæíèõ ãëàçêîâ, ðàáî÷èå áåðóò ñàæåíåö íèæå ìåñòà ñïàéêè è îñòîðîæíî âûòàñêèâàþò åãî ñ êîðíÿìè èç ïî÷âû.

3.

 Äîñòàâêà ñàæåíöåâ ñîðòèðîâùèêàì, øò

272022



Ïåðâàÿ äåêàäà íîÿáðÿ

×òîáû ñàæåíöû íå ïîäìåðçàëè è íå ïîäñîõëè èõ íàêðûâàþò áðåçåíòîì è êàê ìîæíî ñêîðåå ïåðåâîçÿò ê ìåñòó ñîðòèðîâêè.

4.

 Ñîðòèðîâêà ñàæåíöåâ, øò

272022

 ðó÷íóþ


Ïåðâàÿ äåêàäà íîÿáðÿ

Êîðíè äîëæíû áûòü çàùèùåíû îò ïîäñûõàíèÿ. Ñàæåíöû äîëæíû îòâå÷àòü ñëåäóþùèì òðåáîâàíèÿì: äîñòîâåðíîñòü ñîðòà 100%, äëèíà âûçðåâøèõ îäíîëåòíèõ ïîáåãîâ òîëùèíîé íå ìåíåå 5 ìì ó îñíîâàíèÿ äîëæíà áûòü íå ìåíåå 20 ñì, êîëè÷åñòâî êîðíåé òîëùèíîé 2 ìì è äëèíîé 12 ñì íå ìåíåå òð¸õ, ñïàéêà äîëæíà áûòü êðóãîâîé è ïðî÷íîé, ïîäâîé è ïðèâîé äîëæíû áûòü àáñîëþòíî çäîðîâûìè áåç ñëåäîâ ãðàäîáèòèÿ, ïîâðåæäåíèÿ îò ãðèáêîâûõ áîëåçíåé, ïÿòíèñòîãî è ñîñóäèñòîãî íåêðîçà, áàêòåðèàëüíîãî ðàêà.

5.

Ïîäãîòîâêà ñàæåíöåâ ê ïîñàäêå




Âòîðàÿ äåêàäà íîÿáðÿ

Óêîðà÷èâàþò ïðèðîñò äî 3-4 ãëàçêîâ, óäàëÿþò áîêîâûå êîðíè, óêîðà÷èâàþò ïÿòî÷íûå.

6.

Äåçèíôåêöèÿ ñàæåíöåâ




Âòîðàÿ äåêàäà íîÿáðÿ

Îáðàáàòûâàþò ÄÍÎÊîì èëè õèíàçîëåì.

7.

Ïàðàôèíèðîâàíèå ñàæåíöåâ

272022

 ðó÷íóþ

ÝÏ-2

Âòîðàÿ äåêàäà íîÿáðÿ

 Ïàðàôèí äîëæåí áûòü ðàñïëàâëåí äî òåìïåðàòóðû 75 - 85º. Ñàæåíöû âåðõíåé ÷àñòüþ (ïîëîâèíó) îïóñêàþò â ðàñïëàâëåííûé â ïàðàôèíàòîðå ïàðàôèí.7 - 10 ñàæåíöåâ äåðæàò âååðîîáðàçíî çà íèæíèå êîíöû ïîäâîÿ è îïóñêàþò âåðõíèìè êîíöàìè íà äîëþ ñåêóíäû â ãîðÿ÷èé ïàðàôèí.

8.

Ïîäñ÷¸ò è óâÿçêà ñàæåíöåâ â ïó÷êè èëè óïàêîâêà èõ â òàðó ñ ýòèêåòèðîâêîé, øò ïó÷êîâ

272022

 ðó÷íóþ


Òðåòüÿ äåêàäà íîÿáðÿ

Ñàæåíöû ñâÿçûâàþò â ïó÷êè ïî 25 øòóê, ñ òàêèì ðàñ÷¸òîì, ÷òîáû ñâÿçêà áûëà â òð¸õ ìåñòàõ: íàä ïÿòêàìè, íàä ñïàéêîé è ó âåðõóøåê ïîáåãîâ. Íà êàæäûé ïó÷îê íàâåøèâàþò ýòèêåòêó ñ íàçâàíèåì ñîðòà ïîäâîÿ è ïðèâîÿ è õîçÿéñòâà ïðîèçâîäèòåëÿ.

Ïîäâîç ïåñêà äëÿ õðàíåíèÿ ñàæåíöåâ




Òðåòüÿ äåêàäà íîÿáðÿ


10.

Óêëàäêà â õîëîäèëüíèê ñàæåíöåâ íà çèìíåå õðàíåíèå ñ ïåðåñûïêîé êîðíåâîé ñèñòåìû âëàæíûì ïåñêîì, øò ïó÷êîâ.

10881

 ðó÷íóþ


Êîíåö íîÿáðÿ

Ñàæåíöû õðàíÿò â õîëîäèëüíèêå ïðè òåìïåðàòóðå îêîëî 0º +2ºÑ. Âûñîòà øòàáåëÿ íå äîëæíà ïðåâûøàòü 1,5 ì. Êîðíè è 1/3 ïîäâîÿ ïåðåñûïàþò ñëîåì ñâåæåçàãîòîâëåííîãî âëàæíîãî ïåñêà. Ïðè ñæàòèè â ðóêå ïåñîê äîëæåí ñîõðàíÿòü ôîðìó, íî íå âûäåëÿòü âëàãó. Åñëè ïåñîê ïîäñûõàåò ñàæåíöû ïåðåêëàäûâàþò â íîâûå áóðòû è ñíîâà çàñûïàþò ïåñêîì.

11.

Óõîä çà ñàæåíöàìè âî âðåìÿ õðàíåíèÿ, øò

272022



Êîíåö íîÿáðÿ - íà÷àëî àïðåëÿ

 òå÷åíèè ïåðèîäà õðàíåíèÿ àãðîíîì ñëåäèò çà âëàæíîñòüþ ïåñêà è ñîñòîÿíèåì ñàæåíöåâ. Õðàíèëèùå ïåðèîäè÷åñêè ïðîâåòðèâàþò è íå äîïóñêàþò ïîÿâëåíèÿ ïëåñåíè íà ñàæåíöàõ.



6. Àãðîòåõíè÷åñêèé ïëàí ïî çàêëàäêå âèíîãðàäíèêà è óõîäó çà ìîëîäûìè íàñàæäåíèÿìè


1 È 2 ÃÎÄÀ ÂÅÃÅÒÀÖÈÈ

Òàáëèöà 6

¹ ï/ï

Íàèìåíîâàíèÿ Ðàáîò, åä. èçì.

Îáú¸ì ðàáîò

 Ñîñòàâ àãðåãàòà

Êàëåíäàðíûå ñðîêè âûïîëíåíèÿ ðàáîò (ìåñÿö, äåêàäà)

Öåëü ðàáîòû è Òåõíîëîãèÿ âûïîëíåíèÿ




Ìàðêà òðàêòîðà

Ìàðêà ñ. - õ. ìàøèíû



 1. Ïðåäïîñàäî÷íàÿ ïîäãîòîâêà ïî÷âû

1.

 Ðàñêîð÷¸âêà è ðàñ÷èñòêà ó÷àñòêà, ãà

 81

 Ò-130

ÄÏ-24

 Çà 1,5 ãîäà äî çàêëàäêè âèíîãðàäíèêà

Äëÿ óäîáñòâà ðàçáèâêè, ïîñàäêè è äàëüíåéøåãî óõîäà. Âûêîð÷åâàííûå ïíè è êîðíè ñêëàäûâàþò â êó÷è íà îäèíàêîâîì ðàññòîÿíèè äëÿ óäîáñòâà âûâîçà.

2.

Ïîãðóçêà è âûâîç ïíåé è êîðíåé ñ ó÷àñòêà, ãà

81

ÌÒÇ-80

 ÓÊÏ-0,6

 Çà 1,5 ãîäà äî çàêëàäêè âèíîãðàäíèêà

 Äëÿ óäîáñòâà ðàçáèâêè, ïîñàäêè è äàëüíåéøåãî óõîäà.

3.

Ðûõëåíèå ïî÷âû ïåðåä ïëàíèðîâêîé, ãà

81

Ò-130

ÓÊÏ-0,6

Çà 1,5 ãîäà äî çàêëàäêè âèíîãðàäíèêà

Ïðîâîäèòñÿ ñ öåëüþ ñîçäàíèÿ ïðåäïîñûëîê ê ðàçâèòèþ ñèëüíûõ âûñîêîïðîäóêòèâíûõ êóñòîâ. Ãëóáèíà ðûõëåíèÿ 80 ñì â äâóõ íàïðàâëåíèÿõ ñ ïðîõîäîì ðàáî÷åãî îðãàíà ÷åðåç 70-80 ñì.

4.

Ïëàíèðîâêà ó÷àñòêà, ãà

81

Ò-130

ÄÇ-7Ñ

Çà 1,5 ãîäà äî çàêëàäêè âèíîãðàäíèêà

Ïðîâîäèòñÿ äëÿ óñòðàíåíèÿ íåðîâíîñòåé. Çàñûïàþò âûåìêè è ñðåçàþò áóãðû.

5.

Âñïàøêà ïîä ïîñåâ òðàâ, ãà

81

ÄÒ-75Ì

ÏÐÂÍ-3

Îêòÿáðü-íîÿáðü

Ïðîâîäèòñÿ äëÿ ñîçäàíèÿ ïàõîòíîãî ñëîÿ ïîä ïîñåâ òðàâ. Ãëóáèíà 22-23 ñì.

6.

 Êóëüòèâàöèÿ ïî÷âû íà 12 ñì, ãà

81

ÄÒ-75Ì

ÏÐÂÍ-3

Ìàðò-àïðåëü

Äëÿ âûðàâíèâàíèÿ ïî÷âû è ñîçäàíèÿ ðûõëîãî ñëîÿ. Ãëóáèíà 12 ñì.

7.

Ïîñåâ ìíîãîëåòíèõ òðàâ, ãà

81

ÌÒÇ-80

ÑÇØÒ-3,6

Ìàðò-àïðåëü

Ïåðåä ïîñåâîì ïî÷âó ïðèêàòûâàþò. Ñåâ ñïëîøíîé ðÿäîâîé. Íîðìà âûñåâà 9 ìëí ñåìÿí íà 1 ãà. Ãëóáèíà çàäåëêè ñåìÿí 2-3 ñì. Îáÿçàòåëüíî ïîñëåïîñåâíîå ïðèêàòûâàíèå.

8.

Ñêàøèâàíèå è èçìåëü÷åíèå ìíîãîëåòíèõ òðàâ, ãà.

81

 ÌÒÇ-80

ÊÈÐ-1.5

Èþëü

 Ïðèìåíÿåòñÿ â êà÷åñòâå óäîáðåíèÿ äëÿ îáîãàùåíèÿ ïî÷âû îðãàíè÷åñêèì âåùåñòâîì. Ñêàøèâàåòñÿ ïåðåä öâåòåíèåì íà âûñîòå 5-6 ñì. Çà òåì ïðîâîäèòñÿ çàäåëêà íà ãëóáèíó ïàõîòíîãî ñëîÿ 25-30 ñì.

9.

Òðàíñïîðòèðîâêà è ðàçáðàñûâàíèå îðãàíè÷åñêèõ óäîáðåíèé, ò

 4050

 ÌÒÇ-80

ÐÎÓ 6À

Èþëü-àâãóñò

Îáåñïå÷èòü âèíîãðàäíîìó êóñòó áëàãîïðèÿòíûå óñëîâèÿ ïðîèçðàñòàíèÿ â òå÷åíèè 8 - 10 ëåò. Ïîëóïåðåïðåâøèé íàâîç ðàâíîìåðíî ðàçáðàñûâàþò ïî ïîâåðõíîñòè ïî÷âû, íîðìà 40-60 ò/ãà.

10.

Âíåñåíèå ìèíåðàëüíûõ óäîáðåíèé, ãà

81

 

ÐÓÌ-8

Èþëü-àâãóñò

Îáåñïå÷èòü âèíîãðàäíîìó êóñòó áëàãîïðèÿòíûå óñëîâèÿ ïðîèçðàñòàíèÿ â òå÷åíèè 8 - 10 ëåò. Ðàâíîìåðíî ðàññåèâàþò ïî ïîâåðõíîñòè ïî÷âû. Íîðìà P äî 1,5 ò/ãà, K 1 ò/ãà.

11.

 Ïîäú¸ì ïëàíòàæà, ãà

81

 Ò-130

ÏÏÓ-50À

Èþëü-àâãóñò

Óëó÷øåíèå ôèçèêî-õèìè÷åñêèõ ñâîéñòâ ïî÷âû è ïðîòåêàþùèõ â íåé ïðîöåññîâ. Ãëóáèíà 60-70ñì ñ ïåðåìåùåíèåì ñëî¸â ïî÷âû.

12.

Âûðàâíèâàíèå ïëàíòàæà, ãà

81

ÄÒ-75

ÏÀ-3

Íîÿáðü

 Îáåñïå÷èòü ðîâíóþ ïîâåðõíîñòü äëÿ äàëüíåéøåé ðàçáèâêè.

 2. Ðàçáèâêà ó÷àñòêà ïîä ïîñàäêó è ïîñàäêà âèíîãðàäíèêà

1.

Êóëüòèâàöèÿ ïî÷âû ñ áîðîíîâàíèåì â äâóõ íàïðàâëåíèÿõ, ãà.

162

ÄÒ-75

ÊÏÍ-4 Ò

Ìàðò

Âûðîâíÿòü ïîâåðõíîñòü ïî÷âû äëÿ óäîáñòâà ðàçáèâêè è óíè÷òîæèòü ñîðíÿêè. Ïðîâîäèòñÿ íà ãëóáèíó 10-12 ñì.

2.

Çàãîòîâêà ðàçáèâî÷íûõ êîëüåâ, øò.

136011

 ðó÷íóþ

 

 Ëåòî

 

3.

Èíñòðóìåíòàëüíàÿ ðàçáèâêà ó÷àñòêà íà à) íà êâàðòàëû á) íà êëåòêè â) íà ðÿäû è ïîñàäî÷íûå ìåñòà, ãà

70

 ðó÷íóþ

 

Ìàðò-àïðåëü

à) Âûïîëíÿåòñÿ ñ ïîìîùüþ ãåîäåçè÷åñêèõ ïðèáîðîâ: òåîäîëèò, ìåðíûå ëåíòû, ðàçáèâî÷íûå øíóðû èòä. Ïîñòîÿííûìè îòìåòêàìè (êîëüÿ, ìåæåâûå ñòîëáû.) îáîçíà÷àþò ãðàíèöû êâàðòàëîâ, ìàãèñòðàëüíûõ äîðîã, îêàéìëÿþùèõ ëåñîïîëîñ). á) Ãðàíèöû êëåòîê îòáèâàþò ñ ïîìîùüþ ìåðíûõ ëåíò, îòìå÷àþò èõ âåõàìè. â) Ðÿäû è ìåñòà ïîñàäêè îòáèâàþò ñ ïîìîùüþ ïðîâîëî÷íûõ øíóðîâ ñ íàíåñ¸ííûìè íà íèõ îòìåòêàìè ïðèíÿòûõ ðàññòîÿíèé ìåæäó êóñòàìè. Íà÷èíàþò ñ áîêîâîé ñòîðîíû êâàðòàëà. Äâà øíóðà íàòÿãèâàþò ïîïåð¸ê íàïðàâëåíèÿ áóäóùèõ ðÿäîâ íà ëèíèè ïåðâîãî è ïîñëåäíåãî êóñòà êàæäîãî ðÿäà è çàêðåïëÿþò äåðåâÿííûìè êîëüÿìè. Ïðîòèâ îòìåòîê íà øíóðàõ ñòàâÿò êîëûøêè, îáîçíà÷àþùèå ðÿäû. Äëÿ îòìåòêè ìåñò ïîñàäêè êóñòîâ íàòÿãèâàþò ïðîâîëî÷íûé øíóð âäîëü ëèíèè ðÿäà.

4.

Ïîäãîòîâêà ñàæåíöåâ ê ïîñàäêå, øò

136011

 ðó÷íóþ

 

 Âòîðàÿ äåêàäà àïðåëÿ

Ñîêðàòèòü êîëè÷åñòâî âûïàäîâ è îáåñïå÷èòü îäèíàêîâóþ ñèëó ðîñòà è ðàçâèòèå ìîëîäûõ êóñòîâ. Ñàæåíöû ñîðòèðóþò, îòáèðàþò çäîðîâûå, áåç ïðèçíàêîâ çàáîëåâàíèÿ áàêòåðèàëüíûì ðàêîì è ïÿòíèñòûì íåêðîçîì. Îñòàâëÿþò îäèí íàèáîëåå ðàçâèòîé ïîáåã, îáðåçàííûé íà äâå ïî÷êè. Ïÿòî÷íûå êîðíè óêîðà÷èâàþò äî 3-5 ñì äëÿ ïîñàäêè ïîä ãèäðîáóð. Íà îáðàáîòàííûé ñàæåíåö íàäåâàþò ïîëèýòèëåíîâûé ìåøîê ðàçìåðîì 35×10 ñì, ïðî÷íî ïðèêðåïëÿÿ åãî íà 5 - 8 ñì âûøå ìåñòà ñïàéêè. Ñàæåíöû ñâÿçûâàþò â ïó÷êè ïî 25 - 30 øò è ñòàâÿò íà âûìî÷êó â ïðîòî÷êó èëè ñìåíÿåìóþ âîäó íà äâîå - òðîå ñóòîê.

5.

Ïîãðóçêà, òðàíñïîðòèðîâêà è âûãðóçêà ñàæåíöåâ, øò.

272022

ÌÒÇ-80

 ÒÏÒÑ-4Ì

 Òðåòüÿ äåêàäà àïðåëÿ - âòîðàÿ äåêàäà ìàÿ

Íà áëèçêîå ðàññòîÿíèå ñàæåíöû òðàíñïîðòèðóþò â ïðèöåïå, äíî êîòîðîãî çàñòèëàþò ìîêðîé ñîëîìîé. Íà íå¸ óêëàäûâàþò ïîñàäî÷íûé ìàòåðèàë è íàêðûâàþò áðåçåíòîì èëè ìàòàìè.

6.

Òðàíñïîðòèðîâêà âîäû äëÿ çàïðàâêè ãèäðîáóðà, ò

680

ÌÒÇ-80

ÀÂÂ - 2

Òðåòüÿ äåêàäà àïðåëÿ - âòîðàÿ äåêàäà ìàÿ

 Ïðîèçâîäèòñÿ èç ðàñ÷¸òà 5 ëèòðîâ âîäû íà ñàæåíåö.

7.

Ïîñàäêà âèíîãðàäíûõ ñàæåíöåâ ïîä ãèäðîáóð, øò

136011

ÄÒ-75

ÃÁ-35

 Òðåòüÿ äåêàäà àïðåëÿ - âòîðàÿ äåêàäà ìàÿ

Îïòèìàëüíàÿ ãëóáèíà ïîñàäêè 45 - 50 ñì.  ïëàíòàæå ñòðó¸é âîäû ïðîáèâàþò ñêâàæèíû íà ïðèíÿòóþ ãëóáèíó ïîñàäêè. Ó îñíîâàíèÿ ÿìû îáðàçóåòñÿ çåìëÿíàÿ ïóëüïà.  êîòîðóþ ïîìåùàþò ñàæåíåö. Áûñòðûì äâèæåíèåì åãî ïðèïîäíèìàþò. Îáåñïå÷èâàÿ íîðìàëüíîå ïîëîæåíèå êîðåøêîâ â ñêâàæèíå. Ìåñòî ñïàéêè äîëæíî íàõîäèòüñÿ íà óðîâíå 5 - 6 ñì âûøå óðîâíÿ ïî÷âû. Êîãäà âîäà âïèòàåòñÿ è ïóëüïà çàãóñòååò. Çåìëþ âîêðóã ñàæåíöà óïëîòíÿþò.

 3. Óõîä çà ìîëîäûì âèíîãðàäíèêîì â ïåðâûé ãîä âåãåòàöèè

1.

×èçåëåâàíèå ìåæäóðÿäèé, ãà

70

 ÄÒ-75

ÏÐÂÍ-3

Àïðåëü-ìàé

Îáåñïå÷èòü âûñîêóþ ïðèæèâàåìîñòü ïóò¸ì óëó÷øåíèÿ âîçäóøíîãî ðåæèìà ïî÷âû, ñïîñîáñòâóåò íàêîïëåíèþ âëàãè. Ïðîâîäèòñÿ íà ãëóáèíó 35 ñì.

2.

Êóëüòèâàöèÿ ïî÷âû â äâóõ íàïðàâëåíèÿõ ïÿòèêðàòíî. ãà

350

ÄÒ - 75

ÏÐÂÍ-3

 òå÷åíèè âåãåòàöèè ìàé - ñåíòÿáðü

Îáåñïå÷èòü ðûõëåíèå ïî÷âû ñ îäíîâðåìåííîé ïîäðåçêîé ñîðíÿêîâ. Ïåðâàÿ êóëüòèâàöèÿ ïðîâîäèòñÿ íà ãëóáèíó 12 - 15 ñì. ïîñëåäóþùèå ìåëü÷å. Ïîêàçàòåëè êà÷åñòâà - îòñóòñòâèå îãðåõîâ, íåïîäðåçàííûõ ñîðíÿêîâ è îòêëîíåíèå îò çàäàííîé ãëóáèíû íå áîëåå ÷åì íà 1 - 2 ñì. âûðîâíåííàÿ ïîâåðõíîñòü ïî÷âû, îòñóòñòâèå ïîâðåæäåíèé âèíîãðàäíûõ ðàñòåíèé è êîíñòðóêöèè øïàëåðû.

3.

Ðûõëåíèå â çàùèòíîé çîíå êóñòà 3 õ êðàòíî. ãà

210

 ðó÷íóþ


Ìàé - ñåíòÿáðü

Áîðüáà ñ ñîðíÿêàìè è îáåñïå÷åíèå áëàãîïðèÿòíûõ óñëîâèé ïðîèçðàñòàíèÿ â çàùèòíîé çîíå êóñòà.

4.

Êàòàðîâêà, øò êóñòîâ.

136011

 ðó÷íóþ


èþíü

Óäàëåíèå êîðíåé, ðàçâèâøèõñÿ èç âåðõíèõ óçëîâ êîðíåøòàìáà, äëÿ ôîðìèðîâàíèÿ êîðíåâîé ñèñòåìû â áîëåå ãëóáîêèõ ãîðèçîíòàõ ïî÷âû. Ðàñòåíèå îñòîðîæíî ðàçîêó÷èâàþò è âîêðóã øòàìáà äåëàþò ëóíêó ãëóáèíîé 20 ñì; âåðõíèå êîðíè óäàëÿþò ñåêàòîðîì ó îñíîâàíèÿ, íå îñòàâëÿÿ ïåíüêîâ, çàòåì ðàñòåíèå ñíîâà îêó÷èâàþò, îñòàâëÿÿ îòêðûòûì òîëüêî çåë¸íûé ïðèðîñò ïîáåãà.

5.

Òðàíñïîðòèðîâêà âîäû äëÿ âåãåòàöèîííîãî ïîëèâà, ò.

1360

ÌÒÇ-80

ÀÂÂ-2

Èþíü - èþëü

Ïðîèçâîäèòñÿ èç ðàñ÷¸òà 10 ëèòðîâ âîäû íà îäèí êóñò.

6.

Ïîëèâ âèíîãðàäíèêà ïîä ãèäðîáóð, 3õ êðàòíî, òûñ øò.

408033

ÄÒ-75

ÃÁ-35

Ìàé-èþíü

Äëÿ ëó÷øåé ïðèæèâàåìîñòè è ðîñòà êóñòîâ. Ïîëèâíàÿ íîðìà 10 ëèòðîâ âîäû íà êóñò.

7.

Ïðèãîòîâëåíèå ðàáî÷åãî ðàñòâîðà ÿäîõèìèêàòîâ, ò.

140

Ò-130

ÀÏÆ-12

Ìàé - ñåíòÿáðü

Ïðèãîòîâèòü íåîáõîäèìîå êîëè÷åñòâî ðàñòâîðà ÿäîõèìèêàòîâ äëÿ ñâîåâðåìåííîé îáðàáîòêè ïðîòèâ áîëåçíåé è âðåäèòåëåé.

8.

Îïðûñêèâàíèå ïÿòèêðàòíîå, ãà

350

ÌÒÇ-80

ÎÏ - 2000

Ìàé - ñåíòÿáðü

Çàùèòèòü âèíîãðàäíîå ðàñòåíèå îò âðåäèòåëåé è áîëåçíåé. Êà÷åñòâî îïðûñêèâàíèå îöåíèâàåòñÿ âèçóàëüíî: íà ñì2 íèæíåé ñòîðîíû ëèñòà äîëæíî áûòü íå ìåíåå 30 ìåëêèõ êàïåëü.

9.

Èíâåíòàðèçàöèÿ




Àâãóñò-ñåíòÿáðü

Ïîäñ÷¸ò â ðÿäàõ êîëè÷åñòâà âûïàäîâ, ïðèæèâøèõñÿ, ÷èñëî ïðèìåñåé ñ öåëüþ äàëüíåéøåãî ðåìîíòà íàñàæäåíèé.

10.

Óêðûòèå êóñòîâ íà çèìó, ãà.

70

ÄÒ-75

ÏÐÂÍ - 3

Íîÿáðü

Ïðîâîäèòñÿ äëÿ çàùèòû ìîëîäûõ êóñòîâ îò íåáëàãîïðèÿòíûõ ôàêòîðîâ çèìíåãî ïåðèîäà. Îêó÷èâàíèå êóñòîâ áåç óêëàäêè ïîáåãîâ íà ïîâåðõíîñòü ïî÷âû. Âûñîòà çåìëÿíîãî âàëà 25 - 30 ñì.

 4. Óõîä çà ìîëîäûì óêðûâíûì âèíîãðàäíèêîì âòîðîãî è òðåòüåãî ãîäà âåãåòàöèè

1.

Îòïàøêà óêðûâíûõ âàëîâ, ãà

70

Ò-70Â

ÏÐÂÍ - 3+27000

Ìàðò

Ïðîâîäèòñÿ äëÿ äàëüíåéøåãî íîðìàëüíîãî ðàçâèòèÿ êóñòà è óäîáñòâà ïðîâåäåíèÿ ðàáîò. Ïðè ðàáîòå ïëóãà â ñâàë ñ ïåðåìåùåíèåì ÷àñòè ïî÷âû ñ äâóõ ñîñåäíèõ ïîëóðÿäîâ â ñåðåäèíó ìåæäóðÿäüÿ.

2.

Îòêðûòèå êóñòîâ, ãà

70

 Ò-70Â

ÎÂÏ - 0,45À

Ìàðò - ïåðâàÿ äåêàäà àïðåëÿ

Ïðîâîäèòñÿ äëÿ äàëüíåéøåãî íîðìàëüíîãî ðàçâèòèÿ êóñòà è óäîáñòâà ïðîâåäåíèÿ ðàáîò. Ïðè äâèæåíèè àãðåãàòà ïî ìåæäóðÿäüþ äèñêè ðûõëÿò îñòàâøèéñÿ âàëîê è ïî÷âà âîçäóøíûì ïîòîêîì âûäóâàåòñÿ â ìåæäóðÿäüå. Ïîëíûé òåõíîëîãè÷åñêèé ïðîöåññ îñóùåñòâëÿåòñÿ çà òðè ïðîõîäà àãðåãàòà.

3.

Ðåìîíò âèíîãðàäíèêîâ, ãà

70

ÄÒ - 75

ÃÁ - 35

Àïðåëü (âåãåòèðóþùèìè òðåòüÿ äåêàäà ìàÿ)

Ëèêâèäàöèÿ èçðåæåííîñòè. Ïîäñàäêà ñàæåíöàìè â ìåñòàõ âûïàäîâ.

4.

Îáðåçêà êóñòîâ, òûñ øò.

137

 ðó÷íóþ

 

Ìàðò-àïðåëü

Ôîðìèðîâàíèå ðóêàâîâ è ïëîäîâûõ çâåíüåâ. Åñëè íà êóñòå ðàçâèëñÿ îäèí ïîáåã, åãî îáðåçàþò íà äâà-òðè íîðìàëüíî ðàçâèòûõ ãëàçêà; åñëè äâà-òðè ïîáåãà (ïðè óñëîâèè ÷òî îíè íå äâîéíèêè) - îñòàâëÿþò òîëüêî äâà ðàñïîëîæåííûõ â ïëîñêîñòè ðÿäà è êàæäûé èç íèõ òàêæå îáðåçàþò íà äâà-òðè ãëàçêà.

5.

Óñòàíîâêà øïàëåðû, ãà

70

ÄÒ - 75

ÑÏ - 2

Ìàðò-àïðåëü

Ñîçäàòü áëàãîïðèÿòíûå óñëîâèÿ äëÿ èñïîëüçîâàíèÿ ñâåòà è òåïëà ðàñòåíèÿìè, îáåñïå÷èòü ïðàâèëüíîå ïîëîæåíèå è ðàçìåùåíèå ìíîãîëåòíèõ è îäíîëåòíèõ ÷àñòåé êóñòà. Óñòàíàâëèâàåòñÿ îäíîïëîñêîñòíàÿ âåðòèêàëüíàÿ øïàëåðà â 3-4 ÿðóñà. Ñíà÷àëà óñòàíàâëèâàþò ÿêîðíûå è ïðîìåæóòî÷íûå ñòîëáû íà êðàéíèõ ðÿäàõ, ïî íèì âèçèðóþò îñòàëüíûå. ßêîðíûå ñòîëáû óñòàíàâëèâàþò ïîä óãëîì 60º â ñòîðîíó äîðîãè. ßêîðü (áóòîâûé êàìåíü), îïîÿñàííûé ïðîâîëî÷íîé ïåòë¸é-îòòÿæêîé, èëè ÿêîðíàÿ ïëàñòèíà âûâåäåííûå íà 0.5 ì íàä ïîâåðõíîñòüþ ïî÷âû, óäåðæèâàåò ñòîëá â íàêëîííîì ïîëîæåíèè. Ãëóáèíà óñòàíîâêè ÿêîðíûõ ñòîëáîâ 70-80 ñì, ïðîìåæóòî÷íûõ - 50-60 ñì. Äàëåå ïðîâîëîêó ðàñòÿãèâàþò ïî ðÿäó òðàêòîðîì. Ïåðâóþ ïðîâîëîêó íàòÿãèâàþò íà âûñîòå 40 - 50 ñì íàä óðîâíåì ïî÷âû. Ïîñëåäóþùèå ðàçìåùàþò ÷åðåç 30 - 50 ñì.

6.

Ñóõàÿ ïîäâÿçêà êóñòîâ, òûñ øò.

137

 ðó÷íóþ


Àïðåëü

 Ñâåñòè ê ìèíèìóìó ïðîÿâëåíèå ïîëÿðíîñòè ïóò¸ì ïðèêðåïëåíèÿ íà øïàëåðå âûçðåâøèõ ïåðåçèìîâàâøèõ ðóêàâîâ è ïîáåãîâ. Ðóêàâà ïîäâÿçûâàþò íàêëîííî ê ïåðâîìó ÿðóñó ïðîâîëîêè øïàëåðû à ïëîäîâûå ñòðåëêè ãîðèçîíòàëüíî. Ïîäâÿçêó ïðîâîäÿò "âîñüì¸ðêîé". Øïàãàò ñíà÷àëà îáîðà÷èâàþò âîêðóã ïðîâîëîêè, à çà òåì óêðåïëÿþò èì ëîçó.

7.

Îáëîìêà çåë¸íûõ ïîáåãîâ äâóêðàòíî, øò êóñòîâ.

272022

 ðó÷íóþ


Ìàé

 Ðåãóëèðîâàíèå îïòèìàëüíîé íàãðóçêè êóñòîâ ïëîäîíîñíûìè ïîáåãàìè. Óäàëÿþò ñëàáîðàçâèòûå, äâîéíèêè, ðàçâèâøèåñÿ íà øòàìáå, ðóêàâàõ. Ïåðâóþ îáëîìêó ïðîâîäÿò âñêîðå ïîñëå ðàñïóñêàíèÿ ãëàçêîâ, êîãäà ïîáåãè äîñòèãíóò äëèíû 5 - 7 ñì. Âòîðóþ îáëîìêó ïðîâîäÿò ÷åðåç 10 - 12 äíåé, êîãäà íà ïîáåãàõ óæå ÿñíî îáîçíà÷åíû ñîöâåòèÿ.

8.

Ïîäâÿçêà çåë¸íûõ ïîáåãîâ 2 õ êðàòíî, øò êóñòîâ.

272022

 ðó÷íóþ


Ìàé - èþíü

Ñâåñòè ê ìèíèìóìó ïðîÿâëåíèå ïîëÿðíîñòè ïóò¸ì ïðèêðåïëåíèÿ íà øïàëåðå. Ê ïîäâÿçêå ïðèñòóïàþò êîãäà ïîáåãè äîñòèãàþò äëèíû 35 - 80 ñì è ïåðåðàñòàþò âòîðóþ ïîâîëîêó øïàëåðû. Ïðèðîñò ðàñïðåäåëÿþò ðàâíîìåðíî ïî ïëîñêîñòè øïàëåðû ñ ðàññòîÿíèåì ìåæäó ïîáåãàìè 3 - 5 ñì. íåëüçÿ ñâÿçûâàòü ïîáåãè ïó÷êàìè è îñòàâëÿòü íà øïàëåðå ïðîñâåòîâ. Âòîðóþ ïîäâÿçêó ïðîâîäÿò ÷åðåç 3 - 4 íåäåëè ïîñëå ïåðâîé, êîãäà ïîáåãè äîñòèãàþò 75 - 80 ñì äëèíû. Åñëè ïðîâîëîêè ïîî÷åð¸äíî ñ äâóõ ñòîðîí ñòîëáà íàòÿíóòû ÷åðåç 20 - 25 ñì, òî ïîäâÿçêó çàìåíÿþò çàâîäêîé ïîáåãîâ ìåæäó íèìè.

9.

Êóëüòèâàöèÿ ìåæäóðÿäèé ñ îáðàáîòêîé ïî÷âû â ðÿäàõ ïÿòèêðàòíî, ãà

 350

Ò 70Â

ÏÐÂÍ-3+ ÏÐÂÍ-11000

Ìàé - àâãóñò

Îáåñïå÷èòü ðûõëåíèå ïî÷âû ñ îäíîâðåìåííîé ïîäðåçêîé ñîðíÿêîâ. Áîðüáà ñ ñîðíÿêàìè â ðÿäàõ. Ïåðâàÿ êóëüòèâàöèÿ ïðîâîäèòñÿ íà ãëóáèíó 12 - 15 ñì. ïîñëåäóþùèå ìåëü÷å. Ïîêàçàòåëè êà÷åñòâà - îòñóòñòâèå îãðåõîâ, íåïîäðåçàííûõ ñîðíÿêîâ è îòêëîíåíèå îò çàäàííîé ãëóáèíû íå áîëåå ÷åì íà 1 - 2 ñì. âûðîâíåííàÿ ïîâåðõíîñòü ïî÷âû, îòñóòñòâèå ïîâðåæäåíèé âèíîãðàäíûõ ðàñòåíèé è êîíñòðóêöèè øïàëåðû.

10.

Ðûõëåíèå ïî÷âû ñ ïðîïîëêîé â ðÿäàõ 4 õ êðàòíî, ãà.

280

 ðó÷íóþ


Ìàé - àâãóñò

Óëó÷øåíèå àýðàöèè ïî÷âû, çàùèòà îò ñîðíÿêîâ, óëó÷øåíèå ñòðóêòóðû ïî÷âû.

11.

Êàòàðîâêà êóñòîâ, øò

136011

 ðó÷íóþ


Èþíü

Óäàëåíèå êîðíåé, ðàçâèâøèõñÿ èç âåðõíèõ óçëîâ êîðíåøòàìáà, äëÿ ôîðìèðîâàíèÿ êîðíåâîé ñèñòåìû â áîëåå ãëóáîêèõ ãîðèçîíòàõ ïî÷âû. Ðàñòåíèå îñòîðîæíî ðàçîêó÷èâàþò è âîêðóã øòàìáà äåëàþò ëóíêó ãëóáèíîé 20 ñì; âåðõíèå êîðíè óäàëÿþò ñåêàòîðîì ó îñíîâàíèÿ, íå îñòàâëÿÿ ïåíüêîâ, çàòåì ðàñòåíèå ñíîâà îêó÷èâàþò, îñòàâëÿÿ îòêðûòûì òîëüêî çåë¸íûé ïðèðîñò ïîáåãà.

12.

Ïðèãîòîâëåíèå ðàáî÷åãî ðàñòâîðà äëÿ ïÿòèêðàòíîãî îïðûñêèâàíèÿ, ò.

140

Ò-130

ÀÏÆ-12

Ìàé - ñåíòÿáðü

Ïðèãîòîâèòü íåîáõîäèìîå êîëè÷åñòâî ðàñòâîðà ÿäîõèìèêàòîâ äëÿ ñâîåâðåìåííîé îáðàáîòêè ïðîòèâ áîëåçíåé è âðåäèòåëåé.

13.

Îïðûñêèâàíèå ïÿòèêðàòíîå, ãà

350

ÌÒÇ-80

ÎÏ - 2000

Ìàé - ñåíòÿáðü

Çàùèòèòü âèíîãðàäíîå ðàñòåíèå îò âðåäèòåëåé è áîëåçíåé. Êà÷åñòâî îïðûñêèâàíèå îöåíèâàåòñÿ âèçóàëüíî: íà ñì2 íèæíåé ñòîðîíû ëèñòà äîëæíî áûòü íå ìåíåå 30 ìåëêèõ êàïåëü.

14.

Îáðåçêà êóñòîâ, òûñ øò.

137

 ðó÷íóþ


Îêòÿáðü èëè ìàðò

Ôîðìèðîâàíèå ðóêàâîâ è ïëîäîâûõ çâåíüåâ. Åñëè íà êóñòàõ ðàçâèëîñü ÷åòûðå íîðìàëüíûõ ïîáåãà, èõ îáðåçàþò íà ïÿòü-øåñòü ãëàçêîâ.

15.

Ñáîð îáðåçêîâ ëîçû.


Ò 70Â

ÑÂ-1

Îêòÿáðü èëè ìàðò

Óäàëåíèå ëîçû èç ìåæäóðÿäèé. Óäàë¸ííóþ ïðè îáðåçêå ëîçó ñãðåáàþò èç ìåæäóðÿäèé íà ìåæêëåòî÷íóþ äîðîãó. Èç ìåæêëåòî÷íûõ äîðîã ëîçó òðàíñïîðòèðóþò çà ïðåäåëû ìàññèâà.

16.

Óêðûòèå êóñòîâ íà çèìó, ãà.

70

ÄÒ-75

ÏÐÂÌ - 3

Íîÿáðü

Ïðîâîäèòñÿ äëÿ çàùèòû ìîëîäûõ êóñòîâ îò íåáëàãîïðèÿòíûõ ôàêòîðîâ çèìíåãî ïåðèîäà. Îêó÷èâàíèå êóñòîâ áåç óêëàäêè ïîáåãîâ íà ïîâåðõíîñòü ïî÷âû. Âûñîòà çåìëÿíîãî âàëà 25 - 30 ñì.

17.

×èçåëåâàíèå ìåæäóðÿäèé, ãà

70

 ÄÒ-75

ÏÐÂÌ-3+ ÏÐÂÍ 3000

Íîÿáðü

Îáåñïå÷èòü âûñîêóþ ïðèæèâàåìîñòü ïóò¸ì óëó÷øåíèÿ âîçäóøíîãî ðåæèìà ïî÷âû, ñïîñîáñòâóåò íàêîïëåíèþ âëàãè. Ïðîâîäèòñÿ íà ãëóáèíó 35 ñì.

 

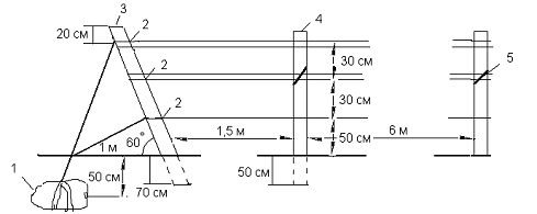
. Îáîñíîâàíèå âûáîðà ôîðì êóñòîâ, òåõíèêà èõ âûâåäåíèÿ è ðàñ÷åò íàãðóçêè ïðè îáðåçêå


 âèíîãðàäàðñòâå èçâåñòíî ìíîãî òèïîâ ôîðìèðîâîê: ãîëîâ÷àòàÿ, ÷àøåâèäíàÿ, âååðíàÿ è ò.ä. Äëÿ íàøåãî ïðîåêòà ìû âûáåðåì îäíîñòîðîííþþ ïîëóâååðíóþ ôîðìèðîâêó.  çîíå óêðûâíîãî âèíîãðàäàðñòâà îíà ïîëó÷èëà øèðîêîå ðàñïðîñòðàíåíèå, òàê êàê ïîçâîëÿåò ìåõàíèçèðîâàòü óêðûòèå è îòêðûòèå êóñòîâ, ïðèìåíÿòü ïðèñïîñîáëåíèå ÏÐÂÍ-72 000 äëÿ ìåæêóñòîâîé îáðàáîòêè, ñíèæàåò ìåõàíè÷åñêèå ïîâðåæäåíèÿ ðàñòåíèé.

Îáùàÿ ýêîíîìèÿ çàòðàò ïðè ýòîé ôîðìèðîâêå ñîñòàâëÿåò 22 - 26 ÷åë. - äí. íà 1ãà. Óðîæàéíîñòü ïî ñðàâíåíèþ ñ ìíîãîðóêàâíîé âååðíîé ïîâûøàåòñÿ íà 10-30 %.

Îäíîñòîðîííÿÿ ïîëóâååðíàÿ ôîðìèðîâêà èìååò òðè - ÷åòûðå ðóêàâà ðàçíîé äëèíû (60 - 140 ñì, êàæäûé êîðî÷å ïðåäûäóùåãî íà 10 - 15 ñì) íàïðàâëåííûõ â îäíó ñòîðîíó. Ñàìûé äëèííûé ðóêàâ (äîõîäÿùèé äî ñëåäóþùåãî êóñòà) - íèæíèé, ñàìûé êîðîòêèé - âåðõíèé. Íà ñëó÷àé ïîëîìêè ðóêàâîâ ïðè îòêðûòèè êóñòîâ îñòàâëÿåòñÿ äâà ñó÷êà âîññòàíîâëåíèÿ. Ðóêàâà ïîäâÿçûâàþò ïîä óãëîì 45º ê íèæíåé ïðîâîëîêå, îäíîëåòíèå ïîáåãè - ãîðèçîíòàëüíî, à çåë¸íûå - êî âòîðîé ïðîâîëîêå íàêëîííî â íàïðàâëåíèè ðóêàâîâ. Äëÿ ÷¸òêîé ðàáîòû òðàêòîðà ñ ëîçîóêëàä÷èêîì â äâóõ íàïðàâëåíèÿõ âèíîãðàäíèê ðàçáèâàþò íà çàãîíêè ïî ñõåìå - 6: 112: 12, ò.å. íà øåñòè ðÿäàõ êóñòû èìåþò íàêëîí ðóêàâîâ â îäíó ñòîðîíó, à íà ñëåäóþùèõ 12 ðÿäàõ â îáðàòíóþ, è òàê äàëåå, ÷åðåäóÿ ðÿäû ïî ñõåìå.

Äëÿ îáëåã÷åíèÿ ðàáîòû ðàáî÷èõ ïðè îáðåçêå è òðàêòîðèñòà ïðè óêðûòèè êóñòîâ íàïðàâëåíèå ðóêàâîâ îáîçíà÷àþò êðàñêîé íà âåðõíåé ÷àñòè ÿêîðíûõ ñòîëáîâ.

 ïåðâûé ãîä âûðàùèâàþò äâà ïîáåãà (äëÿ áóäóùèõ ðóêàâîâ) â íóæíîì íàïðàâëåíèè. Èì ñðàçó ïðèäàþò íàêëîííîå ïîëîæåíèå, ïîäâÿçûâàÿ ê íèæíåé ïðîâîëîêå, êîòîðóþ íàòÿãèâàþò âðåìåííî íà âûñîòå 35 ñì.

Âåñíîé âòîðîãî ãîäà ïîñëå îòêðûòèÿ êóñòîâ ïðèñòóïàþò ê îáðåçêå. Ïëîäîâûå ïîáåãè îáðåçàþò íà äëèíó ðóêàâà è ïîäâÿçûâàþò ê íèæíåé ïðîâîëîêå â îäíó ñòîðîíó. Ïðè îáëîìêå íà êàæäîì ðóêàâå îñòàâëÿþò ïî òðè - ÷åòûðå ïîáåãà, íàãðóçêà íà êóñò - øåñòü-âîñåìü. Åñëè íà êóñòàõ ðàçâèëñÿ òîëüêî îäèí ïîáåã, òî ïðè îáëîìêå îñòàâëÿþò è âîë÷êîâûå äëÿ íåäîñòàþùèõ ðóêàâîâ. Óäàëÿþò â îñíîâíîì ïîáåãè, ðàñïîëîæåííûå ó îñíîâàíèÿ ñòðåëêè.

Âåñíîé òðåòüåãî ãîäà âåãåòàöèè íà êîíöàõ ðàíåå ñôîðìèðîâàííûõ ðóêàâîâ ñîçäàþò ïëîäîâûå çâåíüÿ. Ñó÷îê çàìåùåíèÿ â ýòîé ôîðìèðîâêå îñòàâëÿþò íà êîíöå ðóêàâà, íî íèæå ïëîäîâûõ ëîç. Èç ïîðîñëåâûõ èëè âîë÷êîâûõ ïîáåãîâ ôîðìèðóþò íåäîñòàþùèå. Ïëîäîâûå çâåíüÿ íà íèõ ìîæíî ñîçäàâàòü èç ïàñûíêîâ äèàìåòðîì 5 - 8 ìì.

 äàëüíåéøåì îáðåçêó ñôîðìèðîâàííûõ êóñòîâ ñâîäÿò ê ñâîåâðåìåííîé çàìåíå óäëèíèâøèõñÿ, íåïðîäóêòèâíûõ ðóêàâîâ è ñîçäàíèþ ïëîäîâûõ çâåíüåâ èç ñó÷êîâ çàìåùåíèÿ.

Ðèñ. 3. Âûâåäåíèå îäíîñòîðîííåé ïîëóâååðíîé ôîðìèðîâêè:

- ñàæåíåö â ãîä ïîñàäêè; 2 - âåñíà âòîðîãî ãîäà; 3 - âåñíà òðåòüåãî ãîäà (ïåðâàÿ ïðîâîëîêà íàòÿíóòà íà âûñîòå 60 ñì); 4 - âåñíà ÷åòâ¸ðòîãî ãîäà: à - êóñò äî îáðåçêè; á - êóñò ïîñëå îáðåçêè.

Íàãðóçêà ïðè îáðåçêå ðàññ÷èòûâàåòñÿ ïî ôîðìóëå:

Ó=Q: (NKP· [1-0,01 (A+B)])


[1-0,01 (A+B)] = 0,8

Òàáëèöà 7

Ñîðò

Ïëàíèðóåìàÿ óðîæàéíîñòü, ö/ãà

Êîëè÷åñòâî ãëàçêîâ, øò

Ïëîäîâûõ ñòðåëîê íà êóñòå

Ñó÷êîâ íà êóñòå



Íà êóñò

Íà 1 ãà

Êîë-âî

Äëèíà ãëàçêîâ

Êîë-âî

Äëèíà ãëàçêîâ

Âîñòîðã

130

32

53344

4

5

5

2

Íåïòóí

70

10

16670

4

2

5

1

Íàäåæäà ÀÇÎÑ

140

13

21671

4

2

5

1

Îñåííèé ÷¸ðíûé

90

12

20004

4

4

5

2

Ðóñìîë

120

23

38341

4

4

5

2

Ãå÷åè çàìàòîø

120

45

75015

5

7

6

2

Ñàïåðàâè ñåâåðíûé

145

39

65013

5

5

6

2

Öâåòî÷íûé

80

43

71681

5

7

6

2

Ãðàíàòîâûé

140

52

86684

5

8

6

2



8. Îáîñíîâàíèå âûáîðà ñèñòåìû âåäåíèÿ êóñòîâ, ðàñ÷¸ò ìàòåðèàëîâ íà óñòðîéñòâî øïàëåðû


Âèíîãðàäíûå êóñòû êóëüòèâèðóþò íà îïîðàõ, ãëàâíîå íàçíà÷åíèå êîòîðûõ - ñîçäàíèå áëàãîïðèÿòíûõ óñëîâèé äëÿ èñïîëüçîâàíèÿ ñâåòà è òåïëà ðàñòåíèÿìè, ïðàâèëüíîå ïîëîæåíèå è ðàçìåùåíèå ìíîãîëåòíèõ è îäíîëåòíèõ ÷àñòåé êóñòà, åãî âåãåòàòèâíûõ è ãåíåðàòèâíûõ îðãàíîâ. Îïîðû ñîõðàíÿþò ôîðìèðîâêó, îáëåã÷àþò ïðîâåäåíèå àãðîïðè¸ìîâ ïî óõîäó çà êóñòàìè, ïðåäîõðàíÿþò ïîáåãè îò ìåõàíè÷åñêèõ ïîâðåæäåíèé, ïîðàæåíèé áîëåçíÿìè è âðåäèòåëÿìè.

Ëó÷øèì âèäîì îïîðû äëÿ âèíîãðàäíèêîâ ÿâëÿåòñÿ øïàëåðà. Äëÿ å¸ óñòàíîâêè íåîáõîäèìû ñòîëáû è ïðîâîëîêà. Ñóùåñòâóåò íåñêîëüêî øïàëåðíûõ ñèñòåì, â íàøåì ñëó÷àå ìû áóäåì èñïîëüçîâàòü íàèáîëåå ðàñïðîñòðàí¸ííóþ âåðòèêàëüíóþ îäíîïëîñêîñòíóþ, òàê êàê îíà îáåñïå÷èâàåò áëàãîïðèÿòíûå óñëîâèÿ ïðîèçðàñòàíèÿ êóñòîâ, â òîæå âðåìÿ ïðîñòà â óñòàíîâêå è ñîäåðæàíèè.

Îäíîïëîñêîñòíàÿ âåðòèêàëüíàÿ øïàëåðà âêëþ÷àåò â ñåáÿ êðàåâûå èëè ÿêîðíûå ñòîëáû, ïðîìåæóòî÷íûå ñòîëáû, øïàëåðíóþ ïðîâîëîêó, íàòÿíóòóþ â íåñêîëüêî ÿðóñîâ, ñêîáû èëè õîìóòèêè äëÿ êðåïëåíèÿ ïðîâîëîêè. Ñòîëáû ìîãóò áûòü äåðåâÿííûå, æåëåçîáåòîííûå è æåëåçíûå. Âñå îíè èìåþò ñâîè äîñòîèíñòâà è íåäîñòàòêè. Äëÿ íàøåãî ïðîåêòà ìû áóäåì èñïîëüçîâàòü æåëåçîáåòîííûå ñòîëáû, òàê êàê îíè èìåþ âûñîêóþ ìåõàíè÷åñêóþ ïðî÷íîñòü, óñòîé÷èâîñòü ê íåáëàãîïðèÿòíûì óñëîâèÿì ñðåäû, äîëãîâå÷íîñòü (ïî ñðàâíåíèþ ñ äåðåâÿííûìè) è çàòðàòû íà èõ ïðèîáðåòåíèå áóäóò ìåíüøèìè, ÷åì åñëè áû ìû óñòàíàâëèâàëè æåëåçíûå ñòîëáû. Äëÿ øïàëåðû ïðèìåíÿþò ñòàëüíóþ îöèíêîâàííóþ ïðîâîëîêó äèàìåòðîì 2.2 - 2,4 ìì. Âñÿ íàãðóçêà ëåæèò íà êðàåâûõ ÿêîðíûõ ñòîëáàõ.  ñâÿçè ñ ýòèì, äëÿ óñòîé÷èâîñòè èõ îò îòêëîíåíèé ïðè íàãðóçêå óñòàíàâëèâàþòñÿ ÿêîðÿ.  íàøåì ïðîåêòå â êà÷åñòâå åãî ìû áóäåì èñïîëüçîâàòü áóòîâûé êàìåíü ñ ÿêîðíîé îòòÿæêîé.

Ñíà÷àëà óñòàíàâëèâàþò ÿêîðíûå è ïðîìåæóòî÷íûå ñòîëáû íà êðàéíèõ ðÿäàõ, ïî íèì âèçèðóþò îñòàëüíûå. ßêîðíûå ñòîëáû óñòàíàâëèâàþò ïîä óãëîì 60º â ñòîðîíó äîðîãè. Ðàññòîÿíèå ìåæäó ÿêîðíûìè ñòîëáàìè 100 ì, ìåæäó ïðîìåæóòî÷íûìè 5-7 ì. ßêîðíàÿ îòòÿæêà èçãîòàâëèâàåòñÿ èç ïðîâîëîêè 3 ìì, êîòîðàÿ êðåïèòñÿ ê ïåòëå âûâåäåííîé îò êàìíÿ. Ðàññòîÿíèå ìåæäó ñòîëáîì è êðåïëåíèåì ÿêîðíîé îòòÿæêè îò 0,8 äî 1 ì. Ãëóáèíà çàäåëêè êàìíÿ 50 - 60 ñì. êðåïèòñÿ ÿêîðíàÿ îòòÿæêà ê ñòîëáó íà ðàññòîÿíèè 20 - 25 ñì îò âåðõóøêè ñòîëáà. Ãëóáèíà óñòàíîâêè ÿêîðíûõ ñòîëáîâ - 70 - 80 ñì. ïðîìåæóòî÷íûõ 50 - 60 ñì. Ìåæäó îïîðàìè, óñòàíîâëåííûìè âäîëü ðÿäà, íàòÿãèâàþò øïàëåðíóþ ïðîâîëîêó, êîòîðóþ êðåïÿò íåïîäâèæíî ê ÿêîðíûì ñòîëáàì, à ê ïðîìåæóòî÷íûì - ïîäâèæíî âäîëü ïðîäîëüíîé îñè õîìóòèêàìè, ñäåëàííûìè èç ïðîâîëîêè èëè èç ëåíòî÷íûõ æåëåçíûõ ïëàñòèí.  óêðûâíîé çîíå, ãäå âèíîãðàä ôîðìèðóþò ïî òèïó áåñøòàìáîâîãî îäíîñòîðîííåãî âååðà èëè ìíîãîðóêàâíîé âååðíîé ôîðìèðîâêè ïåðâóþ ïðîâîëîêó íàòÿãèâàþò íà âûñîòå 40 - 50 ñì íàä óðîâíåì ïî÷âû. Ïîñëåäóþùèå ïðîâîëîêè ðàçìåùàþò ÷åðåç 30 - 50 ñì. Íàòÿæêó ïðîâîëîê ïðîâîäÿò ñïåöèàëüíûìè ðó÷íûìè ëåá¸äêàìè è âñåãäà íà÷èíàþò ñ âåðõíåé ïðîâîëîêè.

Ðèñ. 4. Ñõåìà òð¸õïðîâîëî÷íîé âåðòèêàëüíîé øïàëåðû: 1 - ÿêîðü; 2 - ïðîâîëîêè øïàëåðû; 3 - ÿêîðíûé (êîíöåâîé) ñòîëá; 4 - ïðîìåæóòî÷íûé ñòîëá, 5 - õîìóò.

Òàáëèöà 8

Ðàñõîä íåîáõîäèìûõ ìàòåðèàëîâ íà óñòðîéñòâî òð¸õïðîâîëî÷íîé âåðòèêàëüíîé øïàëåðû.

¹

Ïîêàçàòåëè è ìàòåðèàëû

 Ðàñõîä ìàòåðèàëîâ



Íà 1 ãà

Íà âñþ ïëîùàäü

Ïðèìå÷àíèÿ

1.

×èñëî ðÿäîâ øïàëåðû

33

 2310

Øèðèíà ìåæäóðÿäèé 3ì.

2.

ßêîðíûå ñòîëáû, øò.

66

 4620

Ñòîëáû æåëåçîáåòîííûå

3.

Ïðîìåæóòî÷íûå ñòîëáû, øò.

693

 48510

Ðàññòîÿíèå ìåæäó ñòîëáàìè 5 - 6 ì. Ñòîëáû æåëåçîáåòîííûå.

4.

ßêîðÿ, øò.

 70

 4900

Áóòîâûé êàìåíü

5.

Øïàëåðíàÿ ïðîâîëîêà ì., ò.

17325 0,6

 1212750 42

Äèàìåòð 2,5 ìì.

6.

Ïðîâîëîêà äëÿ ÿêîðÿ, ò

0,4

 28

Äèàìåòð 3 ìì.

7.

 Õîìóòèêè, øò.

174

 12180

 Èç ïðîâîëîêè èëè ëåíòî÷íûå æåëåçíûå ïëàñòèíêè.


9. Àãðîòåõíè÷åñêèé ïëàí ïî óõîäó çà ýêñïëóàòàöèîííûì âèíîãðàäíèêîì


¹

Íàèìåíîâàíèå ðàáîò, åä èçì

Îáú¸ì ðàáîò

 Ñîñòàâ àãðåãàòà

Êàëåíäàðíûå ñðîêè âûïîëíåíèÿ ðàáîò

Öåëü ðàáîòû è òåõíîëîãèÿ âûïîëíåíèÿ




Ìàðêà òðàêòîðà

Ìàðêà ñ. - õ ìàøèíû



 1. Óõîä çà êóñòîì

1.

Îòïàøêà çåìëÿíîãî âàëà 2 õ êðàòíî, ãà.

140

Ò - 70 Â

ÏÐÂÍ-3 +27000

Ìàðò - àïðåëü

Îòïàøêà ïî÷âû è ïåðåìåùåíèå å¸ èç ðÿäà â ìåæäóðÿäüå.1 é ïðîõîä - óäàëÿåòñÿ ïî÷âà äî 60 %, 2 é ïðîõîä äî 80%.

2.

Îòêðûòèå êóñòîâ 2 õ êðàòíî.

140

Ò-70

ÎÂÏ-45

Ìàðò - àïðåëü

Óäàëåíèå ïî÷âû âîçäóøíûì ïîòîêîì èç ðÿäà, îñòàâøåéñÿ ïîñëå îòïàøêè ïëóãîì. Íå äîïóñêàòü ïîâðåæäåíèé êóñòîâ.

3.

Ïîäâÿçêà êóñòîâ, ñóõàÿ, òûñ. øò.

137

 ðó÷íóþ


Ìàðò - àïðåëü

Ñâåñòè ê ìèíèìóìó ïðîÿâëåíèå ïîëÿðíîñòè. Ðóêàâà íàïðàâëåííûå â íóæíóþ ñòîðîíó ïîäâÿçûâàþò ê ïåðâîé ïðîâîëîêå øïàëåðû.

4.

Îáëîìêà çåë¸íûõ ïîáåãîâ ïåðâàÿ, òûñ øò

137

 ðó÷íóþ


Ìàé

Íåîáõîäèìî âûïîëíÿòü íàäàâëèâàÿ áîëüøèì ïàëüöåì ðóêè íà îñíîâàíèå óäàëÿåìîãî ïîáåãà. Îáëàìûâàÿ ïîáåãè íà ðóêàâàõ, ãîëîâå êóñòà çà èñêëþ÷åíèåì íåîáõîäèìûõ äëÿ çàìåíû èëè âîññòàíîâëåíèÿ ðóêàâîâ, ìíîãîëåòíèõ ðàçâåòâëåíèé. Íà ñó÷êàõ çàìåùåíèÿ óäàëÿþò ïîáåãè-äâîéíèêè.

5.

Îáëîìêà çåë¸íûõ ïîáåãîâ âòîðàÿ, òûñ øò

137

 ðó÷íóþ


Âòîðàÿ äåêàäà ìàÿ

Âûïîëíÿåòñÿ íà ïåðåãðóæåííûõ êóñòàõ, óäàëÿåòñÿ ÷àñòü ïîáåãîâ íà ïëîäîâûõ ñòðåëêàõ.  ïåðâóþ î÷åðåäü ïîáåãè-äâîéíèêè, ñëàáî ïëîäîíîñíûå, áåñïëîäíûå ñ äîâåäåíèåì íàãðóçêè ïîáåãàìè äî îïòèìàëüíîé.

6.

Ïîäâÿçêà çåë¸íûõ ïîáåãîâ 2 õ êðàòíî, øò.

272022

 ðó÷íóþ


Âòîðàÿ - òðåòüÿ äåêàäà ìàÿ.

Ðàâíîìåðíîå ðàñïðåäåëåíèå çåë¸íûõ ïîáåãîâ â ïëîñêîñòè øïàëåðû âåðòèêàëüíî èëè íàêëîííî (45º) íå áîëåå äâóõ âìåñòå, "âîñüì¸ðêîé". Âûïîëíÿåòñÿ ïî ìåðå äîñòèæåíèÿ ïîáåãàìè î÷åðåäíûõ ÿðóñîâ øïàëåðû. Íå ðåêîìåíäóåòñÿ ïîäâÿçûâàòü çà âåðõóøêè ïîáåãîâ.

7.

Êàòàðîâêà øò. êóñòîâ.

136011

 ðó÷íóþ


Èþíü

Óäàëåíèå êîðíåé, ðàçâèâøèõñÿ èç âåðõíèõ óçëîâ êîðíåøòàìáà, äëÿ ôîðìèðîâàíèÿ êîðíåâîé ñèñòåìû â áîëåå ãëóáîêèõ ãîðèçîíòàõ ïî÷âû. Ðàñêðûâàþò ïîäçåìíûé øòàìá íà ãëóáèíó äî 15 ñì, ñåêàòîðîì óäàëÿþò ïîâåðõíîñòíûå êîðíè è ïîäâîéíóþ ïîðîñëü, ïîñëå ÷åãî ÿìó çàêðûâàþò.

8.

 ×åêàíêà, øò êóñòîâ.

136011

 Ò-70 Â

×ÂË-3

Âòîðàÿ äåêàäà èþëÿ - ïåðâàÿ äåêàäà àâãóñòà

Ïðîâîäèòñÿ ñ öåëüþ ïîâûøåíèÿ óðîæàéíîñòè, óëó÷øåíèÿ êà÷åñòâà è ëó÷øåãî âûçðåâàíèÿ ëîçû. Ñòðèæêà ïîáåãîâ âûøå âåðõíåé ïðîâîëîêè è ñ áîêîâûõ ñòîðîí (óäàëÿþò âåðõóøêè ïîáåãîâ íà äëèíó 30-60 ñì) êîëè÷åñòâî ïîâðåæäåííûõ îñíîâíûõ ïîáåãîâ (ïðîäîëüíûõ è ïîïåðå÷íûõ, òðåùèí) íå äîëæíî ïðåâûøàòü 10 %. Ïîâðåæäåíèå ãðîçäåé íà îñíîâíûõ ïîáåãàõ íå äîïóñêàåòñÿ.

9

Ðûõëåíèå ïî÷âû â ðÿäàõ, ãà.

70

 ðó÷íóþ


Ìàé - èþíü

Ñ öåëüþ óíè÷òîæåíèÿ ïî÷âåííîé êîðêè è ñîðíÿêîâ.

 2. Îáðàáîòêà ïî÷âû.

1.

×èçåëåâàíèå ìåæäóðÿäèé ñ îáðàáîòêîé ïî÷âû â ðÿäàõ, ãà.

70

ÄÒ-75

ÏÐÂÌ-3 +ÏÐÂÍ 11000

Àïðåëü

Ðàçðûõëèòü óïëîòíèâøèéñÿ ñëîé ïî÷âû íà ãëóáèíó 20-30 ñì. óëó÷øàåò âîçäóøíûé ðåæèì ïî÷âû, ñïîñîáñòâóåò íàêîïëåíèþ â íåé âëàãè, óìåíüøàåò ýðîçèîííûå ïðîöåññû.

2.

Êóëüòèâàöèÿ ïî÷âû ñ îáðàáîòêîé â ðÿäàõ ïÿòèêðàòíî, ãà.

350

Ò-70

ÏÐÂÌ - 3 +ÏÐÂÍ 11000

Ìàé

 Ðûõëåíèå ïî÷âû è óíè÷òîæåíèå ñîðíÿêîâ. Ãëóáèíà ïåðâîé êóëüòèâàöèè 12 ñì, ïîñëåäóþùèå óìåíüøàþòñÿ äî 6 ñì. íå äîëæíî áûòü ñîðíÿêîâ, ïîâðåæäåíèé êóñòîâ è øïàëåðû. Îòêëîíåíèå îò çàäàííîé ãëóáèíû íå áîëåå ÷åì íà 1 - 2 ñì, ïîâåðõíîñòü îáðàáîòàííîé ïî÷âû äîëæíà áûòü âûðîâíåííîé.

3.

Îáíîâëåíèå ïëàíòàæà ñ âíåñåíèåì îðãàíè÷åñêèõ óäîáðåíèé, (50 % ïëîùàäè) ãà.

35

ÄÒ-75

ÏÐÂÌ-3+ ÏÐÂÍ 11000

Ñåíòÿáðü-îêòÿáðü

Ãëóáîêîå ðûõëåíèå, ãëóáèíà ùåëè ïî öåíòðó ìåæäóðÿäüÿ 55 ñì, ïî ñëåäó ãóñåíèöû òðàêòîðà äî 35 ñì, ÷åðåç ìåæäóðÿäüå.

4.

Óêðûòèå êóñòîâ, ãà.

70

ÄÒ-75

ÏÐÂÌ-3 + ÏÐÂÍ 13000

Íîÿáðü

Çàùèòà êóñòîâ îò ïîâðåæäåíèåì ìîðîçàìè. Àãðåãàò äâèæåòñÿ ïî ðÿäàì ñ ïîî÷åð¸äíûì íàêëîíîì êóñòîâ ïî ñõåìå - 6: 112: 12, ò.å. íà øåñòè ðÿäàõ êóñòû èìåþò íàêëîí ðóêàâîâ â îäíó ñòîðîíó, à íà ñëåäóþùèõ 12 ðÿäàõ â îáðàòíóþ, è òàê äàëåå.

 3. Ðåìîíò øïàëåðû

1.

Çàìåíà ïîâðåæä¸ííûõ ñòîëáîâ ñ íàòÿæêîé ïðîâîëîêè, ãà.

70

Ò-70Â

ÑÏ-2

Ìàðò-àïðåëü

Âîññòàíîâëåíèå ïîâðåæä¸ííûõ íåèñïðàâíûõ ýëåìåíòîâ øïàëåðíûõ îïîð. Íàòÿæêó ïðîâîëîêè íà÷èíàþò ñ âåðõíåãî ÿðóñà.

2.

Ïîãðóçêà øïàëåðíûõ ñòîëáîâ è äðóãèõ ìàòåðèàëîâ ñ ïîñëåäóþùåé òðàíñïîðòèðîâêîé


ÌÒÇ-80

2ÏÒÑ-4

Ìàðò-àïðåëü

Äîñòàâèòü íåîáõîäèìûå ìàòåðèàëû äëÿ ðåìîíòà øïàëåðû.

 4. Áîðüáà ñ âðåäèòåëÿìè è áîëåçíÿìè

1.

Îïðûñêèâàíèå ïðîòèâ ìèëäüþ, àíòðàêíîçà, ÷¸ðíîé ïÿòíèñòîñòè äî 5-8 ðàç, ãà.

70

ÌÒÇ-80

ÎÏ-2000

Ìàé-àâãóñò

Çàùèòèòü âèíîãðàäíîå ðàñòåíèå îò áîëåçíåé. Êà÷åñòâî îïðûñêèâàíèå îöåíèâàåòñÿ âèçóàëüíî: íà ñì2 íèæíåé ñòîðîíû ëèñòà äîëæíî áûòü íå ìåíåå 30 ìåëêèõ êàïåëü.

2.

Ïðèãîòîâëåíèå ðàáî÷åãî ðàñòâîðà, ò

56

ÌÒÇ-80

ÑÇÑ-10

Ìàé-àâãóñò

Äîëæíà áûòü îáåñïå÷åíà âûñîêàÿ ðàâíîìåðíîñòü âîäíûõ è ìàñëÿíûõ ðàñòâîðîâ, ñóñïåíçèé è ýìóëüñèé ñ êîíöåíòðàöèåé äî 10 % è áîðäîññêîé æèäêîñòè äî 4 %. Ïðèãîòîâëåííàÿ ðàáî÷àÿ æèäêîñòü äîëæíà áûòü ðàâíîìåðíîé ïî êîíöåíòðàöèè, íå ðàâíîìåðíîñòü íå äîëæíà ïðåâûøàòü +-5%.

3.

Òðàíñïîðòèðîâêà ðàáî÷åãî ðàñòâîðà, çàïðàâêà îïðûñêèâàòåëÿ, ò.

56

ÌÒÇ-80

ÐÆÒ-4

Ìàé-àâãóñò


4.

Îïðûñêèâàíèå ïðîòèâ ãðîçäåâîé ëèñòîâ¸ðòêè, ãà.

70

ÌÒÇ-80

ÎÏ-2000

Ìàé àâãóñò

Çàùèòèòü âèíîãðàäíîå ðàñòåíèå. Ïðèìåíÿþòñÿ ôîñôîðíî-îðãàíè÷åñêèå ïðåïàðàòû. Êà÷åñòâî îïðûñêèâàíèå îöåíèâàåòñÿ âèçóàëüíî: íà ñì2 íèæíåé ñòîðîíû ëèñòà äîëæíî áûòü íå ìåíåå 30 ìåëêèõ êàïåëü.

 5. Óäîáðåíèå âèíîãðàäíèêà

1.

Ñìåøèâàíèå è ïîãðóçêà ìèíåðàëüíûõ óäîáðåíèé, ò.

35

ÌÒÇ-80

ÑÇÓ-20

Âåñíà

Ñìåøèâàåìûå óäîáðåíèÿ íå äîëæíû èìåòü ïîâûøåííóþ âëàæíîñòü, ñîäåðæàòü êîìêîâ. Ñëåæàâøèåñÿ óäîáðåíèÿ èçìåëü÷àþò. Äëÿ ñìåøèâàíèÿ ìåæäó ñîáîé ïðèãîäíû òîëüêî óäîáðåíèÿ ñ áëèçêèìè ôèçèêî-ìåõàíè÷åñêèìè ñâîéñòâàìè è ðàçìåðîì. Äëÿ ïîëó÷åíèÿ âûñîêîêà÷åñòâåííûõ ñìåñåé ñìåñèòåëüíóþ óñòàíîâêó òùàòåëüíî ðåãóëèðóþò íà íåîáõîäèìîå ñîîòíîøåíèå êîìïîíåíòîâ òóêîñìåñè ñ îòêëîíåíèåì îò çàäàííîãî íå áîëåå ÷åì íà 10 %.

2.

Òðàíñïîðòèðîâêà ê ìåñòó âíåñåíèÿ, ò.

35

ÌÒÇ-80

2ÏÒÑ-4



3.

Âíåñåíèå ìèíåðàëüíûõ óäîáðåíèé, ò.

35

Ò-70

ÏÐÂÍ-14000

Âòîðàÿ-òðåòüÿ äåêàäà ìàÿ.

Äëÿ ïîïîëíåíèÿ ïî÷âû ýëåìåíòàìè ïèòàíèÿ. Ãëóáèíà âíåñåíèÿ 25-30ñì.

 6. Óáîðêà

1.

Ñáîð ñòîëîâûõ ñîðòîâ, ò

525

 ðó÷íóþ


Àâãóñò - îêòÿáðü

Íå äîëæåí ïðîâîäèòüñÿ ïðè äîæäëèâîé ïîãîäå, ïðè ðîñå è â ñèëüíóþ æàðó. Ñðåçàþò ñåêàòîðîì èëè íîæîì, íå êàñàÿñü ïàëüöàìè ÿãîä. Ãðîçäè äåðæàòü òîëüêî çà ãðåáíè. Ïðèñòóïàþò ïðè ñîäåðæàíèè ñàõàðà 12 - 14 ã/100 ñì3. Ãðîçäè ñêëàäûâàþò â ëîòêè.

2.

Òðàíñïîðòèðîâêà âèíîãðàäà ñòîëîâûõ ñîðòîâ, ò.

 525

Àâòîòðàíñïîðò

 


Äîñòàâèòü ê ìåñòàì òîâàðíîé îáðàáîòêè, õðàíåíèÿ, â ìåñòà ïîòðåáëåíèÿ. Ãðîçäè äîëæíû áûòü óïàêîâàíû â ñòàíäàðòíóþ òàðó, çàùèùåíû îò ïðÿìûõ ñîëíå÷íûõ ëó÷åé è îò ïîïàäàíèÿ ïûëè.

3.

Óáîðêà òåõíè÷åñêèõ ñîðòîâ, ò.

280

 Â ðó÷íóþ

 

Àâãóñò - îêòÿáðü

Íå äîëæåí ïðîâîäèòüñÿ ïðè äîæäëèâîé ïîãîäå, ïðè ðîñå è â ñèëüíóþ æàðó. Ñðåçàþò ñåêàòîðîì èëè íîæîì, íå êàñàÿñü ïàëüöàìè ÿãîä. Ãðîçäè äåðæàòü òîëüêî çà ãðåáíè. Ãðîçäè ñêëàäûâàþò â ëîòêè.

4.

Òðàíñïîðòèðîâêà âèíîãðàäà òåõíè÷åñêèõ ñîðòîâ, ò.

280

Àâòîòðàíñïîðò, ÌÒÇ-80

 2ÏÒÑ-4

Àâãóñò - îêòÿáðü

Äîñòàâèòü ê ìåñòàì ïåðåðàáîòêè. Ãðîçäè äîëæíû áûòü óïàêîâàíû â ñòàíäàðòíóþ òàðó, çàùèùåíû îò ïðÿìûõ ñîëíå÷íûõ ëó÷åé è îò ïîïàäàíèÿ ïûëè.


10. Ñîñòàâëåíèå ïëàíà óáîðêè òåõíè÷åñêèõ è ñòîëîâûõ ñîðòîâ âèíîãðàäà è òåõíîëîãèÿ å¸ ïðîâåäåíèÿ


Ïðåäâàðèòåëüíîå îïðåäåëåíèå óðîæàÿ â õîçÿéñòâàõ ïðîâîäÿò çà 1 - 1,5 ìåñÿöà äî ñáîðà âèíîãðàäà. Ó÷¸ò âåäóò áðèãàäèðû è àãðîíîìû îòäåëüíî ïî êàæäîìó ó÷àñòêó âèíîãðàäíèêà è ñîðòó.

Äëÿ ïðîâåäåíèÿ âûáèðàþò êóñòû ïî ñïîñîáó äèàãîíàëè, ïðîáíûõ ïëîùàäîê è ñåòêè.  ïåðâîì ñëó÷àå íà ó÷àñòêå ïî äâóì óñëîâíûì äèàãîíàëÿì îòìå÷àþò êàæäûé ïÿòûé - äåñÿòûé êóñò è ïîäñ÷èòûâàþò ÷èñëî ðàçâèâøèõñÿ ãðîçäåé. Âî âòîðîì ñëó÷àå íà ó÷àñòêå âûäåëÿþò ïëîùàäêó ñ 50 - 100 ó÷¸òíûìè êóñòàìè, íà êîòîðûõ òàêæå ïîäñ÷èòûâàþò ÷èñëî ãðîçäåé; â òðåòüåì, íàèáîëåå ðàñïðîñòðàí¸ííîì, ïîäñ÷¸ò ãðîçäåé âåäóò íà êàæäîì ïÿòîì êóñòå ïÿòîãî èëè äåñÿòîãî ðÿäà ó÷àñòêà. Óðîæàé ñ áîëüíûõ è ñëàáûõ êóñòîâ íå ó÷èòûâàþò.

Ðåçóëüòàòû ïîäñ÷¸òà çàïèñûâàþò â ñïåöèàëüíûé æóðíàë è âû÷èñëÿþò âåëè÷èíó îæèäàåìîãî âàëîâîãî óðîæàÿ. Äëÿ ýòîãî îáùåå êîëè÷åñòâî ãðîçäåé äåëÿò íà ÷èñëî ó÷¸òíûõ êóñòîâ è ïîëó÷àþò ñðåäíåå ÷èñëî ãðîçäåé íà îäèí êóñò. Ðåçóëüòàò óìíîæàþò íà ÷èñëî èìåþùèõñÿ íà ó÷àñòêå êóñòîâ è ïîëó÷àþò êîëè÷åñòâî ãðîçäåé íà âñ¸ì ó÷àñòêå. Óìíîæèâ ÷èñëî ãðîçäåé íà ñðåäíþþ ìàññó ãðîçäè ïîëó÷àþò ïðåäïîëàãàåìûé âàëîâîé óðîæàé âèíîãðàäà íà êàæäîì êîíêðåòíîì ó÷àñòêå. Ñëîæèâ óðîæàé âñåõ ó÷àñòêîâ, îïðåäåëÿþò âàëîâîé óðîæàé ïëîäîíîñÿùèõ íàñàæäåíèé âèíîãðàä õîçÿéñòâà. ×àñòíîå îò äåëåíèÿ âàëîâîãî ñáîðà óðîæàÿ íà êîëè÷åñòâî èìåþùèõñÿ â õîçÿéñòâå ãåêòàðîâ âèíîãðàäíûõ íàñàæäåíèé êàæäîãî ñîðòà ïîêàçûâàåò ñðåäíèé óðîæàé ïî õîçÿéñòâó.

Ó ñòîëîâûõ ñîðòîâ ãðîçäè ñîçðåâàþò íå îäíîâðåìåííî, ïîýòîìó óáèðàþò èõ âûáîðî÷íî, â äâà-òðè ïðè¸ìà. Ê ñáîðó ïðèñòóïàþò â ïåðèîä èõ ïîòðåáèòåëüñêîé çðåëîñòè, êîãäà ÿãîäû ñòàíîâÿòñÿ ñúåäîáíûìè è â íèõ íàêàïëèâàåòñÿ íå ìåíåå 12 % ñàõàðà è íå ìåíåå 7 - 10 ã/ë êèñëîòû.

Ñòîëîâûå ñîðòà ñîáèðàþò òîëüêî â ñóõóþ ïîãîäó. Ïðè ñèëüíîé ðîñå èëè ðîñå óáîðêó ïðåêðàùàþò, òàê êàê âëàæíûå ÿãîäû ëåãêî çàãíèâàþò, òåðÿþò ñâîè êà÷åñòâà è ñòàíîâÿòñÿ íå ïðèãîäíûìè äëÿ õðàíåíèÿ è òðàíñïîðòèðîâêè.

Ïðè ñáîðå ñòîëîâûõ ñîðòîâ ñòàâÿò îáû÷íî ÷åòûðå ñáîðùèêà, äâà èç íèõ èäóò è ñðåçàþò ãðîçäè ñ êîíöîâ ðÿäà, äðóãàÿ ïàðà - ñ ñåðåäèíû, ïåðåäâèãàÿñü ê ñáîðùèêàì èäóùèì íà âñòðå÷ó.

Ãðîçäè ñðåçàþò ñïåöèàëüíûìè íîæíèöàìè ñ óçêèìè ëåçâèÿìè è òóïûìè êîíöàìè, ñåêàòîðàìè èëè íîæàìè.

Ñîáèðàþò âèíîãðàä â êîðçèíû, æåëåçíûå èëè ïëàñòìàññîâûå â¸äðà, à ÷àùå â äåðåâÿííûå ÿùèêè ¸ìêîñòüþ 10 - 12 êã. Ó êàæäîãî ñáîðùèêà äîëæíî áûòü äâà âèäà òàðû: äëÿ íåïîâðåæä¸ííûõ ãðîçäåé è ïîâðåæä¸ííûõ, ñóõèõ, ãíèëûõ ÿãîä.

Âî âðåìÿ óáîðêè ïðîâîäÿò ïðåäâàðèòåëüíóþ, à èíîãäà è îêîí÷àòåëüíóþ ñîðòèðîâêó. Êàæäóþ ãðîçäü âíèìàòåëüíî îñìàòðèâàþò è íîæíèöàìè (íå ðóêàìè) óäàëÿþò âñå ïîâðåæä¸ííûå, ñóõèå, çàãíèâøèå, ãîðîøàùèåñÿ ÿãîäû, à òàêæå îñòàâøèåñÿ îò îòïàâøèõ ÿãîä ïëîäîíîæêè.

ßùèêè ñ ñîáðàííûì âèíîãðàäîì òóò æå, íà ó÷àñòêå, óñòàíàâëèâàþò øòàáåëÿìè è çàêðåïëÿþò íà ñïåöèàëüíûõ ïîääîíàõ. Ïðè âûáîðî÷íîì ñáîðå ñ êàæäîé ñòîðîíû ðÿäà ðàçìåùàþò ïî îäíîìó ïîääîíó ñ ïóñòûìè ÿùèêàìè, ïðè ìàññîâîì - ÷èñëî ïîääîíîâ äîëæíî ñîîòâåòñòâîâàòü ÷èñëó ñáîðùèêîâ. Ïî ìåðå íàêîïëåíèÿ òàðû ñ âèíîãðàäîì ñ ïîìîùüþ ïîãðóç÷èêà ÀÂÍ-0,5À, ïåðåîáîðóäîâàííîãî äëÿ ïîäú¸ìà ïîääîíîâ, ÿùèêè ñ ïîääîíàìè ïîìåùàþò â àâòîìàøèíû.

Òåõíè÷åñêèå ñîðòà, òàê æå êàê è ñòîëîâûå, ðåêîìåíäóåòñÿ óáèðàòü â íå æàðêóþ ïîãîäó. Ñîáèðàþò âèíîãðàä â îñíîâíîì â ðó÷íóþ, íî ñ ìàêñèìàëüíûì èñïîëüçîâàíèåì ñðåäñòâ ÷àñòè÷íîé ìåõàíèçàöèè - àãðåãàòà ÀÂÍ-05 äëÿ âûâîçêè ÿùèêîâ èç ìåæäóðÿäèé è ïîãðóçêå èõ íà òðàíñïîðòíûå ñðåäñòâà.

Îðãàíèçàöèÿ ñáîðà çàêëþ÷àåòñÿ â ñëåäóþùåì: ñáîðùèêè îäíîé ãðóïïû âðó÷íóþ ñðåçàþò ãðîçäè â â¸äðà è ïåðåâàëèâàþò âèíîãðàä â çàðàíåå ðàññòàâëåííûå â ìåæäóðÿäüÿõ ÿùèêè ¸ìêîñòüþ 20-25 êã. Íà ìåæêëåòî÷íûõ äîðîãàõ ñ êàæäîé ñòîðîíû êëåòêè ðàçìåùàþò â øàõìàòíîì ïîðÿäêå ïî ÷åòûðå ïóñòûõ êîâøà àãðåãàòà. Ñ ïîìîùüþ òðàêòîðà ÄÒ-20 èëè Ò-25À àãðåãàò äâèæåòñÿ ïî ìåæäóðÿäüþ è äâà ãðóç÷èêà ïåðåñûïàþò âèíîãðàä èç ÿùèêîâ â êîâø, îñòàâëÿÿ ïóñòûå ÿùèêè âáëèçè êóñòîâ. Ñ ïîìîùüþ àãðåãàòà âèíîãðàä âûâîçÿò èç ìåæäóðÿäèé íà ìåæêëåòî÷íóþ äîðîãó, ãäå ïîëíûå êîâøè ïåðåãðóæàþò òåì æå àãðåãàòîì íà òðàíñïîðòíûå ñðåäñòâà - ãðóçîâûå àâòîìàøèíû èëè òðàêòîðíûå ïðèöåïû ÐÒÍ-0,6 è ïåðåâîçÿò ñîáðàííûé óðîæàé ê ìåñòó ïåðåðàáîòêè.  ýòî âðåìÿ òðàêòîð äåëàåò ðàçâîðîò, çàåçæàåò â ñëåäóþùåå ìåæäóðÿäüå. Àãðåãàò ïîäõâàòûâàåò ïóñòîé êîâø è òåì æå ñïîñîáîì íà÷èíàåò çàïîëíÿòü åãî.

 êðóïíûõ ñïåöèàëèçèðîâàííûõ âèíîãðàäàðñêèõ õîçÿéñòâàõ, èìåþùèõ áîëüøèå ìàññèâû ÷èñòîñîðòíûõ òåõíè÷åñêèõ ñîðòîâ ïðèìåíÿþò áåñòàðíûé ñïîñîá ïåðåâîçêè íà ãðóçîâûõ ìàøèíàõ ñî ñú¸ìíûì ìåòàëëè÷åñêèì êóçîâîì-êîíòåéíåðîì - "ëîäî÷êîé". Ïðè ýòîì ñïîñîáå òðàêòîð ñ íàâåñíûì àãðåãàòîì ÀÂÍ-0,5 ïåðåäâèãàåòñÿ ïî ìåæäóðÿäüþ è ñáîðùèêè âûñûïàþò âèíîãðàä èç â¸äåð â êîâø àãðåãàòà. Ïîñëå çàïîëíåíèÿ êîâøà àãðåãàò âûåçæàåò íà ìåæêëåòî÷íóþ äîðîãó è îïðîêèäûâàåò êîâø â êóçîâ-êîíòåéíåð "ëîäî÷êó" ãðóçîâîãî àâòîìîáèëÿ.

Óáîðêó òåõíè÷åñêèõ ñîðòîâ ìîæíî ïðîâîäèòü è ñ ïîìîùüþ ìàøèí äëÿ óáîðêè, ïðèíöèï äåéñòâèÿ îñíîâàí íà îòäåëåíèÿ îò ïîáåãîâ ãðîçäåé ñïîñîáîì ñðåçûâàíèÿ, âèáðàöèè, âñòðÿõèâàíèÿ: Êóáàíü-1 (ÊÂÐ-1), ÄÎÍ-1Ì.

Ïðèìåíåíèå âñåõ òèïîâ âèíîãðàäîóáîðî÷íûõ ìàøèí âîçìîæíî ïðè îïðåäåë¸ííûõ òðåáîâàíèÿì: øèðèíà ìåæäóðÿäèé äîëæíà áûòü íå ìåíåå 2,5 ì, êóñòû ñôîðìèðîâàíû ñ îïðåäåë¸ííîé âûñîòîé øòàìáà, ñèñòåìà îïîð â âèäå âåðòèêàëüíûõ îäíîïëîñêîñòíûõ øïàëåð, ñîîòâåòñòâóþùèé ïîäáîð ñîðòîâ.

Òàê êàê ïëîùàäü íàñàæäåíèé â íàøåì ïðîåêòå íåáîëüøàÿ, òî ìû áóäåì ïëàíèðîâàòü ðó÷íîé ñáîð, íî ñ ìàêñèìàëüíûì èñïîëüçîâàíèåì ñðåäñòâ ÷àñòè÷íîé ìåõàíèçàöèè.

Òàáëèöà 10

Ïëàí óáîðêè óðîæàÿ âèíîãðàäà

 Íàèìåíîâàíèå ñîðòà

 Ïëîùàäü ãà

 Âàëîâîé ñáîð, ò

Äàòà óáîðêè

 Åæåäíåâíî òðåáóåòñÿ óáðàòü, ò

 Äíåâíàÿ íîðìà ñáîðà, ò

 Òðåáóåòñÿ åæåäíåâíî




 íà÷àëî

 êîíåö



 Ðàáî÷èõ- ñú¸ìùèêîâ

 ãðóç÷èêîâ

 ßùèêîâ

 Âåäåð

 Ñåêàòîðîâ

 Ãðóçîâûõ àâòîìàøèí

 ëîäî÷åê

 Ïîãðóç÷èêîâ ÀÂÍ-05

 Êîìáàéíîâ ÄÎÍ-1ì ÑÊÂ - 3ì

Âîñòîðã

7

 70

3.08

5.08

24

0.5

48

1

2400

-

48

-

2

-

1

-

Íåïòóí

7

49

16 08

17 08

25

0.5

50

1

2500

-

50

-

2

-

1

-

Íàäåæäà ÀÇÎÑ

7

105

18 08

21 08

27

0.5

54

2

2700

-

54

-

2

-

1

-

Îñåííèé ÷¸ðíûé

7

 56

8 09

9 09

 28

0.5

56

2

 2800

 -

56

 -

2

 -

 1

-

Ðóñìîë

7

 84

17 09

19 09

28

0.5

56

2

2800

-

56

-

2

-

1

-

Ãå÷åè çàìàòîø

8,75

105

25 08

28 08

27

0.5

54

2

-

108

54

-

-

3

-

-

Ñàïåðàâè ñåâåðíûé

8,75

127

17 09

20 09

32

0.5

64

2

-

128

64

-

2

3

-

-

Öâåòî÷íûé

8,75

70

16 09

18 09

24

0.5

48

1

-

96

48

-

2

2

-

-

Ãðàíàòîâûé

8,75

105

21 09

24

30

30

-

-

-

-

-

-

2

3

-

1


Çàêëþ÷åíèå


Ìû ðàçðàáîòàëè ïðîåêò çàêëàäêè âèíîãðàäíèêà ïðèâèòûìè ñàæåíöàìè â Òåìðþêñêîì ðàéîíå Êðàñíîäàðñêîãî êðàÿ íà ïëîùàäè 100 ãà è ðàçðàáîòàëè òåõíîëîãèþ ïðîèçâîäñòâà ïîñàäî÷íîãî ìàòåðèàëà è âîçäåëûâàíèÿ âèíîãðàäà.

Ïðîàíàëèçèðîâàâ ïî÷âåííî-êëèìàòè÷åñêèå óñëîâèÿ ðàéîíà, ìû ñäåëàëè âûâîä î òîì, ÷òî îíè ïîäõîäÿò äëÿ âûðàùèâàíèÿ êóëüòóðû âèíîãðàäà, íî ïðè ñîáëþäåíèè íåîáõîäèìûõ àãðîòåõíè÷åñêèõ ìåðîïðèÿòèé.  âèäó òîãî, ÷òî àáñîëþòíûé ìèíèìóì òåìïåðàòóð ñîñòàâëÿåò - 33ºÑ, ñíåæíûé ïîêðîâ áûâàåò â ñðåäíåì 40 äíåé, à ñðåäíÿÿ ãëóáèíà ïðîìåðçàíèÿ ïî÷âû 25 ñì, âèíîãðàä âûðàùèâàåòñÿ â íåóêðûâíîé êóëüòóðå.  êà÷åñòâå ñîðòà ïîäâîÿ èñïîëüçóåòñÿ Êîáåð 5ÁÁ.

Ñîîòíîøåíèå òåõíè÷åñêèõ è ñòîëîâûõ ñîðòîâ 75׃25, òàê êàê õîçÿéñòâî èìååò ñâîé âèíçàâîä è íåîáõîäèìà êðóïíàÿ ïàðòèÿ òåõíè÷åñêèõ ñîðòîâ. Äàííûé ó÷àñòîê íàõîäèòñÿ âñåãî ëèøü â 50 êì îò ðàéîííîãî öåíòðà, ÷òî ïîçâîëÿåò âûãîäíî ðåàëèçîâûâàòü óðîæàé ñòîëîâûõ ñîðòîâ. Íàáîð ñòîëîâûõ è òåõíè÷åñêèõ ñîðòîâ ñîîòâåòñòâóåò ðàéîíèðîâàííîìó ñîðòèìåíòó è îáåñïå÷èâàåò ðàâíîìåðíûé è áîëåå ðàñòÿíóòûé ïî ñðîêàì ñîçðåâàíèÿ ïåðèîä ñáîðà óðîæàÿ. Ìû ïîäîáðàëè ìîðîçîñòîéêèå, óñòîé÷èâûå ê áîëåçíÿì è âðåäèòåëÿì, îáëàäàþùèå õîðîøèìè âêóñîâûìè è òîâàðíûìè êà÷åñòâàìè, ðàçëè÷íûìè ïî îêðàñêå ñîðòà êàê ñòîëîâîãî (Êàäðÿíêà, Àâãóñòèí, Êèøìèø Ëó÷èñòûé, Ëÿíà, Ìîëäîâà), òàê è òåõíè÷åñêîãî íàïðàâëåíèÿ (ï. ÷, ñ. á, ê. ñ.).

Ïðèíÿòî ðàññòîÿíèå ìåæäó ðÿäàìè 3 ì. Ðàññòîÿíèå ìåæäó êóñòàìè äèôôåðåíöèðóåòñÿ â çàâèñèìîñòè îò ñèëû ðîñòà: äëÿ ñëàáîðîñëûõ ñîðòîâ äî 1,5 ì; ñðåäíåðîñëûõ 1,75-2,0 ì; ñèëüíîðîñëûõ - 2,0-2,5 ì. ïîòðåáíîñòü â ñàæåíöàõ ñ ó÷¸òîì 10 % ñòðàõîâîãî ôîíäà ñîñòàâëÿåò 166305 øòóê.

Ïðîèçâîäñòâî ïîñàäî÷íîãî ìàòåðèàëà ïðîèçâîäèòñÿ ïî èíòåíñèâíîé ñîâðåìåííîé òåõíîëîãèè: èñïîëüçîâàíèå ìàòî÷íèêîâ ïðèâîéíûõ è ïîäâîéíûõ ëîç ñóïåðèíòåíñèâíîãî òèïà ñ ìèíèêîðîòêîðóêàâíîé ôîðìîé êóñòà. Âñå ðàáîòû ïî ïîäãîòîâêå è ïðîâåäåíèå ïðèâèâî÷íîé êàìïàíèè âåäóòñÿ â ñïåöèàëüíî îáîðóäîâàííîì êîìïëåêñå.

Âûáðàííàÿ ôîðìà êóñòîâ äëÿ ïëîäîíîñÿùèõ âèíîãðàäíèêîâ - âûñîêîøòàìáîâûé äâóõñòîðîííèé ãîðèçîíòàëüíûé êîðäîí, îáåñïå÷èâàåò ìàêñèìàëüíîå óäîáñòâî ðó÷íîãî òðóäà è èñïîëüçîâàíèå ìåõàíèçàöèè ïðè ïðîâåäåíèè ðàáîò.

âèíîãðàäíèê ïðèâèòûé ñàæåíåö ñîðò

Ñïèñîê èñïîëüçîâàííîé ëèòåðàòóðû


1.      Ýíöèêëîïåäèÿ ïî âèíîãðàäàðñòâó. - Ò 2,3. - Êèøèí¸â, 2010.

2.      Àãðîýêîëîãè÷åñêèå îñíîâû è òåõíîëîãè÷åñêèå ïàðàìåòðû ïðèâèòîãî âèíîãðàäàðñòâà.À.Ì. Àäæèåâ, Ë.Ì. Ìàëòàáàð, À.Í. Àëèåâà. Ìàõà÷êàëà, 2009.

.        Ðàéîíèðîâàííûå ñîðòà âèíîãðàäà Ðîññèè. Ë.Ï. Òðîøèí, Ï.Ï. Ðàä÷åâñêèé. Êðàñíîäàð, 2014.

.        Ïðîìûøëåííîå âèíîãðàäàðñòâî. Ê.À. Ñåðïóõîâèòèíà, Ã.Ñ. Ìîðîçîâà. Ó÷åáíîå ïîñîáèå äëÿ ñ. - õ. âóçîâ. Àãðîïðîìèçäàò 1983.

Ðàçìåùåíî íà Allbest.ru