Таким образом, в настоящем проекте предусмотрен пятиинтервальный тип профиля ствола скважины:
· вертикальный интервал 0-480 м (0-480 м - по стволу);
· интервал набора кривизны 480-671 м (480-680 м) с интенсивностью 1,5° до зенитного угла 30°;
· интервал стабилизации 671-1809 (680-1994) м;
· интервал набора кривизны 1809-1998 (1994- 2361) м с увеличением зенитного угла от 30° до 85°;
· интервал условно-горизонтальный 1998 - 2000 (2361-2694)
м.
Указанный профиль для бурения скважины приведен на рисунке ниже.

Примечания:
1. Нагрузка на крюке не должна превышать 0,6 «допускаемой нагрузки на крюке» для расчетной массы бурильной колонны ,0,9- для расчетной массы обсадной колонны.
2. Для применяемого в процессе бурения и испытания оборудования заводом- изготовителем должен быть установлен расчетный срок службы. По окончании этого срока организация, эксплуатирующая это оборудование обязана провести оценку его состояния с участием представителя РГТЭИ с целью определения возможности дальнейшей эксплуатации оборудования. Разрешение на дальнейшую эксплуатацию оборудования выдается региональным органом Госгортехнадзора России.
3. Согласно приведенным в таблице данным буровая
установка позволяет вести работы при значениях максимальных нагрузок на крюке
веса бурильных и обсадных труб (в долях от допустимых) 0,54 и 0,37
соответственно, т.е. при нагрузках более низких, чем разрешено.
Технологическая оснастка эксплуатационной колонны.
БК-146 - предназначен для оборудования нижней части обсадной
колонны с целью повышения ее проходимости по стволу скважины и предупреждения
повреждения нижней трубы при посадках. Башмаки присоединяют к нижней части
обсадной колонны на резьбе или сварке. Направляющие насадки в основном
изготовляют из чугуна или бетона. В промежуточных колоннах при после дующем
углублении ствола их разбуривают.
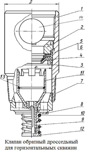
КОДГ-146 - предназначен для предотвращения перетока бурового или
тампонажного раствора из заколонного пространства в обсадную колонну в процессе
крепления скважины. Его монтируют в башмаке обсадной колонны или на 10-20 м
выше него. Обратные клапаны изготовляют корпусными и бескорпусными. По виду
запорного элемента они делятся на тарельчатые, шаровые и имеющие шарнирную
заслонку.
КОДГ-146: 1-корпус; 2-кольцо нажимное; 3-кольцо; 4-диафрагма; 5,6-набор
разрезных шайб; 7-ограничитель; 8-пята; 9-дроссель; 10-пружина; 11-втулка;
12-упор; 13-кольцо уплотнительное; 14-шар.
Центратор типа ЦЦ-146/216-1 - применяют для центрирования обсадной колонны в стволе скважины с целью равномерного заполнения кольцевого пространства тампонажным раствором/и качественного разобщения пластов. Кроме того, они облегчают процесс спуска обсадной колонны, уменьшая силу трения между обсадными трубами и стенками скважины, увеличивают степень вытеснения бурового раствора тампонажным вследствие образования локальных завихрений восходящего потока раствора в зонах центраторов, а также облегчают работу по подвеске хвостовиков и стыковке секций обсадных колонн в результате центрирования их верхних концов.
ЦТГ-146/216 (206) - предназначены для завихрения восходящего потока
тампонажного раствора в затрубном пространстве при цементировании скважины. Их
устанавливают на обсадной колонне в зонах расширения ствола скважины на
расстоянии не более 3 м друг от друга. Лопасти турбулизаторов могут быть
металлическими или резиновыми (резина покрывается двумя слоями кордной
хлопчатобумажной ткани). Угол наклона лопастей турбулизатора типа ЦТ к его
вертикальной оси 30; допустимая осевая нагрузка на корпус 1,18 тс.
ПДМ-146 - применяют для крепления скважин в тех случаях, когда возникает
необходимость подъема тампонажного раствора на большую высоту (до 3000 м и
более). При оснащении обсадных колонн указанными муфтами становится возможным
цементирование скважин в две ступени как с разрывом во времени между ступенями,
так и без него. В стволе скважин их рекомендуется устанавливать в интервалах
устойчивых непроницаемых пород и на участках, где отсутствуют уширения, каверны
или желобообразования, а в наклонно направленных скважинах -также в
вертикальной части ствола.
Расчёт обсадных колонн на прочность проводятся с учетом максимальных ожидаемых избыточных наружных и внутренних давлений при полном замещении бурового раствора (жидкости глушения) пластовым флюидом или газожидкостной смесью, снижении уровня в процессе освоения или механизированной добыче, нагрузок, возникающих в результате пространственного искривления скважин, а также осевых нагрузок на трубы и агрессивности флюида на стадиях строительства и эксплуатации.
При расчете обсадных колонн должны быть использованы нормативные документы, согласованные с Госгортехнадзором России.
Прочность кондукторов, технических колонн и установленного на них противовыбросового оборудования должна обеспечить:
герметизацию устья скважины в случаях газоводонефтепроявлений, выбросов и открытого фонтанирования с учетом превышения дополнительного давления, необходимого для глушения скважины, не менее чем на 10 %;
устойчивость (сохранение целостности) при воздействии гидростатического давления столба бурового раствора максимальной плотности;
противостояние воздействию максимальных сжимающих
нагрузок в случаях открытого фонтанирования или поглощения с падением уровня
бурового раствора, а также в интервалах залегания склонных к текучести пород.
Наружное избыточное давление:
. В момент завершения продавки цементного раствора:
2. При снижении уровня нефти в колонне до 2000м:
Избыточное наружное давление в башмаке d146 мм колонны при опорожнении на 2000 м определено 21,6 по
плотности заколонной пластовой воды р=1,1 г/см3.
Внутреннее избыточное давление:
. При опресовке колонны:
2. Давление при закачке цементного раствора:
Подготовка ствола к спуску и спуск колонн
. Основные требования и инструкции по подготовке к спуску следующие:
· запрещается приступать к спуску обсадных колонн в скважину, осложненную поглощением бурового раствора, флюидопроявлениями, осыпями и обвалами с наличием затяжек и посадок бурильной колонны;
· для предотвращения осложнений в процессе спуска колонн ствол скважины шаблонируют КНБК последнего долбления или более жесткой. Перед спуском скважина промывается в течение не менее 1,5 циклов. Интенсивность промывки не должна превышать указанные в таблице «Режим спуска обсадных труб» (графа 15) значения;
· спуск осуществляется на клиновых захватах, соответствующих размеру и массе обсадной колонны;
· рекомендуется спускать первые 100 м обсадных труб с применением двух элеваторов, последующие - с применением ПКРО - 560;
· резьбовые соединения докрепляются машинными ключами с контролем моментомером;
· для обеспечения герметичности резьбовых соединений обсадные трубы должны свинчиваться с применением смазок типа Р- 2МВП, Р - 402 и Русма-2;
· при возникновении осложнений (посадки, затяжки и т.п.) промежуточную промывку проводят, начиная с интервала возникновения осложнения, через каждые последующие 300м спущенных труб;
· для предотвращения прихвата при заполнении и промывках следует держать колонну в подвешенном состоянии и периодически расхаживать;
· циркуляцию восстанавливают плавно, одним насосом;
· производительность насосов и продолжительность промывки на забое определяется в соответствии с местной практикой, но не менее одного цикла промывки;
· объем расхода бурового раствора и гидродинамическое давление в затрубье при промывке не должны вызывать гидроразрыва пород, и поглощения;
· в случае поглощения переходят на промывку одним насосом и снижают подачу насоса;
· при потере циркуляции колонну поднимают до глубины, где проводилась предыдущая промывка, и восстанавливают циркуляцию при минимальной подаче;
· если в процессе подготовки ствола скважины обнаружены газонефтеводопроявления или поглощения, ствол скважины должен быть подготовлен повторно после их полной ликвидации.
. При спуске колонн не следует допускать посадок их на следующие величины: кондуктор- 15% от веса спущенной части колонны, эксплуатационная колонна - в конце спуска 1,5 т.
· При превышении указанных значений спуск колонны необходимо приостановить и скважину промыть до устранения посадок.
· Если после промывки продолжить спуск колонны по предложенной программе не удается, ситуация считается аварийной и требует отдельного технологического решения.
· По окончании спуска обсадной колонны скважину промывают с выравниванием параметров бурового раствора до проектных.
· Основные данные, характеризующие режим спуска обсадных труб, приведены в таблице.
. К началу спуска колонны в скважине должны быть завершены все
исследовательские и измерительные работы (каротажи, отбор проб, кавернометрия,
инклинометрия, опробование перспективных объектов и т.д.). После получения
новой кавернограммы выявляют участки сужений ствола скважины и уточняют места
установки на колонне центраторов и турбулизаторов.
Прогнозирование и технологические рекомендации по бурению ствола с зенитным углом более 30° и горизонтального ствола следующие:
. В процессе бурения постоянно вести контроль за выносом шлама, плотностью бурового раствора и за расходом бурового раствора при входе- выходе из скважины (или за уровнем раствора в циркуляционных емкостях). При прекращении (или уменьшении) выноса шлама или его ненормированном увеличении необходимо прекратить углубление забоя, промыть скважину с одновременным расхаживанием бурильного инструмента, осмотреть выносимый шлам и определить причину, вызвавшую ненормированное изменение плотности бурового раствора.
. Для лучшей очистки ствола скважины от выбуренного шлама перед каждым наращиванием предусматривается прорабатывать ствол на длину свечи и расхаживать бурильную колонну с промывкой.
. При проведении спускоподъемных операций не допускать посадок бурильного инструмента более 5 тс и затяжек более 10 тс. Места посадок (затяжек) необходимо прорабатывать при скорости, превышающей механическую скорость проходки данного инструмента в два-три раза.
. Перед подъемом бурильной колонны после отработки долота необходимо промывать ствол скважины с периодическим вращением бурильной колонны в течение 1,5 циклов циркуляции. Практика показывает, что увеличение продолжительности промывки скважины сверх расчетной, не дает результатов по дополнительной очистке ствола. Образовавшуюся в скважине шламовую “постель”, которую не удается ликвидировать путем промывки, удалять вращением бурильной колонны при работающем двигателе. Запрещается вращать бурильную колонну в том случае, кода в компоновку включен двигатель-отклонитель с углом перекоса более 1,5°.
. С целью предупреждения заклинивания и прихвата бурильного инструмента запрещается изменять диаметры и длины элементов КНБК в сторону увеличения на последующем долблении.
. Строго следить за плавным восстановлением циркуляции раствора в скважине после спуска инструмента.
. Не оставлять инструмент без движения более 5 минут.
. При подъеме бурильной колонны (каждой свечи) скважину доливать раствором, контролируя объем доливаемого раствора и уровень раствора в скважине.
. Перед вскрытием продуктивного пласта:
- ограничить скорость спуска бурильного инструмента до 0,5 м/с;
- содержание смазочных добавок в буровом растворе должно соответствовать максимальным значениям.
. При бурении горизонтального ствола необходимо создавать максимальную нагрузку на долото. При достижении большой протяженности горизонтального участка часто нагрузка на долото не передается вообще и происходит зависание компоновки. В таком случае необходимо более частое расхаживание (через 3-5 мин бурения) инструмента на всю длину ведущей трубы. Технология бурения горизонтального ствола на данной скважине предусматривает проворачивание бурильного инструмента во время бурения забойным двигателем-отклонителем. Данная технология позволяет бурить участок стабилизации без смены компоновки, способствует улучшению выноса шлама.
. Во избежание возможного дюнообразования в стволе с зенитным углом больше 45-50 градусов промывку вести с расхаживанием и вращением инструмента, либо со ступенчатой подачей бурового раствора, или при одновременном их осуществлении.
. При бурении в продуктивном пласте иногда механическая скорость бурения увеличивается, доходя до 20-40 м/час из-за низкого дифференциального давления. Поэтому, при значительном увеличении скорости бурения необходимо ее ограничивать и увеличивать время промывки перед наращиванием с расхаживанием и вращением бурильной колонны с частотой 60-65 об/мин.
. В состав КНБК над забойным двигателем включается обратный клапан с целью предотвращения зашламования двигателя и телесистемы подъема вала винтового двигателя и выхода из зацепления с валом шпинделя. Не обходимо спускать бурильную колонну с доливом через каждые 400-500 м и промывками перед выходом КНБК из башмака колонны. В пределах продуктивного пласта необходимо ограничивать скорость спуска бурильной колонны до 0,25-0,4 м/с во избежание гидроразрыва пласта.