Материал: Проект модернизации рабочего оборудования землеройно-транспортной машины

Внимание! Если размещение файла нарушает Ваши авторские права, то обязательно сообщите нам

В данном случае проходные каналы крайней левой позиции трехпозиционного гидрораспределителя 12, соединяющие напорную магистраль 16 и сливную магистраль 11 с гидроцилиндрами 6, также блокированы запертыми каналами средней позиции другого гидрораспределителя 12, на гидродатчик 5 которого не действуют экстремальные нагрузки.

При недогрузке одного из нижних углов отвала давление в полостях соответствующего гидродатчика 5 выравнивается, т. е. разница давлений в полостях становится меньше предела регулирования, а пружина 14 сжатия находится в нейтральном или слабонагруженном положении. Тогда соответствующий гидрораспределитель 7 находится в средней позиции, обеспечивая переключение гидрораспределителя 12 в крайнюю правую позицию и подключение через его проходные каналы, а также через проходные каналы гидрораспределителя 15 поршневой полости соответствующего гидроцилиндра 4 к напорной гидромагистрали 9 или 10 и штоковой полости этого гидроцилиндра - к сливной гидромагистрали 11. В результате происходит выдвижение штока соответствующего гидроцилиндра 4 и заглубление в грунт недогруженного угла отвала. В данном случае проходные каналы крайней правой позиции гидрораспределителя 12, соединяющие напорную 16 и сливную 11 магистрали с гидроцилиндрами 6, также блокированы запертыми каналами средней позиции другого гидрораспределителя 12, на гидродатчик которого не действуют экстремальные нагрузки.

При перегрузке нижнего края всего отвала 2 возникает повышенное давление во внешних штоковых полостях обоих гидродатчиков 5, что обеспечивает одновременное включение крайних позиций обоих гидрораспределителей 7 и крайних левых позиций обоих гидрораспределителей 12, через проходные каналы которых напорная гидромагистраль 16 соединяется со штоковыми, а сливная гидромагистралъ 11 - с поршневыми полостями гидроцилиндров 6. Это обеспечивает подъем всего отвала 2 до предела, когда перегрузка уменьшится до допустимого предела и произойдет переключение обоих гидрораспределителей 7 в среднюю позицию, что в свою очередь вызывает переключение гидрораспределителей 12 в крайнюю правую позицию, обеспечивающую соединение напорной гидромагистрали 16 с поршневыми, а сливной гидромагистрали 11 - со штоковыми полостями гидроцилиндров 6 и опускание всего отвала 2. Пульсирующее переключение гидроцилиндров 6 отвала 2 предупреждено использованием промежуточных позиций с запертыми каналами в гидрораспределителях 7. Таким образом, при достижении отвалом 2 оптимального с точки зрения действующих на него усилий уровня установки гидрораспределители 7 занимают промежуточную позицию с запертыми каналами, в которой остаются в установленных пределах регулирования. Одновременное переключение гидрораспределителей 12 в крайнюю позицию вызывает синхронно с автоматической подачей давления к гидроцилиндрам 6 поступление жидкости под давлением в управляющие полости гидрораспределителей 15, в результате чего они переключаются в крайнюю позицию с запертыми каналами, разобщая тем самым напорные магистрали 9 и 10 и сливную магистраль 11 с гидроцилиндрами 4 управления углом резания, которые бездействуют в течение всего периода изменения положения гидроцилиндров 6 отвала 2.

При перегрузке верхнего края всего отвала 2 происходят аналогичные процессы регулирования с той разнице, что избыточное давление создается во внутренней штоковой полости гидродатчика 5 и гидрораспределители 7 сначала занимают крайнюю позицию, а в конце регулирования подъема и опускания отвала 2 гидроцилиндрами 6 - другую промежуточную позицию с запертыми каналами.

При недогрузе нижнего края всего отвала 2 происходят аналогичные процессы регулирования с той разницей, что перепад давлений в обеих полостях гидродатчиков 5 становится меньше предела регулирования, гидрораспределители 7 сначала занимают под действием собственных пружин, как показано на фиг. 2, среднюю позицию, а в конце регулирования подъема и опускания отвала 2 гидроцилиндрами 6 - одну или другую промежуточную позицию с запертыми каналами.

Формула изобретения

Бульдозер, включающий базовый трактор, отвал, толкающие брусья и гидросистему, содержащую гидроцилиндры подъема и опускания отвала и гидроцилиндры управления углом резания с их гидрораспределителями, отличающийся тем, что, с целью повышения производительности работы бульдозера, гидросистема снабжена гидроуправляемыми трехпозиционными гидрораспределителями, пятипозиционными гидрораспределителями, выполненными с проходными каналами в средней и крайних позициях и с запертыми каналами в промежуточных позициях, и расположенными вдоль осей гидроцилиндров управления углом резания жестко смонтированными на них гидродатчиками, через которые последние соединены с толкающими брусьями, при этом гидродатчики выполнены в виде двухштоковых гидроцилиндров, полости которых сообщены с управляющими полостями пятипозиционных гидрораспределителей, полости гидроцилиндров управления углом резания последовательно соединены с напорной и сливной магистралями через дополнительные каналы своих гидрораспределителей, трехпозиционные гидрораспределители и пятипозиционные гидрораспределители, а трехпозиционные гидрораспределители выполнены с проходными каналами в крайних позициях и запертыми каналами в средней позиции и управляющими полостями соединены с пятипозиционным гидрораспределителем.

Бульдозер по п. 1, отличающийся тем, что гидродатчики расположены в единых корпусах с гидроцилиндрами управления углом резания, а внутренние штоки гидродатчиков - в промежуточной полости единых корпусов, сообщенной с атмосферой, при этом наружные штоки гидродатчиков шарнирно связаны с толкающими брусьями.

Бульдозер по пп. 1 и 2, отличающийся тем, что гидродатчики снабжены установленными в полостях наружных штоков пружинами сжатия.

. Бульдозер по пп. 1-3, отличающийся тем, что гидросистема снабжена дополнительными гидроуправляемыми трехпозиционными гидрораспределителями, выполненными с проходными каналами в средней позиции и с запертыми каналами в крайних позициях и расположенными в магистралях, соединяющих гидрораспределители гидроцилиндров управления углом резания с первыми трехпозиционными гидрораспределителями, при этом управляющие полости дополнительных трехпозиционных гидрораспределителей сообщены с напорной и сливной гидромагистралями гидроцилиндров подъема и опускания отвала, которые сообщены с проходными каналами крайних позиций первых трехпозиционных гидрораспределителей.


Авторское свидетельство СССР № 1201422,кл. Е 02 F 3/76, 1984

БУЛЬДОЗЕРНОЕ ОБОРУДОВАНИЕ.

Изобретение относится к землеройным машинам типа бульдозера.

Цель - упрощение конструкции. Бульдозерное оборудование содержит толкающие брусья 3 с отвалом 4 и грузовую площадку (ГП) 5 в форме полудиска. Механизм перевода ГП 5 из рабочего положения в транспортное состоит из горизонтальной траверсы (ГТ) 6 с жестко прикрепленными к ней стойками (С) 7. Последние смонтированы в направляющих втулках 8 на тыльной стороне отвала 4. На нижних концах С 7 закреплены поддерживающие ролики 9, между которыми размещена ГП 5 Параллельно С 7 расположен приводной вал 10, смонтированный в дополнительных направляющих втулках 11 на тыльной стороне отвала 4. Вал 10 нижним концом прикреплен к ГП 5 в центр ее окружности, а верхним концом установлен в ГТ 6. Гидроцилиндр 11 перемещения ГП 5 на высоте смонтирован на отвале 4 и соединен с ГТ 6. Двигатель 12 для выдвижения ГП 5 под отвалом закреплен на ГТ 6 и кинематически связан с приводным валом 10. Гидроцилиндром 11 опускают ГП 5 ниже уровня ножей отвала 4. Двигателем 12 поворачивают ГП 5 в переднее рабочее положение. Гидроцилиндром 11 поднимают ГП 5 до упора в ножи отвала 4 и набирают грунт или другой груз. Поднимают отвал и транспортируют груз. При выгрузке опускают ГП 5, выключают двигатель 12, поворачивают ГП 5 в транспортное положение.

Изобретение относится к строительно-дорожным машинам, в частности к землеройным машинам типа бульдозеров.


Цель изобретения - упрощение конструкции оборудования.

На фиг. 1 изображено бульдозерное оборудование, вид сбоку; на фиг.2 - то же, в плане.

Бульдозерное оборудование 1, навешенное на базовую машину 2, включает толкающие брусья 3 с отвалом 4 и грузовую площадку 5, выполненную в форме полудиска. Механизм перевода площадки 5 из рабочего положения в транспортное состоит из горизонтальной траверсы 6 с жестко прикрепленными к ней стержнями в виде стоек 7, смонтированных посредством направляющих втулок 8 на тыльной стороне отвала 4. На нижних концах стоек 7 закреплены поддерживающие опорные ролики 9, между которыми размещена площадка 5. Параллельно стойкам 7 расположен приводной вал 10, смонтированный в дополнительных направляющих втулках 11 на тыльной стороне отвала 4. Вал 10 нижним концом прикреплен к полудисковой платформе 5 в центре ее окружности, а верхним концом установлен в траверсе 6. Гидроцилиндр 12 перемещения грузовой площадки 5 по высоте смонтирован на отвале 4 и соединен с траверсой 6. Двигатель 13 для выдвижения площадки 5 под отвалом закреплен на траверсе и кинематически связан с приводным валом 10.

Работает бульдозерное оборудование следующим образом. Базовая машина 2 с бульдозерным оборудованием 1 подъезжает к куче грунта или другому грузу. Гидроцилиндром 12 грузовая площадка 5 совместно с траверсой 6 и стойками 7 опускается в нижнее положение, ниже уровня ножей отвала 4, Затем посредством двигателя 13 и вала 10 поворачивается в переднее рабочее положение до упора в ограничители этого вала. Гидроцилиндром 12 поднимается площадка 5 до упора в ножи отвала 4. В таком положении оборудования набирается материал на площадку 5. Далее поднимается отвал и транспортируется расположенный на площадке груз к месту выгрузки. При выгрузке опускается грузовая площадка 5, включается двигатель 13 и поворачивается площадка 5 в транспортное положение.

Формула изобретения Бульдозерное оборудование, включающее толкающие брусья, закрепленный на них отвал, грузоподъемную площадку, которая смонтирована посредством механизма ее перевода из рабочего положения в транспортное с возможностью установки в рабочее положение перед отвалом и под его режущим ножом, и двигатели управления механизмом перевода для перемещения грузовой площадки по высоте и для ее выдвижения под отвалом, первый из которых выполнен в виде гидроцилиндра, отличающееся тем, что, с целью упрощения его конструкции, грузовая площадка выполнена в виде полудиска, а механизм ее перевода из рабочего положения в транспортное состоит из горизонтальной траверсы с жестко прикрепленными к ней стержнями в виде стоек, смонтированными посредством направляющих втулок на тыльной стороне отвала с возможностью перемещения вдоль их продольных осей и имеющими закрепленные на их нижних концах поддерживающие опорные ролики, между которыми размещена полудисковая грузовая площадка, и из расположенного параллельно стержням приводного вала, который смонтирован на тыльной стороне отвала посредством дополнительных направляющих втулок и нижним концом прикреплен к полудисковой грузовой площадке в центре ее окружности, а верхним связан с траверсой, при этом гидроцилиндр перемещения грузовой площадки по высоте смонтирован на отвале и соединен с траверсой, а двигатель для ее выдвижения под отвалом закреплен на траверсе и кинематически связан с приводным валом.

4. Авторское свидетельство СССР № 635179, кл. Е 02 F 3/76, 1978.

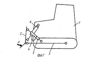
РАБОЧИЙ ОРГАН БУЛЬДОЗЕРА, включающий отвал с лобовым листом и выступающий средний нож с гидроцилиндрами управления, отличающийся тем, что с целью повышения производительности, он снабжен ковшом, выполненным из расположенных перед лобовым листом отвала задней стенки, днища, к передней части которого прикреплен средний нож, и из боковых стенок с расположенными в верхних частях и примыкающих к задней стенке разгрузочными окнами, при этом ковш смонтирован на отвале шарнирно и соединен с гидроцилиндрами управления.

Известен рабочий орган бульдозера, включающий отвал с выступающим средним ножом.

Недостаток данного устройства заключается в том, что поднимаемый средним ножом пласт грунта испытывает значительную пригрузку со стороны призмы волочения.

Наиболее близким к изобретению по технической сущности является рабочий орган, включающий отвал с лобовым листом и выступающим средним ножом с гидроцилиндрами управления.

Недостаток известного устройства заключается в том, что поднимаемый средним ножом пласт грунта значительно пригружен призмой волочения, в связи с чем требуются дополнительные затраты тягового усилия, что отрицательно сказывается на производительности. Кроме того, имеют место также потери грунта в боковые валики, что также сказывается на снижении производительности.

Целью изобретения является повышение производительности.

Поставленная цель достигается тем, что рабочий орган бульдозера, включающий отвал с лобовым листом и выступающий средний нож с гидроцилиндрами управления, снабжен ковшом, выполненным из расположенных перед лобовым листом отвала задней стенки, днища( к передней части которого прикреплен средний нож, и из боковых стенок с расположенными в верхних частях и примыкающих к задней стенке разгрузочными окнами, при этом ковш смонтирован на отвале шарнирно и соединен с гидроцилиндрами управления.

На фиг. 1 изображен в изометрии рабочий орган, общий вид; на фиг. 2 - процесс копания грунта; на фиг. 3 - транспортировка грунта в ковше.

Рабочий орган бульдозера включает отвал I с лобовым листом 2 и режущими ножами 3, гидроцилиндры 4 управления.

На отвале шарнирно смонтирован ковш 5, состоящий из задней б стенки, расположенной перед лобовым листом 2 отвала 1, днища 7 со средним ножом 8 и боковых стенок 9, в верхних частях которых выполнены разгрузочные окна.

Шарнирное соединение ковша 5 с отвалом 1 выполнено посредством шарниров 10, соединяющих между собой кронштейны 11, закрепленные на тыльной стороне отвала 1, и рычаги 12, жестко связанные одними концами с ковшом 5, а другими с гидроцилиндрами 4 управления. С базовым трактором рабочий орган соединен посредством толкающих брусьев 13 и гидроцилиндров 14.

Орган бульдозера работает следующим образом.

При опускании отвала 1 с помощью гидроцилиндров 14 осуществляется взаимодействие выступающего ножа 8 с грунтом. Штоки гидроцилиндров 4 при этом выдвинуты. Вырезаемый грунт узким выступающим ножом 8, в условиях наличия боковых стенок 9, поднимается вверх по криволинейной поверхности задней стенки 6. Наличие разгрузочных окон в боковых стенках 9 обеспечивает формирование перед отвалом 1 призмы волочения (движение грунта показано стрелками на фиг. 1). Режущий нож 3 при этом перемещается по дневной поверхности грунта без подрезания. Если же имеется резерв тягового усилия, тогда оператор с помощью гидроцилиндров 14 опускает отвал 1 с ножом 3 на некоторую глубину, происходит копание грунта ножами 8 и 3.

При возрастании сопротивления копания уменьшение толщины стружки, вырезаемой ножом 8, осуществляется гидроцилиндрами 4. При втягивании штоков гидроцилиндров 4, происходит уменьшение толщины стружки, вырезаемой ножом 8.

Таким образом, вырезаемый средним ножом грунт накопляется в ковше 5 и не оказывает давления на разрабатываемый грунт в зоне резания, что уменьшает общее сопротивление грунта копанию и, следовательно, позволяет получить увеличение производительности. Управление ковшом 5 в процессе резания грунта также позволяет снизить потери грунта в боковые валики, так как основная масса грунта формируется в средней части отвала 1.

При необходимости транспортировка грунта может быть осуществлена в поднятом ковше 5.