Материал: Процесс поверхностной обработки зерна

Внимание! Если размещение файла нарушает Ваши авторские права, то обязательно сообщите нам

Рисунок 2.2 - Горизонтальная обоечная машина РЗ-БГО-6

- корпус; 2 - приёмный патрубок; 3-магнитный аппарат; 4 - сетчатый цилиндр; 5 - фланец для аспирационного воздуховода; 6-бичевой ротор; 7 - пневмосепаратор; 8-выпускной патрубок; 9 - стойка; 10 - выпускной бункер; 11 - электродвигатель; 12 -клиноремённая передача; 1-неочищенное зерно; 11- отходы; отходы; 111-очищенное зерно.

Зерно через приемник поступает в питатель, который равномерно подает его цилиндр.Здесь зерно захватывается бичами и обрабатывается т тем интенсивного трения о бичи, внутреннюю поверхность сетчатого цилиндра, а также за счет межзернового трения. Проход; рез сетчатый цилиндр отводится воронкой. Обработанное зерно выводится из машины по патрубку в аспирационный канал для дальнейшей очистки на пневмосепаратое. Особенность машины этого типа заключается в том, что пот вал бечевого ротора занимает до четверти рабочего объема сетчатого цилиндра, а угол наклона и высота планок бичей различны, результате в кольцевом зазоре, заполненном зерном, возникает сложная циркуляция обрабатываемого материала, при которой скорость отдельных зерен неодинакова. Этот фактор, а также скоростной режим работы бичевого ротора обеспечивают 1 высокую эффективность обработки поверхности зерна [7].

Обоечная машина РЗ-БМО-6 (рисунок 2.3) вертикального типа состоит из корпуса, загрузочно - питающего, выпускного устройств, сетчатого цилиндра бичевого ротора и привода. Цилиндрический корпус 8 представляет собой сварную неразборную конструкцию диаметром 890 мм, изготовленную из листового металла. В нижней части корпуса предусмотрено четыре отверстия для крепления его к перекрытию. С противоположных сторон корпуса расположены съемные двери с запорными ручками. Загрузочное устройство состоит из приемного патрубка 1 и загрузочной воронки. Патрубок представляет собой прозрачный цилиндрический стакан, нижняя часть которого установлена на крышке корпуса, а к верхней прикреплён гибкий рукав, соединяющий стакан с самотечной трубой, подающей зерно. Загрузочная воронка состоит из двух конусов 2 и З, концентрично установленных один над другим. Такое конструктивное решение загрузочной воронки исключает излишнее накопление зерна поступающего в машину. К нижнему конусу З воронки приварен питающий цилиндр 4. К его нижней части примыкает распределительный диск 5, подвешенный к конусу трех пружинах 12. Натяжение пружин отрегулировано так, что при отсутствии зерна диск прижимается к цилиндру. Вертикальный сетчатый цилиндр 11 собран из трех секторов, соединенных между собой через три продольные деревянные накладки болтами. Вверху и внизу сетчатый цилиндр опирается на внутренние кольца корпуса машины. Верхняя его часть для предохранения от преждевременного износа закрыта с внутренней стороны на высоту 250 мм сплошным металлическим листом, цилиндр выполнен из металлотканой сетки толщиной З мм с отверстиями 1,0 х 1,8 мм. Площадь сетчатой поверхности цилиндра 2,8 м. Бичевой ротор смонтирован на вертикальном валу 9 с помощью четырех крестовин 6, которые прикреплены к валу центрирующими штифтами. На крестовинах вертикально установлено семь плоских стальных бичей 7. Их верхние концы отогнуты в направлении вращения ротора. На бичах сделана нарезка для крепления их болтами к крестовинам и регулирования зазора (22...28 мм) между рабочей кромкой бичей и сетчатым цилиндром. Вал бичевого ротора вращается в двух самоустанавливающихся подшипниках. Верхний подшипник - роликовый, радиальный сферический, двухрядный. Он установлен в чугунном корпусе с крышкой и закреплен на валу втулкой и гайкой со стопорной шайбой. Нижний подшипник - шариковый, радиальный, сферический, двухрядный. Он расположен на закрепленной втулке стальном корпусе с крышкой.

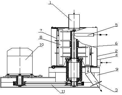
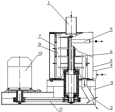
Рисунок 2.3 - Вертикальная обоечная машина РЗ - БМО - 6

- впускной патрубок; 2 - корпус; 3 - выпускной патрубок; 4 - патрубок забора воздуха; 5 - аспирационный патрубок; 6 - вал; 7 - ситовой цилиндр; 8 - бичевой ротор; 9 - станина; 10 - электродвигатель; 11 - клиноременная передача


2.4 Выбор оптимальной машины

По удельным показателям строим гистограммы, чтобы наглядно выявить наилучшую марку обоечной машины. Данные удельных показателей заносим в таблицу 2.1

Строка 5 Техническая производительность, т/ч

Wт = Wп*τ (1)

где, Wп - паспортная производительность, т/ч;τ = 0,8.

Строка 6 Удельная материалоемкость, кг*ч/т

Муд = М/Wт, (2)

где, М - масса, кг.

где, N - установленная мощность, кВт

Строка 7 Удельная энергоемкость, кВт*ч/т

N уд = N/Wт, (3)

Строка 8 Габаритность

Г = L*B*H/Wт, (4)

где, Г - габаритность;

L - длина;

B - ширина;

H - высота.

Таблица 2.1 - Сравнительная характеристика обоечных машин

Технические данные критерии оценки

Марка машины


РЗ - БГО - 6

РЗ - БМО - 6

ЗНМ - 5

1.Производительность, т/ч

6

6..9

5

2.Установленная мощность, кВт

11

5,5

5

3.Габаритные размеры, м

1,403* 0,878* 2,943

1,505* 1,075* 1,850

2,130* 1,095* 2,185

4.Масса, кг.

865

406

1820

5.Техническая производительность т/ч

4,8

6

4

6.Удельная материалоемкость, кг*ч/т

180,2

67,7

455,0

7.Удельная энергоемкость, кВт*ч/т

2,3

0,9

1,3

8.Габаритность, м3ч/т

0,5

0,5

1,3

Строим гистограммы по удельным показателям выбранных аппаратов

Рисунок 2.4 - Гистограмма удельной материалоемкости аппаратов

Рисунок 2.5 - Гистограмма удельной энергоемкости аппаратов

Рисунок 2.6 - Гистограмма габаритности аппаратов

Из данной гистограммы видно, что наибольшим количеством положительных показателей обладает обоечная машина РЗ-БМО-6 ( самая низкая энергоёмкость и материалоёмкость), а наибольшим количеством отрицательных - ЗНМ-5 (самая высокая энергоёмкость и габаритность).

3. Описание выбранной машины с внесенными изменениями

.1 Назначение и область применения

Обоечная машина Р3-БМО-6 применяется в мукомольном, крупяном и комбикормовом производствах, работающих на комплектном оборудовании, для сухой очистки поверхности зерна, частичного отделения плодовых оболочек и зародыша, а также для шелушения овса и ячменя.

.2 Принцип действия

Зерно поступает внутрь машины через приёмный патрубок 1 и под действием центробежных сил инерции, возникающих при вращении вала 6, поступает на внутреннюю поверхность комбинированного сетчатого цилиндра 7, по которой скользит, описывая спиральную траекторию, постепенно приближаясь к выходному патрубку 3 в нижней части машины. При этом зерно, попадая в клиновидные зазоры, испытывает многократные истирающие переменные воздействия, приводящие к отслоению оболочки, далее за счёт трения о сетчатый цилиндр и между собой в рабочем зазоре происходит интенсивное шелушение зерновок. Мелкие частицы образующиеся в процессе шелушения зерна, проходят через отверстия сетчатого цилиндра и вместе с воздухом отсасываются из машины через отводящий патрубок. Ошелушенное зерно выходит из машины через выходной патрубок. Технологический процесс в вертикальных обоечных машинах происходит следующим образом. Зерно поступает в приемное устройство и, пройдя магнитную защиту, распределяется в кольцевом зазоре между бичами и сетчатым цилиндром, где подвергается многократному удару и трению о бичи и ситовой цилиндр, в результате чего его поверхность очищается, частично отделяются оболочки и зародыш.

Рисунок 3.1- Функциональная схема обоечной машины

- патрубок забора воздуха; 5 - аспирационный патрубок; 6 - вал;

- ситовой цилиндр; 8 - бичи; 9 - станина; 10 - электродвигатель;

- клиноременная передача

Одновременно зерно продвигается и выводится из машины. Проход ситового цилиндра, отходы, выводятся раздельно через выпускные патрубки.

Для обеспечения правильного режима обработки зерна в обоечной машине необходимо проводить регулировочные работы, установление магнитов перед обоечной машиной, во избежание образования искры, от случайного попадания в машину крупных металлических предметов. В процессе работы обязательно проверяется качество зерна и отходов, выходящих из машины. В случае увеличения сечки заменяют бичи, в следствии износа их кромки. При попадании годных зерен в отходы регулируют скорость воздуха. Следует постоянно следить за наличием смазки в подшипниковых опорах бичевого вала, не допуская их перегрева. Периодически, через каждые 320 часов работы, но не реже одного раза в 6 месяцев необходимо заменять смазку в подшипниках. Перед началом работы следует запустить машину на холостой ход и убедиться в отсутствии шумовых вибраций. Во избежание завалов следует очистить машину перед подготовкой к работе от остаточного зерна [4].

.3 Усовершенствование машины

Целью усовершенствования является повышение эффективности работы обоечной машины.

Цель достигается следующим образом: ситовой цилиндр устанавливается в специально изготовленный корпус к которому крепиться вал, на котором нарезаны зубья входящие в зацепление с зубчатым колесом установленным на валу бичевого ротора.

Технический результат достигается тем, что ситовой цилиндр, будет вращаться в противоположную сторону от бичевого ротора, тем самым увеличивая ударное воздействие на зерновой материал.

Такое техническое решение позволит увеличить производительность машины и качество обработки зерна.

4. Прочностные расчеты

очистка зерно обоечный машина

4.1 Расчет призматической шпонки

Материал для шпонки берем сталь 30 так как вал состоит из материала сталь 45. [σсм] = 45 Н/мм2


где Т -вращающий момент на валу, Н м; d - диаметр вала, мм; h - высота шпонки, мм; t1 - глубина паза вала, мм; l - длина шпонки, мм; в - ширина шпонки, мм.

Выбираем необходимые параметры; электродвигатель 4А100S3У3

Nдв = 6кВт, nдв = 1140 об/мин, мм, t1 = 5мм, l = 70мм, [30].


Таким образом, условие выполняется .

.2 Расчет подшипников

Берем подшипник № 7217А d = 85 мм, D = 190 мм, С = 83200 Н. так как диаметр вала равен 85 мм (чертеж).

Ресурс подшипника в млн.об

где С - динамическая грузоподъемность, Н; Рэкв - эквивалентная нагрузка, Н;

Р = 3 - роликовый конический подшипник;

;(8)

где v - коэффициент вращения (v = 1, так как вращается внутреннее кольцо); Кб - коэффициент безопасности (Кб = 1,5); КТ - температурный коэффициент (КТ = 1); так как осевая нагрузка отсутствует то x = 1, y = 0.

Эквивалентна нагрузка равна:

;


Ресурс подшипника в чачах.


где n - частота вращения (n = 1140 об/мин)

Ресурс подшипника высокий. [30]

.3 Расчет клиноременной передачи

Частота вращения меньшего шкива, об/мин

1 = nc(1-s) (10)

где s - скольжение (s = 0.051); nc - частота вращения вала, об/мин;

n1 = 1140 (1 - 0,051) = 1081,8 об/мин

Вращающий момент на ведущем валу, Н м;

Т1 = ;(11)

где Р - мощность двигателя кВт; n1 - частота вращения меньшего шкива, об/мин.

Т1 = ;

Диаметр меньшего шкива, мм


Принимаем d1 = 235мм; по ГОСТ 17383 - 73

Диаметр большого шкива, мм


где i - передаточное отношение; ε - коэффициент для клиноременной передачи с регулированием натяжения ремня ε = 0,01


Принимаем d2 = 350мм; по ГОСТ 17383 - 73

Передаточное отношение (уточненное).

; (14)

Отклонение %;(15)

допускается 3%.

Межосевое расстояние, мм

а = 2 (d1+ d2) = 2 (235+350) = 1170 мм;(16)

Угол обхвата малого шкива.

°;(17)

Длина ремня, мм

 = 2 а + 0,5 π (d1+ d2) + (d2 - d1)2/4 а = 2 1170 + 0,5 3,14 (235+350) + (350-235)2/ 4 1170 = 3261 мм;(18)

Принимаем L = 3300 мм по ГОСТ 1284.1 - 80

Скорость ремня, м/с


Р0 - номинальная мощность передаваемая одним ремнем (1,33 кВт); СL - коэффициент для клиноременной передачи по ГОСТ 1284.3 - 80 равный 1,13; СР - коэффициент для клиноременных передач от двигателей переменного тока общепромышленного пользования СР = 1,2; Сα - коэффициент угла обхвата, Сα = 0,95; СZ - коэффициент учитывающий число ремней, СZ - 3. Число ремней.


Рабочий ресурс передачи, ч

 (21)

где Nоц - базовое число циклов для среднего режима, Nоц = 4,7 106; σ-1 - предел выносливости, σ-1 = 2,6 МПа; σMax - максимальное напряжение в сечении ремня, σMax - 4,5 МПа; Сi - коэффициент учитывающий влияние передаточного отношения, Сi = 0,95; СZ - коэффициент, учитывающий периодическое изменение от нуля до номинального значения, СН = 1.


Для среднего режима ресурс ремня должен составлять не менее 2000 ч, т.е. это значение нас удовлетворяет [30].

.4 Расчет вала на выносливость

Вал выполнен из материала сталь 45 ;

- предел прочности материала.

S - запас выносливости вала.

;(22)

δ - запас выносливости по напряжению изгиба;

Sτ - запас выносливости по касательным напряжениям;

;(23)

;(24)

δ-1 и τ-1 - предел выносливости материала; δа и τа - амплитуда циклов напряжения при изгибе и при кручении; δm и τm - средние значение; Кδ и Кτ - табличное значение функция от посадки, концентратора напряжения; Кd - масштабный фактор; Ψ - коэффициент характеризующий механические свойства материала; КF - коэффициент учитывающий качество поверхности;

(25)

;

(26)

;

 

Посадка шкива на призматическую шпонку.

Кδ = 3,6; Кτ = 2,5; ψδ = 0,16;

Кd = 0,65; КF = 1; ψτ = 0,1;

;

;

;

Таким образом условие по запасу выносливости выполняется .

.5 Расчет производительности

, (27)

Где D - диаметр цилиндра, мм;

K - коэффициент, учитывающий размеры поверхности цилиндра (К=0,8…0,9); L - длина рабочей части цилиндра, мм; q - удельная зерновая нагрузка, т/ч*м.

По формуле (27) рассчитываем:


4.6 Расчет потребляемой мощности

N=Q*n, (28)

Где Q - производительность, кг/ч;

n - удельный расход электроэнергии, кВт*ч/т.

По формуле (28) рассчитываем:

 [24].

Заключение

В проделанной нами курсовой работе был рассмотрен процесс поверхностной обработки зерна. Поставленная перед нами задача по повышению качества выпускаемой продукции, а также разработка и внедрение ресурсо и энергосберегающих технологий была выполнена.

Цель достигнута следующим образом: ситовой цилиндр устанавливается в специально изготовленный корпус к которому крепиться вал-шестерня который входит в зацепление с зубчатым колесом установленым на вал бичевого ротора.

Машина РЗ - БМО - 6 из всех нами рассмотренных машин наиболее эффективна и значительно превосходит своих оппонентов по таким показателям как энергоемкость и материалоёмкость.

Литература

1.     Акопян В.Б. Машиностроение. Энциклопедия Т. VI машины и оборудование пищевой и перерабатывающей промышленности. - М.: Машиностроение 2003 г. 736 с.

2.      Андреев В.А. Справочник по монтажу оборудования элеваторов, зерноперерабатывающих и комбикормовых заводов. - М.: "Колос" 1989 г. 220 с.: ил.

.        Анурьев В.И. Справочник конструктора-машиностроителя. - М.: Машиностроение, 1988 г. 920 с.

.        Борискин А.М., Демский А.Б. Справочник по оборудованию зерноперерабатывающих предприятий. Изд. 2 - е, и перераб и доп. - М.: Колос. 1991 г. - 383 с.

.        Боуманс Г.В. Эффективная обработка и хранение зерна. - М.: Агропромиздат, 1991 г. 608 с.

.        Бутковский В.А. Мукомольное производство (изд. 2-е доп. перераб.) - М.: Колос 1983 г.150 с.

.        Бутковский В.А., Мерко А.Н. Технология зерноперерабатывающих производств. - М.: Колос 1999 г. 351 с.

.        Бутковский В.А., Птушкина Т.Е. Технологической оборудование мукомольного производства. Под ред. В.А. Бутковского. - М. ГП "Журнал хлебопродукты", 1999 г. 208 с.: ил. (Учебное пособие).

.        Вобликов Е.М. Зернохранилища и технология элеваторной промышленности: Учебное пособие. - СПб.: Издательство "Лань" 2005 г. - 208 с.: ил. (Учебник для вузов. Специальная литература).

.        Вобликов Е.М. Технология элеваторной промышленности. Учебное пособия. - Ростов и /Д издательский центр. "Смарт", 2001 г. 192 с.

.        Галицкий Р.Р. Оборудование зерноперерабатывающих предприятий. - М.: Агропромиздат. 1990 г. 319 с.

.        Гинсбург М.Е., Егоров Г.А. Практикум по технологии мукомольного крупяного и комбинированного производства. Под ред. Г. А. Егорова. Изд - во "Агропромиздат" 1994 г. 380 с.

.        Демский А.Б. Комплектные перерабатывающие установки малой мощности. - М.: ДеЛи. 2004 г. 264 с.

.        Журавлев В.Ф., Соколов А.Я. Технологическое оборудование предприятий по хранению и переработки зерна. - М.: Колос 1984 г. 451 с.

.        Камышкин Л. Н. Исследования зерна при хранении в металлическом зернохранилище. // Мукомольно-элеваторные и комбинированной промышленности. - М.: Высш. шк., 1987 г. 608 с.

.        Куприца Я. Н. Технология мукомольного производства. Под ред. проф. Куприца Я. Н. - М.: Лань 1986 г. 468 с.

.        Кулак В. Г., Максимчук Б.М. Мукомольные заводы на комплектном оборудовании. - М.: Колос 1984 г. 220 с.

.        Курочкин А.А., Шабулова Г.В. Оборудовании и автоматизация перерабатывающих производств. - М.: Колос 2007 г. 591 с. ил.

.        Лобанов В.И. Процессы и аппараты: Методические указания к выполнению курсовой работы для студентов ИТАИ по специальности "Механизация переработки сельскохозяйственной продукции". - Барнаул: Изд-во АГАУ, 2003 г. 52 с.

.        Лукин О.Г. Курсовое и дипломное проектирование технологического оборудования пищевых производств. - М.: Агропромиздат 1990 г. 269 с. ил.

.        Мельник Б.Е. Элеваторы и зерноперерабатывающие предприятия. - М.: Агропромиздат 1985 г. 368 с., ил. - (Учебники и учеб. пособия для технических техникумов, системы заготовок ).

.        Остриков А. Н., Антипов А.Н. и др. Машины и аппараты пищевых производств. В 2-х кн. 1 кн.: Учеб. для вузов. Под ред. Академика РАСХН В.А. Острикова и др. - М.: Высш. шк., 2001. 703 с.: ил.

.        Остриков А. Н., Абрамов О.В. Расчет и конструирование машин и аппаратов пищевых производств. Учебник для вузов. - СПб.: ГИОРД, 2004 г. 352 с.

.        Панфилов В.А. Машины и аппараты пищевых производств. В 2-х кн. -М.: Высшая школа. 2001 г. 1384 с.

.        Птушкина Т.Е. Технологическое оборудование мукомольного производства. - М. - ГП. Агропромиздат 1998 г. 210 с.

.        Птушкина Т.Е. Высопроизводительное оборудование мукомольных заводов. - М.: ВО Агропромиздат 1988 г. 541 с. ил.

.        Резников В.А., Бровенко В.П. и др. Режимы работы аэробежелабов закрытого типа. // Мукомольно - элеваторные и комбикормовой промышленности. - М.: Лань 1986 г. 510 с.

.        Соколов А. Я. Технологическое оборудование предприятий по хранению и переработке зерна. Изд. 3 - е перераб. и дополненное изд. -М.: Колос 1987 г. 518 с. очистка зерно обоечный машина

.        Чернилов Л.О. Оборудование элеваторов. Складов и зерноперабатывающих предприятий. (Оборудование элеваторов и складов). Изд. 2-е перараб. и доп. -М.: Колос 1992 г. 264 с. ил.