Материал: Процесс измельчения пищевого сырья

Внимание! Если размещение файла нарушает Ваши авторские права, то обязательно сообщите нам

Процесс измельчения пищевого сырья

Введение

Механическое оборудование применяется как для первичной обработки продукции (мытье и очистка сырья) и основных технологических процессов (измельчение, перемешивание и др.), так и для вспомогательных операций по транспортированию, взвешиванию и расчетам с клиентами.

Спрос на механическое оборудование постоянно растёт за счёт открытия новых предприятий общественного питания.

На современном этапе общественное питание будет занимать преобладающее место по сравнению с питанием в домашних условиях. В связи с этим возникает необходимость дальнейшей механизации и автоматизации производственных процессов, как основного фактора роста производительности труда. Отечественная промышленность создает большое количество различных машин для нужд предприятий общественного питания. Ежегодно осваиваются и внедряются новые, более современные машины и оборудование, в том числе зарубежного производства, обеспечивающие механизацию и автоматизацию трудоемких процессов.

Измельчительное оборудование широко используется на предприятиях пищевой промышленности. Измельчительное оборудование предназначено для уменьшения размеров исходных продуктов до заданных технологическим процессом размеров [1].

Применение современного измельчительного оборудования позволяет повысить производительность труда, сократить затраты и облегчить труд работников предприятий массового питания, улучшить качество изделий и сократить время обслуживания клиентов. Экономическая эффективность - непременное условие применения новой техники. Это является подтверждением актуальности курсовой работы.

Для того чтобы в процессе работы оборудование обеспечивало высокое качество выпускаемой продукции, необходимую производительность, минимальные потери сырья и расход электроэнергии при высоком уровне надежности и безопасности, следует знать его конструктивные особенности, режимные и технические характеристики, принципы работы системы управления, а также общие правила его эксплуатации.

Цель курсовой работы: изучить процесс измельчения, классификацию измельчительного оборудования, их конструктивные особенности, технические характеристики, принципы работы, правила эксплуатации, способы расчета технологического оборудования.

Задача - изучить современные размолочные машины (машины для размола кофе), их характеристики, конструктивные особенности и сравнить с существующим стандартным размолочным оборудованием.

технологический измельчение оборудование

1. Измельчительное оборудование

.1 Основные положения теории измельчения твердых тел

Процесс уменьшения размеров исходного продукта до заданных размеров конечного продукта называют измельчением. Различают два вида измельчения:

дробление, при котором измельченный материал не имеет определенной формы;

резание, когда одновременно с уменьшением размера частицам придается определенная форма.

Измельчение пищевых продуктов широко применяют на предприятиях общественного питания при приготовлении панировочных сухарей, сахарной пудры, молотых специй, дробленых орехов, пюреобразных продуктов из вареных овощей, фруктов, творога; при нарезке овощей, мяса, хлеба, сыра, колбасы, ветчины, масла сливочного и других продуктов. При этом большая часть продуктов имеет структуру, легко поддающуюся деформации, и обладает значительной влажностью (плоды, овощи, фрукты, мясо, рыба, колбасные изделия, сыр, хлеб); небольшая часть имеет хрупкую структуру (высушенные зерна кофе, специй, сухари, соль, сахар и др.).

Разнообразие пищевых продуктов требует и различных способов их измельчения.

При выборе способа измельчения первостепенное значение приобретают такие свойства продукта, как упругость, вязкость, пластичность. Под упругостью понимается свойство продукта восстанавливать свои форму и размеры после прекращения воздействия на него внешней нагрузки, под влиянием которой они были изменены. Это свойство характеризуется модулем упругости. Исходя из этого все продукты, подвергаемые измельчению, не могут рассматриваться как упругие. Наличие у них таких явлений, как релаксация (падение напряжения при неизменной деформации) и ползучесть (рост деформации при постоянных нагрузках), позволяет отнести эти продукты к упругопластичным и вязкопластичным телам [1].

Кроме перечисленных свойств продуктов на процесс их измельчения влияют следующие физико-механические параметры: коэффициент Пуассона мп, коэффициент трения продукта f, разрушающее контактное напряжение укр.

В зависимости от характера действующих сил различают

измельчение раздавливанием - разрушением при сжатии;

измельчение разрыванием - разрушением при растяжении;

измельчение разламыванием - разрушением при изгибе;

измельчение скручиванием - разрушением при кручении;

измельчение истиранием - разрушением при сдвиге;

измельчение резанием - разрушением при сжатии и сдвиге.

Тот или иной способ измельчения применяется в зависимости от цели, которая преследуется операцией, т.е. от вида продукта после его обработки.

На практике применяют, как правило, одновременно несколько способов измельчения: раздавливанием и истиранием, разламыванием и скручиванием, истиранием и резанием и т.д. Условно различают следующие размерные классы измельчения продуктов:

крупный: диаметр кусков продукта после измельчения 250 - 40 мм;

средний: 40 - 10 мм;

мелкий: 10 - 1 мм;

тонкий: 1 - 0,1 мм;

коллоидный: до 0,001 мм.

Процесс измельчения характеризуется степенью измельчения (i*)

i*=D / d, (1)


где D, d - средний размер кусков материала соответственно до и после измельчения.

Затраты энергии на измельчение зависят от физико-механических свойств продукта, особенностей технологического процесса, степени, условий и способа измельчения.

При грубом дроблении согласно закону Кирпичева - Кика работа пропорциональна объему V исходного материала (продукта) и рассчитывается по формуле, Н · м

A = KV = у2p · V / 2 · E, (2)

где К - коэффициент, численно равный работе, затрачиваемой на измельчение единицы объема, Н/м2;

у2p - напряжение, при котором происходит разрушение материала (продукта), Па;

Е - модуль упругости материала, Па.

При тонком измельчении согласно закону Риттингера работа на измельчение пропорциональна приращению поверхности измельчаемого материала (продукта), и ее можно определить по формуле, Н · м

А =KR · ДS, (3)

где KR - коэффициент, численно равный работе, затрачиваемой на приращение единицы новой поверхности, Н/м;

ДS - приращение поверхности измельчаемого материала, м2.

Поскольку закон Кирпичева-Кика учитывает работу, затрачиваемую на преодоление упругих деформаций разрушаемых кусков, и справедлив для крупного дробления, а закон Риттингера учитывает работу на приращение новой поверхности измельчаемого материала и справедлив для тонкого измельчения, то, объединив эти два закона, П.А. Ребиндер предложил обобщенный закон измельчения. В обобщенном законе учтена также работа затрачиваемая на разрушение рабочих органов измельчителя. Обобщенный закон П.А. Ребиндера записывается как, Н · м

A = A* + my · у²p · V / 2 · E + KR ·ДS · б, (4)

где А* - работа, затрачиваемая на разрушение рабочих органов измельчителя, Н · м;y - число циклов деформаций, обеспечивающих начало процесса дробления;

б - коэффициент, учитывающий степень и условия измельчения.

1.2 Классификация измельчительного оборудования

технологический измельчение оборудование

Все применяемое на предприятиях общественного питания измельчительное оборудование можно классифицировать по следующим основным признакам:

по функциональному назначению:

для измельчения твердых пищевых продуктов (размолочные машины и механизмы);

для измельчения мягких пищевых продуктов (протирочные машины и механизмы);

для резания пищевых продуктов (овощерезательные машины, мясорубки, мясорыхлители, хлеборезки, машины резки гастрономических товаров и др.);

по структуре рабочего цикла - периодического и непрерывного действия;

по расположению рабочих органов - вертикальное и горизонтальное;

по виду привода - с индивидуальным приводом и в качестве сменных механизмов [2].

1.3    Основные требования, предъявляемые к измельчительному оборудованию

Общие требования, которым должна удовлетворять любая измельчительная машина (механизм), следующие:

получение качественно измельченного продукта (измельченные на размолочных машинах твердые продукты должны иметь одинаковую степень измельчения без крупных кусочков;

протертые на протирочных машинах продукты должны представлять собой однородную мелкозернистую массу, без комочков;

измельченные на режущем оборудовании частицы должны иметь заданную форму, размеры и гладкую поверхность среза);

возможность быстрого и легкого изменения степени измельчения;

износостойкость рабочих органов, не допускающая попадания кусочков металла в измельчаемый продукт;

отсутствие излишнего измельчения (перерасхода электроэнергии и ухудшение качества готового продукта);

возможность немедленного удаления измельченного продукта из рабочей камеры;

возможность быстрой и легкой замены изношенных рабочих органов и других частей;



2. Размолочные машины и механизмы

К этой группе машин и механизмов относятся размолочные механизмы МДП-II-1, МИП-II-1, МС12-15, кофемолка МИК-60 и механизм для размола кофе МКК-120. Диаметр полученных частиц продукта составляет 0,2 - 0,3 мм.

2.1 Механизм МДП-II-1 для дробления орехов и растирания мака

Механизм МДП-II-1 для дробления орехов и растирания мака. Механизм (рис. 1) приводится в действие универсальным приводом П-II и состоит из корпуса, загрузочного бункера, редуктора и рабочих валков. Корпус выполнен в виде двух щек, соединенных между собой стяжками. В щеках запрессованы втулки, выполняющие роль подшипников скольжения для питательного валика и гладкого размолочного валка. Здесь же закреплены направляющие, по которым при вращении рукояток перемещаются ползуны. Во втулке правого ползуна расположена цилиндрическая часть колеса с отверстием и шпоночным пазом [3].


Рисунок 1 - Механизм МДП-II-1 для дробления орехов и растирания мака

- загрузочный бункер; 2 - корпус; 3 - редуктор; 4 - размолочный валок; 5 - хвостовик; 6 - щека; 7 - стяжка; 8 - питательный валик; 9 - шибер; 10 - скребок.

Для предохранения шпоночного валика от осевого смещения предусмотрен подпружиненный фиксатор. В бункере установлен шибер, регулирующий ширину щели, через которую продукт подается к размолочным валкам и питательному валику. Левая щека имеет хвостовик для подсоединения к приводу.

Принцип действия. Вращение от вала привода передается непосредственно гладкому размолочному валку, а от иего через шестерни - сменному размолочному валку и питательному валику.

Вращаясь навстречу друг другу с различной скоростью, валки измельчают продукт путем сжатия и сдвига.

2.2 Механизм МИП-II-1 для измельчения сухарей и специй

Механизм (рис. 2) приводится в действие универсальным приводом П-II и состоит из размещенных в корпусе терочного диска и барабана. Терочный диск соединен со шнеком, закрепленным на горизонтальном валу. Вал с хвостовиком установлен в двух конических роликоподшипниках, расположенных в крышке корпуса. С наружной и внутренней сторон вал уплотнен манжетами. С внутренней стороны на нем укреплено кольцо с войлочным уплотнителем. Между манжетами и подшипниками установлены упорные шайбы. Конец вала выполнен в виде шипа для соединения с валом привода [3].

Рисунок 2 - Механизм МИП-II-1 для измельчения сухарей и специй

- терочный диск; 2 - подшипник; 3 - манжета; 4 - кольцо с войлочным уплотнением; 5 - барабан; 6 - толкатель; 7 - накидная гайка; 8 - регулировочная гайка; 9 - шнек; 10 - корпус; 11 - вал

Принцип действия. Движение рабочим органам передается от универсального привода. Продукт через загрузочную воронку подается к шнеку, который предварительно измельчает его и продвигает к терочному диску. Окончательное измельчение продукта происходит между терочным диском и барабаном. Регулирование величины помола производится специальной гайкой, которая фиксируется в нужном положении накидной гайкой. При вращении регулировочной гайки терочный барабан перемещается вдоль оси вала по направляющему винту, при этом зазор между барабаном и терочным диском уменьшается или увеличивается. Минимальный зазор между диском и барабаном составляет 0,2 мм. Направление вращения гайки для получения требуемой величины помола указывается на ее торце стрелками с надписями «Крупно» и «Мелко».

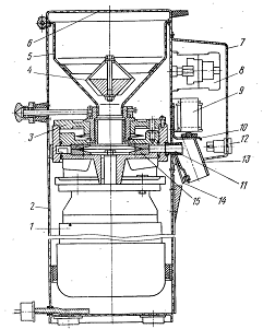
2.3 Машина МИК-60 для размола кофе

Машина (рис. 3) состоит из прямоугольного корпуса, электродвигателя и двух размолочных жерновов - вращающегося       и неподвижного [4].

Электродвигатель установлен внутри корпуса на четырех амортизаторах. На конце вала электродвигателя укреплен подвижный диск с вращающимся жерновом. К верхнему торцу корпуса рабочей камеры крепится съемная крышка с неподвижным жерновом и механизмом регулирования зазора, Механизм регулирования состоит из рукоятки, кольца с внутренними зубьями, резьбовой втулки с диском и наружными зубьями и фланца с резьбовым хвостовиком, к которому крепится неподвижный жернов. Резьбовая втулка закреплена в осевом направлении стопорным кольцом через демпферные пружины, которые должны срабатывать при попадании между жерновами посторонних твердых предметов и смягчать тем самым ударные нагрузки. При повороте - рукоятки получает вращение через зубчатое зацепление резьбовая втулка, которая заставляет перемещаться фланец в осевом направлении относительно крышки по направляющим штырям, изменяя при этом зазор между жерновами.

В верхней части корпуса находится загрузочный бункер, в горловине которого установлен постоянный магнит для улавливания металлических включений. Разгрузочная труба снабжена электровибратором. К трубе прижата планка зажима пакета, в который ссыпается измельченный кофе. Сверху машина закрывается откидной крышкой.

Принцип действия. Вращение от электродвигателя передается вращающемуся жернову. Зерна из загрузочного бункера самотеком попадают в пространство между жерновами, измельчаются и в виде порошка поступают в нижний резервуар.

Рисунок 3 - Машина МИК-60 для размола кофе

- электродвигатель; 2 - корпус; 3 - механизм регулировки; 4 - магнитная ловушка; 5 - бункер; 6 - крышка; 7 - кожух; 8 - магнитный пускатель; 9 - вибратор; 10 - амортизатор; 11 - трубка; 12 - кнопка; 13 - трубка выгрузки; 14 - планка прижима пакета; 15 - жернов