Практична робота №9
Тема: «Таблиці маршрутизації за протоколом RIP»
Мета роботи: дослідити структуру маршрутної таблиці, що утворена протоколом Routing Information Protocol. Отримати практичні навички власноручної побудови маршрутної таблиці для локальної мережі невеликого розміру. Створити маршрутні таблиці для кожного з маршрутизаторів локальної мережі, наведеної в додатку.
Теоретична частина
Таблиця маршрутизації
Таблиця маршрутизації - електронна таблиця (файл) або база даних, що зберігається на маршрутизаторі або мережевому комп'ютері, і описує відповідність між адресами призначення та інтерфейсами, через які слід відправити пакет даних до наступного маршрутизатора. Є найпростішою формою правил маршрутизації.
Таблиця маршрутизації зазвичай містить:
адресу мережі або вузла призначення, або вказівку, що маршрут є маршрутом по замовчуванням;
маску мережі призначення (для IPv4 - мереж маска / 32 (255.255.255.255) дозволяє вказати одиничний вузол мережі);
шлюз, що позначає адресу маршрутизатора в мережі, на який необхідно відправити пакет, наступний до вказаної адреси призначення;
інтерфейс (залежно від системи, це може бути порядковий номер, GUID або символьне ім'я пристрою);
метрику - числовий показник, що задає перевагу маршруту. Чим менше число, тим кращий маршрут (інтуїтивно представляється як відстань).
У таблиці може бути один, а в деяких операційних системах і кілька шлюзів за замовчуванням. Такий шлюз використовується в мережах, для яких немає більш конкретних маршрутів в таблиці маршрутизації.
|
Interface List 0x1........................... MS TCP Loopback interface 0x2...00 14 2a 8b a1 b5...... NVIDIA nForce Networking Controller 0x3...00 50 56 c0 00 01...... VMware Virtual Ethernet Adapter for VMnet1 0xd0005...00 53 45 00 00 00...... WAN (PPP/SLIP) Interface |
||||
|
Active Routes: |
|
|||
|
Network Destination |
Netmask |
Gateway |
Interface |
Metric |
|
0.0.0.0 |
0.0.0.0 |
89.223.67.129 |
89.223.67.131 |
20 |
|
60.48.85.155 |
255.255.255.255 |
89.223.67.129 |
89.223.67.131 |
20 |
|
60.48.105.1 |
255.255.255.255 |
89.223.67.129 |
89.223.67.131 |
20 |
|
60.48.172.103 |
255.255.255.255 |
89.223.67.129 |
89.223.67.131 |
20 |
|
60.48.203.116 |
255.255.255.255 |
89.223.67.129 |
89.223.67.131 |
20 |
|
60.49.71.132 |
255.255.255.255 |
89.223.67.129 |
89.223.67.131 |
20 |
|
66.36.138.228 |
255.255.255.255 |
89.223.67.129 |
89.223.67.131 |
20 |
|
66.36.152.228 |
255.255.255.255 |
89.223.67.129 |
89.223.67.131 |
20 |
|
74.108.102.130 |
255.255.255.255 |
89.223.67.129 |
89.223.67.131 |
20 |
|
89.223.67.128 |
255.255.255.192 |
89.223.67.131 |
89.223.67.131 |
20 |
|
89.223.67.131 |
255.255.255.255 |
127.0.0.1 |
127.0.0.1 |
20 |
|
89.255.255.255 |
255.255.255.255 |
89.223.67.131 |
89.223.67.131 |
20 |
|
127.0.0.0 |
255.0.0.0 |
127.0.0.1 |
127.0.0.1 |
1 |
|
164.77.239.153 |
255.255.255.255 |
89.223.67.129 |
89.223.67.131 |
20 |
|
192.168.23.0 |
255.255.255.0 |
192.168.23.1 |
192.168.23.1 |
20 |
|
192.168.23.1 |
255.255.255.255 |
127.0.0.1 |
127.0.0.1 |
20 |
|
192.168.23.255 |
255.255.255.255 |
192.168.23.1 |
192.168.23.1 |
20 |
|
192.168.192.0 |
255.255.255.0 |
192.168.192.251 |
192.168.192.251 |
1 |
|
192.168.192.251 |
255.255.255.255 |
127.0.0.1 |
127.0.0.1 |
50 |
|
192.168.192.255 |
255.255.255.255 |
192.168.192.251 |
192.168.192.251 |
50 |
|
212.113.96.250 |
255.255.255.255 |
89.223.67.129 |
89.223.67.131 |
20 |
|
219.95.153.243 |
255.255.255.255 |
89.223.67.129 |
89.223.67.131 |
20 |
|
224.0.0.0 |
240.0.0.0 |
89.223.67.131 |
89.223.67.131 |
20 |
|
224.0.0.0 |
240.0.0.0 |
192.168.23.1 |
192.168.23.1 |
20 |
|
224.0.0.0 |
240.0.0.0 |
192.168.192.251 |
192.168.192.251 |
50 |
|
255.255.255.255 |
255.255.255.255 |
89.223.67.131 |
89.223.67.131 |
1 |
|
255.255.255.255 |
255.255.255.255 |
192.168.23.1 |
192.168.23.1 |
1 |
|
255.255.255.255 |
255.255.255.255 |
192.168.192.251 |
192.168.192.251 |
1 |
|
|
|
|
|
|
|
Default Gateway: |
89.223.67.129 |
|||
Типи записів в таблиці маршрутизації:
маршрут до мережі
маршрут до комп'ютера
маршрут за замовчуванням
Протокол RIP (протокол маршрутної інформації) є внутрішнім протоколом маршрутизації дистанційно-векторного типу, він являє собою один з найбільш ранніх протоколів обміну маршрутною інформацією і досі надзвичайно поширений в обчислювальних мережах зважаючи на простоту реалізації. Крім версії RIP для мереж TCP / IP існує також версія RIP для мереж IPX / SPX компанії Novell.
Для IP є дві версії протоколу RIP: перша і друга. Протокол RIPvl не підтримує масок, тобто він поширює між маршрутизаторами тільки інформацію про номери мереж і відстані до них, а інформацію про маски цих мереж не поширює, вважаючи, що всі адреси належать до стандартних класів А, В або С. Протокол RIPv2 передає інформацію про маски мереж, тому він більшою мірою відповідає вимогам сьогодення. Так як при побудові таблиць маршрутизації робота версії 2 принципово не відрізняється від версії 1, то надалі для спрощення записів буде описуватися робота першої версії.
Як відстань до мережі стандарти протоколу RIP допускають різні види метрик:
хопи,
метрики, що враховують пропускну здатність,
затримки, що вносяться і надійність мереж
(тобто відповідні ознаками D, Т і R в поле «Якість сервісу» IP- пакета),
а також будь-які комбінації цих метрик.
Метрика повинна мати властивість адитивності - метрика складового шляху повинна дорівнювати сумі метрик складових цього шляху. У більшості реалізації RIP використовується найпростіша метрика - кількість хопів, тобто кількість проміжних маршрутизаторів, які потрібно подолати пакету до мережі призначення.
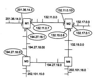
Розглянемо процес побудови таблиці маршрутизації за допомогою протоколу RIP на прикладі складеної мережі, зображеної на рис. 1.

Рис. 1. Мережа, об'єднана RIP- маршрутизаторами
У цій мережі є вісім IP-мереж, пов'язаних чотирма маршрутизаторами з ідентифікаторами: M1, М2, М3 і М4. Маршрутизатори, що працюють по протоколу RIP, можуть мати ідентифікатори, однак для роботи протоколу вони не є необхідними. У RIP-повідомленнях ці ідентифікатори не передаються.
У початковому стані в кожному маршрутизаторі програмним забезпеченням стека TCP / IP автоматично створюється мінімальна таблиця маршрутизації, в якій враховуються тільки безпосередньо приєднані мережі. На малюнку адреси портів маршрутизаторів на відміну від адрес мереж поміщені в овали.
Таблиця 1 дозволяє оцінити приблизний вигляд мінімальної таблиці маршрутизації маршрутизатора М1.
Таблиця 1. Мінімальна таблиця маршрутизації маршрутизатора М1

Мінімальні таблиці маршрутизації в інших маршрутизаторах будуть виглядати відповідно, наприклад, таблиця маршрутизатора М2 складатиметься з трьох записів (табл. 2).
Таблиця 2. Мінімальна таблиця маршрутизації маршрутизатора М2

Після ініціалізації кожного маршрутизатора він починає посилати своїм сусідам повідомлення протоколу RIP, в яких міститься його мінімальна таблиця.
RIP-повідомлення передаються в пакетах протоколу UDP і включають два параметри для кожної мережі: її IP-адресу та відстань до неї від маршрутизатора, що передає повідомлення.
Сусідами є ті маршрутизатори, яким даний маршрутизатор безпосередньо може передати IP- пакет з якої-небудь своєї мережі, не користуючись послугами проміжних маршрутизаторів. Наприклад, для маршрутизатора M1 сусідами є маршрутизатори М2 і М3, а для маршрутизатора М4 - маршрутизатори М2 і М3.
Таким чином, маршрутизатор M1 передає маршрутизатора М2 і М3 наступне повідомлення:
мережа 201.36.14.0, відстань 1 ;
мережа 132.11.0.0, відстань 1 ;
мережа 194.27.18.0, відстань 1.
Після отримання аналогічних повідомлень від маршрутизаторів М2 і М3 маршрутизатор M1 нарощує кожне отримане поле метрики на одиницю і запам'ятовує, через який порт і від якого маршрутизатора отримана нова інформація (адреса цього маршрутизатора буде адресою наступного маршрутизатора, якщо цей запис буде внесено в таблицю маршрутизації). Потім маршрутизатор починає порівнювати нову інформацію з тією, яка зберігається в його таблиці маршрутизації (табл. 3).
Таблиця 3. Таблиця маршрутизації маршрутизатора М1

Записи з четвертої по дев'яту отримані від сусідніх маршрутизаторів, і вони претендують на приєднання до таблиці. Однак тільки записи з четвертого по сьомий потрапляють в таблицю, а записи восьмий і дев'ятий - ні. Це відбувається тому, що вони містять дані про вже наявні в таблиці M1 мережі, а відстань до них гірше, ніж в існуючих записах.
Протокол RIP заміщає запис про будь мережі тільки в тому випадку, якщо нова інформація має кращу метрику (відстань в хопах менше), ніж наявна. У результаті в таблиці маршрутизації про кожну мережу залишається тільки один запис, якщо ж є кілька рівнозначних щодо відстані шляхів до однієї і тієї ж мережі, то все одно в таблиці залишається один запис, яка прийшов в маршрутизатор перший за часом. Для цього правила існує виняток - якщо найгірша інформація про мережу прийшла від того ж маршрутизатора, на підставі повідомлення якого був створений даний запис, то найгірша інформація заміщає кращу.
Аналогічні операції з новою інформацією виконують і інші маршрутизатори мережі.
Етап 4 - розсилка нової, вже не мінімальної, таблиці сусідам
Кожен маршрутизатор відсилає нове RIP- повідомлення всім своїм сусідам. У цьому повідомленні він поміщає дані про всі відомі йому мережі - як безпосередньо підключені, так і віддалені, про які маршрутизатор дізнався з RIP -повідомлень.
Етап 5 - отримання RIP-повідомлень від сусідів і обробка отриманої інформації
Етап 5 повторює етап 3 - маршрутизатори приймають RIP-повідомлення, обробляють їх вміст на його підставі коректують свої таблиці маршрутизації.
Подивимося, як це робить маршрутизатор M1 (табл. 4).
Таблиця 4. Таблиця маршрутизації маршрутизатора М1

На цьому етапі маршрутизатор М1 отримав від маршрутизатора М3 інформацію про мережу 132.15.0.0, яку той в свою чергу на попередньому циклі роботи отримав від маршрутизатора М4. Маршрутизатор вже знає про мережу 132.15.0.0, причому стара інформація має кращу метрику, ніж нова, тому нова інформація про цю мережі відкидається.
Про мережу 202.101.16.0 маршрутизатор М1 дізнається на цьому етапі вперше, причому дані про неї приходять від двох сусідів - від М3 і М4. Оскільки метрики в цих повідомленнях вказані однакові, то в таблицю потрапляють дані, які прийшли першими. У нашому прикладі вважається, що маршрутизатор М2 випередив маршрутизатор М3 і першим переслав своє RIP- повідомлення.
Якщо маршрутизатори періодично повторюють етапи розсилки та обробки RIP-повідомлень, то за кінцевий час в мережі встановиться коректний режим маршрутизації . Під коректним режимом маршрутизації тут розуміється такий стан таблиць маршрутизації, коли всі мережі будуть досяжні з будь-якої мережі за допомогою деякого раціонального маршруту. Пакети будуть доходити до адресатів і не зациклюватися в петлях, подібних тій, яка утворюється на рис. 1, маршрутизаторами М1 -М2 - М3- М4.
Очевидно, якщо в мережі всі маршрутизатори, їх інтерфейси і з'єднуючі їх канали зв'язку постійно працездатні, то оголошення по протоколу RIP можна робити досить рідко, наприклад, один раз на день. Однак у мережах постійно відбуваються зміни - змінюється як працездатність маршрутизаторів і каналів, так і самі маршрутизатори і канали можуть додаватися в існуючу мережу або ж виводитися з її складу.
Для адаптації до змін в мережі протокол RIP використовує ряд механізмів.