Материал: Потери от утечки нефти при трубопроводном транспорте

Внимание! Если размещение файла нарушает Ваши авторские права, то обязательно сообщите нам

Она предназначена для создания герметизирующих тампонов из жестких пенополиуретанов на трубопроводах диаметром до 530 мм включительно.

УВПТ-1 - самоходный агрегат на базе автомобиля ГАЗ-66, оснащенный технологическим оборудованием для доставки компонентов смеси тампона к месту аварии, их дозировки, перемешивания и подачи в трубопровод.

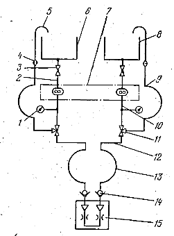
Схема обвязки технологического оборудования приведена на рис. 8.

Рисунок 8 - Гидравлическая схема установки УВПТ-1:

- манометр; 2.5.10, 12 - трубопроводы: 3 - кран пробковый; 4 - фильтр; 6.8 - баки расходные; 7 - дозирующее устройство; 9, 13 - гибкие рукава; 11 - кран трехходовой; 14 - обратный клапан; 15 - смесительное устройство

Для привода дозирующих насосов от раздаточной коробки автомобиля установка снабжена трансмиссией. Это позволяет обеспечить работу оборудования в полевых условиях без подвода энергии извне. Механизм управления и контроля дает возможность выполнять все операции по заливке при помощи рычагов управления, расположенных в задней части кузова автомобиля. Кроме того, агрегат оборудуется системой обогрева и специальным геофизическим кузовом СГК-б для создания необходимых температурных условий и защиты технологического оборудования от атмосферных воздействий.

Установка работает следующим образом. Предварительно изготовленные компоненты по системе трубопроводов закачиваются в баки установки, откуда дозирующими насосами подаются в смесительное устройство, где образуется реакционная смесь, которая вытесняется через предварительно пробитое отверстие в трубопровод. Вспениваясь, смесь образует герметизирующий тампон, перекрывающий трубопровод.

Разрабатываются устройства, запускаемые внутрь трубопровода и герметизирующие его.

В США разработано автоматическое самоходное устройство (рис.9), с помощью которого определяют место повреждения, после чего срабатывает механический элемент устройства, производящий уплотнение зоны утечки впредь до осуществления ремонтных работ 1711. Устройство / пропускается по подземному трубопроводу 16. Для плавного перемещения и центровки оно оснащено роликами 14, которые располагаются по внутреннему периметру трубопровода с интервалом 120°. Прижатие роликов обеспечивается поворотными рычагами 17 и пружинами 15. Перемещается устройство с помощью пропеллерного винта 29, приводимого от двигателя 27. Управление последним осуществляется с помощью регулирующего контура 8. Уплотнительный элемент 10 устройства состоит из мастичной оболочки 7, которая при подаче наполнителя в полость 11 между оболочкой и суженной частью 9 корпуса принимает форму, показанную пунктирными линиями, и тем самым перекрывает зону утечки. Для заполнения полости 11 может быть использована перекачиваемая нефть, подаваемая насосом 26 через трубки 25, 28 и обратный клапан 24. Управление работой насоса осуществляется с помощью импульсного преобразователя 22, включенного в цепь регулирующего контура 8. Освобождение полости 11 производится по трубке 18 через клапан 19 с исполнительным механизмом 13.

Рисунок 9 - Автоматическое самоходное устройство для определения мест утечек из трубопровода

Кроме того, полость 11 может заполняться сжатым газом из баллона 2 по трубке 3 через клапан 4 с исполнительным механизмом 5. Для включения используется переключатель 23, связанный с регулирующим контуром 8. С помощью этого переключателя может попеременно открываться клапан 4 или через провод 6 запускаться насос 26. Для дистанционного управления перемещением устройства в трубе и заполнением полости 11 используется приемник 20 с антенной 21 и наружный передатчик 30. Питание всей арматуры внутри устройства осуществляется от батарейки 12. При снижении давления в трубопроводе вследствие утечки оператор дает команду по радио на включение наполнительных агрегатов. После устранения утечки дается команда на разрядку уплотнительного элемента и дальнейшее передвижение устройства.

Заключение


Общим направлением в снижении потерь нефти и нефтепродуктов является максимальная герметизация оборудования, своевременное проведение профилактических и ремонтных работ с целью предотвращения аварий на эксплуатируемых системах, механизация и автоматизация технологических операций и обеспечение надежности средств транспорта и хранения.

Особое внимание следует обратить на повышение точности и достоверности учета поступающих и отпускаемых нефтепродуктов и нефти, своевременное обеспечение всех предприятий и организаций высокоточными средствами измерений и необходимой нормативно-технической документацией, укрепление ведомственных метрологических служб.

Список использованных источников


1. Борьба с потерями нефти и нефтепродуктов при их транспортировке и хранении / Ф.Ф. Абузова [и др.]. - М. Недра, 1981. - 248 с.

. Корж, В.В. Эксплуатация и ремонт оборудования насосных и компрессорных станций: метод. указания к выполнению курсовых работ. В 3 ч.Ч. III. Нефтеперекачивающие станции / В.В. Корж, А.В. Сальников. - Ухта: УГТУ, 2009. - 56 с.