Материал: Потери от утечки нефти при трубопроводном транспорте

Внимание! Если размещение файла нарушает Ваши авторские права, то обязательно сообщите нам

Потери от утечки нефти при трубопроводном транспорте

Федеральное государственное автономное образовательное учреждение

Высшего профессионального образования

"СИБИРСКИЙ ФЕДЕРАЛЬНЫЙ УНИВЕРСИТЕТ"

Институт нефти и газа

Кафедра проектирования и эксплуатации газонефтепроводов

РЕФЕРАТ

Потери от утечки при транспортировке нефти и нефтепродуктов по трубопроводам


Преподаватель Д.В. Агровиченко

Студент НБ 12-07 081201977 А.А. Трофимов








Красноярск 2015

Содержание

Введение

1. Общие сведения о потерях нефти и нефтепродуктов при транспортировке по трубопроводам

2. Борьба с авариями на нефтепроводах

3. Методы контроля утечек и предупреждения аварий

4. Организация эффективной защиты трубопроводов от коррозии

5. Совершенствование средств и способов ликвидации аварий на трубопроводах

Заключение

Список использованных источников

Введение


Транспортировка нефти на нефтеперерабатывающие заводы, и полученных продуктов к потребителю связана со значительными их потерями. Потерн от смешения и утечек при трубопроводном транспорте, из резервуаров, от неполного слива нефтеналивных судов, железнодорожных, и автомобильных цистерн, обводнения, зачистки, а также вследствие аварий, разливов, разбрызгивания и испарения наносят огромный ущерб экономике страны, приводят к затратам общественного труда и снижению эффективности производства.; Кроме того, потери нефти и нефтепродуктов при авариях, разливах и утечках загрязняют почву, грунтовые воды и водоемы. Многократные перевалки готовых нефтепродуктов и хранение нефти и нефтепродуктов в резервуарах ведут к потерям от испарения. В атмосферу уходят миллионы тонн углеводородов. Испаряются, главным образом легкие фракции. При этом уменьшается сырье для нефтехимического синтеза, ухудшается качество нефтепродуктов.

При транспортировке нефти и нефтепродуктов по трубопроводам утечки происходят на насосных станциях и линейной части: из сальников насосов, вследствие негерметичности запорной арматуры, компенсаторов, фланцевых соединений и образования свищей в трубе.

1. Общие сведения о потерях нефти и нефтепродуктов при транспортировке по трубопроводам


Потери вследствие утечек из насосов могут составить 0,06 % от перекачиваемого количества нефти и нефтепродуктов. Радикальным средством борьбы с ними является замена сальниковых уплотнений торцовыми, устройство герметичной системы сбора щелевых утечек в емкость и откачка их в трубопровод.

Торцевые уплотнения в последние годы получили самое широкое распространение в насосостроении и имеют следующие достоинства:

незначительные утечки (от 0,05 л/ч вплоть до их практически полного отсутствия),

большая долговечность (от 10 000 до 20 000 ч и более),

возможность использования при высоких давлениях перед уплотнениями (до 30 МПа и выше), а также при вакууме,

отсутствие необходимости постоянного наблюдения и др.

Рисунок 1 - Торцевое уплотнение

Контроль за работой системы сбора и откачки утечек осуществляется с помощью манометра, установленного на нагнетательной линии насосов откачки утечек и посредством сигнализатора утечек. В качестве последнего на НПС могут применяться сигнализаторы типа СУН-1 (рисунок 2) или OMUV (рисунок 3).

Сигнализатор СУН-1 работает следующим образом. Утечки из уплотнений насоса. Утечки из поступают в бачок датчика утечек насоса 1. Если утечки не превышают допустимой нормы, они сливаются в ёмкость сбора утечек через сменную диафрагму 4, закреплённую на дне датчика. Если утечки превышают допустимые пределы, уровень нефти в бачке датчика начинает расти, перекрывая сечение колокола 2. При дальнейшем повышении уровня утечек в колоколе 2 давление воздуха в колоколе возрастает и через пневматическую линию 6 передаётся на датчик - реле напора 7. Пневмосигнал, поступивший на мембрану датчика 7, деформирует мембрану, что приводит к замыканию контактов 8. В результате автоматически подаётся сигнал о неисправности уплотнения. Патрубок 3 в сигнализаторе СУН-1 предназначен для сброса из бачка датчика 1 аварийного поступления нефти от уплотнений. Визуальный контроль за работой сигнализатора осуществляется через смотровое окно 5.

Рисунок 2 - СУН-1

- бачок датчика утечек; 2 - колокол; 3 - патрубок; 4 - диафрагма; 5 - смотровое окно; 6 - пневматическая линия; 7 - мембрана датчика; 8 - контакты

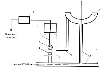
Сигнализатор OMUV устроен несколько иначе и работает следующим образом. Утечки из концевых уплотнений насоса попадают в карман утечек 1, откуда самотёком по трубопроводам 2 поступают в ёмкость сбора утечек ЕП-40.

При нормальной величине утечек они не скапливаются в кармане 1 и успевают отводиться по трубопроводам 2. При возрастании утечек, когда их размер превышает нормальную для уплотнения величину, пропускная способность трубопровода 2 становится уже недостаточной. Нефть накапливается в кармане 1 и по отводному трубопроводу 3 поступает в сигнализатор 4. В сигнализаторе жидкость проходит через дроссельную шайбу 5, которая ограничивает пропускную способность сигнализатора и препятствует быстрому выходу нефти из него. За счёт этого уровень нефти в сигнализаторе поднимается и поднимает магнитный поплавок 6, который замыкает герметичный контакт 7 - возбуждается электрический сигнал. Сигнал подаётся на вторичный прибор 8. Последний останавливает насос по превышению размера утечек.

Из сигнализатора нефть, пройдя дроссельную шайбу 5, попадает в трубопровод 2 и по нему - в ЕП-40.

Рисунок 3 - OMUV

- карман утечек; 2 - трубопроводы утечек; 3 - отводной трубопровод;

- сигнализатор; 5 - дроссельная шайба; 6 - поплавок магнитный; 7 - геркон (герметичный контакт); 8 - вторичный прибор

Потери из-за неплотностей запорной арматуры составляют примерно 0,02 % от общего количества перекачиваемой жидкости. Они происходят через сальниковые уплотнения задвижек и неплотности фланцевых соединений. Особое внимание нужно обращать на сальниковые уплотнения задвижек. В качестве таких уплотнений в настоящее время применяют специальные набивки, резиновые кольца, резиновую крошку, самоуплотняющиеся резиновые набивки и самоподвижные армированные сальники промышленного производства.

Работники наливной и перекачивающей станции Петропавловск применяют комбинированные сальники, состоящие из самой распространенной сальниковой набивки и колец из бензостойкой резины (201. Элементы располагаются в сальниковом гнезде послойно. Начинает и замыкает комбинированный сальник бензостойкое кольцо. Такое уплотнение надежно работает долгие месяцы. В нем резиновые кольца сдерживают смывание пропитки сальниковой набивки, а набивка длительное время обеспечивает шток задвижки смазкой. Штурвал вращается легко, комбинированный сальник не приходится сильно сдавливать грундбуксой - Отверстие в кольце из бензостойкой резины выполняется несколько меньше диаметра штока, а наружный диаметр кольца - чуть больше сальникового гнезда. Просачивание нефти и нефтепродуктов через фланцевые соединения устраняется подтягиванием болтов, заменой прокладок.

Обнаружив место утечки, дефектный участок трубопровода полностью заменяют или ремонтируют. Утечки из небольших отверстий и трещин в сварных швах устраняют установкой хомутов и бандажей (рис.4).

утечка нефть авария трубопровод

Рисунок 4 - Устранение трещин свищей на трубопроводе с помощью бандажей и хомутов: 1 - швеллер; 2 - бандаж; 3 - прокладка; 4 - хомут; 5 - трубопровод.

В последние годы при ликвидации утечек из свищей, трещин и отверстий на трубопроводах и резервуарах широкое распространение находят клеевые композиции на основе полиэфирных, эпоксидных и акрилатных смол. Они обеспечивают надежность в эксплуатации и снижают потери от утечек. При этом упрощается технология ремонта, увеличивается срок службы конструкций, снижается расход металла и стоимость ремонта.

Рецептура клеевых композиций, типы и марки применяемых при этом материалов, инструмента и оборудования, а также технология проведения работ изложены в соответствующей инструкции.

2. Борьба с авариями на нефтепроводах


Большой ущерб народному хозяйству и окружающей среде могут нанести потери нефти и нефтепродуктов вследствие аварий. Аварийные потери вызываются несоблюдением строительных норм и правил при проектировании и сооружении средств транспорта и хранения, нарушением правил технической эксплуатации и несвоевременным ремонтом оборудования, несоблюдением правил обращения с нефтью и нефтепродуктами, заводскими дефектами труб, износамй трубопровода и стихийными бедствиями.

Строительные нормы для проектирования средств транспорта и хранения учитывают как свойства нефти и нефтепродуктов (взрывоопасность, огнеопасность, горючесть и пр.), так и надежность средств транспорта и хранения в зависимости от условий, в которых они будут эксплуатироваться. Так, в СНиП П-45-75 предусматривается деление магистральных трубопроводов на классы в зависимости от диаметра и на участки различной категории в зависимости от окружающих условий. В зависимости от диаметра, температуры нефти и нефтепродуктов и окружающих условий определяются толщина стенки и глубина заложения трубопровода. Наиболее жесткие требования предъявляются к категории "В" участков трубопровода - переходам через водные преграды (при ширине их 25 м и более) и трубопроводам диаметром более 1000 мм.

Строительные нормы предусматривают защиту стальных магистральных трубопроводов от почвенной коррозии при помощи изоляционных покрытий и средств электрохимической защиты, а также защиту подземных трубопроводов. и наземных переходов от атмосферной коррозии.

Чтобы предотвратить аварии при эксплуатации магистральных трубопроводов, в процессе их сооружения следует предусматривать противокоррозийные мероприятия по трассе (организация стока поверхностных вод; крепление размываемых берегов водных преград, оврагов и промоин в местах пересечения их трубопроводами, крепление грунтов, подверженных ветровой эрозии, и пр.).

Магистральный трубопровод перед сдачей в эксплуатацию подлежит испытанию в соответствии со СНиП Ш. Д-Ю-62.

Основные требования к перекачивающим станциям и объектам хранения нефти и нефтепродуктов для обеспечения их безаварийной работы изложены в СНиП II-106-79.

В ряде зарубежных стран при строительстве и эксплуатации магистральных нефтепроводов также основные требования предъявляются к обеспечению безопасности, наименьших потерь нефти и нефтепродуктов и защите окружающей среды. На водных переходах через судоходные реки применяют способ прокладки "труба в трубе". В этом случае можно осуществлять контроль за состоянием обоих трубопроводов через межтрубное пространство, а также производить замену внутреннего трубопровода в случае нарушения его герметичности.

Большое внимание уделяется защите трубопроводов от коррозии. Катодная защита трубопроводов считается наиболее эффективным способом антикоррозийной защиты и находит все большее применение на многих нефтепроводах у нас и за рубежом.

Правительственные организации стран, занимающиеся вопросами транспорта нефти и нефтепродуктов, и компании, эксплуатирующие нефтепродукте проводы, уделяют большое внимание совершенствованию методов обнаружения утечек и предотвращения потерь нефти.

В Западной Европе периодически публикуются статистические отчеты об авариях на трубопроводах, включая аварии насосных станций, резервуарных парков и конечных пунктов. Согласно этим данным в 1973 г. на сети нефтепродуктопроводов Западной Европы обшей протяженностью 17 300 км произошло 20 аварий, сопровождавшихся потерями нефти и нефтепродуктов. Количество пролитой нефти и нефтепродуктов равнялось 1154 м3, из них 1071 мэ были собраны на месте аварий. Потери составили 0,0002 % от общего объема (558 млн. м3/год) перекачки нефти и нефтепродуктов. Из 20 аварий 15 произошли на трубопроводах и пять - на насосных станциях. Все аварии на станциях были вызваны механическими повреждениями оборудования. Из 15 аварий на линейной части две были вызваны механическими повреждениями стенок трубопровода, восемь - коррозийными. Один разрыв трубопровода был вызван оседанием грунта.

Отечественный опыт показывает, что на магистральных трубопроводах пропускной способностью 800-1000 м:,/ч за одну аварию теряется 66-180 т нефти или нефтепродукта и что в первые годы эксплуатации магистральных трубопроводов происходят аварии из-за заводского и строительно-монтажного брака, а после 10-20 лет эксплуатации - из-за коррозийных повреждений.

Потерн нефти и нефтепродуктов при каждой конкретной аварии зависят в основном от быстроты обнаружения и ликвидации аварии, т.е. от эффективности контроля за оборудованием и линейной частью трубопровода, от оперативности и оснащенности ремонтно-восстановительных бригад.

Для эффективной борьбы с потерями нефти и нефтепродуктов при авариях необходимы налаженные способы предупреждения аварий, надежные методы защиты нефтепроводов от коррозии, а также методы обнаружения и устранения утечек.

3. Методы контроля утечек и предупреждения аварий


Все методы контроля могут быть разделены на динамические, осуществляемые без остановок перекачки, и статические - с остановкой перекачки.

К динамическим методам относится широко известный метод обнаружения места утечки по излому линии гидравлического уклона путем графического построения или аналитического расчета, но он применим лишь для приближенного определения района повреждения.

При работающем трубопроводе применяется способ измерения и сравнения расходов на соседних участках трубопровода и таким образом определяют место утечки с точностью длины участка между двумя соседними датчиками расхода. Выходные сигналы расходомеров сравниваются либо специальным вторичным измерительным устройством, либо ЭВМ, которые выдают аварийный сигнал при несовпадении входных сигналов. При стационарном режиме перекачки такие системы работают стабильно и надежно, позволяют определять утечки в 2ti м3/ч, при нестационарном режиме - точность определения утечек снижается.

Разновидностью данного метода является разработанная Харьковским отделением треста Водоканалпроект схема дифференциальной защиты трубопровода.

В ФРГ разработал метод контроля утечек в трубопроводе, основанный на измерении мгновенного расхода жидкости при нарушении герметичности трубопровода.

Кроме того, без остановок перекачки для обнаружения утечек применяются:

метод волн падения давления, основанный на регистрации возникающих в результате утечки волн снижения давления (отрицательных волн давления), которые распространяются вдоль трубопровода от места утечки со скоростью примерно 1 км/с;

метод измерения уровня шумов вдоль трассы трубопровода с помощью акустических датчиков, связанных с диспетчерским пунктом и устанавливаемых на трубопроводе на равных расстояниях друг от друга.

Разработано множество конструкций переносных приборов для обнаружения утечек (течеискателей), действующих преимущественно на акустическом принципе действия.

В Рязанском радиотехническом институте разработан течеискатель ЭЛТ-2. Он представляет собой концентратор (рис. 5), механически соединенный с электроакустическим датчиком 3. Датчик в свою очередь электрически связан со входом электронного усилителя 2. К выходу усилителя подключаются телефон и индикаторный измерительный прибор 4 через выпрямитель 5. Концентратор / состоит из двух волноводов. Сечение волноводов уменьшается по направлению к датчику. Это способствует увеличению амплитуды-продольных механических колебаний, возбужденных в волноводах на конце концентратора.