Материал: пнд

Внимание! Если размещение файла нарушает Ваши авторские права, то обязательно сообщите нам

Тема № 7

ПОДОГРЕВАТЕЛЬ НИЗКОГО ДАВЛЕНИЯ

Подогреватель низкого давления (ПНД, рис. 7.1.) включен в напорную конденсатную линию между холодильниками пароструйного эжектора и де-

аэратором. ПНД служит для подогрева конденсата паром из лабиринтовых уплотнений через регулятор давления пара на уплотнения или паром из от-

бора низкого давления турбины.

Основные технические характеристики ПНД приведены ниже:

1.

Тип подогревателя

-

ПН – 13;

2.

Расход конденсата

-

22,7 т / ч;

3.

Температура конденсата на входе

 

- 42

о

С;

 

 

4.

Температура конденсата на выходе

 

– 86

о

С;

 

 

5.

Расход пара

 

1,82 т / ч;

6.

Поверхность нагрева

 

13,4 м2 ;

7.

Гидравлическое сопротивление

 

7 м. вод. ст. ;

8.

Количество змеевиков

 

-

12 ;

 

9.

Число витков

 

-

11 ;

10.

Диаметр трубок

 

22 / 20 мм ;

2

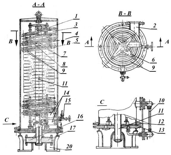
Рис. 7.1. Подогреватель низкого давления

1-тяга; 2-патрубок подвода греющего пара; 3- верхний водяной коллектор; 4-крышка; 5-змеевики трубного пучка; 6-крестовина; 7-трубки дистанционные; 8-спиральные перегородки; 9-хомутики; 10воомерное стекло; 11-стояк; 12-фланец отвода конденсата; 13-корпус; 14-нижние водяные коллекторы; 15-вентиль отвода воздуха; 16-патрубок отвода подогреваемой воды; 17-патрубок подвода подогреваемой воды; 18-лапы крепления; 19-штыри дроссельные; 20-опора.

Подогреватель ПН-13 АО ПО КТЗ поверхностного типа, змеевиковый,

винтовой.

Подогреваемая вода (конденсат) поступает в подогреватель через пат-

рубок 17 и попадает в секцию В стояка. Пройдя через нижние коллектора 14,

вода поднимается по змеевикам, подогревается в них и поступает в верхние

коллектора 3, откуда попадает в секцию А стояка и выходит из подогревателя

3

через патрубок 16. Для одинакового подогрева воды во всех змеевиках пода-

ча воды в змеевике отрегулирована при помощи дроссельных штырей 19.

Греющий пар подводится через патрубок 2 и движется сверху вниз по винто-

вому каналу, образованному при помощи спиральных перегородок 8, на-

встречу подогреваемой воде. Конденсат греющего пара (дренаж) отводится через фланец 12. По водомерному стеклу можно контролировать уровень конденсата. Отвод воздуха из корпуса подогревателя осуществляется через вентиль 15.