Материал: ПиА Сушка

Внимание! Если размещение файла нарушает Ваши авторские права, то обязательно сообщите нам

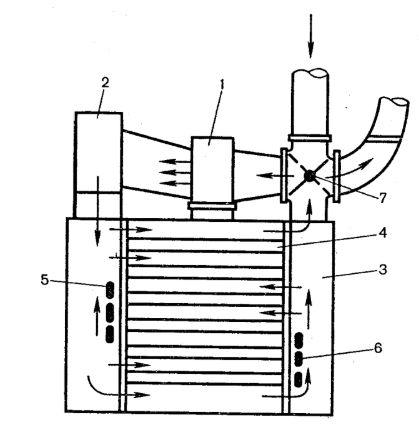
Нагретый воздух в калорифере (1) подается вентилятором (2) в нижнюю часть камеры

(3) сушилки и проходит в горизонтальном направлении между полками (4) с высушиваемым материалом. Воздух в камере движется зигзагообразно через три зоны, дважды меняя направление своего движения и дополнительно нагреваясь воздухонагревателями (5), (6). Насыщенный водяными парами отработанный воздух выводится через верхнюю часть камеры. С помощью шибера (7) (заслонки) часть теплого, влажного отработанного воздуха смешивается со свежим воздухом, полученная смесь нагревается и подается в сушилку. Частичная рециркуляция и промежуточный подогрев воздуха в камере рекомендуется для осуществления более равномерного и мягкого режима сушки материала и снижения расхода воздуха и тепла.

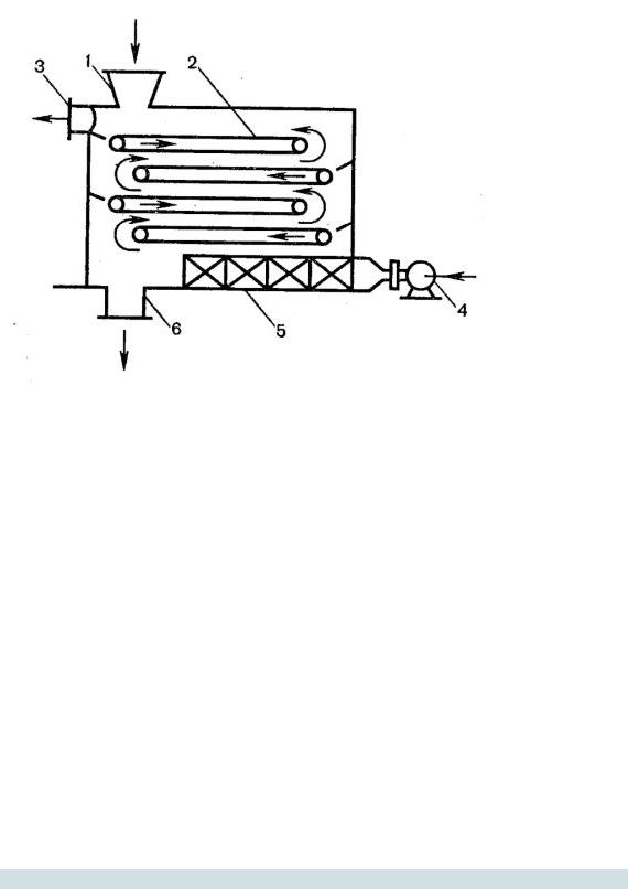
Основной частью ленточной сушилки является горизонтальный транспортер, который движется в сушильной камере. Ленты изготовляют сетчатыми (из металла) или сплошными (из ткани). Высушиваемый материал поступает из одного конца транспортера и сбрасывается высушенным с другого его конца. В сушилках со сплошной лентой горячий воздух движется над слоем материала противотоком. В сушилках с перфорированной (сетчатой) лентой — перпендикулярно ее плоскости (вверх или вниз). В одноленточных сушилках слой материала высыхает неравномерно, поэтому более рациональны многоленточные (многоярусные) сушилки непрерывного действия (рис).

Влажный материал через загрузочный бункер (1) поступает на верхний ленточный транспортер (2), перемещается вдоль камеры, пересыпается на транспортер второго яруса и т. д. С транспортера нижнего яруса высушенный материал попадает в разгрузочный бункер (6). Воздух в сушильную камеру нагнетается вентилятором (4), нагревается калорифером (5) и движется противотоком. Отработанный воздух выбрасывается в верхней части сушильной камеры через штуцер (3).

Благодаря многократному пересыпанию материала с одной ленты на другую он лучше контактирует с горячим воздухом, перемешивается, разрыхляется, что ускоряет процесс сушки.

8) Cпециальные сушилки: виды, конструкционные особенности, принцип действия.

1) Сушка инфракрасными лучами (радиационная сушка) тепло для испарения влаги подводится термоизлучением. Энергия, излучаемая инфракрасными лучами (длина волны 8—10 мкм), значительно превышает энергию излучения видимых лучей, поэтому способствует более интенсивному удалению влаги, чем при конвективной или контактной сушке. В качестве источников инфракрасного излучения применяют

мощные электрические лампы с отражательными рефлекторами (ламповые сушилки), либо экраны, панели, обогреваемые газом (радиационные газовые сушилки). Газовые сушилки просты по устройству и экономичнее ламповых, их панели делаются из сплошных чугунных или керамических жароупорных поверхностей.

На рис. представлена схема ламповой радиационной сушилки. Над поверхностью высушиваемого материала, например влажного гранулята, перемещаемого транспортером (1), устанавливают осветитель-ные лампы с отражателями (2), направляющими интенсивный поток лучей на поверхность материала. Тепловое действие инфракрасных лучей вызывает быстрое испарение влаги из поверхностного слоя материала.

Достоинство радиационных сушилок состоит в том, что они компактны по устройству, характеризуются незначительными потерями тепла в окружающую среду, быстро удаляют влагу из тонких слоев материала. Однако этот способ сушки имеет недостатки — неравномерность нагрева высушиваемого материала, высокий расход энергии. Радиационная сушка в фармацевтической технологии применяется редко.

2)Сушка токами высокой частоты применяется для различных диэлектриков (смолы, пластмассы, древесины), молекулы которых под действием электрического поля поляризуются. Скорость поляризации молекул зависит от того, как часто электрическое поле меняет свое направление на прямо противоположное. Поляризация молекул сопровождается трением между ними, на что затрачивается часть электрической энергии поля, которая превращается в тепло. Вследствие выделения тепла высушиваемый материал быстро нагревается. Скорость сушки повышается за счет перемещения влаги из глубины материала к его поверхности, так как температура на поверхности материала ниже, чем внутри. Сушка проходит равномерно и быстро по всей толщине высушиваемог

3)Сушка возгонкой (сублимация) осуществляется из замороженного материала, т. е. непосредственно из твердой фазы в паровую (газообразную), минуя жидкое состояние. Особенно активно сублимация протекает при глубоком вакууме, благодаря значительным разностям температур между высушиваемым материалом и источником тепла. Для того чтобы начался процесс вакуум-сублимации, необходимо понизить упругость паров воды у поверхности высушиваемого материала ниже 533,288 Н/м2,

что соответствует давлению паров льда при О °С. Дальнейшее понижение давления снижает температуру сублимации, например, если понизить давление паров воды у поверхности до 13,3322 Н/м2, то процесс сублимации будет протекать уже при —40 °С.

Принципиальная схема сублимационной сушки с компрессионной холодильной установкой, показана на рис. Камера (1) сушилки сообщается с конденсатором (2), к которому присоединен вакуумный насос (3) и холодильная установка (4) с насосом (5) для циркуляции охлаждающего рассола. Для непрерывного удаления из конденсатора образующегося в нем льда обычно устанавливают два конденсатора, которые работают (размораживаясь) попеременно.

При сублимации под глубоким вакуумом (основная сушка) продолжительность сушки, температура продукта устанавливаются экспериментально. В вакууме из замороженного материала удаляются молекулы водяного пара, а затем — летучие вещества (откачиваются вакуумным насосом). Камера конденсации паров воды должна иметь температуру ниже температуры замораживания материала на 5—10 °С и более низкое давление, чем в сушильной камере. Когда весь лед удален из материала, начинается тепловая сушка в вакууме при температуре выше О °С для удаления связанной воды в течение 6—7 ч. Для большинства фармацевтических препаратов общая продолжительность сублимационной сушки составляет 18—24 ч. Величина остаточной влаги в высушенном продукте около 1 %.

Сублимационная сушка широко используется для обезвоживания многих медицинских препаратов, чувствительных к повышенным температурам (антибиотики, ферменты, гормоны, витамины, препараты

крови, противоопухолевые, органопрепараты и др.). Низкая температура при сушке не вызывает денатурации белков, позволяет максимально сохранить исходные качества и свойства продукта (цвет, запах, растворимость), они могут храниться длительное время.

9) Контактные сушилки: виды, конструкционные особенности, принцип действия.

В контактных сушилках тепло передается через твердую непроницаемую перегородку (полые полки, барабаны-вальцы), внутри которых находится греющий пар. Из материала испаряется влага и пары диффундируют в окружающий воздух. Для ускорения сушки и проведения процесса при пониженной температуре в сушилках уменьшают давление, т. е. процесс проводят под вакуумом. Наиболее распространенными из этой группы являются сушильные шкафы и вальцовые сушилки.

Вакуум-сущильный шкаф представляет собой горизонтальный цилиндрический чугунный корпус (1), в котором смонтированы греющие полые плиты (2). Сверху в

плиты вводится греющий глухой пар, снизу отводится конденсат. На предварительно прогретые плиты размещают противни с высушиваемым материалом слоем 20—60 мм или плоские чашки со сгущенной вытяжкой. Шкаф закрывают крышкой (4) и включают вакуумный насос. Образующиеся водяные пары удаляются через патрубок (3) в конденсатор. Длительность сушки около 4 ч при температуре 50—60 °С. По окончании сушки прекращают подвод пара, дают остыть, выравнивают давление. Высушенный материал снимают с противней и измельчают. Вакуум-сушильные шкафы используют преимущественно в малотоннажных производствах.

В вальцовой вакуум-сушилке в сушильной камере медленно вращается один или два полых металлических барабана (валки), изнутри обогреваемых паром. Поверхность барабана смачивается тонким слоем (от 0,1 до 1 мм) сгущенной вытяжки и высыхает за неполный оборот барабана.