Курсова робота
Овочерізка
МРО-50-200 для нарізання моркви брусочками
технологічний овочерізка кінематичний
Найважливішими показниками сучасного науково-технічного прогресу в області торгово-технологічного обладнання є інтенсифікація здійснюваних технологічних процесів, зростання одиничної потужності і продуктивності апаратів, машин, агрегатів і тісно пов'язаний з ними розвиток засобів контролю та систем управління. В рішенні проблеми підвищення якості продукції та ефективності виробництва особливо важливе значення має контроль за технологічними процесами, зниження питомої витрати енергії,
зменшення втрат сировини при його обробці, підвищення якості готової
продукції, поліпшення санітарно-гігієнічних умов, не менш важлива
роль контролю за параметрами для забезпечення безпеки роботи таких
технологічних засобів, як механічне, теплове, підйомне-транспортне, холодильне обладнання, торговельні автомати і торговий транспорт.
В результаті інноваційних процесів, що відбуваються в останні роки у сфері громадського харчування, технологічне оснащення деяких підприємств громадського харчування досягло сучасного рівня. До всіх апаратів і машинам висувають такі вимоги: апарат (машина) повинен бути високоефективним (високопродуктивним), надійним, малоенергоємних і металомістких, задовольняти вимогам безпеки роботи і бути зручним в обслуговуванні.
Успішному вирішенню поставлених завдань буде багато в чому сприяти грамотне використання сучасного високоефективного обладнання на всіх етапах обробки продукції. На підприємствах громадського харчування значне місце в технологічному процесі механічної обробки сировини займає подрібнювальне обладнання.
Машини для нарізки плодів і овочів - Міксери машини і механізми дозволяють нарізати плоди та овочі на шматочки певної форми: скибочки, брусочки, соломка, стружка, кубики, часточки та ін.
Якість кінцевого продукту цілком залежить від
конструктивного виконання овочерізальних машин. За конструктивним виконанням
овочерізки для сирих овочів підрозділяють на дискові, роторні та Пуансоні.
Нарізання - це процес, в результаті якого одержують фрагменти з наперед відомою формою та розмірами згідно технологічних вимог до готового продукту.
На підприємствах громадського харчування та в закладах ресторанного господарства для нарізання плодів та овочів використовують овочерізальні машини та механізми. За призначенням їх розділяють на дві групи: для нарізання сирих овочів та фруктів і для нарізання варених овочів. Одні використовують в овочевих і гарячих цехах, інші - в холодних цехах, де готують гарніри до холодних страв, салати, вінегрети.
В залежності від вимог до кінцевого продукту
форма нарізаних фрагментів досить різноманітна: у вигляді скибочок різної
товщини, брусочків, соломки, стружки, кубиків, пластинок, дольок та інших видів
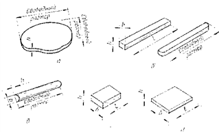
форм. Форма фрагментів при нарізанні плодів та овочів показана на рисунку 3.1.
Рис. 1. - Форма фрагментів при нарізанні плодів та овочів:
а - скибочка; б - брусочок і соломка; в - стружка; г - кубик; д - пластинка
На рис.2. показано види робочих інструментів для
нарізання плодів за різною формою.
Рис. 2. - Види робочих інструментів для нарізання
плодів за різною формою
2.1 Технологічні вимоги до процесу
На підприємствах громадського харчування широко використовують овочерізальні машини і механізми для нарізки плодів і овочів скибочками, брусками, соломкою, стружкою, часточками, кубиками.
Скибочки мають дві паралельні поверхні зрізу, відстань між якими дорівнює товщині скибочки; довжина і ширина скибочки залежить від розмірів плоду, що розрізає.
Бруски і соломка мають, як правило, два заданих розміри - товщину і ширину; довжина визначається розміром плоду. Соломка, у порівнянні з брусками, має менший поперечний переріз.
Часточки мають дві плоскі поверхні зрізу, розташовані під певним кутом. Усі розміри часточок залежать від розмірів плоду. Іноді часточки мають ще і фіксовану довжину.
При нарізці овочів до кінцевого продукту пред'являють наступні вимоги. Частки продукту повинні мати задану форму і розміри при мінімальній кількості неповноцінних часток; гладку поверхню зрізу, без тріщин, і нерівностей. Відрізані частки повинні зберігати свою форму, не руйнуватися. При нарізці з соковитих продуктів не повинен витікати сік, а м'які продукти не повинні сильно деформуватися. Якість нарізаного продукту залежить від багатьох чинників: способу нарізування, форми, гостроти і кута заточування ножів, способу утримання продукту у момент різання.
На підприємствах громадського харчування широко використовують овочерізальні машини і механізми для нарізки плодів і овочів скибочками брусками, соломкою, стружкою, часточками, кубиками.
Овочерізки можна класифікувати за наступними основними ознаками:
за призначенням: для нарізки сирих і варених овочів та комбіновані;
за конструктивним виконанням: дискові, роторні, пуансонні, дискові з роторним поданням, комбіновані;
за розташуванням робочих органів: з горизонтальним, похилим або вертикальним розташуванням. Найбільш поширені овочерізки з горизонтальним і похилим розташуванням робочих органів.
за способом утримання продукту у момент різання (клином, штовхальником, клином і штовхальником, клином і відцентровою силою - в роторних овочерізках).
за структурою робочого циклу: безперервної і періодичної дії. Найчастіше овочерізки бувають безперервної дії.
по виду приводу: з індивідуальним приводом або без такого.
При нарізці овочів до кінцевого продукту пред'являють наступні вимоги. Частки продукту повинні мати задану форму і розміри при мінімальній кількості неповноцінних часток; гладку поверхню зрізу, без тріщин і нерівностей. Відрізані частки повинні зберігати свою форму, не руйнуючись. При різанні з соковитих продуктів не повинен витікати сік, а м'які продукти не повинні сильно деформуватися. Якість нарізаного продукту залежить від багатьох чинників: способу нарізання (рубаюче або ковзаюче різання), форми, гостроти і кута заточування ножів, способу утримання продукту у момент різання.
2.2 Дискова овочерізальна машина
Дискові овочерізки (рис. 1) призначені для
нарізки овочів і фруктів скибочками, брусочками, соломкою, стружкою і
шинкування капусти.
Рис. 3. Схеми дискових овочерізок:
а - з горизонтальним диском; б - з вертикальним диском;
- циліндр; 2 - завантажувальний пристрій; 3 - лоток; 4 - опорний диск;
- приводний вал; 6 - станина.
Робоча камера дискових овочерізок виконана у вигляді нерухомого відкритого з обох торців низького пустотілого циліндра, розташованого вертикально або горизонтально.
На одному торці камери знаходиться завантажувальний пристрій у вигляді кругового клина («равлики»), який направляє продукт в камеру. на іншому торці мається розвантажувальний пристрій у вигляді лотка, через який видаляється оброблений продукт. робочим інструментом є опорний диск з комплектом ножів, що мають леза прямолінійною і криволінійної форми. В опорному диску під кожним ножем знаходиться вікно, через яке надходять в розвантажувальний лоток відрізані цим ножем частки продукту.
Для нарізки продукту скибочками застосовують ножі з одним лезом, встановленим паралельно площині опорного диска в радіальному напрямку або під гострим кутом до радіуса.
Для нарізки продукту брусочками або соломкою застосовують ножі в вигляді гребінки, що має одне лезо, розташоване паралельно опорному диску і кілька лез перпендикулярних йому, відстань між якими визначається шириною брусочків (соломка).
Для нарізки продукту стружкою використовується тертковим диск, що має на всій площині круглі отвори. Кромки отворів з одного боку відігнуті вгору і заточені в напрямку обертання диска. Вони являють собою леза напівкруглої форми. Опорний диск з ножами кріпиться на приводному валу, який приводиться в обертання приводним пристроєм. На підприємствах громадського харчування овочерізки застосовуються як з індивідуальним електроприводом, так і в якості змінних механізмів універсальних кухонних машин.
.3 Особливості роторних овочерізок
Конструктивна особливість роторної овочерізки полягає в тому, що її ножі в процесі різання залишаються нерухомими, а продукт переміщається щодо ножового блоку обертовим ротором з лопатями.
Овочі завантажуються через завантажувальну воронку в робочу камеру, де вони захоплюється лопатами ротора і подається до нерухомих ножам, які розташовані на внутрішній стіні робочої камери. Овочі під дією відцентрової сили за допомогою лопат ротора притискаються до внутрішньої поверхні робочої камери, ковзають по нею і насуваються на нерухомі ножі.
Для нарізки продукту скибочками встановлюється
ніж, лезо якого виступає всередині камери на відстань, рівну товщині
відрізуваних скибочок. Гостра кромка ножа розташовується паралельно твірної
робочої камери, і за кожен оборот нож відрізає від продукту шар, рівний товщині
скибочки. При нарізці брусочками ножовий блок додатково оснащується ножовий
ребінкою, леза якої розташовані перпендикулярно стінці робочої камери. Ножові
блоки закріплюються в стінці камери за допомогою спеціальної вилки і відкидного
болта. Шар продукту, що примикає до стінці камери, спочатку надрізається
ножовий гребінкою, а потім відрізається ножем, розташованим перпендикулярно
лезах ножовий гребінки. Відрізані частинки продукту надходять в
розвантажувальний канал машини.
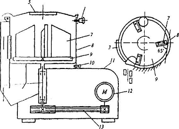
Рис.4. Принципова схема роторної Міксери машини МРО 400-1000:- вихідний нал; 2 - розвантажувальний канал; 3- ножовий блок; 4- вісь;
-загрузочная воронка; 6 - фіксатор; 7 - лопаті;
8- робоча камера; 9 - диск; 10 - засувка; 11- корпус; 12 - електродвигун; 13 -
Кліноременная передача.
Особливість таких машин полягає в тому, що ножі машини в процесі різання залишаються нерухомими, а продукт переміщається обертовим ротором з лопатями. Роторна овочерізка (рис.2), як і дискова, входить в комплект універсальної машини МРО - 400-1000На роторної Міксери машини овочі нарізаються скибочками завтовшки 3 мм, брусочками перерізом 6x6 мм і 10x10 мм і соломкою 3 мм. Робочої камерою 8 цієї машини служить вертикально розташований литий циліндр, який прикріплюють до корпусу 11 за допомогою зацепа, з фіксуючою засувкою 10. Зверху на робочу камеру встановлюють відкидну завантажувальну воронку 5, яка повертається навколо осі 4 і стопориться фіксатором 6. У бічній стінці робочої камери виконаний отвір, куди вставляють змінний ножовий блок 3. Ножові блоки закріплюються в стінці камери за допомогою вилки і відкидного болта.
Усередині робочої камери встановлений ротор, що має лите підставу у вигляді диска 9, до якого прикріплені три вертикальні лопаті 7, розташовані під кутом 65° до дотичної кола основи ротора. Ротор змонтований на верхньому кінці вихідного валу 1 приводного пристрою машини і закріплений гвинтом з лівою різьбою.
Обертання ротору передається від електродвигуна 12 через клинопасову передачу 13. Із зовнішнього боку робочої камери навпроти ріжучих інструментів розташовані розвантажувальний канал 2, і перехідний в розвантажувальний пристрій машини.
На роторної машині овочі нарізуються скибочками завтовшки 3 мм, брусочками перерізом 6x6 мм і 10x10 мм і соломкою 3 мм.
Для забезпечення безпечної роботи машина забезпечена блокувальним вимикачем, що запобігає включення електродвигуна при знятих робочої камери і завантажувального пристрою.
Принцип дії: продукт через завантажувальну
воронку завантажують в робочу камеру, де він захоплюється робочими лопатями
ротора і подається до нерухомих ножам. При цьому продукт під дією відцентрової
сили лопатями притискається до внутрішньої стінки робочої камери, ковзає по ній
і насувається на нерухомі ножі. Відрізані частинки продукту надходять спочатку
в розвантажувальний канал, а потім в розвантажувальний пристрій машини.
2.4 Гвинтова овочерізка
Гвинтова овочерізка відноситься до пристроїв,
вживаних в побуті для різання вручну овочів і фруктів, призначених для обробки
і приготування кулінарних виробів.

Рис. 5. Зображена гвинтова овочерізка: 1 - рукоятка; 2-
опорний диск, 3 - шпильки, 5 - загострений на кінці ніж; 7 -
концентрично-маточині опорного диска; 8 - втулка; 9 - хвилеподібна замкнута
канавка; 10 - куркульки.
Гвинтова овочерізка забезпечена поводком 11, встановленим з можливістю взаємодії відігнутим кінцем з радіальним ножем 6, а іншим кінцем з одним з кулачків 10 для вдавлювання стержня 12 з шипом 3, причому на опорному диску 2 виконані отвори 13 для шипів 3. У ручці 1 по її центральному отвору за допомогою різьбового з'єднання 14 нерухомо встановлений опорний диск 2, гвинт 4, зв'язаний з гайкою 5, жорстко сполученою з радіальним ножем 6, виконаним з різальною кромкою 15 і з з’єднанням 16, стержні 12 встановлені в отворах 13 з можливістю зворотно-поступального переміщення паралельно осі гвинта 4 в діапазоні амплітуди хвилеподібної замкнутої канавки 9.
Гвинтова овочерізка працює наступним чином: у початковому стані гвинт 4 вільний від гайки 5 і радіального ножа 6. Овоч, що підлягає різанню, наколюються в центральній частині опорного диска 2 при цьому шпильки 3 фіксують овоч від обертання навколо осі гвинта 4. Потім на гвинт 4 нагвинчують радіальний ніж 6, який різальною кромкою 15 впроваджується в овоч і у подальшому нарізує овочеподібні стружки товщиною рівною кроку гвинта 4. При підході радіального ножа 6 до площини знаходження виступів шпильок 3 радіальний ніж 6 входить в зачеплення з відігнутим кінцем поводка 11, повідомляючи обертання втулці 8. При цьому опорний диск 2 з маточиною 7 нерухомі, а втулка 8, що обертається за допомогою хвилеподібної замкнутої канавки 9 повідомляє куркульок 10 із стержнями 12 і шпильками 3 зворотно-поступальне переміщення у отворах 13 паралельно гвинту 4. Так як поводок 11 встановлений навпроти нижнього положення кулачка 10 у хвилеподібній замкнутій канавці 9, то по мірі наближення радіального ножа 6 до будь-кого з шпильок 3, він втоплений нижче поверхні опорного диска 2, а коли радіальний ніж 6 мине шпилька 3, то він знову займає вихідне положення.
.5 Машини для різання овочів МРО- 200
Такі машини використовуються для невеликих ресторанів, кафе, кондитерських і магазинів кулінарії продуктивністю 200 кг/ч (рис.3.6.).
Встановлений потужний черв'ячний редуктор, при невеликому споживанні енергії обертає різальний інструмент на 367 об/хв, чим забезпечує якісну нарізку овочів і фруктів.
Машини призначені для нарізки сирих і варених овочів (картоплі, буряка, моркви, лука, ріпи, брукви, огірків, томатів і так далі) і фруктів на частини різної геометричної форми, для тонкого подрібнення картоплі, моркви, а також шаткування капусти. У комплект машини входить 6 дисків для нарізки.
Машини призначені для експлуатації на
підприємствах громадського харчування і малих підприємствах по переробці
овочів.
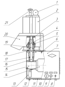
Рис. 6. Схема машини для різання овочів МРО -
200: 1 - штовхач; 2 - кришка; 3 - змінний робочий орган; 4 - скидач; 5 -
підшипник; 6 - механізм блокування; 7 - облицювання; 8 - арматура сигнальна
"МЕРЕЖА"; 9 - кнопка "ПУСК"; 10 - кнопка "СТОП";
11 - облицювання нижнє; 12 - амортизатор; 13 - блок затисків; 14 - електродвигун;
15 - редуктор; 16 - вал приводний; 17 - манжета; 18 - фланець з фіксатором; 19
- робочий вал; 20 - корпус; 21 - серповидний штовхач.