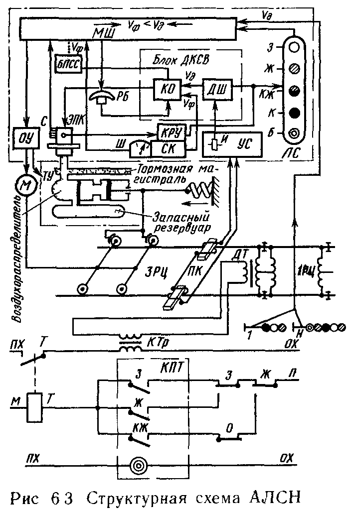
В зависимости от показаний путевого светофора(6.2), к которому приближается поезд Б, контролируются определенные скорости его движения. На З огонь установленная скорость Vу устр-ми АЛСН не ограничевается и бдительность машиниста непроверяется. Скорость проследования Ж и К огней ограничиваются скоростями Vж и Vкж. Скорость проследования К огня не должна превышать 20 км/ч.
При проследовании З сигнала и движении на Ж, т.е. при смене с З на Ж, раздается звуковой сигнал - свисток ЭПК(электро пневматический клапан), требующий кратковременного нажатия рукоятки бдительности машиниста. Неподтверждение ч/з 7 сек вызывает экстренное торможение.
При движении на желтый, если скорость меньше допустимой скорости проезда желтого, бдительность машиниста не проверяется. При превышении допустимой скорости проезда желтого (контролируемой скорости) бдительность проверяется раз в 15-20 секунд, до тех пор пока скорость не снизится до контролируемого.
При проезде Ж, фактич скорость должна быть ниже допустимой. Если фактич скорость больше допустимой - машинист должен периодически нажимать рукоятку бдительности, иначе произойдет экстренное торможение.
При движении на К производится периодическая проверка бдительности машиниста, каждые 20 секунд, пока скорость не снизится менее 20 км/ч.
При движении поезда на К сигнал локомотивного светофора, если скорость выше 20 км/ч, срабатывает автостоп.
На линиях, не оборудованных кодированными РЦ, на лок-вах используют АВТОСТОП и устр-ва проверки бдительности машиниста. На локом.светоф. непрерывно горит белый огонь; машинист переключает спец ключ в положение «Без АЛС», удлинняя тем самым промежутки времени м/у свистаки ЭПК с 20 до 90 сек.
Локомотив снабжают блоком предварительной световой сигнализации БПСС, кот информирует маш-та о возмож-ти подтверждения бдительности нажатием РБ до начала свистка ЭПК.

34. СИСТЕМА КЛУБ. НАЗНАЧЕНИЕ И ФУНКЦИОНАЛЬНЫЕ ВОЗМОЖНОСТИ
КЛУБ обеспечивает прием сигналов от путевых устройств АЛС-Н и АЛС-ЕН и отображение их машинисту. Измеряет и отображает факт. скорость, исключает несанкционированное трогание состава, контролирует скорость движения, бодрствование и бдительность машиниста.
Система КЛУБ обеспечивает:
1. прием инфы из каналов АЛС-Н и АЛС-ЕН с защитой от ложного срабатывания при сходе изолир.стыков.
2. отслеживание проследования границ блок-участков по смене кодовых комбинаций.
3. обмен инфой с путевыми и станционными устройствами.
4. прием сигнала от локомотива о включении и выключении тяги, о положении крана машиниста и ключа ЭПК.
5. сравнение факт. скорости с допустимой и выключении тяги при большей факт. скорости.
6. осуществление контроля бдительности машиниста.
7. отображение режима работы(поездной, маневровый).
8. диагностика системы.
35.СИСТЕМА АВТО УПРАВЛЕНИЯ ТОРМОЗАМИ. САУТ.
САУТ предназначена для автоматического управления тормозами поездов. Работа САУТ: 1. при движении на зеленый сигнал САУТ осуществляет контроль max допустимой скорости. При достижении поездом max допустимой скорости САУТ автоматически отключает тягу. 2. при движении поезда при желтом показании САУТ автоматически отключает тягу и включает торможение до установленной скорости. 3. при красном сигнале – САУТ на расстоянии необходимого тормозного пути отключает тягу и включает служебное торможение до полной остановки. САУТ выдает машинисту след. инфо: 1. о расстоянии до границы станции или очередного блок-участка. 2. о более точном значении рассогласования между факт. и допуст. скоростью. 3. о точной длине маршрута приема поезда.
САУТ обеспечивает ограничение скорости движения поезда в зависимости от показания локомотивного светофора, расстояния до конца блок-участка, допустимых скоростей движения и приведённого (среднего) уклона. Информация о блок-участке или маршруте приёма на станцию передаётся на локомотив путевыми устройствами или берётся из локомотивной базы данных. Установка аппаратуры САУТ на локомотив может производиться как на заводе изготавливающем локомотив, так и в условиях локомотивного депо
При АБТ, перегон разбивается на относительно короткие блок участки. Каждый оборудуется Тональными РЦ. В середине размещается генератор тональной частоты с частотой 2500, 5000, 480 Гц. По краям подключаются приемники тонального сигнала, настроенные на частоту генератора. Изолирующие стыки – отсутствуют. Сигналы на соседних участках отличаются частотой 480\420\480 Гц.
Поскольку тональный сигнал РЦ достаточно быстро затухает, так как ток затухает, то влияние РЦ на другую РЦ, расположенную через 1 блок участок – отсутствуют. Изолирующие стыки можно не применять, отсутствие И. стыков упрощает укладку бесстыкового пути. Значительно упрощает протекание тягового тока по рельсам. Проходные светофоры отсутствуют. Движение поезда осуществляется по сигналам АЛС.
На перегоне расположены только путевые светофоры и дроссель – трансформаторы, остальная аппаратура на станциях. Границы блок участков обозначаются спец. Отражателями.
Зона дополнительного шунтирования, когда поезд с другой стороны и ток по пути короткого замыкания пойдет через колесную пару, минуя приемник. Длина зоны дополнительного шунтирования, около 150м.
Поскольку в данной системе основным служит АЛС, то имеют особенности сигналы выходных светофоров.
1 зеленый – разрешает поезду отправиться, перегон до следующей станции свободен.
1 зеленый и 1 белый – разрешается поезду следовать на перегон по сигналам АЛС. Впереди свободны 3 и более блок участка.
1 Желтый мигающий и 1 белый – впереди свободен 1 блок участок
Красный – запрещено отправление
На перегоне используются тональные РЦ без ИС, Частота такая же. Используются проходные светофоры для точного определить границы блок участков. На границах используются тональные РЦ ТРЦ – 4. С частотой 5000 и 5500Гц. Сигнал такой частоты затухает очень быстро, поэтому ТРЦ – 4 короткая и зона доп шунтирования тоже около 15м. Это позволяет не ставить на границе блок участка проходной светофор, сместив его в сторону движения поезда на 15м.
37. Автоматическая блокировка ЦАБ
В ЦАБ на перегоне отсутствуют проходные светофоры и большая часть аппаратуры размещается на прилегающих к перегону станциях. Движении поездов осуществляется по сигналам АЛС. Перегон разделяется га относительно короткие блок-участки(<2000 м). границы блок-участков обозначаются спец. указателями(светоотраж.), установленными на мачтах. Ниже указателя размещается № участка. При приближении поезда к след. блок-участку на локомотиве происходит смена сигнала. Для повышения безопасности движения в ЦАБ предусмотрены защитные участки, которые не кодируются за хвостом поезда. На каждом блок-участке устанавливаются один генератор и два приемника. Сигналы от генератора воспринимаются двумя соседними приемниками, которые настроены на частоту генератора. Следующий генератор имеет другую частоту сигнального тока.
38.
39.
40.
41.
42.
43. ЭЛЕКТРИЧЕСКАЯ ЦЕНТРАЛИЗАЦИЯ СТРЕЛОК И СИГНАЛОВ НА СТАНЦИЯХ.
ЭЦ предназначена для управления движением поездов и маневровой работой на станции. При электрической централизации ПО пути оборудуются рельсовыми цепями, горловины станции разделяются на изолированные участки, каждый из который так же оборудуется рельсовой цепью. Рельсовые цепи позволяют определить занятость и свободность этих участков, на основании чего определяется местоположение подвижных единиц на станции, исключается возможность приема ПС на занятый путь, перевода стрелок и т.д. Стрелочные переводы оборудуются стрелочными электроприводами, позволяющими осуществлять перевод стрелки, осуществлять запирание остряков и контроль положения остряков. Таким образом система ЭЦ позволяет ДСП со своего манипулятора самому непосредственно переводить стрелки, готовить маршруты, открывать и закрывать сигналы.
В системе ЭЦ применяются постовые и напольные устройства. К напольным устройствам относятся стрелочные электроприводы, поездным и маневровые светофоры, маневровые колонки, питающие и релейные трансформаторы РЦ. К постовым устройствам относятся стативы релейной аппаратуры, системы электропитания, пульт и табло дежурного по станции.

НС - наборная группа
ИС - исполнительная группа
КС - контрольная группа
Свет - светофоры
Т - табло ДСП
ДСП с помощью манипулятора отдает команды, управляющие напольным оборудованием. Действия ДСП фиксируются наборной системой, которая выстраивает маршрут приемо-отправления, либо маневровый. Исполнительная система передает команды и управляет напольным оборудованием, стрелками и светофорами. В результате стрелки переводятся, светофоры открываются.
Контрольная система собирает информацию о состоянии напольного оборудования о занятости и свободности изолированных участков, положении стрелок, сигналов светофоров и отображает информацию на табло дежурного по станции.
Основная задача ЭЦ на станции: установка и приготовление маршрутов.
Маршрутом называется часть путевого развития станции, подготовленная для следования ПС. Начало маршрута - разрешающее показание соответствующего светофора (вх, вых, марш, маневр).
Замкнуть стрелки - исключить возможность их перевода.
Замыкание маршрута - исключить возможность задания других маршрутов, враждебных заданному.
Проверить условия безопасности - исключить события, несущие угрозу работе.
Такие проверки производит система ЭЦ. При задание маршрута проверяется правильность положения стрелок, проверяется не ведет ли маршрут на занятый путь, не включает ли маршрут участки занятые ПС, не является ли данный маршрут враждебным другим маршрутам, не открыт ли лунно-белый сигнал. Если проверки дали положительный результат, маршрут замыкается, сигнал открывается.
ЭЦ предназначена для управления движением поездов и маневровой работой на станции. Все маршрутные зависимости м/у стрелками и сигналами осущ-ся электрич схемами посредством реле. Системами ЭЦ оборудуются все виды раздельных пунктов: разъезды, обгонные пункты и станции.
Структурная схема ЭЦ включает в себя аппаратуру центрального поста ЭЦ, а также напольное технологическое оборудование.
Аппаратуру ЦП ЭЦ делят на наборную и исполнительную группы, к ней относится пульт управления ЭЦ и выносное табло. Отдельно может быть выделена аппаратура управления и контроля.
К напольному оборудованию относятся: СЭП (для перевода, запирания и контроля положения централизованных стрелок), РЦ и станционные светофоры, релейные шкафы, батарейные колодцы, маневровые колонки и вышки,устройства ограждения путей, пневмообдувки стрелок и др.
ДСП с помощью манипулятора ПМ выполняет дей-я, необходимые для задания маршрута, которые фиксируются наборными схемами НС в релейном помещении РП. Исполнительные схемы ИС управляют напольным оборудованием, стрелками и светофорами, при выполнении условия задания маршрута, для чего ИС связаны с Контрольными схемами КС. Инф-я о задании маршрута, состоянии напольн устр-в и положении ПС выдается ДСП на табло Т.
По способу задания маршрута ЭЦ подразделяют на маршрутные (маршрут задается ДСП нажатием кнопок начала и конца маршрута, перевод стрелок осущ-ся автоматически) и с индивидуальным переводом стрелок (ДСП уст-ет все стрелки по маршруту, и открывает светофор).


44. ЭЛЕКТРИЧЕСКАЯ ЦЕНТРАЛИЗАЦИЯ МАЛЫХ СТАНЦИЙ

1 проверка. Правильность приготовления маршрута.
+1/3 +5/7 +11 - условие приготовления маршрута на I путь.
+1/3 +5/7 -11 - условие приготовления маршрута на 3 путь.