Материал: Особенности конструкции и эксплуатации сверх звукового транспортного воздушного судна (на примере самолета Ту-160)

Внимание! Если размещение файла нарушает Ваши авторские права, то обязательно сообщите нам

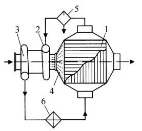
Образующиеся капли выносятся из конденсатора и улавливаются влагоотделителем 5. Далее сжатый воздух поступает на турбину 2 турбохолодильника для его охлаждения за счёт газодинамического расширения. В проточной части турбины происходят процессы гомогенной конденсации паров воды, а также дробления лопатками турбины капельной влаги, не уловленной влагоотделителем 5. В итоге на выходе турбины образуется аэрозольный туман с каплями диаметром 0,1...15 мкм. При попадании этого тумана в холодный тракт конденсатора 1 по мере увеличения температуры воздуха происходит практически адиабатическое испарение аэрозоля. Наличие водного аэрозоля резко увеличивает охлаждающую способность холодного воздуха.

Рис. 3. Принципиальная схема включения теплообменника-конденсатора[2]: 1 - теплообменник-конденсатор; 2 - турбина турбохолодильника; 3 - компрессор турбохолодильника; 4 - аэрозольный туман; 5 - влагоотделитель; 6 - ВВТ

.2 Турбохолодильники

.2.1 Конструкция и принцип работы турбохолодильника

Турбохолодильники - это лопаточные машины, в которых осуществляется близкий к адиабатическому процесс расширения потока воздуха с понижением его температуры. Заметим, что понижение температуры при расширении газов не единственный физический эффект, который можно использовать для искусственного охлаждения рабочего тела. Охлаждение достигается также, например, при фазовых превращениях, в процессах десорбции, при энергетическом разделении вихревых потоков, магнитотермических и магнитокалорических явлениях в парамагнитных веществах, использовании термоэлектрического эффекта, дросселировании.

При всех различиях перечисленных явлений у них есть одна общая принципиально важная особенность: стационарное (установившееся) охлаждение происходит только тогда, когда энергия, высвобождаемая при изменении теплового состояния рабочего тела, отводится от него и передается во внешнюю среду или в другие элементы системы. Более того, какими бы ни были исходные условия процессов охлаждения, количество потерянной теплоты будет зависеть от того, какая энергия отведена от рабочего тела.

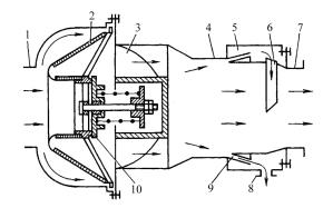
Рассмотрим работу ТХ (рис. 4). Сжатый воздух поступает в турбину через патрубок 1 и с помощью улитки 2 направляется в кольцевой сопловой аппарат 3. В сопловом аппарате вследствие изменения площади проходного сечения межлопаточных каналов скорость движения воздуха увеличивается, а давление падает. При падении давления в потоке температура газа понижается по

Рис. 4. Принципиальная схема турбохолодильника [2]: 1 - патрубок; 2 - улитка; 3 - сопловой аппарат; 4 - лопатки рабочего колеса; 5 - рабочее колесо турбины; 6 - вал; 7 - подшипник; 8 - рабочее колесо вентилятора

адиабатическому закону (если пренебречь теплообменом с окружающей средой). Ускоренный и охлаждённый поток воздуха подаётся затем на лопатки 4 рабочего колеса 5 турбины, при обтекании которых возникают силы, создающие момент вокруг оси вращения. Поток воздуха в межлопаточных каналах рабочего колеса может не только отклоняться от первоначального направления вследствие кривизны этих каналов, но и ускоряться при соответствующем изменении их поперечного сечения. В последнем случае охлаждение воздуха происходит не только в сопловом аппарате, но и в межлопаточных каналах рабочего колеса. Возникающий на рабочем колесе момент вращения передаётся через вал 6, установленный в подшипниках 7, к рабочему колесу 8 вентилятора или компрессора, выполняющему в данном случае роль потребителя энергии, отводимой от потока воздуха в турбине. Воздух в турбине движется от периферии к центру в плоскости, параллельной диску рабочего колеса. Такие турбины называют радиальными центростремительными. В особых случаях радиальные турбины могут быть и центробежными, хотя, как будет показано, направление потока от оси к периферии неэффективно для турбин, но рационально для компрессоров и вентиляторов. Достаточно широко (особенно в турбореактивных двигателях ЛА) распространены так называемые осевые турбины, в которых поток движется в цилиндрическом слое, параллельном оси рабочего колеса.

В ТХ происходят преобразование внутренней энергии потока воздуха в кинетическую и последующее превращение части кинетической энергии в работу. Итоговое понижение температуры воздуха на турбине ТХ определяется, с одной стороны, полнотой преобразования внутренней энергии газа в кинетическую энергию потока, а с другой - степенью превращения кинетической энергии потока в работу. В реальных турбинах процесс расширения газа сопряжен с потерями, из-за которых воздух в ТХ удаётся охладить лишь на 70...95 % разности температур, соответствующей адиабатическому закону расширения газа.

Отношение разности температур на входе и выходе в реальном турбохолодильнике ∆ТД к разности температур при адиабатическом расширении газа ∆ТАД при одинаковых значениях начальной температуры и степени понижения давления называется КПД турбохолодильника: ηтх = ∆ТД /∆ТАД .

Основным условием долговечности и надежности высокооборотных ТХ является нормальное функционирование системы смазки и охлаждения. Поэтому их совершенствованию уделяется большое внимание.

Выбор системы смазки зависит от конструкции ТХ и условий его эксплуатации. Подробно эти вопросы изложены в работе [8]. Смазка ТХ может осуществляться с помощью фитилей, подводящих масло из камеры, заполненной пористым материалом, пропитанным маслом. Другим способом является шнековая смазка, когда с помощью винтовых нарезок на валу масло подаётся к подшипникам. Для каждого подшипника выполняется своя нарезка. В ТХ с большим расходом применяют принудительную систему смазки, осуществляющую подачу к узлам подшипников масляного тумана, который обеспечивает не только смазку, но и охлаждение. В техническое обслуживание ТХ входит проверка наличия масла и его уровня без применения дополнительных средств контроля.

Для удобства контроля и обслуживания ТХ в системе смазки предусмотрен выносной уровнемер, выполняемый обычно в виде прозрачного цилиндра, на котором нанесены риски для контроля уровня масла. После отработки турбохолодильником установленного времени масло необходимо заменять. Для замены масла в конструкции ТХ должны быть предусмотрены сливная и заливная пробки, а при размещении ТХ - обеспечиваться возможность подхода к этим пробкам, а также доступность контроля.

При фитильной смазке масло в камеру заливают при помощи мерной ёмкости.

.2.2 Требования, предъявляемые к турбохолодильникам

Основными требованиями, предъявляемыми ко всем агрегатам авиационных систем, являются минимальные масса и габаритные размеры агрегата, высокий КПД, заданный уровень надёжности и живучести, производственная и эксплуатационная технологичность, максимальное использование стандартных, нормализованных и унифицированных деталей, точность выполнения присоединительных и крепёжных размеров, обеспечивающая взаимозаменяемость. В турбохолодильнике воздух, проходящий через турбинное колесо, не должен засоряться маслом, нагреваться до пожароопасной температуры и нарушать работоспособность других элементов летательного аппарата. Необходимо предусмотреть возможность установки ТХ на звукоизолирующем основании.

Использование новых, более совершенных материалов, обладающих повышенной прочностью при небольшой плотности (например, титановых сплавов), применение наиболее экономичных профилей сопловых и рабочих лопаток, обеспечение высокой чистоты и точности механической обработки элементов проточной части, использование специальных подшипников, уплотнений и маслоподводящих устройств позволяют получить наиболее рациональный, высокоэффективный ТХ.

Эффективность работы ТХ зависит от большого числа факторов, которые не всегда поддаются учёту с помощью теоретических расчётов. Поэтому при разработке новой конструкции ТХ проводится большой объём испытаний, в результате которых определяют функциональные и эксплуатационные характеристики агрегата и получают данные о влиянии чисто конструктивных параметров на качество ТХ.

.3 Элементы специального назначения

.3.1 Заслонки регуляторов температуры воздуха в гермокабине

Регулирование температуры воздуха в гермокабине (ГК) происходит в результате изменения температуры подаваемого в кабину воздуха при относительно постоянном расходе. Схемы возможных систем регулирования показаны на (рис. 5).

Регулирование температуры воздуха в ГК происходит следующим образом: воздух от компрессора разделяется на две линии - “горячую” и “холодную”. В “горячей” линии воздух в зависимости от температуры воздуха компрессора или частично охлаждается, или подогревается и через регулятор расхода поступает в общий трубопровод. В “холодной” линии воздух охлаждается и также поступает в общий трубопровод, где смешивается с горячим воздухом. Соотношение между расходами подаваемого в кабину горячего и холодного воздуха определяется положениями заслонок распределителя при схеме “а” или смесителя воздуха при схемах “б” и “г”, которые управляются с помощью привода по команде датчика температуры. При схеме “в” в кабину подаётся постоянно холодный воздух, а нужная температура обеспечивается подмешиванием к нему горячего воздуха с помощью заслонки регулятора температуры. В некоторых случаях для рационального использования холодного или горячего воздуха (холодный воздух - для создания вокруг человека микроклимата, горячий воздух - для защиты остекления от запотевания) в качестве смесителя используется сама кабина (схема “г”).

Рис. 5. Схемы систем регулирования температуры воздуха в ГК [2]: а - схема с распределителем воздуха; б - схема со смесителем воздуха; в - схема с одноканальной заслонкой; г - схема с раздельным вводом горячего и холодного воздуха; 1 - воздух, поступающий от двигателя; 2 - распределитель воздуха; 3 - агрегаты “горячей” линии; 4 - обратный клапан; 5 - воздух, поступающий в кабину; 6 - датчик температуры; 7 - ГК; 8 - регулятор температуры; 9 - агрегаты “холодной” линии; 10 - линия отбора холодного воздуха для создания микроклимата; 11, 13 - смеситель; 12 - одноканальная заслонка; М - мотор

Распределитель и смеситель регулятора температуры представляют собой агрегаты с двумя заслонками, кинематически связанными между собой рычагами и управляемыми электро- или пневмомеханизмом.

На (рис. 6) показана конструкция смесителя воздуха с электромеханизмом. Работа регулятора температуры воздуха в кабине происходит следующим образом: при отклонении температуры воздуха в ГК биметаллическая спираль, изменяя угол закрутки, замыкает электрический контакт, и электрический ток после усиления поступает на обмотку электродвигателя, который поворачивает заслонки. Поворот заслонок изменяет расход горячего и холодного воздуха и приводит к изменению температуры воздуха ГК.

 

Рис. 6. Смеситель воздуха с электромеханизмом [2]: 1 - заслонка “холодной” линии; 2 - корпус; 3,14 - ось; 4 - втулка; 5,11,13 - рычаг; 6, 10, 12 - тяга; 7 - пружина; 8 - качалка; 9 - электромеханизм; 15 - заслонка “горячей” линии; 16 - дренажный штуцер

В связи с большой инерционностью биметаллического термодатчика в настоящее время подобные регуляторы температуры заменяются на электронные регуляторы.

.3.2 Влагоотделители

При полёте самолета на малой высоте в воздухе, поступающем в ГК после его охлаждения в теплообменнике и турбохододильнике, влага содержится в парообразном и капельном состояниях. Капельная жидкость оседает на стенках трубопроводов, в блоках оборудования, что может вызывать отказ аппаратуры, или создает в кабине туман, затрудняющий экипажу самолёта пилотирование и вызывающий неприятные ощущения у пассажиров. Для удаления капельной влаги в СКВ устанавливаются влагоотделители (рис. 7).

Сложность применения механических влагоотделителей в СКВ связана с малыми размерами (до 10 мкм) капель влаги. Такие капли не отделяются центробежными силами, и их необходимо коагулировать (укрупнять) до

Рис. 7. Схема влагоотделителя с коагулятором [2]: 1 - входной фланец; 2 - коагулятор; 3 - винт; закручивающий поток; 4 - сепарационный канал; 5 - водоловушка; 6 - возвратная трубка; 7 - выходной фланец; 8 - дренажный штуцер; 9 - кольцевой зазор; 10 - предохранительный клапан

размеров 30...50 мкм. Для этого на входе во влагоотделитель устанавливается коагулятор из мелкоячеистой сетки (фетр), в порах которого капли задерживаются. В результате образуется плёнка жидкости, с которой затем воздушным потоком срываются укрупнённые капли.


2.3.3 Увлажнители воздуха

На больших высотах атмосферный воздух становится практически сухим. При длительных высотных полётах возникает неприятное ощущение сухости, которая может привести к заболеваниям гортани. Поэтому на некоторых самолётах в СКВ устанавливаются увлажнители воздуха. В увлажнителях воздуха парогенераторного типа вода в виде пара поступает в воздух. Электроувлажнители в СКВ применяются редко, так как при испарении воды в кипятильниках пар приобретает неприятный специфический запах.

Рис. 8. Форсуночный увлажнитель [2]: 1 - фланец; 2 - штуцер подвода воды; 3 - чека; 4 - кольцо; 5 - выходной фланец; 6 - стяжной винт; 7 - сетка; 8 - корпус; 9 - форсунка

Большое распространение получили конструкции испарительных увлажнителей (рис. 8) с пневматическим распылением воды непосредственно в увлажняемом воздухе. Такой увлажнитель, состоит из трубки Вентури, в горловине которой установлены форсунки 9, дозирующие и распыляющие воду в потоке воздуха. Неиспарившаяся вода попадает на сетку 7, где испаряется.

2.3.4 Фильтры

Подаваемый в кабину атмосферный воздух, загрязнённый взвешенными в нём твёрдыми частицами (пылью) размером от долей до десятков микрон, называется аэрозолем. К грубодисперсным аэрозолям относятся смеси с размером частиц от 1 до 100 мкм, к высокодисперсным - с размером менее 1 мкм.

Если попадающая в кабину вместе с воздухом пыль просто загрязняет кабину, то аэрозоли, осаждаясь на деталях электрорадиооборудования, изменяют параметры оборудования, что недопустимо. Поэтому в современных СКВ наличие аэрозольного фильтра считается обязательным.

В настоящее время разработаны специальные фильтрующие материалы, очищающие воздух от высокодисперсных аэрозолей. Эти материалы состоят из ультратонких волокон полиакрилата или стеклянных и базальтовых волокон и предназначены для фильтров, работающих при температуре до 250 или 450...600 °С соответственно.

2.3.5 Воздухопроводы

На пассажирских самолётах общая длина воздухопроводов СКВ достигает нескольких сот метров, а масса - 500...600 кг, что составляет 40...50 % массы всей системы. Воздухопроводы СКВ располагаются в гондолах двигателей, центроплане, проходят по пассажирским салонам, кабине экипажа. Трубы диаметром от 4 до 200 мм обеспечивают транспортировку воздуха с температурами от -40 до +600 °С и давлением до 2,6 МПа.

В основе проектирования воздухопровода лежат следующие положения:

минимальный вес и высокая надёжность в эксплуатации в течение всего технического ресурса самолёта;

геометрические размеры (диаметр и конфигурация) должны обеспечивать допустимое гидравлическое сопротивление;

применение современных технологий при изготовлении (автоматическая сварка, цельнотянутые трубы и т.п.) и монтаже (взаимозаменяемость отдельных участков); обеспечение компенсации температурных расширений и деформаций мест крепления на ЛА, герметичности воздухопровода.

Воздухопроводы изготавливаются из алюминиевых сплавов АМг или АМц, из стали Х18Н9Т, титановых сплавов ОТ4 или из армированных неметаллических материалов.

На воздухопровод воздействуют нагрузки, обусловленные внутренним давлением, монтажными и температурными деформациями, сосредоточенными массами (стыки труб, агрегаты), знакопеременными нагрузками при пульсации движущейся среды, вибрациями и т.п. Толщина стенок труб выбирается из прочностных расчётов по допустимому напряжению материалов при максимальной эксплуатационной температуре стенки.