Материал: Особенности конструкции и эксплуатации сверх звукового транспортного воздушного судна (на примере самолета Ту-160)

Внимание! Если размещение файла нарушает Ваши авторские права, то обязательно сообщите нам

, (6)

где - парциальное давление кислорода; ph - атмосферное давление на рассматриваемой высоте; - объёмная концентрация кислорода (в долях единицы); О2 - процентное содержание кислорода.

Парциальное давление кислорода в альвеолах легких отличается от парциального давления кислорода в атмосфере в связи с происходящими в альвеолах процессами газообмена:

, (7)

где - парциальное давление насыщенного водяного пара при температуре человеческого тела; - парциальное давление углекислого газа.

Из зависимостей (6) и (7) следует, что с ростом высоты даже при неизменном газовом составе атмосферного воздуха (характерном для гомосферы) парциальное давление кислорода уменьшается. Это вызывает снижение интенсивности процессов передачи кислорода в организм человека, причём его парциальное давление в альвеолах лёгких снижается в большей степени, чем в атмосфере.

При подъёме до высоты не более 2 км человек не испытывает какого-либо ухудшения самочувствия. С этой точки зрения диапазон высот от 0 до 2 км называют индифферентной зоной. На высотах от 2 до 3,5...4 км насыщение крови кислородом продолжает снижаться, но может быть парировано рефлекторным усилением деятельности сердца и лёгких. Данный диапазон высот называют зоной полной компенсации.

На высоте 3,5...4 км парциальное давление кислорода в альвеолярном воздухе становится равным 7,2...6,3 кПа (54...47 мм рт. ст.), и при дальнейшем увеличении высоты даже в условиях гипервентиляции легких нормальный газообмен нарушается. Эффекты кислородного голодания развиваются достаточно интенсивно, вплоть до полной потери человеком работоспособности, а нередко и потери сознания, которая у ряда лиц происходит на высотах 5...6 км, а у подавляющего большинства - на высотах 6...7 км. На высотах более 8 км возникают смертельно опасные для человека явления. Следует иметь в виду, что интенсивность кислородного голодания усиливается при выполнении человеком какой-либо работы.

Нормальная жизнедеятельность человека при подъёме на высоту может быть обеспечена поддержанием парциального давления кислорода в альвеолярном воздухе на уровне = 14,7 кПа (110 мм рт. ст.). Технически это можно осуществить путём поддержания соответствующего давления воздуха в окружающей человека среде (в герметической кабине или скафандре) или повышением процентного содержания кислорода во вдыхаемой смеси (применение кислородных приборов).

Требуемое изменение процентного содержания кислорода во вдыхаемом воздухе по высоте можно рассчитать с помощью формулы (8), задавшись необходимым (например, указанным выше) уровнем . В частности, можно установить, что на высоте 10 км необходимо подавать для дыхания чистый кислород, чтобы обеспечить в альвеолах парциальное давление кислорода, равное 14,7 кПа (110 мм рт. ст.). При дальнейшем подъеме будет снижаться даже при дыхании чистым кислородом. Из физиологических исследований известно, что минимальным парциальным давлением кислорода в альвеолах лёгких при котором кровь еще насыщается на 80...85 %, является давление 5,5...6,7 кПа (41...50 мм рт. ст.), что соответствует высоте 3,8...4,5 км при дыхании атмосферным воздухом или высоте 12,3...12,8 км, если для дыхания используется чистый кислород.

 (8)

Понижение атмосферного давления помимо кислородного голодания может вызвать ряд других неблагоприятных эффектов, в числе которых можно назвать высотный метеоризм, аэроэмболизм, высотную эмфизему и взрывную декомпрессию.

1.3 Влияние на человека теплового воздействия и влажности окружающей среды

В человеческом организме происходят процессы массоэнергообмена, при которых высвобождается энергия вследствие химического окисления веществ, получаемых с пищей, или окисления собственных органических веществ организма в случае, если суточный рацион не покрывает потребностей энергопотребления. Полученная энергия расходуется в основном на поддержание нормальной температуры тела 37 °С и на выполнение физической работы, к которой относится, в том числе и работа, затрачиваемая на поддержание определенного положения тела в гравитационном поле. Исследования показывают, что в общем балансе энергообмена доля, приходящаяся на внешнюю работу, совершаемую человеком, не превосходит в среднем 5 %, в то время как 95 % энергии выделяется в виде теплоты.

Теплообмен между человеческим организмом и окружающей средой происходит с помощью конвекции, испарения, излучения и теплопроводности. Интенсивность протекания этих процессов зависит от многих факторов - температуры, влажности и скорости движения окружающего человека воздуха, температуры ограждающих поверхностей, вида и свойств одежды, характера выполняемой работы и т.п.

Согласно официально принятому в США инженерами-теплотехниками и специалистами по системам кондиционирования воздуха определению [4] под тепловым комфортом подразумевается такое душевное состояние человека, при котором он выражает удовлетворённость микроклиматическими условиями окружающей его среды. Такое очевидно субъективное состояние соответствует полному тепловому равновесию, поддержание которого требует минимальных физиологических усилий, т.е. это состояние, при котором вся метаболическая (т.е. выработанная в организме) теплота быстро передается среде, непосредственно окружающей человека, не вызывая у него каких-либо значительных реакций (потения или озноба). Опыты свидетельствуют, что в состоянии теплового комфорта потребление человеком кислорода минимально (это, несомненно, важно для космических летательных аппаратов).

1.4 Влияние высоты и скорости полета на авиационные системы охлаждения воздуха. Работоспособность авиационных систем охлаждения по высоте и скорости полета

Как известно, холодопроизводительность систем охлаждения определяется двумя неизвестными, но не вполне равнозначными параметрами: температурой и расходом воздуха на выходе из системы. Неравнозначность их заключается в том, что получить требуемый расход воздуха для обеспечения заданной холодопроизводительностью в современных авиационных системах кондиционирования обычно технически проще, чем охладить воздух до более низкой температуры. Кроме того, повышение температуры на выходе из системы до уровня, превосходящего заданную температуру в охлаждаемом объекте, не может быть компенсировано никакими увеличением расхода воздуха. Система охлаждения воздушного цикла являются наиболее распространенными в современной авиационной технике, поэтому рассмотрим, как зависит их характеристика от скорости и высоты полета. При скорости полета, равной нулю, температура воздуха на выходе из системы, состоящей из компрессора, воздухо-воздушного радиатора и турбохолодильника, будет определяться зависимостью по формуле (9):

выхвх (9)

 

Где Т-температура на входе в турбохолодильник, которая для случая идеального теплообменника и нулевой скорости полета будет ровна статической температуре в атмосфере Т, а степень понижения давления воздуха П в турбохолодильнике будет определяться степенью повышения давления в компрессоре. При увеличении скорости полета в следствие торможения набегающего потока будет изменяться температура воздуха на входе в турбохолодильник, так и степень понижения давления в нем . Входящая температура будет равной температуре торможения:

 (10)

А степень понижения давления воздуха в турбине увеличится во столько раз, во сколько увеличится давление торможения

 (11)

 

Следовательно, для идеальных систем охлаждения воздушного цикла температура воздуха на выходе из системы не изменяется при изменении скорости полета. В реальных системах все процессы сопровождаются какими-либо потерями. Вследствие этого в реальных системах охлаждения воздушного цикла температура воздуха на выходе, чем в идеальных ,причем эта разница возрастает с увеличением температуры набегающего потока при соответствующем увеличении скорости полета. Таким образом ,всегда существует скорость полета, при повышении которой система становится неработоспособной вследствие перехода за требуемый уровень выходной температуры.


2. Основные агрегаты авиационных систем кондиционирования воздуха

.1 Теплообменные аппараты

Теплообменным аппаратом (теплообменником) называется агрегат, в котором происходит процесс передачи теплоты от среды с большей температурой к среде с меньшей температурой [2].

В СКВ применяются следующие типы теплообменников:

воздухо-воздушные (ВВТ);

топливовоздушные (ТВТ), в которых охлаждение воздуха происходит с помощью топлива, подаваемого из баков в двигатели самолета;

испарительные, в которых охлаждение воздуха происходит в результате изменения агрегатного состояния хладоносителя (воды, водоспиртовых смесей, сжиженных газов и т.п.).

Анализ современных СКВ показывает, что масса теплообменников на некоторых самолётах достигает 30 % массы системы [2].

Авиационные теплообменники характеризуются максимальной интенсификацией теплообмена, минимальными габаритными размерами и гидравлическим сопротивлением. Это обусловливает применение в их конструкции тонкостенных элементов и, следовательно, усложнение технологии изготовления.

В зависимости от направления относительного движения теплоносителей теплообменники бывают прямоточные, противоточные и перекрёстноточные. В прямоточных теплообменниках тепло и хладоносители движутся параллельно в одном направлении друг с другом, поэтому разность температур по длине теплопередающей поверхности уменьшается (один поток охлаждается, а другой - нагревается); этот тип теплообменников наименее эффективен. В противоточном теплообменнике потоки движутся навстречу друг другу, при этом разность температур мало изменяется и теоретически можно охладить теплоноситель до входной температуры хладоносителя. Однако реализовать конструкцию противоточного компактного авиационного теплообменника не всегда удаётся. Поэтому на практике очень часто применяют перекрёстноточные многоходовые теплообменники. В перекрёстноточном многоходовом теплообменнике (при двух-трёх ходах) удаётся обеспечить практически ту же эффективность, что и в противоточном. Обобщенной характеристикой совершенства теплообменника является его эффективность, или температурный КПД η, представляющий собой отношение количества переданной теплоты Q к максимально возможному её значению Qmax.

Эффективность теплообменника зависит от относительного движения теплоносителей, отношения водяных эквивалентов и совершенства теплообменной поверхности.

Современные теплообменники характеризуются значениями коэффициента теплопередачи kт. ср = 75...140 Вт/(м2·К) [6]. Эффективность теплообменника η = 0,5...0,95 и зависит в основном от его конструкции и соотношения водяных эквивалентов холодного и горячего потоков.

Выбор размеров теплообменника производится в каждом конкретном случае с учётом условий его компоновки на самолёте.

По конструктивному оформлению теплопередающей поверхности теплообменники можно разделить на две группы: трубчатые и пластинчатые.

В трубчатых теплообменниках горячий воздух высокого давления проходит внутри трубок, а хладоноситель - между трубок.

Большое распространение благодаря высокой интенсификации теплообмена, компактности и простоте изготовления получили пластинчато-ребристые теплообменники.

В пластинчато-ребристых теплообменниках теплопередающая поверхность состоит из плоских листов, между которыми располагаются гофрированные листы. Гофры, соединяя плоские листы в монолитную конструкцию, выполняют роль рёбер, значительно увеличивающих теплопередающую поверхность и повышающих прочность теплообменника.

.1.1 Воздухо-воздушные теплообменники

Охлаждение воздуха, отбираемого от компрессора двигателя, происходит за счёт передачи теплоты окружающей атмосфере. Наиболее распространён компактный ВВТ, в котором теплота отводится к специально организованному потоку продувочного воздуха. Часто встречается схема продува ВВТ с помощью вентилятора турбохолодильника. В этой схеме вентилятор обеспечивает продувку теплообменника при стоянке самолёта и его рулёжке по аэродрому, а в полёте основным побудителем движения продувочного воздуха становится скоростной напор. Вентилятор во время полёта может оказаться “узким местом”, ограничивающим расход и не позволяющим достигнуть максимально возможной эффективности ВВТ. Для преодоления данного недостатка схема может быть модернизирована введением обводной линии (вокруг вентилятора), соединяющей выходную полость теплообменника через обратный клапан с атмосферой. Увеличивая расход продувочного воздуха, удаётся получить коэффициент эффективности радиатора η = 0,8...0,85.

Понятие стартовой массы, заключается в идее о неэквивалентности установочной массы системы или агрегата с суммарной затратой массы на самолёте, учитывающей расход топлива на работу этой системы или агрегата и на транспортировку их на борту ЛА. Так, например, для работы ВВТ необходимо из общего потока отобрать какую-то часть воздуха, изменить направление его скорости и саму величину скорости, нагреть этот поток и выпустить в атмосферу. По оценке, приведенной в работе [7], стартовая масса отбора воздуха может превышать массу теплообменника в 20 раз. Отсюда вытекает важность оптимального выбора параметров теплообменника.

2.1.2 Канальные воздухо-воздушные теплообменники

Вместо компактных теплообменников на некоторых самолётах применяются поверхностные - канальные теплообменники, в которых стенка канала воздухозаборника представляет собой теплопередающую поверхность. Эта поверхность обдувается воздухом, поступающим в двигатель самолёта. Вследствие большого расхода воздуха в канале (50...200 кг/с) происходит интенсивная теплопередача и величина ηВВТ = 0,95. Сложность компоновки самолёта с таким радиатором (длина радиатора для СКВ с расходом 2500 кг/ч должна составлять около 1,5 м) и большая масса теплообменника не позволяют его применять на любом самолёте.

2.1.3 Воздухо-жидкостные испарительные теплообменники

Использование скрытой теплоты парообразования является одним из широко применяемых способов охлаждения воздуха в СКВ. В настоящее время многие скоростные самолёты в составе СКВ имеют воздухо-водяные или воздухо-водоспиртовые испарительные теплообменники. В испарительных теплообменниках охлаждаемый воздух, проходя по каналам, передаёт теплоту жидкости через стенки. Жидкость нагревается и при достижении насыщения при данном давлении начинает кипеть, интенсивно испаряясь. Воздухо-водяные испарительные теплообменники имеют коэффициент эффективности η = 0,85...0,9.

Наибольшее распространение в качестве хладагента получила вода. Она имеет крупный недостаток - замерзание при отрицательных температурах, однако её дешевизна, большая теплота парообразования заставляют конструкторов находить способы защиты конструкции от разрушения при замерзании воды.

2.1.4 Воздухо-водовоздушные испарительные теплообменники (ВВИТ)

 В целях повышения эффективности охлаждения горячего воздуха в испарительных теплообменниках и уменьшения выходной температуры в ряде систем применяется охлаждение за счёт увлажнения продувочного воздуха посредством впрыска в него воды. Испарение воды в потоке воздуха приводит к существенному снижению его температуры.

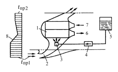
В качестве испарительного теплообменника с впрыском (рис. 2) применяют обычные ВВТ, как пластинчато-ребристые, так и трубчатые. Во входном патрубке продувочной линии устанавливается форсунка, через которую впрыскивается вода или водоспиртовая смесь. Расход жидкости зависит от тепловой нагрузки на теплообменник, температуры продувочного воздуха и выходной температуры горячего воздуха, как правило, выше 45 °С.

Рис. 2. Схема продувки воздухо-водовоздушного испарительного теплообменника [2]: 1 - теплообменник; 2 - воздухозаборник; 3 - форсунка; 4 - запорный кран; 5 - водяной бак; 6 - охлажденный воздух; 7 - горячий воздух; 8 - эпюра температуры продувочного воздуха tпр

2.1.5 Особенности теплообменника-конденсатора

Теплообменник-конденсатор применяется для выделения влаги из воздуха в линии высокого давления до турбины турбохолодильника и включается в систему по схеме “петля” (рис. 3). После дополнительного сжатия воздуха в компрессоре 3 и охлаждения в ВВТ 6 сжатый воздух подаётся в горячий тракт конденсатора 1. В результате отвода от него теплоты при переходе точки росы происходит капельная конденсация влаги на стенках каналов.