Материал: Особенности конструкции и эксплуатации системы смазки двигателя автомобиля МАЗ-5551

Внимание! Если размещение файла нарушает Ваши авторские права, то обязательно сообщите нам

применять самодельные нагревательные электроприборы.

На участке должен быть умывальник, чем соблюдается производственная гигиена. Так же имеется урна для мусора, куда в процессе ремонтных работ складируются все отходы.

Кроме всех перечисленных мероприятий необходимо создать соответствующий интерьер помещения и организовать комнату психологической разгрузки, где рабочие могут отдохнуть во время обеденного перерыва и во время регламентированных перерывов для отдыха.

Заключение

Значение автомобильного транспорта в жизни страны трудно переоценить. Увеличивающаяся дальность автобусных и грузовых перевозок в сочетании с совершенствованием эксплуатационных качеств автомобилей, улучшением состояния существующих автодорог и строительством новых делают доступными дальние регионы страны, отдаленные сельские и горные населенные пункты. Во многих регионах автомобильный транспорт является основным средством передвижения и перевозки грузов.

Предмет «Устройство автомобилей» - первый и основной раздел, с которого студенты учебных заведений начинают изучение дисциплины под общим названием «Автомобили». Знание устройства автомобилей позволяет организовать качественное обслуживание и ремонт, а также эксплуатацию автомобильного транспорта.

Данная курсовая работа выполнена мною для закрепления знаний по действующей учебной программе по предмету «Устройство автомобилей» с учетом требований Государственного образовательного стандарта

В работе рассматривается устройство и принцип работы системы смазки двигателя автомобиля МАЗ-5551.

Список литературы и интернет-ресурсы

1. Вахламов В.К. Автомобили: эксплуатационные свойства. - М.: «Академия», 2010 г.

2. Вахламов В.К. Конструкция, расчет и эксплуатационные свойства автомобилей. - М.: «Академия», 2010 г.

3. Кузнецов <#"870456.files/image025.gif">

1  -  масляный картер; 2 - маслозаборник; 3 - масляный насос; 4 - редукционный клапан; 5 - жидкостно-масляный теплообменник; 6 - фильтр очистки масла; 7 - перепускной клапан; 8 - сигнальная лампа фильтра; 9 - фильтр центробежной очистки масла; 10 - распределительный вал; 11 - ось толкателей; 12 - коленчатый вал; 13 - предохранительный клапан; 14 - форсунка охлаждения поршней; 15 - дроссель; 16 - турбокомпрессор; 17 - сливной клапан теплообменника; 18 - включатель привода вентилятора; 19 - привод вентилятора; 20 - ТНВД

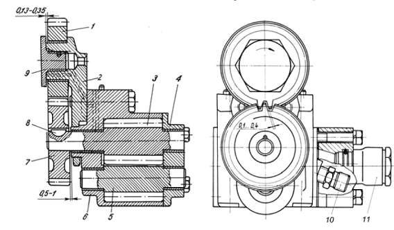
- промежуточная шестерня; 2 - ось промежуточной шестерни; 3 - вал-шестерня ведущая; 4 - крышка корпуса; 5 - вал - шестерня ведомая; 6 - корпус; 7 - шестерня привода; 8 - шпонка; 9 - фланец упорный; 10 - штуцер (присутствует только на двигателях без водомасляного теплообменника); 11 - редукционный клапан

- корпус фильтра; 2 -  прокладка колпака; 3 - замковая крышка; 4 - колпак фильтра; 5 - фильтрующий элемент; 6 - головка колпака; 7 - прокладка фильтрующего элемента; 8 - плунжер клапана; 9 - пружина клапана; 10 - пружина сигнализатора; 11 - подвижный контакт сигнализатора; 12 - неподвижный контакт; 13 - клемма

1 - колпак фильтра; 2, 7 - шайбы; 3 - колпачковая гайка; 4 - гайка крепления ротора; 5 - упорная шайба; 6 - гайка ротора; 8, 14 - втулки ротора; 9 - колпак ротора; 10 - ротор; 11 - отражатель; 12 - уплотнительное кольцо; 13 - прокладка колпака; 15 - ось ротора; 16 - корпус фильтра; 17 - сопло ротора; А - из системы под давлением; Б - слив масла в картер

- шланг отводящий; 2 - шланг подводящий; 3, 9, 10, 14 - кронштейны; 4, 19 - гайки; 5, 6, 17 - шайбы; 7, 16, 27 - болты;  8 - кронштейн верхний;  11 - радиатор; 12 - кронштейн нижний; 13, 18 - хомуты; 15, 20, 26 - кляммеры; 21 - шланг L = 1500 мм; 22, 24 - фланцы; 23 - кран; 25 - шланг L = 1300 мм; 28 - прокладка