Материал: Организация строительства 9-этажного 54-квартирного жилого здания

Внимание! Если размещение файла нарушает Ваши авторские права, то обязательно сообщите нам

Список основных строительных конструкций

Наименование строительных конструкций, изделий, материалов.

Единицы измерения

Количество

1. Фундаментные блоки

шт.

142

2. Панели: наружные  внутренние

шт. шт.

252 225

3. Крупнопанельные перегородки

шт.

180

4. Кирпич

тыс.шт

13.8

5. Плиты перекрытий

шт.

280

6. Лестничные марши

шт.

22

7. Плиты балконов и лоджий

шт.

36

8. Блоки сантехкабин

шт.

54

9. Вентиляционные блоки

шт.

108

10. Плиты покрытия

шт.

28

11. Гидроизоляционные материалы

100 м2

8.5

12. Звукоизоляционные материалы

100 м2

90.6

13. Цементный раствор

м3

52

14. Плитка

м2

752

15. Линолеум

м2

2160

16. Оконные рамы

шт.

162

17. Дверные рамы

шт.

342

18. Стекло

м2

648

19. Обои

м2

3418


Стройгенплан

А) Подбор кранов, их привязка, определение зон действия

Выбор кранов осуществлялся в два этапа:

. Исходя из габаритов здания выбираем для монтажа подземной части самоходный кран на автомобильном шасси, а для монтажа надземной части кран башенный рельсовый.

. Внутри выбранной группы по рабочим характеристикам выбираем марку крана:

Самоходный кран

) Необходимая грузоподъемность крана= qmax * k = 1,5 * 1.1 = 1.65 т,

где qmax = 1.75т (вес фундаментного блока) вес наиболее тяжелого из монтируемых элементов;

k - коэффициент, учитывающий массу грузозахватных устройств.


) Требуемый вылет стрелы кранак = а + с + bn = 2.75 + 2 + 6.0 = 10.75 м,

где а - расстояние от оси вращения крана до края бровки и ширина заложения откоса;

с - расстояние от подошвы откоса до оси стены здания;

bn - ширина подземной части.

) Требуемая высота подъема крюка крана

Нтр = h1 + h2 + h3 + h4 = 0.5 + 0.3 + 0.5 + 2 = 3.3 м,

где h1 - высота самого высокого монтажного уровня;

h2 - высота элемента. монтируемого на этот уровень;

h3 - зазор в 0.5 м;

h4 - высота грузозахватных устройств.

Принимаем автомобильный кран КС-4561 со следующими характеристиками:

вылет наименьший 14м;

грузоподъемность 16 т;

высота подъема стрелы 24м.

Башенный кран

) Выбор крана производят на основании анализа следующих параметров:

Требуемой грузоподъемности Q;

Максимального вылета стрелы L;

Наибольшей высоты подъема крюка Н.

Требуемая грузоподъемность выбираемого крана G рассчитывается по формуле:

кр = Gгр + G гр.у * k = 5.7+ 0.1 * 1.1 = 5.81 т;

где: Gгр=5.7т(масса плиты покрытия)- масса поднимаемого элемента (груза);гр.у - масса грузозахватного устройства G гр.у.=01 т.

Вылет стрелы определяется по формуле:

= a/2 + b + c = 7.5/2 + 3 + 22.4 = 29.15 м.

где: a - ширина подкранового пути.- расстояние от ближнего к зданию подкранового рельса до ближайшей выступающей части здания.

с - расстояние от центра тяжести груза до наиболее выступающей части здания.

Требуемую высоту подъема грузового крюка крана находим по формуле:

Нтр = hо + hзап + hэл + hг = 28.55 + 0.5 + 2.8 + 1.2 = 33.05 м,

где: hо - уровень верхнего монтажного горизонта;зап - запас по высоте, необходимый для установки и проноса элемента над ранее смонтированными конструкциями, принимается по правилам техники безопасности 0.5 м;эл - наибольшая из высот поднимаемых грузов в положении подъема;г - высота грузозахватного устройства.

Принимаем башенный кран КБ - 405 со следующими характеристиками:

1. Грузоподъемность максимальная  минимальная

4 т. 8 т.

2. Вылет

30 м.

3. Высота подъема

54 м.


Привязка монтажных кранов необходима для определения возможности монтажа выбранным механизмом и безопасных условий его работы.

Самоходный кран

Поперечная привязка


где В - минимальное расстояние от ближайшей к котловану опоры крана до наружной грани сооружения;

Башенный кран

Поперечная привязка


где В - минимальное расстояние от оси подкрановых путей до наружной грани сооружения;

bк - колея крана;

lmin - минимальное приближение ближайшего рельса к выступающим частям здания.

Продольная привязка


где Lп.п. - длина подкрановых путей;

lк.с. - расстояние между крайними стоянками крана;

H - база крана;

lторм. - величина тормозного пути крана (не менее 1.5 м);

lтуп. - расстояние от конца рельса до тупиков (не менее 0.5 м).

Определяемую длину подкрановых путей корректируем в сторону увеличения с учетом кратности длины полузвена, то есть 6.25 м.


Привязка ограждения подкрановых путей

Ее производят исходя из необходимости соблюдения безопасного расстояния между конструкциями крана и ограждением.

Расстояние от оси ближайшего к ограждению рельса до ограждения определяют по формуле:


где Rпов - радиус поворотной платформы крана.

Определение зон действия крана:

а). Монтажная зона - пространство, где возможно падение груза при установке или закреплении элементов. Она равна контуру здания плюс 7 метров при высоте здания до 20 метров.

б). Рабочая зона крана - это пространство, находящееся в пределах линии, которую описывает круг крана. Rmax = 30 м.

в). Зона перемещения груза - пространство, находящееся в пределах возможного перемещения груза, подвешенного на крюке крана. Зона определяется расстоянием по горизонтали от границы рабочей зоны крана до возможного места падения груза в процессе его перемещения. Граница зоны определяется суммой максимального рабочего вылета стрелы и ширины зоны, принимаемой равной 1.5 длины самого длинного элемента.

Rп.г. = Rmax + 1.5 * lmax = 30 + 1.5 * 4.8 = 37.2 м.

г). Опасная зона - пространство, где возможно падение груза при его перемещении с учетом вероятного рассеивания при падении.

оп. = Rmax + 1.5 * lmax + lбез. = 30 + 1.5 * 4.8 + 7 = 44.4 м.

д). Опасная зона подкрановых путей - территория, внутри которой запрещено нахождение людей и размещение механизмов.

е). Опасная зона дорог - зона дорог, которая попадает в опасную зону.

Расчет площадей складов

Расчет необходимых площадей складов производится в следующей последовательности:

Расчет необходимых запасов хранимых ресурсов

Выбор метода хранения

Расчет площади складов по видам хранения.

Определение производственных запасов

Объем складируемого ресурса:


где Робщ - общий объем ресурса; Т - весь период строительства; Тн - нормативный срок, так как строящееся здание расположено в пригороде и доставка строительных материалов не представляет трудностей, принимаем равным 2 дням;- коэффициент неравномерности поступления материалов; k2 - коэффициент неравномерности потребления материала.

Фактическая площадь склада:

ф = Σ(Sр * кпр)

где Sр - расчетная площадь склада; кпр - коэффициент проходов и проездов.

р = Sн * Рскл

где Sн - нормативная площадь склада; Рскл - объем складируемого ресурса.

 Материалы и изделия

Продолжите-льность потребления Т

Потребность в ресурсах

Коэф. неравн.

Срок запаса, дни

Расчетный запас материала Рскл = Рсут·Тр

Площадь склада, м2

                   Робщ м3             м3к1к2ТнТр = Тн·к1·к2Sн - норм.пл. на 1 ресурсаSр = Sн·Рскл,

м2Sф = Sр·кпр

м2









 

1. Панели

13

858.5 м3

66.04

1.1

1.3

2

2.86

188.9 м3

1

188.9

245.6

2. Плиты

13

 1663

127.9

1.1

1.3

2

2.86

365.8 м3

1

365.8

475.5

3. Лестничные марши

13

116.5

8.9

1,1

1.3

2

2.86

25.45 м3

1

25.45

33.09

4. Блоки сантехкабин

13

375.65

375.65

1.1

1.3

2

2.86

76.74 м3

1

76.74

99.76

5. Вент. блоки

13

9.50

133.06

1.1

1.3

2

2.86

27.18 м3

1

27.18

35.33


Панели

Тр = Тн * к1 * к2 = 2 * 1.1 * 1.3 = 2.86 дней. Рскл = Рсут * Тр = 62.3 * 2.86 = 178.2 м3.р = Sн * Рскл = 1 * 178.2 = 178.2 м2. Sф = Sр * кпр = 178.2 * 1.3= 231.7 м2.

Кирпич

 

Тр = Тн * к1 * к2 = 2 * 1,1 * 1,3 = 2,86 дней. Рскл = Рсут * Тр = 27* 4 = 108 м3..р = Sн * Рскл = 1 * 108 = 108 м2. Sф = Sр * кпр = 108 * 1.3= 104.4 м2.

Плиты

Тр = Тн * к1 * к2 = 2 * 1,1 * 1,3 = 2,86 дней. Рскл = Рсут * Тр = 128.9 * 2,86 = 362.7 м3.р = Sн * Рскл = 1,0 * 362.7 = 362.7 м2. Sф = Sр * кпр = 362.7 * 1.3 = 471.5 м2.

Лестничные марши

Тр = Тн * к1 * к2 = 2 * 1,1 * 1,3 = 2,86 дней. Рскл = Рсут * Тр = 8.9 * 2,86 = 25.45 м3.р = Sн * Рскл = 1 * 25.45 = 25.45 м2. Sф = Sр * кпр = 25.45 * 1.3 = 33.09 м2.

Блоки сантехкабин

Тр = Тн * к1 * к2 = 2 * 1,1 * 1,3 = 2.86 дней. Рскл = Рсут * Тр = 26,83 * 2,86 = 76.74 м3.р = Sн * Рскл = 1.0 * 76,74 = 76.74 м2. Sф = Sр * кпр = 76.74 * 1.3 = 99.76 м2.

Вентиляционные блоки

Тр = Тн * к1 * к2 = 2 * 1,1 * 1,3 = 2,86 дней. Рскл = Рсут * Тр = 9,50 * 2,86 = 27,18 м3.р = Sн * Рскл = 1.0 * 27,18 = 27.18 м2. Sф = Sр * кпр = 27.18 * 1.3 = 35.33 м2.

Необходимая площадь складов 975.8 м2.

7. Обоснование решений строительного генерального плана объекта с расчетами площадей приобъектных складов, временных зданий и выбором их типов, потребности в воде и электроэнергии

Проектирование временных дорог

Для внутрипостроечных перевозок пользуются автомобильным транспортом. Строительная площадка должна иметь удобные подъезды и внутрипостроечные дороги для осуществления бесперебойного подвоза материалов, машин и оборудования в течении всего строительства.

Проектирование временных автодорог включает:

разработку схемы движения транспорта и расположение дорог в плане;

определение параметров дорог;

установление опасных зон;

назначение конструкции дорог.

Схема движения автотранспорта должна обеспечить подъезд в зону действия монтажных и погрузочно-разгрузочных механизмов, к складам, мастерским, бытовым помещениям. Построечные дороги должны быть кольцевыми, на тупиковых подъездах устраивают разъездные и разворотные площадки.

Параметрами временных дорог являются число полос движения, ширина полотна и проезжей части, радиусы закругления. В данном проекте принимаем двухполосную дорогу шириной 6 метров, радиус закругления 12 метров.

Конструкция дорог принимается из сборных железобетонных инвентарных плит положенных на песчаную пастель толщиной 20 мм. Размер плит 3500 x 6000 мм.

В) Расчет временных зданий

Временными зданиями называют надземные подсобно-вспомогательные и обслуживающие объекты, необходимые для обеспечения производства строительно-монтажных работ. По назначению временные здания делят на производственные, административные, санитарно-бытовые, складские, жилые и общественные. По конструктивному решению здания могут быть инвентарные и неинвентарные.

Потребность во временных зданиях и сооружениях определяется по действующим нормам на расчётное количество рабочих и инженерно-технических работников.

Максимальная численность рабочих:


муж. 16 чел.



жен. 8 чел.


Максимальная численность инженерно-технических работников:


муж. 3 чел.



жен. 1 чел.


Максимальная численность рабочих в наиболее загруженную смену:


муж. 16 чел.



жен. 18 чел.


Максимальная численность инженерно-технических работников в наиболее загруженную смену:


муж. 2 чел.



жен. 1 чел.


Максимальное количество рабочих принимаем по графику потребности в трудовых ресурсах. Количество рабочих в максимально загруженную смену принимаем равным максимальному количеству рабочих, т. к. в период пика потребления трудовых ресурсов работы ведутся в одну смену

Наименование временных зданий

Числ. перс., чел.

Норма, м2 / чел.

Расчет. площ. S, м2

Фактическая площадь Sф, м2

Размеры, м x м

Количест. зданий, шт.

Используемый тип

 I. Административные


1. Контора на 3 места по обслуживанию 100-200чел.

4

4

3*4

24.3

2.7 x 9

1

контейн.

2. Контора мастера с помещением для обогрева и кладовой


4


41.4

6 x 6,9

1

контейн.

3. Кабинет по технике безопасности и помещение для собраний


15м²


24.3

2.7 x 9

1

контейн.

4. Сторожевая будка

2


2*3=6

6

2 x 1.5

2

неинв.

 II. Санитарно-бытовые здания


5. Гардероб с душевой и помещение для личной гигиены женщин

54 М 16 Ж 16

 0.9 0.9

 0.9*16 0.9*16

 24.3 24.3

 2.7 x 9 2.7 x 9

М  1

Ж 1

контейн. контейн.

6. Туалет

М 16 Ж 8



8.1 8.1

2,7 x 3 2.7 x 3

1

 1

контейн. контейн.

7. Умывальная

24

0.05

1.2

8.1

2.7 x 3

1

контейн.

8. Помещение для обогрева рабочих

24

1

24

16.2

2.7 x 9

2

контейн.

9. Помещение для сушки специальной одежды и обуви

24

 0.2

4.8

16.2

2.7 x 6

1

контейн.

10. Столовая на 20 мест

24

1.2

28.8

124.2

6.9 x 18

1

контейн.

11. Здравпункт, м² на 270чел




27.9

4.0 x 6.9

1

контейн.

 III. Производственные

12. Кладовая материальная и инструментальная




68.4

6.0 x 11.4

1

контейн.

13. Отапливаемый материальный склад




360

12.0 x 30.0

1

сборно-разборный

14. Холодный материальный склад




288

12.0 x 24.0


сборно-разборный


Общая площадь временных зданий 1069.8 м².

Из вышеописанных зданий формируют бытовой городок. Располагают его на территории строительства таким образом, чтобы наиболее удалённая точка возводимого объекта располагалась на расстоянии не более, чем 150 м.

Городок огораживают, подводят к нему временные коммуникации.

Г) Расчет потребности в электроэнергии, освещении

Порядок проектирования временного электроснабжения строительства следующий:

расчет электрических нагрузок по периоду пика;

определение количества и мощностей трансформаторных подстанций;

размещение на СГП трансформаторных подстанций, силовых и осветительных сетей;

составление схемы электроснабжения.

Расчет электрической нагрузки проводится по формуле:


где Ртр - требуемая мощность;

α - коэффициент, учитывающий потери в сети;

кс1 … кс5 - коэффициенты спроса, зависящие от числа потребителей;

соsφ1 … соsφ5 - коэффициенты мощности, зависящие от количества загрузки потребителей;

ΣРс - суммарная мощность силовых потребителей;

ΣРт - суммарная мощность, необходимая для технологических нужд;

ΣРо.в. - суммарная мощность внутреннего освещения;

ΣРо.н. - суммарная мощность наружного освещения;

ΣРсв - суммарная мощность всех установленных сварочных трансформаторов.

Суммарную мощность силовых потребителей в период пика определяем по графику электрической нагрузки.

Расчет электрических нагрузок. Определение мощностей по видам потребителей

1.

Силовая электроэнергия

 = 140,5 кВт.


- КБк-160.2, 2 шт.

Рс = 61,5 * 2 = 123 кВт.


- машина для приема, приготовления, подачи растворов СО-126, 3 шт.

Рс = 4 * 3 = 12 кВт.


- различные мелкие инструменты и механизмы

Рс = 5,5 кВт.

2.

Потребители для технологических нужд

 = 0 кВт.

3.

Освещение внутреннее

 = 9,48 кВт.


- мастерские, конторы, бытовки

Рс = 626,4 * 15 = 9,4 кВт.


- закрытые склады

Рс = 41,4 * 2 = 0,08 кВт.

4.

Наружное освещение

 = 13,37 кВт.


- освещение территории стройплощадки (164,2 x 112,4)

Рс = 18456,08 * 0,4 = 7,38 кВт.


- открытые склады * (12 x 60), 2 шт.

Рс = 1440 * 2,0 = 2,88 кВт.


- освещение монтажа

Рс = 1036,8 * 3,0 = 3,11 кВт.

5.

Сварочные машины


- СТЭ-24, 2 шт.

Рс = 54 * 2 = 108 кВт.

. Суммарная потребная мощность


Подбор источника электропитания

В качестве источника электропитания принимаем комплексные трансформаторные подстанции КТП СКБ Мосстроя мощностью 320 кВ А.

Расчет количества прожекторов для:

освещения стройплощадки


где p - удельная мощность прожектора;

Е - необходимая освещенность;

S - площадь, подлежащая освещению;

pл - мощность лампы.

= 164,2 * 112,4 = 18456,08 м2, p = 0,3 Вт/м2*люкс для ПЗС-35, Е = 2 люкса,л = 500 Вт.


Так как ширина стройплощадки менее 150 м, то мощность прожектора может быть менее 1,5 кВт. Принимаем 11 опор по 2 лампы на каждой.

Высоту установки осветительного прибора принимаем равной 25 м. При этом расстояние между опорами осветительных приборов должно лежать в пределах 30 - 100 м.

освещения места производства работ

S = 1036,8 м2, p = 0,3 Вт/м2*люкс для ПЗС-35, Е = 20 люкс, pл = 500 Вт.


Принимаем 6 опор по 2 лампочки на каждой.

Д) Расчет потребности в воде, подбор диаметров труб

Временное водоснабжение предназначено для обеспечения производственных, хозяйственно-бытовых и противопожарных нужд. Расчет потребности в воде производится для периода с наибольшим потреблением. Для этого определяются суточный расход воды по группам потребителей, исходы из установленных нормативов.

Суммарный расход воды определяется по формуле


где Qпр - расход воды на производственные нужды;

Qхоз - расход воды на хозяйственно-бытовые нужды;

Qпож - расход воды на противопожарные цели.


где кн.р. - коэффициент неучтенного расхода воды;

qn - удельный расход воды на производственные нужды;

nn - число потребителей в наиболее загруженную смену;

кr - коэффициент часовой неравномерности;

t - число учитываемых расчетом часов в смену.

где qх - удельный расход воды на хозяйственно-бытовые нужды;

qд - расход воды на прием одного душа;

 - количество рабочих в наиболее загруженную смену;

nд - число человек в душе;

кr1 - коэффициент часовой неравномерности;

t1 - продолжительность использования душевой установки;

60 - количество секунд в минуте.

 так как площадь строительного участка менее 10 га.

1.  Расход воды на производственные нужды

Потребитель воды

Един. измер.

Количество (в смену)

Расчет расхода воды, л

кr

t

1. Штукатурные работы

1 м2

74

74 * 7 = 516 л

1.5

8

2. Устройство цементной стяжки

1 м2

2.81

2.81 * 230 = 646л

1.5

8

3. Мойка колес автомашин, шт.

шт.

3*10

7 * 500 = 3500 л

1.5

8



2.  Расход воды на хозяйственно-бытовые нужды


3.  Расход воды на противопожарные цели


Определим необходимый диаметр трубопровода.


где V - скорость движения воды в трубе.

Примем трубу диаметром 63мм.

. Решения по производству геодезических работ

Создание геодезической подосновы для строящегося объкта

.1. Для составления геодезической части проекта производства работ в жилищно-гражданском строительстве исходными данными служат: генеральный план существующей и проектируемой застройки; данные о геодезической основе строительной площадки, в том числе о красных линиях, и разбивочной основе строящихся зданий; строительный генеральный план застраиваемого участка; проект вертикальной планировки; данные о этажности и конструкциях зданий; планы и разрезы фундаментов и типовых этажей.

.2. В задании на разработку геодезической части проекта производства работ следует указывать: наименование организаций - заказчика, генподрядчика, субподрядчиков; наименование, местоположение объекта, его характеристики и назначение; данные о разбивочной основе; виды работ, подлежащих включению в геодезическую часть проекта производства работ; специальные требования, не отраженные в нормативной документации, по точности строительно-монтажных работ; перечень материалов геодезической части проекта производства работ (текстовые, расчетные, графические); очередность составления геодезической части проекта производства работ на отдельные здания, сроки выдачи материалов.

.3. При разработке геодезической части проекта производства работ рекомендуется предусматривать примерно следующую очередность выполнения работ.

. Для подготовительного периода:

создание планового и высотного обоснования; закрепление выносок основных осей знаками; установка и определение отметок реперов; разбивка и закрепление промежуточных осей сооружения.

. Для подземной части здания:

разбивка контура котлована и перенос осей и высот на дно котлована; передача осей и высот на обноски; разбивочные работы при устройстве фундаментов и свайных полей.

. Для надземной части здания:

передача основных осей и отметок на цоколь и монтажные горизонты; детальная разбивка и закрепление осей и отметок на монтажном горизонте; разбивка и закрепление рисок под монтаж элементов; установка маяков; выверка в процессе установки строительных конструкций в проектное положение; производство исполнительной съемки и составление отчетной документации.

. Для инженерных сетей:

плановая разбивка сетей; контроль за глубиной отрывки траншей, плановой и высотной установкой коммуникаций; исполнительные съемки проложенных сетей.

. Для монтажа технологического оборудования:

определение проектного положения оборудования; контроль при установке и закреплении; исполнительные съемки.

. Для вертикальной планировки:

определение и закрепление линий нулевых работ; трассирование линий заданного уклона, закрепление точек; перенос и закрепление в натуре проектных плоскостей; исполнительные съемки спланированных территорий.

.4. В геодезической части проекта производства работ особое место должно уделяться составу и содержанию документации, в которую входят: исполнительные геодезические схемы, чертежи, профили, разрезы; акты геодезических разбивок и готовности работ; журнал геодезического контроля; акты геодезической проверки; полевые журналы.

Исполнительная геодезическая документация подразделяется на внутреннюю и приемо-сдаточную. Внутренняя исполнительная документация составляется на незавершенный строительно-монтажный этап и является одним из оснований для выдачи главным инженером строительного управления (и приравненных к нему организаций) разрешения на производство строительно-монтажных работ. К внутренней исполнительной документации относятся: исполнительные схемы по разбивке контуров котлованов; акты и исполнительные схемы по разбивке промежуточных осей; акты разбивки свайных полей; акты и исполнительные схемы по подготовленным к бетонированию опалубкам; акты детальной геодезической разбивки на монтажных горизонтах под монтаж яруса, цоколя, этажа; исполнительные схемы нивелировки бетонных подготовок под полы; рабочие схемы по установке маяков.

Внутренняя исполнительная документация может быть составлена и на другие подготовительные виды работ. Порядок ее оформления устанавливает главный инженер строительно-монтажной организации. Она не предъявляется рабочей и Государственной комиссиям при сдаче объекта в эксплуатацию.

Приемо-сдаточная исполнительная документация составляется на завершенный этап строительно-монтажных работ и предъявляется авторскому надзору, органам Госархстройконтроля, генподрядным (субподрядным) организациям, заказчику, рабочим и государственным комиссиям по приемке объекта в эксплуатацию.

Приемо-сдаточная исполнительная документация включает в себя: планово-высотные схемы по всем видам инженерных коммуникаций; планово-высотные схемы и акты по готовому котловану, земляному полотну дорог и другим земляным сооружениям; планово-высотные схемы свайных полей; планово-высотные схемы и акты готовых фундаментов (свайных, сборных, монолитных и др.); планово-высотные схемы колонн; поэтажные планово-высотные схемы зданий и сооружений в кирпичном, крупноблочном, крупнопанельном исполнении; планово-высотные схемы по лифтовым шахтам; планово-высотные схемы и акты дорог; планово-высотные схемы по благоустройству.

Геодезическая исполнительная документация должна находиться в производственно-техническом отделе строительно-монтажной организации и у заказчика. При сдаче объекта в эксплуатацию предъявляется экземпляр, находящийся в производственно-техническом отделе.

На стадии подготовки площадки к строительству должна быть создана опорная геодезическая разбивочная основа, главное назначение которой привязать продольные и поперечные оси здания на местности. Исходными материалами для разбивки служат стройгенплан, рабочие чертежи сооружения и разбивочные чертежи. В соответствии с геодезическим планом определяют положение сооружения на местности, его привязку в горизонтальном и высотном отношениях.

Для крупных объектов должны быть обязательно постоянно закреплены несколько геодезических знаков.

Закрепление геодезических знаков в грунт должно осуществляться путем заглубления репера в грунт ниже зоны промерзания грунта на min 1000 mm.

Виды постоянных геодезических знаков:

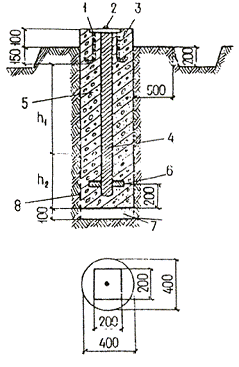
- металлическая пластина размером 200´200´15 мм; 2 - заклепка из металла; 3 -анкер Æ 15 мм; 4 - металлическая труба Æ 50-70 мм; 5 - бетон классов В7,5 - В12,5; 6 - якорь; 7 - песок; 8 - два слоя рубероида РЧ = 320; h1 соответствует наибольшей глубине промерзания грунта; h2 определяется по таблице

. Решения по технике безопасности

Охрана труда рабочих должна обеспечиваться выдачей администра­цией необходимых средств индивидуальной защиты (специальной одежды, обуви и других), выполнением мероприятий по коллективной защите рабочих (ограждения, освещение, вентиляция, защитные и предохранитель­ные устройства и приспособления и т.д.), санитарно-бытовыми помеще­ниями и устройствами в соответствии с действующими нормами и харак­тером выполняемых работ. Рабочим должны быть созданы необходимые условия труда, питания и отдыха.

В процессе производства строительно-монтажных работ должны соблю­даться требования ГОСТ и СНиП по технике безопасности в строительстве.

Состав и содержание решений по технике безопасности в проектах производства работ должны соответствовать требованиям СНиП 12-3-2001.

При разработке календарного плана производства работ необходимо предусматривать такую последовательность выполнения работ, чтобы любая из выполняемых работ не являлась источником производственной опасности для одновременно выполняемых или последующих работ.

Сроки выполнения работ и потребность в трудовых ресурсах следует устанавливать с учетом обеспечения безопасной последовательности выполнения работ и времени на выполнение мероприятий по обеспечению условий безопасного производства работ (временное крепление элементов строительных конструкций в проектном положении, устройство откосов или креплений стен выемок в грунте, установка временных защитных ограждений при выполнении работ на высоте и др.).

На строительном генеральном плане должны быть обозначены опасные зоны вблизи мест перемещения грузов подъемно-транспортным оборудованием, вблизи строящегося здания или сооружения, а также воздушной линии электропередачи.

Границы опасных зон должны устанавливаться согласно требованиям СНиП 12-3-2001, а в необходимых случаях определяться расчетом, который должен приводиться в пояснительной записке.

На строительном генеральном плане должны быть обозначены места размещения санитарно-бытовых помещений, автомобильных и пешеходных дорог, определяемых с учетом опасных зон, расположение источников освещения и ограждение территории строительной площадки.

Санитарно-бытовые помещения, автомобильные дороги и проходы для работающих должны располагаться за пределами опасных зон.

В случае нахождения временных автомобильных дорог в зоне перемещения краном груза должны предусматриваться решения об установке сигнального ограждения, надписей или дорожных знаков, предупреждающих о въезде в опасную зону.

Освещенность строительной площадки должна проектироваться в соответствии с «Инструкцией по проектированию электрического освещения строительных площадок».

Освещение должно предусматриваться рабочим, охранным и аварийным.

Расчет освещенности должен приводиться в пояснительной записке.

При выборе ограждения территории строительной площадки и участков производства работ должны учитываться требования ГОСТ 23407-78.

В технологических картах или схемах на выполнение отдельных видов работ при определении последовательности и методов выполнения работ необходимо учитывать опасные зоны, возникающие в процессе работ.

При необходимости выполнения работ в опасных зонах в технологической карте должны предусматриваться мероприятия по защите работающих от действия производственной опасности.