Материал: Очистка сточных вод на предприятиях нефтегазового комплекса

Внимание! Если размещение файла нарушает Ваши авторские права, то обязательно сообщите нам

физико-химические - применение специально подобранных реагентов, изменяющих физико-химические свойства, с последующей обработкой на специальном оборудовании;

биологические - микробиологическое разложение в почве непосредственно в местах хранения, биотермическое разложение.

Принципиальная схема переработки отходов бурения (Рис. 4.4.)[10]

Рис. 4.4.Принципиальная схема переработки отходов бурения.

Процесс ликвидации амбара с последующей утилизацией бурового шлама можно условно разделить на следующие технологические стадии:

сбор нефтяной пленки с поверхности амбара;

очистка жидкой фазы от эмульгированной нефти;

обезвоживание и обезвреживание бурового шлама;

утилизация бурового шлама;

очистка нефтезагрязненного грунта.

Таким образом, весь технологический процесс ликвидации шламового амбара проводится в два этапа:

) очистка и обезвреживание содержимого амбара;

) собственно утилизация бурового шлама.

Первый этап должен проводиться с учетом особенностей состава отходов, находящихся в шламовом амбаре.

Буровой раствор [11]

Буровые растворы (БР) состоят из: воды - 85-89%, бентонитовыхглинопорошков - 10-11%, в оставшиеся 1-5% могут входить различные смазывающие, антисептические, пеногаситель-ные, антифильтрационные и гидрофобизирующие жидкости [8,9]. Наиболее распространены гидрофобизированная кремнийорганическая жидкость (ГКЖ), натриевая соль карбоксиметилцеллюлозы (КМЦ), рыбожировая смазка, полиакриламид (ПАА), гепан, графитовая смазка, каустическая сода, едкий калий, кальцинированная сода.

Буровой раствор выполняет ряд функций:

Вынос на поверхность выбуренной породы (шлама)

Охлаждение и смазка трущихся деталей долота

Предотвращение обвалов стенок скважины, за счет

гидростатического давления столба жидкости;

склеивания частиц обваливающихся пород;

ограничение попадания фильтрата раствора (водоотдача) в пласты

Уравновешивание пластовго давления нефтегазоносных пластов.

Смазка бурильных труб, стенок скважины, обсадных труб, частей бурового насоса и т.п.

Удержание осколков выбуренной породы во взвешенном состоянии и предотвращение выпадения их на забой;

Обеспечение осаждения песка и частиц выбуренной породы в отстойных емкостях. Таким образом, раствор должен иметь две противоположные особенности: удерживать выбуренную породу во взвешенном состоянии в стволе скважины и в то же время осаждать ее в отстойных емкостях;

Передача энергии гидравлическим забойным двигателям;

Передача сигналов от забойных приборов на принимающие приборы на поверхности.

Циркуляционная система бурового раствора [13]

Рис.4.5.Циркуляционная система бурового раствора.

- устье скважины; 2 - желоб; 3 - вибросито; 4 - гидроциклон;
5 - блок приготовления бурового раствора; 6 - ёмкость; 7 - шламовыйнасос;
8 - приёмная ёмкость; 9 - буровой насос; 10 - нагнетательный трубопровод.

Очистка буровых растворов

Готовый буровой раствор через напорный рукав, присоединенный к неподвижной части вертлюга, закачивается в бурильную колонну буровыми насосами. Пройдя по бурильным трубам вниз, он с большой скоростью проходит через отверстия в долоте к забою скважины, захватывает частички породы, а затем поднимается между стенками скважины и бурильными трубами. Отказываться от его повторного использования экономически нецелесообразно, а использовать без очистки вновь нельзя, т.к. в противном случае происходит интенсивный абразивный износ оборудования и бурильного инструмента, снижается удерживающая способность бурового раствора, уменьшаются возможности выноса новых крупных обломков породы.

Через систему очистки необходимо пропускать и вновь приготовленные глинистые растворы, т.к. в них могут быть комочки нераспустившейся глины, непрореагировавших химических реагентов и других материалов.

Очистка промывочной жидкости осуществляется как за счет естественного выпадения частиц породы в желобах и емкостях, так и принудительно в механических устройствах (виброситах, гидроциклонах и т.п.). Использованный буровой раствор (рис. 4.5.) из устья скважины 1 через систему желобов 2 поступает на расположенную наклонно и вибрирующую сетку вибросита 3. При этом жидкая часть раствора свободно проходит через ячейки сетки, а частицы шлама удерживаются на стенке и под воздействием вибрации скатываются под уклон. Для дальнейшей очистки буровой раствор с помощью шламового насоса 7 прокачивается через гидроциклоны 4, в которых удается отделить частицы породы размером до 10-20 мкм. Окончательная очистка раствора от мельчайших взвешенных частиц породы производится в емкости 6 с помощью химических реагентов, под действием которых очень мелкие частицы как бы слипаются, после чего выпадают в осадок.

При отстаивании в емкостях 6 и 8 одновременно происходит выделение растворенных газов из раствора.

Очищенный буровой раствор насосом 9 по нагнетательному трубопроводу 10 вновь подается в скважину. По мере необходимости в систему вводится дополнительное количество свежеприготовленного раствора из блока 5.

РАСЧЁТНАЯ ЧАСТЬ

Показатель

Диапазон значений показателя

Наиболее часто встречающиеся значения

рН

7,2-12,4

7,6-8,6

Взвешенные вещества, мг/л

2500-28000

3200-8000

Нефть и нефтепродукты, мг/л

25-1100

80-240

ХПК, мг/л

1200-10200

1000-3750

БПК5, мг/л

1800-7200

2200-3000

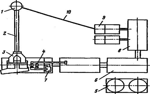
Схема очистки

Рис. 5.4.Принципиальная технологическая схема сбора, очистки и повторного использования буровых сточных вод.

Буровые сточные воды по коммуникациям 1, установленным под настилом платформ или приэстакадных площадок, направляются в специальный блок сбора буровых сточных вод 2, откудапесковым насосом подаются в блок очистки 4, где при помощи гидроциклонов отделившаяся твердая фаза сбрасывается в контейнер или специальный блок 5. Очищенная буровая сточная вода поступает в блок доочистки и хранения 6, где посредством фильтров тонкой очистки отделяется от илистых частиц и с помощью аппарата электрокоагуляции очищается от нефтяной пленки. Насосом 7 полностью очищенная сточная вода подается в общую систему водоснабжения буровой установки.

Вода, нефть и масло в сточной воде отделяются в блоке доочистки и хранений 6 и сливаются в приемную емкость буровых насосов 8 и используются для обработки бурового раствора [13].

Степень очистки в гидроциклоне принимаем равной 75% [5].

Найдем количество взвешенных веществ в воде после гидроциклона:

Свв1=5600 мг/л * (1 - 0,75) = 1400 мг/л

Электрокоагуляция.

Оптимальными режимными параметрами процесса очистки, обеспечивающими глубокую очистку стоков от основных загрязнителей при минимальных энергозатратах и расходе металла анода, следует считать плотность тока, равную 1 А/дм2, и скорость потока в межэлектродном пространстве 2,0-2,5 м/ч. При этом удельные энергозатраты не превышают 4 (кВт*ч)/м3, а расход металла анода составляет всего лишь 150 г/м3[5, стр. 230].

Все показатели поступающей загрязнённой воды на электрокоагуляцию соответствуют разрешённым параметрам (показателям) данного метода очистки.

Степень очистки взвешенных веществ равна 98%. Обычно 100%, но из-за содержания ХПК более 2000 мг/л степень очистки по взвешенным веществам падает до 98% [5, стр. 232-233].

Степень очистки нефти и нефтепродуктов - 100% [5, стр. 235].

Степень очистки по ХПК - 99% [5, стр. 233-235].

Найдем количество взвешенных веществ в воде после коагуляции:

Сi = Сiисх * (1- эффективность очистки)

Свв2= 1400 мг/л * (1 - 0,98) = 28 мг/л

Найдем показатель ХПК в воде после коагуляции:

Схпк1= 2300 мг/л*(1- 0,99)= 23 мг/л

Снп1= 160 мг/л*(1-1)=0 мг/л

Выводы:

Данная схема очистки отвечает требуемой степени очистки.

По-моему мнению этот метод очистки будет наиболее экономичен и прост для морского бурения на платформе из-за ограничений по площади расположения аппаратуры для процессов очистки.

Я выбрал столь глубокую очистку оборотной воды исходя из того, что при замкнутом цикле водоснабжения буровой последовательно возобновляемая очистка БСВ возможна лишь при одно- -- трёхкратном использовании очищенных вод. При многократном (более 4 раз) использовании буровых сточных вод очистка невозможна. Такие воды должны исключаться из очерёдного цикла системы оборотного водоснабжения, либо разбавляться чистой технической водой до требуемого качества. Степень разбавления должна определяться в первую очередь возможностями используемого метода очистки по лимитирующему загрязнителю (по ХПК) и количественно рассчитываться с учётом качества БСВ [5, стр. 241].

ЗАКЛЮЧЕНИЕ

Интенсивный рост объёмов буровых работ, не подкреплённый научным предвидением возможных негативных последствий, в настоящее время наиболее остро проявляется в загрязнении окружающей среды производственно-технологическими отходами бурения. Сброс таких отходов предопределяется несовершенством как основных технологий ведения буровых работ, так и отсутствием специальных технико-технологических решений по их обезвреживанию и утилизации.