Федеральное агентство по образованию
ГОСУДАРСТВЕННОЕ ОБРАЗОВАТЕЛЬНОЕ УЧРЕЖДЕНИЕ
ВЫСШЕГО ПРОФЕССИОНАЛЬНОГО ОБРАЗОВАНИЯ
Нижегородский государственный
технический университет
Курсовая работа
по дисциплине "Безопасность жизнедеятельности"
на тему: "Молниезащита зданий и сооружений"
Выполнила:
Стрижова М.И.
Н. Новгород 2010 год
Содержание
Введение
1. Краткие сведения о разрядах молнии и их параметрах
2. Характеристики грозовой деятельности
3. Опасные воздействия молнии
4. Классификация защищаемых объектов
5. Средства и способы молниезащиты
5.1 Внешняя молниезащита
5.2 Внутренняя молниезащита
6. Грозозащитные зоны
Заключение
Список использованной литературы
Приложения
Введение
Молниезащита - это комплекс технических решений и специальных приспособлений для обеспечения безопасности здания, а также имущества и людей находящихся в нем. На земном шаре ежегодно происходит до 16-и миллионов гроз <#"864243.files/image001.gif">
Рис.1. Одностержневой молниеотвод
Система молниезащиты типа "пространственной клетки"
представляет собой проводящую сеть, которую устанавливают на крыше защищаемого
строения. В ее конструкции применяются материалы, соответствующие стандарту
устройства молниезащиты сооружений и коммуникаций СО 153-34.21.122-2003. Эти же
параметры распространяются на все молниеотводы.
Рис. 2. Система молниезащиты "пространственная
клетка"
Традиционная система молниезащиты (без ионизатора) состоит из:
· специального молниеотвода h=35 см, выполненного из меди или стали, закрепленного на стержне h=2м;
· удлиняющей мачты h=2м. Комбинация молниеотвода с мачтами позволяет достичь необходимой высоты: 2,35; 4,1; 5,85; 7,6 м;
· специального крепежа мачты к стене или треноги;
· специального проводника с набором крепежа к стене дома;
· клеммы заземления;
· земляной розетки.
Радиус защитного действия молниеотвода определяется высотой мачты и для традиционной системы приближенно рассчитывается по формуле:
=1,732 xh,
где h - высота от самой высокой точки дома до пика молниеотвода.
Молниеотвод устанавливается на мачте необходимой высоты,
затем вся конструкция при помощи спецального кронштейна (к стене) или треноги
закрепляется на самой высокой точке дома и специальным проводником соединяется
с клеммой заземлителя (земляной розетки). Соединительный проводник должен
располагаться не ближе 1 м от канализации, магистрали газа, внешних
металлических частей дома и фиксироваться специальным крепежом к стене дома
через каждые 30 см, с изгибами не менее R=20 см. Клемма заземлителя
устанавливается на высоте не менее 2 м от земли. Эта клемма соединяется с
земляной розеткой, которая выполняется отдельно от существующего заземления
дома.
Наиболее распространенные варианты устройства земляных
розеток

"Птичья лапа" "Треугольник"
Система молниезащиты с ионизатором
Принцип работы активной системы заключается в постоянной
работе специального устройства - активного молниеприемника, который генерирует
электрические импульсы в направлении грозовой тучи и тем самым создает
воздушный канал со значительно пониженным сопротивлением. Его включение
происходит в тот момент, когда электромагнитная напряженность между землей и
грозовым облаком достигает критической величины, предшествующей неизбежному
разряду. И в случае ее движения к защищаемой территории, она будет принята
токоприемником, в противном случае токоприемник не окажет на молнию ни какого
воздействия и она пройдет стороной. Подобная грозозащита широко распространена во
многих странах мира.
Рис. 3. Ионизатор Prevectron 2 Millenium
Типы крыш:
1. Все виды металлической кровли.
Для них идеальным вариантом является описанная выше
классическая схема молниезащиты. Обратите внимание на то, что лучше
прокладывать токоотвод по стене дома, противоположной входу, и закапывать
заземлитель подальше от фундамента и различных садовых построек.
2. Шифер и тому подобное, включая дерево.
Для таких крыш специалисты советуют иную систему. Вдоль
<конька> кровли по всей длине протягивается металлический трос на двух
деревянных подпорках, к нему припаивается токоотвод, спускается вдоль крыши,
проходит по стене (можно провод пропустить в водосток) и уходит в землю. Токоотвод
припаян к заземлителю из стального листа. Система должна располагаться также на
расстоянии 3-5 метров от входа.
3. Все виды черепицы.
Для защиты черепичных крыш специалисты советуют накинуть на кровлю сетку из стальной проволоки с шагом ячейки не более чем 6 х6 м, но и не особенно частой. Диаметр проволоки или троса для такой сетки должен быть приблизительно 6 мм. Все стыки проволоки пропиваются. Затем к этой сетке присоединяется токоотвод, который заканчивается закопанной в землю стальной пластиной заземлителя.
Внутренняя молниезащита должна уменьшать электромагнитные эффекты воздействия тока молнии на людей, инсталляции и оборудование, находящееся внутри строительных объектов. В дальнейшей части работы будут представлены только основные вопросы внутренней молниезащиты, касающиеся:
· Уравнивания потенциалов инсталляций, входящих в строительный объект
· Уравнивание потенциалов внутри строительного объекта
· Подбора и размещения устройств, ограничивающих перенапряжения и защищающих электрическую инсталляцию, системы передачи сигналов, а также устройства от прямого воздействия части тока молнии
Основные принципы уравнивания потенциалов содержатся в нормах молниезащиты строительных объектов. В соответствии с этими принципами следует уравнивать потенциалы всех проводящих инсталляций входящих в объект.
Уравнивание потенциалов следует выполнить при помощи соединений с низким импедансом:
· Непосредственных - между проводящими инсталляциями и устройствами, на которых не возникает постоянно электрический потенциал
· Ограничивающих - между устройствами, заземленными и изолированными от земли, а также находящимися под напряжением проводами электрических устройств.
Принимая во внимание представленные требования,
рекомендуется, вводя инсталляции в строительный объект, соединять их с
уравнивающей шиной, произвольным элементом молниезащитного устройства или
металлическим элементом конструкции объекта в месте, расположенным как можно
ближе к месту введения инсталляции. Оптимальным решением является введение всех
инсталляций в одном общем месте. Пример проведения в одном месте
электроустановке, сигнальных проводов, а также других проводящих инсталляций
представлен на рис.4.

· Металлические трубы
· Телекоммуникационные, вспомогательные, и измерительные заземляющие электроды
· Экраны или проводящие конструктивные элементы линии передачи сигналов
· Проводники PEN или PE электроэнергетической сети
2. Если внешние инсталляции, линии электропитания, телекоммуникационные и сигнальные линии нельзя ввести в объект в одном и том же месте и требуется применение нескольких уравнивающих шин, то они должны быть соединены как можно более коротким проводником с заземлителем или металлическими элементами железобетонной конструкции объекта.
. Проводник, соединяющий уравнивающие шины, следует соединить с проводящими элементами железобетонной конструкции или другими экранирующими элементами.
. Уравнивающая шина размещается чаще всего на уровне земли,
как можно ближе к месту, в которое входят проводящие инсталляции и соединена с
заземлителем, например, с фундаментным. К шине следует также присоединить
существующие в объекте металлические части лифтовых конструкций, вентиляционные
каналы и т.п.
В случае защиты электронных систем, от которых требуется особенная надежность и безотказность функционирования, следует дополнительно принять во внимание затухание электромагнитных импульсов молнии при переходе границ отдельных зон (арматура стен, дополнительные экраны). Ниже представлена краткая характеристика отдельных зон.
Зона 0A.
Устройства, а также электрические и электронные системы, работающие в этой зоне, подвергаются риску непосредственного воздействия тока молнии с неограниченным значением пиковой величины, а также импульсного электромагнитного поля. Подвергаются риску устройства или системы, работающие на открытом воздухе, не экранированные от электромагнитного поля и не защищенные от напряжений и токов молнии. В зоне 0A пиковые значения величин, возникающих перенапряжений вытекают из импульсной устойчивости изоляторов, изоляции кабелей или устройств внутри строительных объектов.
Зона 0B.
Устройства, работающие в этой зоне подвергаются опасности:
· Непосредственного воздействия импульсного электромагнитного поля, вызванного током молнии с пиковыми значениями, такими как в случае зoны 0A
· Напряжений и импульсных токов, индуцированных током молнии в проводящих инсталляциях.
Эти устройства устанавливаются в неэкранированных объектах, лишенных собственных электромагнитных экранов (кожухов и корпусов), а также не имеющих устройств, ограничивающих перенапряжения в электроустановке и в линиях передачи сигналов.
Предлагаемые пиковые величины импульсных напряжений в этой зоне составляют:
ü В электроэнергетической сети низкого напряжения10 кВ
ü В линиях передачи сигналов 6 кВ
Импульсные токи, возникающие в зоне 0B, характеризуются временем нарастания (фронтом) 8 мкс и длительностью на уровне половины максимального значения 20мкс.
Зона 1.
Электронные устройства, работающие в зоне 1 защищаются от:
§ Непосредственного воздействия импульсного электромагнитного поля - используется отдельный экран, который чаще всего создают соединенные между собой проводящие элементы конструкции зданий,
§ От напряжений и токов молнии - элементы и схемы, ограничивающие перенапряжения, создающие так называемую основную защиту - одноступенчатая схема ограничителей перенапряжений.
Пиковые значения импульсных напряжений, возникающих в этой зоне составляют:
· В электроустановкениже 10 кВ
· В линиях передачи сигналовниже 6 кВ
Формы импульсных токов, используемых для испытаний ограничителей перенапряжений, такие же как в зоне 0B.
Последующие зоны
Создание последующих зон требует введения дополнительных экранов, а также очередных ступеней ограничения напряжений и ударных токов. Используются экранирующие свойства:
· Железобетонных стен помещений внутри объекта,
· Монолитных экранов помещений,
· Стальных обшивок и корпусов самих устройств.
В случае существующих и строящихся объектов, а также объектов с чувствительными электронными системами чаще всего применяется двух или трехступенчатые системы защиты от перенапряжений.
Создавая отдельные зоны, следует обратить особенное внимание на:
· Соблюдение принципов уравнивания потенциалов инсталляций, входящих в строительный объект,
· Правильный подбор и размещение ограничителей перенапряжений разных типов,
· Принцип ограничения
импульсов ниже импульсной устойчивости устройств, установленных в данной зоне.
Рис.5. Пример трехступенчатой системы ограничения перенапряжений
молниезащита грозозащитная зона здание
Молнии, атмосферные разряды - постоянный и практически повсеместный источник угрозы для человека и его имущества. Это одно из самых разрушительных и устрашающих природных явлений, с которыми повсеместно сталкивается человек.
Последствия, в тех случаях, когда в здании нет надежной системы молниезащиты - унесенные жизни, разрушенные здания, пожары, выход из строя электропроводки, оборудования и приборов.
Необходимо особо отметить, что разрушение происходит не
только зоне непосредственного разряда, но и на расстоянии до нескольких
километров, т.к. энергия разряда огромна, а также возникающий импульс
перенапряжения, который по коммуникациям (линии электропередач, трубопровод и
т.д.) заносится в здание. Таким образом, наличие систем молниезащиты зданий и
сооружений - обязательное условие современных стран, производителей, граждан.
1. Инструкция по устройству молниезащиты зданий и сооружений РД 34.21.122-87
2. Инструкция по устройству молниезащиты зданий, сооружений и промышленных коммуникаций CO 153-343.21.122-2003
3. <#"864243.files/image012.gif">
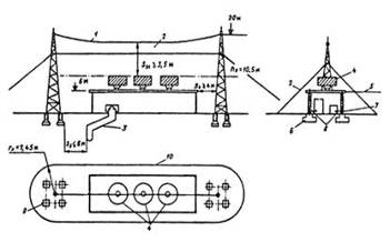
Приложение 3
ПРИМЕРЫ ИСПОЛНЕНИЯ МОЛНИЕЗАЩИТЫ РАЗЛИЧНЫХ ОБЪЕКТОВ
Молниезащита здания I категории отдельно Молниезащита здания
I категории отдельно стоящим стоящим двойным стержневым молниеотводом тросовым
молниеотводом
Молниезащита здания II категории сеткой, уложенной на Молниезащита здания II категории с металлическими кровлю под гидроизоляцию фермами (в качестве токоотводов и заземлителей использована арматура железобетонных колонн и фундаментов)