Министерство образования и науки Российской Федерации
Федеральное государственное автономное образовательное учреждение
высшего профессионального образования
«Уральский федеральный университет
имени первого Президента России Б.Н. Ельцина»
Специальность 270800: Промышленное и
гражданское строительство
Реферат
по дисциплине «Технология возведения зданий»
на тему: «Методы зимнего
бетонирования. Индукционный обогрев»
Разработал студент гр. СТ-320402:
Карпов М.В.
Проверил руководитель:
Сварич О.М.
Екатеринбург 2015
1. Производство бетонных работ в зимних условиях
При необходимости проведения зимнего бетонирования главной проблемой являются низкие температуры окружающей среды, которые приводят к замерзанию строительных материалов. Соответственно, технология бетонирования в зимних условиях направлена на предотвращение замерзания воды и других материалов.
Требования к зимнему бетонированию определяются СНиП 3.03.01-87, согласно которому зимними условиями считаются при установлении среднесуточной температуры наружного воздуха не выше 5°С или при опускании в течение суток минимальной температуры ниже 0°С. В естественных условиях выдерживания бетон при температуре воздуха от 15..25°С практически достигает стабильной прочности на 28-е сутки.
Существуют две важные причины, усложняющие процесс укладки бетона зимой.
· При низких температурах замедляется процесс гидратации цемента, что является причиной увеличения сроков набора твердости бетоном.
· Еще одним нежелательным процессом является развитие сил внутреннего давления, которые возникают из-за расширения замерзшей воды примерно на 9%. Это явление приводит к разупрочнению бетона. Помимо этого, из замерзшей воды вокруг заполнителей и арматуры образуются ледяные пленки, нарушающие сцепление с арматурой и связь между компонентами смеси.
Снижение прочности тем значительнее, чем в более раннем возрасте бетона замерзла вода. Наиболее опасным является период схватывания бетонной смеси. Если смесь замерзнет сразу после укладки ее в опалубку, то ее прочность при отрицательных температурах будет обусловлена только силами замерзания. При повышении температуры процесс гидратации цемента возобновится, но прочность такого бетона будет значительно уступать аналогичной характеристике материала, который не подвергался замораживанию.
Противостоять замораживанию без структурных разрушений может только тот бетон, который уже набрал определенное значение прочности. Важно соблюдать правило беспрерывной укладки бетона во избежание холодных швов.
В современном строительстве в мировой практике наиболее распространен способ зимнего бетонирования, когда бетонная смесь предохраняется от замерзания во время ее схватывания и набора определенной величины прочности, которая называется критической.
Под критической величиной прочности бетона принимают прочность, которая равна 50% от марочной. В конструкциях ответственного назначения бетон предохраняется от замерзания до достижения 70% от проектной прочности.
При бетонных работах одновременно должны решаться 2 взаимосвязанные задачи:
) технологическая, обеспечивающая необходимое качество бетона к заданному сроку, решается путём:
а) подогрева составляющих в процессе приготовления бетонной смеси;
б) использования транспортных средств, обеспечивающих сохранение необходимой температуры смеси к моменту укладки в конструкцию;
в) применения соответствующих методов выдерживания бетона;
) экономическая, обеспечивающая минимальный расход материальных и энергетических ресурсов. При производстве работ в зимнее время себестоимость транспортирования и укладки бетона и ухода за ним возрастает в 2…2,5 раза, а трудоёмкость этих процессов в 1,5…2 раза.
Для бетонирования конструкций зимой необходимо выполнение следующих условий:
. Приготовление бетонной смеси. Бетонную смесь приготавливают на предварительно подогретых составляющих. Её температуру повышают до 35…45°С путём подогрева заполнителей (песка и щебня) не выше 60°С и воды до 90°С.
. Транспортирование бетонной смеси осуществляется в закрытой утепленной и подогретой перед началом работы таре (бадьи, кузова машин)
Бетонирование конструкций с предварительным разогревом
бетонной смеси: а -
схема бетонирования; б - разогрев смеси в электробадье; в - в кузове
автомашины; 1 - БРУ; 2 - передвижная бетономешалка; 3 - электробадьи; 4 - распределительное
устройство; 5 - кран; 6 - укладка смеси; 7 - электроды.
Для обеспечения нормального твердения бетона применяются следующие методы:
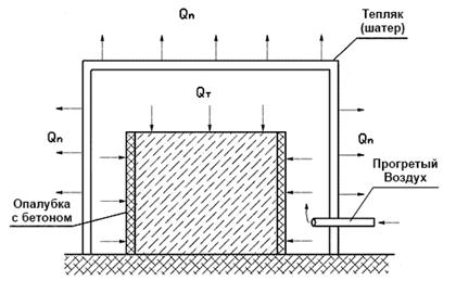
Выдерживание в искусственных укрытиях (тепляках), где с помощью
отопительных устройств поддерживается температура, необходимая для нормального
твердения бетона. Этот метод не ускоряет процесс, неэкономичен в связи с
дополнительными расходами и используется при особой необходимости.
Схема выдерживания бетона в тепляках.
Выдерживание методом термоса. Сущность его состоит в том, что бетон,
имеющий температуру 15..20°С, укладывается в утепленную опалубку. Бетон
набирает заданную прочность до того момента, когда в какой-либо части
забетонированной конструкции температура упадёт до 0°С. Продолжительность
остывания должна быть достаточной для достижения, как минимум, критической
прочности.
Схема выдерживания бетона методом термоса. 1 - опалубка; 2 - бетон; 3 -
пароизоляция; 4 - теплоизоляция; 5 - температурная кривая разогрева бетон
Применение метода термоса наиболее эффективно для массивных конструкций с
модулем поверхности до
=6.
Модуль поверхности - отношение площади охлаждаемых поверхностей к объему конструкции.
Этот метод может оказаться достаточно эффективным и для конструкций с
модулем поверхности 8..12. Однако при этом необходим предварительный
электроразогрев бетонной смеси непосредственно в бункерах перед укладкой в
опалубку (способ электроосмоса). Расход электроэнергии 40..50 кВт*ч на 1
бетона.
Разновидность способа электротермоса - метод форсированного электроподогрева бетонной смеси сразу после укладки в опалубку с последующим повторным вибрированием.
. Разновидности электропрогрева
Этот метод наиболее рационален для конструкций с
=6..10.
. Электродный прогрев бетонных и железобетонных конструкций основан на превращении электрической энергии в тепловую при прохождении тока через свежеуложенный бетон.
Электропрогрев бетона: а - электродный; б - индукционный; в,г - опалубка с
греющими кабелями и сетчатыми нагревателями; h - высота навивки кабеля; 1 - электроды; 2 - прогреваемая
конструкция; 3 - арматура; 4 - кабель; 5 - нагреватели; 6 - асбестоцементный
лист; 7 - утеплитель; 8 - защитный лист.
Электроды различают внутренние (стержневые, струнные) и поверхностные (нашивные, плавающие).
Стержневые электроды изготавливают из 6..10-миллиметровой арматурной стали. Их применяют для прогрева фундаментов, балок, прогонов, колонн, массивных плит и других конструкций.
Струнные электроды изготавливают из арматурной стали Ф 6..16 мм и применяют в основном для прогрева колонн и слабоармированных стен. Расстояние между одиночными электродами при напряжении: 65В - 20-25 см, 220В - до 50 см.
Нашивные электроды через 10..20 см нашивают на плоскость опалубки, соприкасающуюся с бетоном. Концы электродов выводят наружу.
Плавающие электроды применяют для прогрева верхних поверхностей бетонных и железобетонных конструкций. Их втапливают на 2..3 см в свежеуложенный бетон.
. Электрообогрев осуществляется с помощью электрических отражательных печей, цилиндрических приборов сопротивления и др. Могут применяться греющие (термоактивные) опалубки.
. Инфракрасный прогрев применяется при прогреве монолитных заделок
стыков сложной конструкции густоармированных стыков старого бетона с вновь
укладываемым, тонкостенных сооружений, возводимых в скользящей опалубке, и в
других случаях, когда применение контактных методов прогрева затруднено.
Прогрев производят с помощью генератора в виде электроспирали, помещенной в
металлический рефлектор на расстоянии 5..8 см от отражающей поверхности.
Продолжительность облучения до температуры 70..80°С-15ч. Расход электроэнергии
от 60 до 140 кВт*ч.
- бетонная конструкция (стена) 2 - стойка инфракрасной установки 3 -
генератор инфракрасного излучения 4 - рефлектор-отражатель 5 - опалубка 6 -
слой теплоизоляции 7 - направления теплового потока 8 - поток энергии
. Паровой прогрев бетона позволяет обеспечить благоприятные тепловлажные условия для твердения бетона. Требует большого расхода пара, паровых рубашек, прокладки трубопроводов.
В практике могут иметь место следующие способы паропрогрева:
а) прогрев в паровой бане. Открытый пар попадает в огражденное пространство, где находится прогреваемое сооружение;
б) прогрев в паровой рубашке, при котором пар попадает в замкнутое пространство, образованное вокруг прогреваемой конструкции паропроницаемым ограждением, отстоящим от опалубки на 10..15 см.
. Индукционный метод
Областью применения индукционного прогрева монолитных конструкций в соответствии со СНиП 3.03.01-87 «Несущие и ограждающие конструкции <#"889220.files/image008.jpg">
Инвентарная секция шинопроводов (крайняя секция): 1 - разъем; 2 - деревянная стойка; 3 - болты <#"889220.files/image009.jpg">
Организация рабочей зоны электрообогрева 1 - инвентарная трехфазная
секция шинопроводов; 2 - индуктор; 3 - прожектор; 4 - трансформаторная
подстанция КТП-ТО-80/86; 5 - диэлектрический коврик; 6 - инвентарное
ограждение; 7 - сигнальная лампочка красного цвета
7) изготавливают и устанавливают в рабочее положение шаблон с пазами для
размещения витков кабеля индуктора;

) в пазы шаблонов последовательными витками навивают кабель КРПТ 1 ´
25, соответствующий
расчетной токовой нагрузке;
Принципиальная схема индуктора
) концы индуктора подсоединяют к секции шинопровода;
) секции шинопровода подсоединяют к комплектной трансформаторной подстанции КТП ТО-80/86 кабелем марки КРПТ 3 ´ 50;
) рабочую зону оборудуют в соответствии с требованиями по технике безопасности и проводят инструктаж по технике безопасности.
. В зависимости от температуры наружного воздуха и сечения кабеля для
навивки индуктора принимают электрические параметры индукционного прогрева (табл.
1)
Таблица 1
|
Температура наружного воздуха |
Удельная мощность индуктора Вт/см2 |
Напряжение питания, В |
Количество витков индуктора, шт. |
Сила тока, А |
Сечение кабеля индуктора, мм2 |
|||
|
1 |
2 |
3 |
4 |
5 |
6 |
|||
|
-5 |
0,06 |
55 |
65 |
120 |
25 |
|||
|
|
|
65 |
77 |
102 |
25 |
|||
|
|
|
75 |
89 |
88 |
16 |
|||
|
|
|
85 |
101 |
78 |
16 |
|||
|
|
|
95 |
113 |
70 |
10 |
|||
|
-10 |
0,07 |
55 |
61 |
138 |
35 |
|||
|
|
|
65 |
72 |
117 |
25 |
|||
|
|
|
75 |
83 |
101 |
25 |
|||
|
|
|
85 |
94 |
89 |
16 |
|||
|
|
|
95 |
105 |
80 |
16 |
|||
|
-15 |
0,08 |
55 |
58 |
155 |
35 |
68 |
132 |
35 |
|
|
|
75 |
78 |
115 |
25 |
|||
|
|
|
85 |
89 |
101 |
25 |
|||
|
|
|
95 |
99 |
91 |
16 |
В данной карте приняты средние значения: сечение кабеля индуктора - 25 мм2, напряжение - 75 В, сила тока - 115 А, количество витков индуктора - 78.
. Подготовку оснований и укладку бетонной смеси производят с учетом следующих требований:
при
температуре воздуха ниже -10 °С арматуру диаметром более 25 мм, а также арматуру
прокатных профилей и крупные металлические закладные детали
<#"889220.files/image012.jpg">
Контроль температуры обогреваемого бетона производят техническими термометрами или дистанционно с помощью термодатчиков, устанавливаемых в скважину.
Температуру бетона измеряют в процессе изотермического обогрева не реже чем через 2 часа.
Скорость подъема температуры не должна превышать 8 °С/час. Скорость разогрева бетонной смеси регулируют повышением или понижением напряжения на низкой стороне трансформатора. Температуру бетона в процессе разогрева необходимо контролировать не реже чем через 1 час.
. Не реже двух раз в смену, а в первые три часа с начала обогрева бетона через каждый час, измеряют силу тока и напряжение в питающей цепи. Визуально проверяют отсутствие искрения в местах электрических соединений. При изменении температуры наружного воздуха в процессе обогрева конструкции выше или ниже расчетной, соответственно понижается или повышается напряжение в электрической сети.
. Скорость остывания бетона по окончании тепловой обработки для конструкций с модулем поверхности Мп = 5 - 10 и выше 10 должна быть соответственно не более 5 и 10 °С/час. Один-два раза в смену замеряют температуру наружного воздуха, результаты замеров фиксируются в журнале работ.
. Прочность бетона, как правило, проверяют по фактическому температурному
режиму на наименее нагретых участках. Рекомендуется после распалубливания
монолитной конструкции определять прочность обогретого бетона, имеющего
положительную температуру с помощью молотка конструкции НИИМосстроя,
ультразвуковым способом или, высверливанием и испытанием кернов. Набор
прочности бетона при различных температурах его выдерживания определяется
графиком.
Кривые набора прочности бетоном при различных температурах его
выдерживания: а, в - для бетона класса В25 на портландцементе активностью 400 -
500; б, г - для бетона класса В25 на шлакопортландцементе активностью 300 - 400
. Теплоизоляция и опалубка могут быть сняты не ранее того момента, когда температура бетона в наружных слоях конструкции достигает плюс 5 °С и не позже, чем слои остынут до 0 °С. Примерзания опалубки и теплозащиты к бетону не допускается.
. Для предотвращения появления трещин в бетонируемых конструкциях перепад температур между открытой поверхностью бетона и наружным воздухом не должен превышать:
°С - для монолитных конструкций с модулем поверхности Мп < 5;
°С - для монолитных конструкций с модулем поверхности Мп > 5.
В случае невозможности соблюдения указанных условий поверхность бетона после распалубливания укрывают (брезентом, толью, щитами и т.д.).