Материал: Методы интенсификации добычи нефти на Первомайском месторождении

Внимание! Если размещение файла нарушает Ваши авторские права, то обязательно сообщите нам

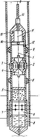
Рисунок 15. Устройство для ГРП

Предлагается устройство для ГРП (Рисунок 15), которое состоит из двух имплозионных камер (1), размещенных одна над другой и соединенных между собой соединительной муфтой (2) с радиальными сквозными щелями (3) и изолированных от окружающей среды двумя управляемыми клапанами (4). К нижнему концу имплозионной камеры присоединен термогазогенератор (5), в верхнюю часть которого помещают заряд из горючего материала, а снизу прикреплена камера догорания (6), с сопловидными отверстиями (7), число и площадь которых определяет скорость сгорания топлива, а форма - направление газовой струи.

Снизу к камере догорания прикреплен баллон с химическим реагентом (8), причем химический реагент испаряется в процессе сгорания топлива, а состав и количество реагента подбирают в зависимости от вещественного состава и типа обрабатываемого пласта коллектора. В качестве химического реагента могут быть выбраны кислоты, например соляная, серная, азотная, пенообразующие растворы, поверхностно-активные вещества, твердосплавные наполнители. Выше верхней имплозионной камеры устанавливают датчики давления и температуры (10) для измерения давления и температуры флюида как внутри, так и снаружи верхней имплозионной камеры, а результаты измерения обрабатываются и кодируются для передачи информации по каротажному кабелю (13) на поверхность электронным блоком (11), с помощью центраторов (9) устройство располагают строго по оси скважины для обеспечения равномерного воздействия на пласт. Наверху верхней имплозионной камеры размещен стравливающий клапан (12) для стравливания избыточного давления.

Устройство работает следующим образом:

Устройство на каротажном кабеле (13) опускают в скважину и устанавливают термогазогенератор (5) против интервала пласта, подвергаемого обработке. По команде оператора, переданной по каротажному кабелю (13), запускают термогазогенератор (5), при горении топлива выделяется газ, который заполняет камеру догорания (6) и, после достижения давления, превышающего гидростатическое, начинает истекать в скважину через сопловидные отверстия (7) в радиальном направлении. Температура газа, заполняющего камеру догорания (6), позволяет активно испарять химический реагент, который находится в баллоне (8), причем интенсивность газообразования определяется скоростью горения топлива, которая в свою очередь зависит от давления газа в камере догорания (6), то есть суммарную площадь сопловидных отверстий (7) выбирают таким образом, чтобы давление газа в скважине превышало давление ГРП.

Образовавшийся в скважине газовый пузырь проникает через перфорационные отверстия обсадной колонны и оказывает термохимическое воздействие на обрабатываемый пласт и, когда давление в газовом пузыре достигает давления гидроразрыва пласта, в пласте образуются трещины, поверхность которых также подвергается термохимическому воздействию, что позволяет получить трещины достаточной раскрытости и протяженности. Режим работы термогазогенератора (5) контролируют измерением давления и температуры датчиками (10), показания которых с помощью электронного блока (11) по каротажному кабелю (13) передают на поверхность и по полученным показаниям определяют время работы термогазогенератора (5).

После окончания работы термогазогенератора (5) устройство опускают и устанавливают соединительную муфту (2) против интервала пласта, подвергаемого обработке, и по сигналу с поверхности открывают управляемые клапана (4), после чего пластовый флюид с расплавленными и растворенными асфальтенами и обломками породы через радиальные сквозные щели (3) затягивается в имплозионные камеры (1).

В результате большого перепада давления между атмосферным в имплозионных камерах и давлением в пласте получается как бы резкий "хлопок", который способствует очищению пласта и перфорационных отверстий от продуктов термохимического воздействия, а вслед за этим действует гидродинамический удар всего столба жидкости на стенки скважины, в результате чего в пласте образуются новые и раскрываются ранее образованные трещины. В дальнейшем наблюдается затухающий колебательный процесс, и возникающие при этом перепады давления осуществляют дополнительную прочистку поровых каналов в пласте. Процесс, происходящий в имплозионных камерах и в скважине, фиксируют датчиками давления и температуры (10), по данным которых определяют эффективность воздействия и, в случае необходимости обработку пласта повторяют. Устройство состоит из отдельных частей, сборку которых обеспечивают унифицированные соединительные узлы. Поэтому в случае необходимости можно использовать различные варианты этих частей. В тех случаях, когда обрабатываемый пласт расположен близко к забою скважины, нижнюю имплозионную камеру можно не использовать. При необходимости дополнительной очистки пласта можно убрать термогазогенератор (5). В случае очистки призабойной зоны и забоя скважины можно убрать нижнюю имплозионную камеру (1) и термогазогенератор (5).

Таким образом, предлагаемое устройство позволяет одновременно воздействовать на пласт и призабойную зону комбинацией нескольких методов воздействия, а именно, теплового, газового, химического и физического, что значительно повышает эффективность воздействия и расширяет круг решаемых задач. К достоинствам предлагаемого устройства относится то, что оно равномерно воздействует на пласт за счет плавного нарастания давления в интервале обрабатываемого пласта, позволяет создавать в пласте горизонтальные трещины, дает возможность локального и мощного депрессионного удара по пласту, исключает смещение устройства по стволу скважины, обеспечивает высокую химическую агрессивность газа по отношению к пласту, позволяет производить экспресс-анализ эффективности воздействия и оптимизировать работы на скважине, а также обеспечить экологическую безопасность при использовании химических реагентов.

. Экономический раздел

.1 Расчет основной заработной платы

На заданное количество основных и вспомогательных рабочих составляется ведомость в таблицу 2.

Таблица 2. Ведомость количества работников

Профессия

Разряд

Количество

Затраты времени на проведение мероприятия, ч.

Мастер ЦДНГ

10

1

2

Мастер ГРП

10

1

20

Оператор ГРП

8

1

138

Оператор ГРП

6

1

138

Оператор глушения скважин

7

1

6

Оператор ДНГ

7

1

2

Стропальщик

6

1

6

Стропальщик

5

1

6


Заработную плату определяем по формуле (1):

                                                                                                   (1)

Где Ч - численность рабочих соответствующего разряда, чел.

Т - затраты времени рабочего соответствующего разряда на проведение мероприятия, ч.

Сч - часовая тарифная ставка рабочего соответствующего разряда, руб.

 

 

 

 

 

 

 

 

Расчет заработной платы сводим в таблицу 3:

Таблица 3. Расчет распределения зарплаты на основе часовых тарифных ставок

Профессия

Количество

Разряд

Часовая тарифная ставка, руб.

Затраты времени, ч

Заработная плата, руб.

Мастер ЦДНГ

1

10

117,95

2

235,9

Мастер ГРП

10

117,95

20

2359

Оператор ГРП

1

8

103,18

138

14238,84

Оператор ГРП

1

6

84,56

138

11669,28

Оператор глушения скважин

1

7

94,92

6

569,52

Оператор ДНГ

1

7

94,92

2

189,84

Стропальщик

1

6

84,56

6

507,36

Стропальщик

1

5

68,6

6

411,6

Основные рабочие

26667,48





Вспомогательные рабочие

918,96





Мастера

2594,9





ИТОГО

30181,34






Рассчитываем сумму доплат, учитывающую размер премии по каждой категории работников по формуле (2):

                                                                                                           (2)

Где Нпр - размер премии в процентах от прямой заработной платы, %.

 

 

 

Определяем заработную плату рабочих с учетом доплат (расчетную заработную плату) по формуле (3):

                                                                                             (3)

 

Определяем заработную плату с доплатой по районному коэффициенту к зарплате по формуле (4):

                                                                                                  (4)

Где Кр - районный коэффициент к зарплате.

 

Рассчитываем доплату за работу в районах Крайнего Севера и приравненных к ним местностях по формуле (5):

                                                                                                           (5)

Где g - размер доплаты в процентах от расчетной заработной платы за работу в районах Крайнего Севера и приравненных к ним местностях.

 

Рассчитываем общую сумму основной заработной платы рабочих по формуле (6):

                                                                             (6)

Где N - количество скважин, шт.

 

4.2 Расчет дополнительной заработной платы


                                                                                                     (7)

Где Д - размер дополнительной заработной платы в процентах к основной заработной плате, %.

 

4.3 Расчет отчислений на социальные нужды

Стоимость материалов, расходуемых на проведение мероприятия, определяется по формуле (8):

                                                                                          (8)

Где О - размер отчислений на социальные нужды от суммы основной и дополнительной заработной платы, %.

 

4.4 Расчет стоимости материалов

Стоимость материалов, расходуемых на проведение мероприятия, определяется по формуле (9):

                                                                                                  (9)

Где Цм - цена материала, руб.

М - количество материала, расходуемого на проведение мероприятия.

 

Расчет стоимости материалов сводим в таблицу 4.

Таблица 4. Расчет стоимости материалов

Наименование материала

Единица измерения

Количество

Цена, руб.

Стоимость материалов, руб.

Раствор глушения

м3

70

75

26250


5. Охрана окружающей среды

.1 Охрана окружающей среды при проведении ГРП

Окружающая среда при ГРП может быть загрязнена рабочими жидкостями, которые остаются по окончании процесса или же разлиты из-за небрежного обращения. В подготовительно-заключительный период из-за нарушений режимов глушения скважины или процесса освоения ее возможны выбросы скважинной жидкости вплоть до неуправляемого фонтанирования.

Примыкающим к скважине землям ущерб может быть причинен и техническими средствами: агрегатами, пескосмесителями, автоцистернами и другой спецтехникой, применяемой при гидроразрывах, в случаях отсутствия подъездных путей к скважине, при их неудовлетворительном состоянии и нарушении маршрутов следования.

Используемые для контроля гидроразрыва радиоактивные изотопы также могут оказаться источником заражения окружающей среды при небрежном обращении с ампулами и контейнерами или активированными материалами (зернистыми или жидкими).

Для предупреждения загрязнения окружающей среды при ГРП проводятся следующие основные мероприятия:

.        Остатки жидкостей гидроразрыва из емкостей агрегатов и автоцистерн сливаются в промышленную канализацию, нефтеловушку или специальную емкость. Сливать их на землю запрещается;

.        Все углеводороды, оказавшиеся на территории вокруг скважины, по окончании работ собираются и утилизируются либо вывозятся, если утилизация невозможна;

.        В случае если возникло неуправляемое фонтанирование, срочно сооружается земляной вал для ограничения возможности растекания пластового флюида по большой территории;

.        Территория вокруг добывающей скважины в соответствии с действующими нормами ограждена земляным валом и благоустроена;

.        Примыкающая к скважине территория в случае причинения ущерба при подъездах и т.д. рекультивируется для сельскохозяйственного или иного пользования;