Материал: Методы интенсификации добычи нефти на Первомайском месторождении

Внимание! Если размещение файла нарушает Ваши авторские права, то обязательно сообщите нам

Апт-альб-сеноманский водоносный комплекс представлен отложениями покурской свиты. Воды комплекса используются для поддержания пластового давления. Воды по составу хлоридно-натриевые с минерализацией 17,9 г/л, бессульфатные, содержание общего железа около 1,9 мг/л.

Воды апт-альб-сеноманских отложений, применяемые для заводнения, близки по составу к водам продуктивных пластов, при смешивании не дают осадка.

2. Технико-технологический раздел

.1 Методы увеличения проницаемости призабойной зоны пласта

Снижение проницаемости призабойной зоны пласта (ПЗП) приводит к снижению дебитов в нефтяных скважинах и приемистости в нагнетательных скважинах. Проницаемость пород призабойной зоны скважин улучшают или восстанавливают за счет создания или увеличения имеющихся дренажных каналов, увеличения трещиноватости пород, удаления из призабойной зоны смолопарафиновых отложений, окислов железа, механических примесей и т.д. Условно методы увеличения проницаемости пород призабойной зоны скважин разделяют на: химические, механические, тепловые, физические и вибрационные. Нередко эти методы применяют в сочетании друг с другом или последовательно для получения лучших результатов. Химические методы чаще применяются и дают хорошие результаты в карбонатных коллекторах, а также в сцементированных песчаниках, в состав которых входят карбонатные включения и карбонатные цементирующие вещества. Химические методы воздействия применяют, когда можно растворить породу пласта или элементы, отложение которых обусловило ухудшение проницаемости ПЗП (соли, железистые отложения и т.д.). Наиболее распространенным методом при этом является проведение кислотной обработки. Механические методы увеличения проницаемости ПЗП применяют в продуктивных пластах, сложенных плотными породами, с целью создания дополнительных новых или расширения существующих трещин в ПЗП с целью приобщения к процессу фильтрации новых удаленных частей пласта. К этому виду воздействия относится гидравлический разрыв пласта, щелевая разгрузка и т.д.

Тепловые методы применяются в тех случаях, когда в ПЗП образуются смолопарафиновые отложения, а также при добыче вязких и высоковязких нефтей. Прогрев призабойной зоны с целью удаления из нее смол, парафина, асфальтенов осуществляют с помощью прогрева ПЗП глубинными электронагревателями, острым паром, перегретой водой, горячей нефтью и т.д. При этом в ПЗП должна создаваться и поддерживаться температура выше температуры плавления смолопарафиновых отложений. Физические методы предназначены для удаления из призабойной зоны скважины остаточной воды и твердых мелкодисперсных частиц, что и увеличивает проницаемость пород для нефти.

Последнее время с целью улучшения проницаемости ПЗП в нефтяных и нагнетательных скважинах применяют волновой, вибрационный, гидроимпульсный и акустический методы. Эти методы находятся в стадии доработки и совершенствования.

.2 Оборудование, применяемое при проведении кислотной обработки

Для проведения кислотной обработки применяют специальный агрегат «Азинмаш-30» (рисунок 3), смонтированный на шасси вездеходного автомобиля КРАЗ-257 или другого мощного автомобиля. Агрегат оснащен цистерной с двумя гуммированными секциями по 5,3 м3 каждая и дополнительной прицепной цистерной емкостью 6 м3 с гуммированной внутренней поверхностью ее двух отсеков. Агрегат «Азинмаш-30» оснащен трехплунжерным насосом типа 2НК-500; насос обеспечивает подачу от 1,03 до 12,2 л/с при давлениях закачки 5 - 7,6 Мпа. На промыслах иногда применяют цементированные агрегаты ЦА-320 (рисунок 4) и 2АН-500. Если поршневая система этих агрегатов выполнена не в кислотоупорном исполнении, то после окончания работ всю систему промывают чистой пресной водой.

Приготовление и перевозку кислотных растворов осуществляют в автоцистернах 4ЦР вместимостью 9 м3 или ЦР-20 вместимостью 17 м3 и в мерниках, гуммированных (гуммирование - покрытие резиной для предохранения от коррозии) или покрытых специальными лаками или эмалями. В промысловых условиях в карбонатных коллекторах применяют несколько видов обработок: кислотные ванны, простые кислотные обработки, термокислотные обработки, поинтервальные кислотные обработки, кислотные обработки в динамическом режиме и т.д.

Рисунок 3. Насосный агрегат для кислотных обработок Азинмаш-30: 1 - кабина машиниста (пульт управления); 2 - коробка отбора мощности; 3 - емкость для реагента; 4 - насос 4НК-500; 5 - выкидной трубопровод; 6 - редуктор; 7 - шланг для забора раствора кислоты из цистерны; 8 - цистерна для раствора кислоты; 9 - комплект присоединительных шлангов; 10 - ящик для инструментов; 11 - горловина цистерны

Рисунок 4. Цементировочный агрегат ЦА-320: 1 - шасси автомобиля КрАЗ-250, КрАЗ-65101, Урал-4320-1912-30; 2 - коробка отбора мощности, редуктор; 3 - блок водоподающий с центробежным насосом; 4 - насос НЦ-320; 5 - колено шарнирное 50*70; 6 - колено шарнирное сдвоенное 50*70; 7 - бак мерный с донными клапанами; 8 - бачок цементный; 9 - манифольд; 10 - труба L = 4065; 11 - труба L = 2065; 12 - труба L = 1140

.3 Технология проведения кислотной обработки

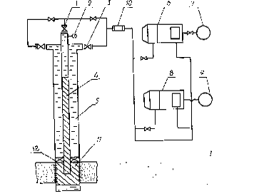
Перед началом проведения кислотной обработки в скважину спускают насосно-компрессорные трубы до забоя, промывают скважину, проводят опрессовку всей системы (от агрегата до забоя) водой или нефтью на полуторакратное давление от ожидаемого давления закачки раствора в пласт. На рисунке 5 показана схема обвязки устья и оборудования скважины для проведения кислотной обработки.

Рисунок 5. Схема размещения оборудования при кислотной обработке скважины

В схеме показан обратный клапан (10), который предназначен для предотвращения излива кислотного раствора из скважины при вынужденных остановках насосов, связанных с пропусками в системе, отказом насосных агрегатов и т.д.

После заполнения скважины водой или нефтью, промывки и опрессовки системы, при открытом межтрубном пространстве (задвижка 3) и устьевой задвижки (10) через устьевую арматуру (1) через НКТ начинают закачивать в скважину кислотный раствор насосными агрегатами (6) из емкости (7). Закачку раствора ведут до тех пор, пока первые порции кислотного раствора не дойдут до забоя. После этого закрывают задвижку межтрубного пространства (3) и в скважину закачивают расчетное количество кислотного раствора с продавкой его в призабойную зону пласта (11). Затем насосные агрегаты (6) останавливают и насосным агрегатом (8) залавливают кислотный раствор из НКТ в пласт продавочной жидкостью (обычно той, которой промывали скважину) из емкости (9).

Объем продавочного раствора берут из расчета емкости НКТ, межтрубного пространства прифильтровой зоны скважины плюс 200-300 л дополнительной жидкости для того, чтобы кислотный раствор несколько оттеснить от стенки скважины внутрь пласта.

После завершения продавки заданного объема кислотного раствора в пласт демонтируют обвязку устья, отсоединяют агрегаты и оставляют скважину для реагирования кислотного раствора с породами пласта. Время реагирования кислотного раствора с породой зависит от концентрации раствора, температуры и давления в пласте, а также от состава пород (карбонатности, глинистости и так далее). Скважину после кислотной обработки начинают осваивать через 10 - 12 часов, если пластовая температура не превышает 40°С, а на скважинах высокотемпературных (100°С и выше) - через 2-3 часа. Освоение чаще всего проводят с помощью компрессора. Компрессор в этих случаях заранее транспортируют на скважину, и после демонтажа обвязки устья и насосных агрегатов сразу обвязывают компрессор (УКП-80 или КС-100). Скважины осваивают через НКТ, нагнетая газ в затрубное пространство. Скважины могут осваиваться и другими способами (свабирование, промывка нефтью и так далее). После кислотной обработки нагнетательной скважины продукты реакции можно выбросить на поверхность самоизливом скважины или с применением метода аэрации (насыщение жидкости воздухом). В нагнетательных скважинах промывку, опрессовку системы и продавку кислотного раствора осуществляют той же водой, которую нагнетают в скважину.

При обработке скважин соляной кислотой кислота проникает, прежде всего, в наиболее проницаемые части пласта и трещины, а плохо проницаемые пропластки и участки остаются не охваченные кислотным раствором. В таких случаях делают повторные кислотные обработки под повышенным давлением. Высокопроницаемые участки при этом изолируют с помощью пакеров или закачивают в наиболее проницаемые участки высоковязкие эмульсии. После этого делают кислотную обработку, и кислота под давлением поступает в менее проницаемые участки.

На скважинах, где интенсивно выпадают смолопарафиновые отложения в ПЗП, эффективность кислотных обработок будет значительно выше, если предварительно расплавить и удалить из ПЗП эти отложения. Удаление смолопарафиновых отложений осуществляют или с помощью прокачки горячей нефтью, или делают так называемую термокислотную обработку.

Термокислотная обработка заключается в том, что на забой скважины, чаще всего, опускают магний, который при соприкосновении с соляной кислотой вступает с ней в химическую реакцию, сопровождающуюся выделением большого количества тепла. После спуска на забой магния (обычно прутки диаметром 2-4 мм, длиной 60 см) приступают к закачке кислоты в скважину как при обычной обработке. Можно применять и другие металлы. Например, при реакции соляной кислоты с твердым едким натром выделяется 592 ккал тепла на 1 кг натрия, при реакции с едким калием - 450 ккал тепла, а при реакции с магнием выделяется 4520 ккал тепла на 1 кг магния. После закачки первой порции соляной кислоты, предназначенной для термохимической обработки, сразу же закачивают кислотный раствор для заключительной стадии отработки. После завершения реакции скважину осваивают (удаляют продукты из пласта) и пускают в эксплуатацию. Чтобы солянокислотный раствор более глубоко проник в пласт, с целью повышения эффективности кислотной обработки применяют пенокислотные обработки.

Сущность пенокислотных обработок заключается в том, что в призабойную зону продуктивного пласта закачивается не обычный кислотный раствор, а аэрированный (аэрация - насыщение жидкости воздухом) раствор поверхностно-активных веществ с соляной кислотой в виде пены. При проведении пенокислотных обработок замедляется растворение карбонатного материала в кислотной пене, что способствует более глубокому проникновению кислоты в пласт и приобщению к дренированию участков пласта, ранее не охваченных процессом фильтрации. Малая плотность кислотных пен (400-800 кг/м2) и их повышенная вязкость позволяют значительно увеличить охват пласта воздействием кислоты всей продуктивной толщины пласта.

При пенокислотной обработке улучшаются условия очистки призабойной зоны пласта от продуктов реакции: присутствие поверхностно-активных веществ снижает поверхностное натяжение как активной, так и отреагировавшей кислоты на границе с нефтью, а наличие сжатого газа в отреагировавшем растворе, расширяющегося во много раз при освоении скважины (компрессором при снижении забойного давления), улучшает условия и качество освоения. Оборудование для закачки в скважину кислотных пен состоит из кислотного агрегата, передвижного компрессора и смесителя-аэратора. В аэраторе происходит перемешивание раствора кислоты с воздухом и образование пены. Степень аэрации при объеме воздуха в м3 на 1м3 кислотного раствора обычно принимается в пределах 15-25. При пенокислотных обработках применяются следующие ПАВ: сульфанол, ОП-10, катапин А, дисольван и другие. Для замедления реакции добавки ПАВ к раствору соляной кислоты составляют от 0,1 до 0,5 % от объема раствора соляной кислоты. Обработку продуктивных пластов, сложенных песчаниками с глинистым цементом, проводят смесью плавиковой (фтористоводородной) кислоты НР с соляной кислотой. Такую смесь кислот называют грязевой кислотой или глино-кислотной. Такая смесь кислот не может применяться для обработки карбонатных пород или сильно карбонизированных песчаников, т.к. при ее воздействии на породу образуется осадок фтористого кальция СаF2, который способен закальматировать поровое пространство пласта. Взаимодействие грязевой кислоты с песчаником или песчано-глинистой породой приводит к растворению глинистых фракций и кварцевого песка (частично). При взаимодействии грязевой кислоты глины утрачивают пластичность и способность к разбуханию, а взвесь их в воде теряет свойство коллоидного раствора. Обрабатывают скважины грязевой кислотой в такой последовательности. Вначале в продуктивном пласте делают соляно-кислотную ванну. Если предполагают, что стенки эксплуатационной колонны покрыты цементной коркой, то в раствор соляной кислоты добавляют 1-1,5 % раствора плавиковой кислоты.

После этого в пласт закачивают 10-15 % раствора соляной кислоты для растворения в призабойной зоне карбонатов. Затем скважину осваивают с целью удаления продуктов реакции из пласта.

Рисунок 6. Схема технологической операции кислотной обработки ПЗП в динамическом режиме с использованием струйного насоса: а - расположение подземного оборудования в скважине, заполнение НКТ кислотным раствором; б - запакеровка межтрубного пространства, закачка кислотного раствора в пласт; в - спуск в НКТ шарового клапана, прокачка жидкости через струйный насос (создание депрессии); г - приподъем шарового клапана и закачка кислотного раствора в пласт; 1 - НКТ; 2 - струйный насос; 3 - пакер; 4 - хвостовик; 5 - шаровой клапан; 6 - продавочная жидкость; 7 - раствор кислоты

В скважину на НКТ (1) опускают струйный насос (2) и пакер (3) с хвостовиком (4), длина которого соответствует объему 1 - 1,5 м3. Конец хвостовика устанавливается против обрабатываемого пласта. НКТ заполняют ингибированным раствором соляной кислоты (рисунок 6 а), при этом скважинная жидкость вытесняется в затрубное пространство.

После этого с помощью пакера разобщают межтрубное пространство и цементировочным агрегатом ЦА-320 или АН-700 закачивают в пласт расчетное количество кислотного раствора на повышенной скорости. Раствор кислоты из НКТ вытесняется пресной или минерализованной водой (рисунок 6 б). Затем в скважину по НКТ спускают на скребковой стальной проволоке шаровой клапан (5). В конструкции струйного насоса используется шарик, который спускается в комплекте с насосом или сбрасывается в НКТ после спуска насоса. Шаровой клапан садится в клапанное седло и перекрывает центральный канал. Вслед за этим цементировочным агрегатом при заданном давлении через НКТ струйным насосом в затрубное пространство прокачивают жидкость.

При этом в призабойной зоне создается депрессия на пласт. Раствор соляной кислоты вместе с продуктами реакции выходит из пласта и частично заполняет хвостовик (рисунок 6 в). После этого приподнимают шаровой клапан и через определенное время (5 - 10 минут) расчетный объем раствора кислоты из хвостовика закачивают в пласт (рисунок 6 г). Затрубное пространство в этом случае перекрывают задвижкой. По вышеизложенной технологии проводят несколько циклов. В каждом последующем цикле увеличивают объем поступающей из пласта жидкости, а объем возвращаемой в пласт жидкости уменьшается. Процесс продолжается до полного освоения скважины. Кислотную обработку пласта в динамическом режиме можно проводить с помощью передвижного компрессора (УКП-80 или КС-100) и специального клапана. Схема кислотной обработки в динамическом режиме с использованием передвижного компрессора показана на рисунке 7.

Рисунок 7. Последовательность проведения кислотной обработки в динамическом режиме с использованием передвижного компрессора и клапана: а - расположение подземного оборудования в скважине, замещение скважинной жидкости на кислотный раствор; б - продавка кислотного раствора в пласт; в - спуск шарового отсекателя, вытеснение воздухом скважинной жидкости в межтрубное пространство; г - отток кислотного раствора из пласта за счет создавшейся депрессии; д - закачка кислотного раствора в пласт продавочной жидкостью; 1 - НКТ; 2 - корпус клапана; 3 - пакер; 4 - шаровой отсекатель

Кислотная обработка пласта проводится практически в той же последовательности, что и при использовании струйного насоса.

Способ кислотной обработки в динамическом режиме широко применяется на месторождениях с карбонатными.

.4 Гидравлический разрыв пласта

Для увеличения проницаемости призабойной зоны продуктивного пласта, наряду с другими способами, применяется гидравлический разрыв пласта (ГРП).