Материал: Методика поверки скобы с отсчетным устройством типа СР

Внимание! Если размещение файла нарушает Ваши авторские права, то обязательно сообщите нам

Методика поверки скобы с отсчетным устройством типа СР

Введение

поверка скоба размер погрешность

Метрологические характеристики средств измерений во многом определяются качеством их изготовления. В то же время, в процессе эксплуатации средств вследствие износа деталей и старения материалов происходит изменение метрологических характеристик, что может привести к метрологическому отказу. Поэтому для обеспечения единства измерений действует система поверки средства измерений, обеспечивающая эксплуатацию только пригодных к применению средств.

Под поверкой понимают - совокупность операций, выполняемых органами государственной метрологической службы (или другими уполномоченными организациями) с целью определения и подтверждения соответствия средств измерений установленным техническим требованием.

Поверке подвергаются средства измерения, подлежащие государственному метрологическому контролю и надзору, при выпуске из производства или ремонта, при ввозе по импорту и эксплуатации. Государственный метрологический контроль и надзор, осуществляемый с целью поверки соблюдения метрологической правки и норм, распространяется на сферы указанные в статье 13 Закона РФ « Об обеспечении единства измерений».

Поверка производится в соответствии с нормативными документами, утверждаемыми по результатам документами, утверждёнными по результатам испытаний по утверждению типа средств измерений (СИ).

Результатом поверки является подтверждение пригодности СИ к применению или признание СИ непригодным к применению.

В данной курсовой работе будет разработана методика поверки скобы с отсчетным устройством.

1 Описание СИ

Скобы с отсчетным устройством предназначены для измерений линейных размеров до 1000 мм, оснащены отсчетным устройством с ценой деления 0,002 0,01 мм. Они изготавливаются двух типов:

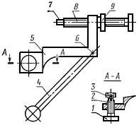
СР рычажные, со встроенным в корпус отсчетным устройством (рис. 1).

СИ индикаторные, оснащенные измерительными головками (рис. 2).

Основные параметры скоб соответствуют указанным в таблице 1.

Таблица 1 - Параметры скоб

Типы скоб

Пределы измерений скоб, мм

Отсчетное устройство

Диапазон перемещений переставной пятки, мм

Количество переставных пяток, шт.



Цена деления, не более, мм

Пределы измерений, не более, мм



СР

0-25 25-50 50-75 75-100 100-125 125-150

0,002

0,14

25

1

СИ

0-50 50-100

0,01

3

50

1


100-200 200-300 300-400 400-500 500-600




2


600-700


5




700-850 850-1000




3


- пятка подвижная; 2 - отсчетное устройство; 3 - корпус; 4 - теплоизоляционная накладка; 5 - упор; 6 - пятка переставная

Рисунок 1 - Скоба рычажная

- пятка подвижная; 2 - отсчетное устройство; 3 - корпус; 4 - теплоизоляционная накладка; 5 - пятка переставная

Рисунок 2 - Скоба индикаторная

2. Проект методики поверки СИ

Настоящая методика предназначена для скоб с отсчетным устройством типа СР.

.1 Операции поверки

При проведении поверки должны быть выполнены операции указанные в таблице 1.

Таблица 1 - Операции поверки

Наименование операции

Номер пункта документа по поверке

Обязательность проведения операции при



Выпуске из производства

ремонте

Эксплуатации и хранения

1

2

3

 4

5

Внешний осмотр

2.6.1

Да

Да

Да

Опробование

2.6.2

Да

Да

Определение метрологических характеристик

2.6.3




Определение ширины штрихов и стрелки, а также расстояния между штрихами у скоб типа СР

2.6.3.1

Да

Нет

Нет

Определения жесткости корпуса скобы

2.6.4

Да

Нет

Нет

Определения измерительного усилия скоб

2.6.5

Да

Да

Нет

Определения шероховатости измерительных поверхностей пяток и упоров

2.6.6

Да

Да

Нет

Определение отклонения от плоскостности измерительных

2.6.7

Да

Да

Да

поверхностей скоб





Определение отклонения от параллельности измерительных поверхностей скоб

2.6.8

Да

Да

Да

Определение отклонения от соосности измерительных поверхностей пяток скобы типа СР

2.6.9

Да

Нет

Нет

Определение размаха показаний скоб

2.6.10

Да

Да

Да

Определение основной погрешности скоб типа СР

2.6.11 и 2.6.12

Да

Да

Да


Жесткость скоб, выпущенных из производства, определяют выборочно у 1 % скоб или не менее чем у двух скоб из партии.

Допускается применять отдельные вновь разработанные или находящиеся в применении средства поверки, прошедшие метрологическую

аттестацию в органах государственной метрологической службы или, с их разрешения, ведомственной метрологической службы и удовлетворяющие по точности требованиям настоящего стандарта.

.2 Средства поверки

При проведении поверки должны быть применены средства поверки указанные в таблице 2.

Таблица 2- Средства поверки

Номер пункта по поверке

Наименование документа, регламентирующего технические требования к средству; разряд по государственной поверочной схеме и/или метрологические основные технические наименование рабочего эталона или вспомогательного средства поверки; номер докие характеристики

2.6.1

 -

2.6.2

 -

2.6.3

Универсальный измерительный микроскоп типа УИМ или инструментальный микроскоп по ГОСТ 8074-71

2.6.4

Гиря массой 1 кг 5-го класса точности по ГОСТ 7328-73* или динамометр на усилие 10Н, погрешность измерения не более 10 %

2.6.5

Циферблатные весы по ГОСТ 23676-79

2.6.6

Лупа 4; образцы шероховатости поверхности 0,025 и 0,2 мкм  по ГОСТ 9378-75 или профилограф  по ГОСТ 19299-73, либо профилометр  по ГОСТ 19300-73

2.6.7

Плоские стеклянные пластины 2-го класса по ГОСТ 2923-75

Плоскопараллельные стеклянные пластины по ГОСТ 1121-75; плоскопараллельные концевые меры длины 5-го разряда по ГОСТ 8.166-75

2.6.9

Приспособление для определения отклонения от соосности (справочное приложение 1, черт.3)

2.6.10

Плоскопараллельные концевые меры длины 4 и 5-го разрядов по ГОСТ 6507-78

2.6.11 и 2.6.12

Плоскопараллельные концевые меры длины 4 и 5-го разрядов по ГОСТ 6507-78


Допускается применять отдельные вновь разработанные или находящиеся в применении средства поверки, прошедшие метрологическую аттестацию в органах государственной метрологической службы или, с их разрешения, ведомственной метрологической службы и удостоверяющее по точности требованиям настоящего стандарта.

.3 Требования безопасности

При подготовке к проведению поверки следует соблюдать правила пожарной безопасности, установленные для работы с легковоспламеняющимися жидкостями, к которым относится бензин, используемый для промывки микрометра и плоскопараллельных концевых мер длины.

В помещении, где производят промывку, должны быть предупредительные знаки и сигнальные цвета по ГОСТ 12.4.026-76 <#"878587.files/image005.gif">

Чертеж 1

Интерференционная картина, соответствующая отклонению от плоскостности, равному двум полосам. Полосы 4 и 5 не принимают во внимание, так как они расположены ближе чем на 0,5 мм от края. Полосы 2 и 3 считают за одну полосу, так как они расположены симметрично относительно замкнутой полосы

Чертеж 2

Чертеж 3

*8,05 или 11,05 мм в зависимости от диаметра пятки.

Чертеж 4

Чертеж 5

 - горизонтальное положение скобы;  - вертикальное положение скобы

, 2, 8 - винты 3 - пятка 4 - кронштейн 5 - корпус 6 - цилиндрический штифт 7 - шарик; 9 - гайка

Чертеж 6

Приложение 2

(Обязательное)

ПРИМЕР

записи результатов определения основной погрешности

скоб типа СР с диапазоном измерения 0-25 мм

Проверяемый участок шкалы, деления

Плоскопараллельная концевая мера, мм

Разность действительных значений мер, мкм 

Показания скобы, мкм

Основная погрешность скобы, мкм 


номинальное значение

действительное значение




0

1,14

1,1403

0,0

0,0

-

0+5

1,15

1,1504

+10,1

+10,0

-0,1

0+10

1,16

1,1613

+21,0

+20,2

-0,8

0+20

1,18

1,1810

+40,7

+40,8

+0,1

0+30

1,20

1,2003

+60,0

+60,8

+0,8

0+40

1,22

+79,5

+80,0

+0,5

0+50

1,24

1,2410

+100,7

+101,0

+0,3

0+60

1,26

1,2600

+119,7

+119,7

0,0

0+70

1,28

1,2805

+140,2

+140,0

-0,2

0

1,14

1,1403

0,0

0,0

-

0-5

1,13

1,1304

-9,9

-10,4

-0,5

0-10

1,12

1,1212

-19,1

-19,8

-0,7

0-20

1,10

1,1000

-40,3

-40,3

-0,3

0-30

1,08

1,0813

-59,0

-60,0

-1,0

0-40

1,06

1,0603

-80,0

-80,5

-0,5

0-50

1,04

1,0401

-100,2

-100,3

-0,1

0-60

1,02

1,0199

-120,4

-120,6

-0,2

0-70

1,003

-140,0

-140,1

-0,1



Приложение 3

(Обязательное)

ПРИМЕР

записи результатов определения основной погрешности скоб типа СР при сокращенном числе концевых мер

Проверяемый участок шкалы, деления

Плоскопараллельная концевая мера, мм

Разность действительных значений мер, мкм,  

Показания скобы, мкм,  

Основная погрешность скобы, мкм,   


номинальное значение

действительное значение




0

1

1,0005

0,0

0,0

-

0+5

1,01

1,0108

10,3

10,3

0

0+10

1,02

1,0212

20,7

20,5

-0,2

0+20

1,04

1,0410

40,5

41,0

+0,5

0+30

1,06

1,0615

61,0

61,7

+0,7

0+40

1,08

1,0809

80,4

81,0

+0,6

0+50

1,10

1,1005

100,0

100,3

+0,3

0+60

1,12

1,1203

119,8

120,0

+0,2

0+70

1,14

1,1400

139,5

139,4

-0,1

0

1,14

1,1410

0,0

0,0

-

0-5

1,13

1,1307

-10,3

-10,1

+0,2

0-10

1,12

1,1215

-19,5

-20,3

-0,8

0-20

1,10

1,1010

-40,0

-40,5

-0,5

0-30

1,08

1,0805

-60,5

-60,8

-0,3

0-40

1,06

1,0600

-81,0

-81,0

0,0

0-50

1,04

1,0401

-100,1

-100,0

+0,1

0-60

1,02

1,0205

-120,5

-120,0

+0,5

0-70

1

1,0010

-140,0

-140,1

-0,1