Материал: Магнитожидкостные уплотнения

Внимание! Если размещение файла нарушает Ваши авторские права, то обязательно сообщите нам

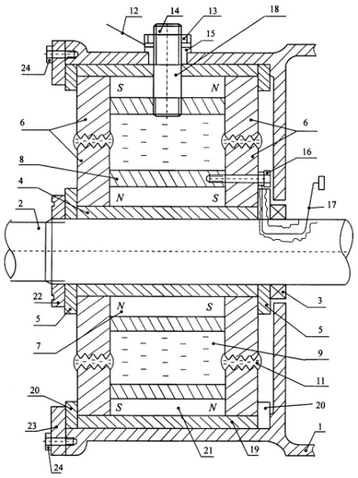
Ещё один пример использования магнитожидкостного уплотнения это жидкостное контактное устройство (рисунок 1.13).

Токосъемное устройство состоит из корпуса 1, на валу 2 которого размещены подшипник 3 и изоляционная втулка 4, окруженная с двух сторон изоляционными шайбами 5 и на которую устанавливается магнитопровод 6, постоянный магнит 7 и подвижный электрод 8, по которому скользит токопроводящая жидкость (ртуть) 9, передающая сигнал от неподвижного электрода 10 и удерживаемая от вытекания феррожидкостью 11.Вращающаяся часть конструкции фиксируется с помощью крепежного кольца 22, закрученного по резьбе вала 2, а неподвижная часть конструкции фиксируется к корпусу 1 с помощью фиксирующего кольца 23, затянутого к корпусу 1 с помощью винтов 24.

Устройство работает следующим образом.При вращении вала 2 происходит передача энергии или сигнала от неподвижного электрода 10 к подвижному электроду 8 через токопроводящую жидкость 9, которую от вытекания удерживает феррожидкость 11, находящаяся между зубчиками магнитопровода 6 из-за электромагнитного поля, создаваемого постоянными магнитами 7, 21.

Рисунок 1.13 - Жидкостное контактное устройство

В литературном обзоре рассмотрены множество способов герметизации подвижных соединений различных механизмов. Все они имеют свои преимущества и недостатки. При проектировании изделия во время выбора способа герметизации следует проанализировать требования к герметичности, условия и режим эксплуатации. Так же стоит обращать внимание на технологичность изготовления и стоимость компонентов.

2. АНАЛИЗ СОСТОЯНИЯ ВОПРОСА. МАГНИТОЖИДКОСТНЫЕ УПЛОТНЕНИЯ

Магнитожидкостные уплотнения относятся к наукоёмкой высокотехнологичной продукции, поэтому создание новых конструкций магнитожидкостного уплотнения при заданных требованиях связаны с глубокой проработкой магнитной системы, распределением магнитного поля, технологических вопросов изготовления МЖУ, синтезом магнитной жидкости с заданными свойствами.

Из существующего многообразия конструкций МЖУ, наиболее перспективной является система, показанная на рисунке 2.1, в которой составные части магнитной системы жестко соединены с корпусом подшипникового узла. Это позволяет максимально сократить число посадочных поверхностей, обеспечивающих рабочий зазор. Кроме этого при реализации данной конструкции желательно обеспечить обработку посадочной поверхности под опорные подшипники и рабочую поверхность зазора за одну установку детали. Кроме этого данная конструкция исключает статические герметизаторы между магнитной системой и корпусом (резиновые кольца).

Рисунок 2.1 - Схема МЖУ

Полюсная приставка 1 может выполняться составной (разрез по пунктирной линии на рисунке 2.1), что упрощает сборку и разборку уплотнения, позволяет использовать кольцевые постоянные магниты.

Магнитожидкостное уплотнение в процессе эксплуатации долгое время может быть неподвижным. А известно, что статичная магнитная жидкость может сохранять свою текучесть только при определенных значениях магнитного поля и существует нейтральная кривая, определяющая область параметров, в которой текучесть сохраняется [1]. За пределами этой области в зазоре МЖУ образуется область плотно упакованных магнитных частиц. Из-за чего увеличивается трение между подвижными частями уплотнения, что приводит к выходу такого МЖУ из строя. Для гомогенизации магнитной жидкости необходимо постоянное ее перемешивание. Так, например, при вращении вала возникают течения в меридиональной плоскости, за счет чего и происходит выравнивание концентрации магнитных частиц в объеме жидкости. Однако не всегда возможна организация периодического проворачивания вала для гомогенизации магнитной жидкости. Поэтому интересным является изучение факторов, влияющих на стабильность магнитной жидкости.

1.      Скорость вращения вала, когда высокие сдвиговые напряжения вызывают недопустимый разогрев магнитной жидкости. Высокие скорости вращения вала и возникающие сдвиговые напряжения в магнитной жидкости вызывают недопустимый её разогрев.

2.      Технологическими факторами. Технология изготовления узла должна обеспечивать стабильную заданную величину зазора δ по окружности, т.е. требуется обеспечить минимально возможные отклонения зазора от расчётной величины (Δδ). Кроме этого минимальным должен быть и эксцентриситет зазора ε [7].

При наличии эксцентриситета магнитное поле неодинаково по окружности, в области максимального зазора напряженность поля меньше, а в области минимального зазора напряженность поля больше. Удерживающая способность уплотнения будет определяться напряженностью в области максимальной части зазора. Неравномерность поля по окружности приводит к перетеканию по окружности магнитной жидкости. В области максимальной части зазора магнитожидкостная пробка уменьшается в длину, что дополнительно снижает удерживающую способность уплотнения.

Поэтому при создании МЖУ необходимо первоначально детально проработать вопрос обеспечения равномерности зазора.

Возможно применение различных технологических приемов изготовления узла МЖУ, повышающих точность рабочего зазора, допустим, обработка поверхностей, образующих зазор, после сборки магнитной системы и подшипникового узла. При больших диаметрах уплотняемого вала - это наиболее перспективный путь.

В конструкции МЖУ поворотного вращающегося контактного устройства должны быть предусмотрены отверстия для заправки магнитной жидкости.

Заправочные отверстия позволяют заправлять МЖУ после его окончательной сборки, что наиболее технологично и обеспечивает минимальный расход магнитной жидкости. Заправочные отверстия позволяют также заправлять МЖУ непосредственно перед вводом его в эксплуатацию, что сокращает период нахождения магнитной жидкости в магнитном поле в статическом режиме. Наличие заправочных отверстий позволяет до заправлять МЖУ во время регламентных работ при длительном режиме эксплуатации, а также восстанавливать удерживающую способность уплотнения без его разборки после аварийных пробоев. Отверстия выводятся в канавки между зубцами, что не сказывается удерживающей способности узла от деформации магнитного поля в районе его выхода.

Форма зубцов на валу. В настоящее время используются различные формы зубцов (рисунок 2.2). Наиболее распространены зубцы с трапециевидным сечением (рисунок 2.2 а).

Рисунок 2.2 - Используемые типы зубцов

Углы между боковыми образующими поверхностями зубца и площадкой на острие зубца могут отличаться друг от друга. Американские и европейские производители обычно используют прямоугольную форму (рисунок 2.2 б). Такие зубцы технологичны в изготовлении, но имеют ряд недостатков. Известна также форма зубца (рисунок 2.2 в), в которой боковые образующие выполнены в виде дуг.

Количество зубцов определяется из заданного максимального удерживаемого перепада давления с учетом технологии изготовления узла. Максимальный удерживаемый перепад давления одним зубцом обычно не превышает 30 кПа, при этом удерживаемый всем уплотнением перепад давления пропорционален количеству зубцов.

Геометрические параметры зубцов. Важным является выбор соотношений геометрических параметров зубцов - отношение ширины зубца к зазору b/δ, величины площадки на острие зубца к зазору t/δ. Известны наиболее оптимальные соотношения геометрических параметров зубцов с точки зрения удержания максимально возможного перепада давлений. Как правило, их приходится корректировать в процессе разработки МЖУ, т. к. необходимо учитывать различные ограничения и дополнительные требования к МЖУ.

Геометрические параметры зубцов рассчитываются относительно величины рабочего зазора 8. Ширину площадки на вершине зубца выбираем исходя из величины максимально возможного рабочего зазора t/δmax=2. Рекомендуемый шаг зубца bсоставляет b/δ=l0…40. Чем шире зубец, тем выше его удерживающая способность.

Шероховатость поверхностей деталей, образующих рабочий зазор. При изготовлении деталей МЖУ на их поверхностях образуется множество микроскопических выступов и впадин. Их величина и количество определяют шероховатость поверхности [27].

Рисунок 2.3 - Перераспределение линий магнитного потока

При переходе магнитного потока из воздуха в магнитопроводящую деталь в приповерхностном слое шероховатой поверхности детали происходит перераспределение магнитного поля (рисунок 2.3). Вершины шероховатой поверхности концентрируют магнитный поток, образуя зоны повышенной напряженности магнитного поля, во впадинах между выступами - зоны пониженной напряженности. У поверхности поле становится неоднородным. При удалении от поверхности, неоднородность магнитного поля, обусловленная шероховатостью поверхности, постепенно ослабевает и исчезает [21]. По сравнению с размерами частиц жидкости, области неоднородного поля имеет значительные размеры. Так неровности шероховатой поверхности высотой порядка 1,25 - 2,5 мкм в 10-250 раз превышают размеры частиц магнитной жидкости. Если поместить около шероховатой поверхности магнитную жидкость, то магнитные частицы будут стремиться попасть в зону, где напряженность поля максимальна, то есть к вершинам выступов, создавая здесь повышенную концентрацию частиц. Вершины выступов покрываются слоем частиц, которые прочно удерживаются на поверхности. Магнитные частицы выстраиваются также в цепочки по линиям магнитного поля. Силы взаимодействия между частицами, тем выше, чем сильнее напряженность магнитного поля. То есть прочность цепочек из частиц существенно выше около вершин выступов шероховатой поверхности, чем на некотором удалении, где поле равномерное. Цепочки прочно связаны с вершинами выступов. Около шероховатой магнитопроводящей поверхности образуется слой магнитной жидкости с более сильным внутренним взаимодействием частиц, вследствие чего слой более прочный, и менее подвижный [19].

При движении шероховатой поверхности цепочки будут разрушаться в первую очередь в области, где силы взаимодействия между частицами наименьшие. Около шероховатой поверхности будет существовать трудно разрушимый слой. Появление неподвижного слоя мелкодисперсной рабочей среды на шероховатой поверхности вала, увеличивает эффективный диаметр вала, следовательно, момент трения уплотнения.

Высота слоя неоднородного магнитного поля около поверхности определяется высотой выступов, или классом шероховатости поверхности. Чем выше класс шероховатости поверхности, тем меньше толщина слоя неоднородного магнитного поля и прочного слоя дисперсной среды, чем ниже класс шероховатости поверхности, тем выше толщина слоя неоднородного магнитного поля и прочного слоя рабочей среды. Следовательно, задавая шероховатость магнитопроводящей поверхности можно регулировать толщину неподвижного приповерхностного слоя мелкодисперсной рабочей среды. В МЖУ класс шероховатости рабочих поверхностей зазора необходимо повышать, что позволит снизить моменты трения и страгивания, повысить ресурс уплотнения.

Существование неоднородного магнитного поля в приповерхностном слое интенсифицирует также процесс образования агрегатов из частиц магнитной жидкости в виде цепочек, что, в конечном итоге, приводит к повышению моментов трения и внутренних потерь магнитожидкостного уплотнения. Нанесение немагнитного покрытия на детали, образующие рабочий зазор. Исключить отрицательное воздействие шероховатой поверхности на магнитную жидкость можно с помощью нанесения немагнитного покрытия на вал. На шероховатую поверхность магнитопроводящей детали 1 (рисунок2.4) наносят немагнитное покрытие 2 толщиной A=nxRz, где n>0,3 - коэффициент пропорциональности, a Rz- высота неровностей профиля. Минимальная величина коэффициента n устанавливается не ниже 0,3. На поверхности немагнитного покрытия отсутствует неоднородность поля, вызванная шероховатостью, что уменьшает процессы структурирования магнитной жидкости. Немагнитное покрытие рабочих поверхностей, контактирующих с магнитной жидкостью, снижает момент трения и страгивания МЖУ, увеличивает его ресурс [31].

Рисунок 2.4 - Немагнитное покрытие магнитопроводящих поверхностей: 1- поверхность магниторповодящей детали; 2- немагнитное покрытие; 3- магнитная жидкость

В конструкции МЖУ можно рекомендовать использование немагнитное покрытие поверхностей полюсных приставок и зубцов, контактирующих с магнитной жидкостью.

3. ОБЪЕКТ И МЕТОДЫ ЭКСПЕРИМЕНТАЛЬНОГО ИССЛЕДОВАНИЯ

3.1 Объект исследования

Важнейшим параметром для МЖУ является рабочий зазор δ- минимальное расстояние между поверхностью вала и полюсными приставками уплотнения (рисунок 3.1).

Рисунок 3.1 - Магнитожидкостное уплотнение: 1 - вал; 2 - полюсные приставки; 3 - магнит; 4 -зубцы

Рабочий зазор выбирается наименьшим, так как габариты и вес уплотнения прямо пропорциональны зазору. При изменении зазора существенным образом меняется магнитное поле в зазоре и, следовательно, удерживающая способность уплотнения. Увеличение зазора приводит к ослаблению напряженности поля и снижению удерживаемого перепада давлений, уменьшение зазора к повышению напряженности поля и повышению удерживаемого перепада давлений, но при этом напряженность может достигнуть не приемлемых значений. Связь между величиной зазора, напряженностью поля и удерживаемым перепадом давлений нелинейная и достаточно сложная, т.к. магнитная цепь содержит как минимум три нелинейные среды.

Объектом исследования настоящей диссертационной работы являются несколько вариантов конструкций МЖУ для экспериментального выяснения зависимости удерживаемого уплотнением перепада давлений от величины рабочего зазора.

В ходе эксперимента была использована магнитная жидкость МКВ009-40 с напряженностью насыщения 40 кА/м, представляющая собой однородную взвесь однодоменных частиц магнетита в полифенилметилсилоксилане, стабилизированных олеиновой кислотой. Для многих технических задач важно, чтобы рабочая жидкость имела низкое давление насыщенных паров, была работоспособна в широком температурном интервале, при контактах с агрессивными средами. Этим требованиям во многом соответствуют кремнийорганические жидкости, представляющие собой полимерные соединения, молекулы которых состоят из чередующихся атомов кремния и кислорода с присоединёнными углеводородными радикалами по свободным связям кремния. Процесс производства МЖ на кремнийорганической основе осуществлялся в той же последовательности, что и на углеводородах, то есть вначале изготавливали концентрат, который затем пептизировали в определённом объёме дисперсионной среды.

Массивный магнетит обладает кристаллической структурой типа обращенной шпинели, его плотность ρк=5,21 г/см ,точка Кюри Тс = 858 К. Температурная зависимость намагниченности массивного магнетита в интервале 173 - 373 К может быть представлена в виде: М8= ((490 ± 1) - (0,242 + 0,002) t0) кА/м.

Длина молекулы цис-изомера олеиновой кислоты, вычисленная по ее структурной химической формуле СН3(СН2)7СН=СН(СН2)7СООН, составляет 1,5 нм, за эффективную длину обычно берут 2 нм. Плотность олеиновой кислоты при Т=293 К равна ρ0=0,895 г/см. Молекула олеиновой кислоты обладает полярной головкой и нейтральным хвостом. Во время стабилизации коллоида молекулы олеиновой кислоты за счет хемосорбции закрепляются на поверхности магнетитовой частицы, приэтом нейтральные концы обращены в жидкость-носитель. В настоящее время такие жидкости синтезируются как в нашей стране (Иваново, Краснодар, Москва), так и за рубежом.

3.2 Методика и экспериментальная установка для исследования удерживающей способности МЖУ

Исследование проводилось на экспериментальной установке (рисунок 3.2) при нормальных климатических условиях. В стандартах ГОСТ 16504-81 и ГОСТ 28198-89 определены следующие значения НКУ: температура 25±10ÅС; относительная влажность воздуха 45-80%; Атмосферное давление 84,0-106,7 КПа.