Материал: Лекция 11 Назначение и конструкция АМ

Внимание! Если размещение файла нарушает Ваши авторские права, то обязательно сообщите нам

повернется по направлению часовой стрелке на угол, соответствующий фазовому углу токов в обмотке. Это и есть вращение магнитного поля, которое подробно будет описано далее.

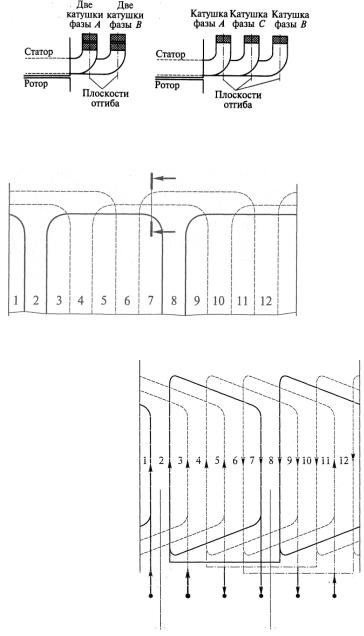
Если лобовые соединения катушек выполнить так, как показано на рис. 1.10, они не позволят вставлять и вынимать ротор, поэтому их нужно отогнуть наружу, т.е. на периферию торцевой части статора, как показано стрелками на рисунке. Причем обе катушки фазы можно отогнуть как в одну сторону (вверх или вниз), так и в разные. По способу отгиба и выполнения лобовых соединений однофазные обмотки подразделяются на двухплоскостные и трехплоскостные

Рис. 1.11. Схема-развертка однослойной трехфазной обмотки

На рис. 1.11 лобовые части катушек отогнуты в одну сторону. Это двухплоскостная обмотка, так как в разрезе а – а при виде сбоку (рис. 1.12, a ) видны две вертикальные плоскости, в которых расположены по две концентрические катушки фаз A и B .

a b

Рис. 1.12. Лобовые части двухплоскостной ( a ) и

 

трехплоскостной (b )

 

F

а

F

 

 

а

 

Рис. 1.13. 2.8. Часть схемы-развертки трехплоскостной однослойной обмотки

Обмотка неравносекционная, поскольку катушки имеют разные размеры и при изготовлении наматываются на разные шаблоны.

Если лобовые соединения катушек каждой фазы отогнуть в разные стороны, получим трехплоскостную обмотку, верхняя часть схемыразвертки которой показана на рис. 1.13.

Три плоскости отгиба неравносекционных катушек хорошо видны

F F

F F

A Z B X C Y

N S

Рис. 1.14. Схема-развёртка однослойной цепной обмотки

Рис. 1.15. Сложный изгиб лобовых частей цепной однослойной обмотки

на рис. 1.12, b , где они показаны параллельными, но эти лобовые части могут располагаться и под углом друг к другу.

Однослойная цепная обмотка. Схема такой обмотки не отли-

чается от предыдущей, но все ее катушки имеют одинаковые размеры (рис. 1.14). Намотка провода на одиншаблонделает однослойную цепную обмотку более технологичной и дешевой, поэтому эти обмотки часто применяются в машинах мощностью до10 кВт.

Направление токов в катушках на рис. 1.14 показано для того же момента времени, что и на рис. 1.11. Данная цепная обмотка тоже создает двухполюсное магнитное поле.

Лобовые части цепной обмотки могут быть отогнуты и по сложной пространственнойфигуре(рис. 1.15).

Двухслойная обмотка. В однослой-

ных обмотках средний шаг катушек в катушечной группе равен полюсному делению, т.е. он диаметральный.

Укорочение шага в них невозможно, хотя для устранения высших пространственных гармоник было бы целесообразно. Поэтому большинство современных машин переменного тока имеет двухслойную обмотку (рис. 1.16), в каждом пазу которой располагаются две катушечные стороны, возможно даже разных фаз. Принцип образования двухслойной обмотки легко понять, изобразив диаграммы расположения катушек фаз в верхних и нижних слоях пазов при диаметральном (рис. 1.16, a ) и укороченном (рис. 1.16, б ) шагах секции. Одна сторона каждой катушки лежит в верхней части паза, другая – в нижней, причем на схеме-развертке (рис. 1.16, в) верхняя часть катушки изображается сплошной линией, а нижняя – пунктирной.

Чередование катушек в слоях пазов в этом случае совершенно одинаковое, но нижний слой смещается относительно верхнего на величину укорочения шага, определяемого числом зубцовых делений по формуле (1.2). На рис. 1.16 для примера показано укорочение на одно зубцовое деление, хотя оно может равняться любому их целому числу.

Двухслойные обмотки всегда равносекционные с пространственной конфигурацией изгиба лобовых частей типа показанного на рис. 1.15. При укороченном шаге на них меньше расходуется проводникового материала.

К недостаткам двухслойных обмоток следует отнести некоторую трудность укладки их в пазы и более низкий, чем в однослойных, коэффициент заполнения паза

KЗ Sм ,

Sп

где Sм – суммарная площадь поперечных сечений всех неизолирован-

ных (голых) проводников в пазу; Sп – площадь паза в свету.

-

Рис. 1.16. Двухслойная обмотка:

a , б – диаграммы расположения катушек фаз в верхних и нижних слоях пазов соответственно при диаметральном и укороченном шагах секции;

в – схема-развертка

По сравнению с двухслойными обмотками однослойные имеют следующие преимущества:

-более простые схемы и форма лобовых соединений;

-проще механизация укладки в паз;

-более высокий коэффициент заполнения паза.

Образование параллельных ветвей обмотки. Обмотка более технологична и проще в изготовлении, если она выполняется из тонкого провода. Однако, чем выше номинальная мощность электрической машины, тем большие токи протекают в обмотке и, следовательно, изготовлять ее приходится из провода большего сечения. Тогда в обмотке используют параллельные ветви.

Если обозначить число параллельных ветвей в фазе буквой a , то можно сказать, что все обмотки, рассмотренные ранее, имеют a 1.

По определению все катушки в катушечной группе соединяются последовательно. Следовательно, параллельно можно соединять только катушечные группы фазы (рис. 1.17). При этом ток в каждой катушке уменьшается в a раз и, значит, она может быть намотана из более тонкого провода. Число витков в каждой катушке и катушечной группе пропорционально возрастает, и коэффициент заполнения паза практически не изменяется.

N S N S

а 2

а 1

A X A X

Рис. 1.17. Схема образования параллельных ветвей обмотки

Обмотка типа беличьей клетки. Многофазная обмотка содер-

жит несколько отдельных фаз. Фазой обмотки называется совокупность витков, в которых ток в любой заданный момент времени одинаков по значению, направлению и временной фазе.

Большинство роторов асинхронных машин имеют короткозамкнутую обмотку типа беличьей клетки, которая никуда не подключена, и ток в ней возникает только вследствие наличия ЭДС, наведенной внешним вращающимся магнитным полем. Беличья клетка всегда соз-