Материал: Лекция № 05 за 04.11.2020

Внимание! Если размещение файла нарушает Ваши авторские права, то обязательно сообщите нам

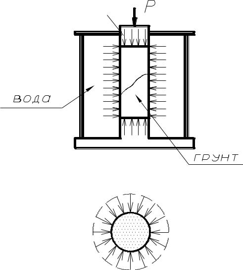
2. Стабилометрические испытания

1

2

 

2

 

 

1

2

1 z ,

2 x y

График сопротивления грунта сдвигу

для несвязных грунтов (τ = f(σ))

 

 

 

2

 

1

График сопротивления грунта сдвигу

для связных грунтов (τ = f(σ))

е с tg

с

 

 

 

 

 

 

 

 

 

 

 

 

 

 

е

2

 

 

1

 

 

 

2

1

 

Недостатки:

1. необходимость отбора грунтового образца;

2. малые размеры грунтового образца.

Достоинства:

возможность моделирования напряженного состояния.