Тема: Процес проектування та структура САПР.
Мета: з’ясувати суть кожного з трьох основних способів створення опису об’єкта, визначити стадії та етапи процесу проектування, розглянути види забезпечення та класифікацію САПР.
План:
Методологія автоматизованого проектування.
Забезпечення та класифікація САПР.
Системний підхід до автоматизації проектування.
При побудові нових об'єктів техніки по заданому описі неіснуючого об'єкта виконується його матеріалізація в працездатну надійну конструкцію.
Проектування - це процес створення опису, необхідного для побудови в заданих умовах ще не існуючого об'єкта, на основі первинного опису цього об'єкта. Процес створення опису нового об'єкта може виконуватися різними способами. Виділимо три основних.
Якщо весь процес проектування здійснює людина, то проектування називають неавтоматизованим. У цей час неавтоматизоване проектування складних технічних об'єктів практично не застосовують.
Найбільше поширення одержало проектування, при якому відбувається взаємодія людини та ЕОМ. Таке проектування називають автоматизованим. Автоматизоване проектування, як правило, здійснюється в режимі діалогу людини з ЕОМ на основі застосування спеціальних мов спілкування з ЕОМ.
Проектування, при якому всі перетворення описів об'єкта й алгоритму його функціонування здійснюються без участі людини, називають автоматичним.
Розглянемо ряд понять, які використаються при розробці технічних об'єктів (ТЕ). Первинний опис ТО, представлене в заданій формі, називається завданням на проектування. У завданні на проектування ТО повинні бути відомості про призначення ТО, його параметрах, способах функціонування, конструктивної реалізації, виготовлення й т.п.
Проектним рішенням називається проміжний або кінцевий опис об'єкта проектування, необхідне й достатнє для розгляду і визначення подальшого напрямку або закінчення проектування.
Проектне рішення або їхня сукупність, що задовольняють заданим вимогам, необхідні для створення об'єкта проектування, будуть результатом проектування. У задані вимоги повинні бути обов'язково включені вимоги до форми проектного рішення, що представляє.
Документ, виконаний за заданою формою, у якому представлене яке-небудь проектне рішення, отримане при проектуванні, називається проектним.
Сукупність проектних документів відповідно до встановленого переліку, у якому представлений результат проектування, називається проектом.
Под проектною процедурою розуміють формалізовану сукупність дій, виконання яких кінчається проектним рішенням. Наприклад, проектними процедурами є оптимізація, контроль, пошук рішення, коректування, компонування, перевірка правильності збірки ТО і т.п.
При тимчасовому розподілі робіт зі створення нових об'єктів процес проектування розділяється на стадії й етапи. Розрізняють 8 стадій: предпроектные дослідження; технічне завдання; технічна пропозиція; ескізний проект; технічний проект; робочий проект; виготовлення; налагодження, випробування й запровадження в дію.
При створенні нових об'єктів виділяють наступні етапи:
етап науково-дослідних робіт (НИР). Поєднує стадії: предпроектные дослідження, технічне завдання й частина технічної пропозиції. Тут проводять дослідження з пошуку нових принципів функціонування, нових структур, фізичних процесів, нової елементної бази, технічних засобів і т.п.;
етап дослідно-конструкторських робіт (ОКР). Поєднує стадії: частина технічної пропозиції, ескізний проект, технічний проект. Тут відбиваються питання детального конструкторського пророблення проекту;
етап робочого проектування. Поєднує стадії: робочий проект, виготовлення, налагодження й випробування, запровадження в дію. Тут проробляють схемні, конструкторські й технологічні рішення, проводять випробування, виготовлення.
Для етапу НИР в основному використають системи автоматизації наукових досліджень й експериментів.
Розподіл робіт між підрозділами роблять із використанням блочно-ієрархічного підходу (БіП) до проектування. Цей підхід заснований на структуруванні описів об'єкта з поділом описів на ряд ієрархічних рівнів по ступені детальності відображення в них властивостей об'єкта і його частин. Кожному ієрархічному рівню властиві свої форми документації, математичний апарат для побудови моделей й алгоритмів дослідження.
Всі визначення, наведені нижче, дані відповідно до існуючих ДЕРЖСТАНДАРТ і стандартів по автоматизації проектування.
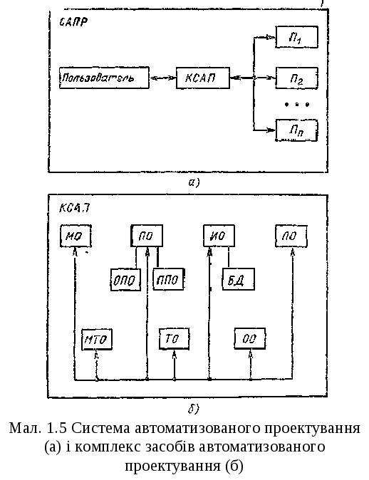
Система автоматизованого проектування (САПР) - організаційно-технічна система, що складається з комплексу засобів автоматизації проектування (КЗАП), взаємозалежного з необхідними підрозділами проектної організації П1 П,..., Пn або колективом фахівців (користувачів системи) і виконуюче автоматизоване проектування (мал. 1.5, а). Відповідно система автоматичного проектування виконує автоматичне проектування без участі людини.
К
омплекс
засобів автоматизації проектування
(КЗАП) - це сукупність різних видів
забезпечення автоматизованого
проектування (АП), необхідних для
виконання АП (мал. 1.5, б).
Математичне забезпечення (МЗ) АП – це сукупність математичних методів (ММет), математичних моделей (ММ) і алгоритмів проектування (АлП), необхідних для виконання АП, представлених у заданій формі (мал. 1.6, а).
Технічне забезпечення (ТЗ) АП – це сукупність взаємозалежних і взаємодіючих технічних засобів, призначених для виконання АП. Приклад ТЗ АП ЭВА показаний на мал. 1.6,6. Технічні засоби виконують певну функцію в САПР й являють собою компоненти ТЕ. Загалом кажучи, компонент САПР - це елемент засобу|кошту| забезпечення, що виконує певну функцію. До ТЗ відносяться пристрої|устрої| обчислювальної та організаційної техніки, засоби|кошти| передачі даних, вимірювальні та інші пристрої.

Розрізняють наступні групи технічних засобів:
підготовка та введення даних. Призначена для автоматизації підготовки та редагування інформації при введенні в ЕОМ. Група дає можливість кодування інформації, нанесення даних на машинні носії, уведення даних в ЕОМ, візуального контролю й редагування даних при уведенні інформації;
передача даних. Призначена для забезпечення дистанційного зв'язку технічних засобів по телефонних, телеграфних і спеціальних каналах зв'язку;
програмна обробка даних. Містить у собі ЕОМ, що забезпечують прийом цифрових даних, їхню програмну обробку, нагромадження й висновок на машинні носії, пристрої відображення і канали зв'язку. Дозволяє змінити продуктивність шляхом нарощування ЕОМ, використати мультипрограмний і діалоговий режими роботи;
відображення й документування даних. Призначена для оперативного подання й документування проектних рішень. Тут використають друкувальні пристрої й графобудівники, мікрофільми та пристрої відображення візуальної інформації;
архів проектних рішень. Група призначена для забезпечення зберігання, контролю, відновлення й розмноження даних про проектні рішення й довідкові дані.

Компоненти ТЗ створюються на базі серійних засобів обчислювальної техніки загального призначення та спеціалізованих технічних засобів. У цей час переважно використовують дворівневу ієрархічну структуру комплексу технічних засобів САПР. Структура містить у собі компоненти центрального обчислювального комплексу (ЦОК) і компоненти термінального комплексу (ТК). Центральний ОК будують на основі ЕОМ, обчислювальних систем і мереж ЕОМ колективного користування. Термінальний комплекс САПР будують на основі автоматизованих робочих місць (АРМ) термінальних станцій з використанням мікропроцесорів, міні- і мікро-еом.
Програмне забезпечення (ПЗ) АП – сукупність машинних програм, необхідних для виконання АП, представлених у заданій формі. Частина ПЗ АП, призначену для керування проектуванням, називають операційною системою (ОС) АП.
Сукупність машинних програм (МП), необхідних для виконання якої-небудь проектної процедури та представлених у заданій формі, називають пакетом прикладних програм (ППП). Компонентами ПЗ є документи з текстами програм, програми на всіх видах носіїв, експлуатаційні документи. Програмне забезпечення розділяють на загальносистемне (ЗПЗ) і прикладне (ППЗ). Компонентами ЗПЗ є транслятори (Т) з алгоритмічних мов, емулятори (Э), супервізори (З) і ін. Компонентами ППЗ є програми (МП) і пакети прикладних програм для АП (мал. 1.6, в).
Рівні проектування можна виділяти не тільки по ступені подробиці відбиття властивостей об'єкта, але й по характері відбиваних властивостей. Якщо в першому випадку рівні називають горизонтальними, або ієрархічними, то в другому - вертикальними, або аспектами.
Методологія БІП базується на трьох концепціях: розбивка і локальна оптимізація; абстрагування; повторюваність.
Концепція розбивки дозволяє складне завдання проектування об'єкта звести до рішення більше простих завдань із урахуванням взаємодій між ними. Локальна оптимізація має на увазі поліпшення параметрів усередині кожного простого завдання. Абстрагування полягає в побудові формальних математичних моделей, що відбивають тільки значимі в даних умовах властивості об'єктів. Повторюваність припускає використання існуючого досвіду проектування.
Основне достоїнство БІП - це спрощення процесу проектування й одержання можливості вирішувати завдання проектування доступними засобами.
Використання БІП допомагає: спростити рішення проблеми зберігання даних, скоротити розмірність розв'язуваних завдань і час проектування, застосовувати САПР один раз для об'єкта незалежно від числа ідентичних об'єктів.
Весь процес проектування можна представити як послідовність етапів, що зв'язують концептуальний опис об'єкта і створення цього об'єкта. Зазначений зв'язок реалізують в одному із двох напрямків: висхідному або спадному. Висхідне проектування (ВП), т.е проектування знизу нагору, характеризується рішенням спочатку завдань низьких ієрархічних рівнів з послідовним переходом до рішення завдань більше високих рівнів. Спадне проектування (НП), тобто проектування зверху вниз, є протилежним стосовно ВП.
Використовувана в цей час концепція проектування ТЕ по модульному принципі - це концепція БИП. У системі БИП конструктор виконує функціональні, інтуїтивні й інтелектуальні перетворення на верхніх рівнях, а ЕОМ виконує проектування на нижніх рівнях.
При виділенні горизонтальних рівнів проектування виробляється поділ об'єкта на блоки й розгляд замість об'єкта його окремих блоків.
У загальному випадку при проектуванні технічних об'єктів можна виділити кілька вертикальних рівнів, основні з них - функціональний, конструкторський, технологічний. Опис кожного вертикального рівня у свою чергу ділять на ієрархічні рівні. Нижче наведений приклад структурування опису ЕОМ.
Функціональне проектування містить у собі аналіз технічного завдання (ТЗ) і на його основі вибір із системних позицій методики побудови й шляхів реалізації процесу проектування об'єкта; полягає в розробці функціональних і принципових схем. Тут визначають принципи функціонування й найважливіші параметри й характеристики ТЕ.
Основні завдання функціонального проектування наступні: розробка структурних схем, визначення вимог до вихідних параметрів; аналіз і формування ТЗ на розробку окремих блоків; синтез функціональних і принципових схем отриманих блоків; контроль і вироблення діагностичних тестів; перевірка працездатності синтезованих блоків й ін.
Конструкторське проектування заключається в реалізації принципових схем у заданому конструктивному базисі. При цьому вирішуються питання вибору форм і матеріалів, вибору типорозмірів, компонування, розміщення елементів, трасування з'єднань, контролю.
Технологічне проектування полягає в рішенні завдань технологічної підготовки виробництва – розробці принципової схеми, маршрутів, операцій і переходів технологічних процесів виготовлення деталей, зборки й монтажу вузлів, включаючи вибір оснащення, інструмента, технологічного встаткування й т.п.
Функціональне проектування складається із чотирьох основних горизонтальних рівнів: системного, логічного, схемотехнічного, компонентного. На системному рівні визначають загальну структурну схему, структурні схеми основних блоків. На логічному рівні створюють функціональні та принципові схеми.
Конструкторське проектування складається з ієрархічних рівнів проектування компонентів, типових елементів і т.д. Технологічне проектування складається з рівнів проектування схеми технологічного процесу, технологічних маршрутів, технологічних операцій.

Інформаційне забезпечення (ІЗ) АП – сукупність відомостей, необхідних для виконання АП, представлених у заданій формі. Основною частиною ІЗ є автоматизовані банки даних, які складаються з баз даних (БД) САПР і систем управління базами даних (СУБД). В ІЗ входять нормативно-довідкові документи, завдання державних планів, прогнози технічного розвитку, типові проектні рішення, системи класифікації та кодування техніко-економічної інформації, файли і блоки даних на машинних носіях, фонди нормативних, планових, прогнозні, типових рішень, алгоритмів і програм і т.п. (мал. 1.6, г).
У
правління
автоматизованим банком даних здійснюють
проектувальники, при цьому необхідно
забезпечити цілісність, правильність
даних, ефективність і функціональні
можливості СУБД. Проектувальник організує
й формує БД, визначає питання використання
й реорганізації. База даних складається
з урахуванням характеристик об'єктів
проектування, процесу проектування, що
діють нормативів і довідкових даних.
При створенні автоматизованих банків
даних одним з основних є принцип
інформаційної єдності, що полягає у
використанні єдиної термінології,
умовних позначок, символів, єдиних
проблемно-орієнтованих мов, способів
подання інформації, єдиної розмірності
даних фізичних величин, що зберігаються
в БД. Автоматизовані банки даних повинні
мати гнучкість, надійністю, наочністю
й економічністю. Гнучкість полягає в
можливості адаптації, нарощування й
зміни засобів СУБД і структури БД.
Реорганізація БД не повинна приводити
до зміни прикладних програм. Для
одночасного обслуговування користувачів
повинен бути організований паралельний
доступ до даних. При використанні
інтерактивних методів проектування
необхідно використати режим діалогу.
Всі версії СУБД повинні генеруватися відповідно до наявного комплексу технічних засобів САПР. Доступ до інформації БД повинен забезпечуватися користувачами різних рівнів.
Для надійності необхідно мати можливість відновлення інформації й ПО у випадку руйнування, забезпечувати стандартні реакції на помилковий запит. Для наочності інформація повинна представлятися у звичайній і зручній для користувача формі. Для забезпечення економічності необхідно виключити невиправдане дублювання даних, забезпечити автоматизацію збору статистичних даних про зміст і використання інформації банку для організації ефективного розподілу пам'яті, забезпечити наявність засобів для тиражування баз даних.
Лінгвістичне забезпечення (ЛЗ) АП – сукупність мов проектування, включаючи терміни й визначення, правила формалізації природної мови й методи стиску й розгортання текстів, необхідних для виконання АП, представлених у заданій формі (мал. 1.6, д).
Методичне забезпечення (МТЗ) – сукупність документів, що встановлюють склад і правила відбору й експлуатації засобів забезпечення АП, необхідних для виконання АП. Відзначимо, що в деяких роботах і документах методичне забезпечення розуміється більш широко як компоненти включає МО й ЛО.
Організаційне забезпечення (ОЗ) АП – сукупність документів, що встановлюють склад проектної організації і її підрозділів, зв'язку між ними, їхньої функції, а також форму подання результату проектування й порядок розгляду проектних документів, необхідних для виконання АП. Компонентами ОО САПР є методичні й керівні матеріали положення, інструкції, накази й інші документи, що забезпечують взаємодію підрозділів проектної організації при створенні й експлуатації САПР.
Інтегрованої називають САПР, що має альтернативне ПО й ОС АП і що дозволяє вибирати сукупність машинних програм стосовно до заданого об'єкта або класу об'єктів проектування.
Функціонування САПР – виконання проектування в САПР відповідно до заданого алгоритму проектування. Функціонування САПР повинне забезпечувати одержання проектних рішень, тобто проміжних або кінцевих описів об'єкта проектування, необхідних для його закінчення. Результатом проектування в САПР уважають сукупність закінчених проектних рішень, що задовольняють ТЗ і необхідних для створення об'єкта проектування.
Алгоритм функціонування САПР - сукупність приписань, необхідних для функціонування САПР.
Керування САПР - сукупність впливів ззовні, передбачених алгоритмом функціонування САПР.