Примером поляризатора может служить плоско-параллельная стеклянная пластина. Если на эту пластинку падает луч естественного света, то отраженный и преломленный лучи будут частично поляризованными. В отраженном луче преобладают колебания, перпендикулярные к плоскости падения (на рис.6. эти колебания обозначены точками), в преломленном луче – колебания, параллельные плоскости падения (на рис.6. они изображены двусторонними стрелками).
Степень
поляризации зависит от угла падения
.
При угле падения
,
удовлетворяющем условию
,
(2)
отраженный луч полностью поляризован (он содержит только колебания, перпендикулярные плоскости падения).
Рис.
6.

называют углом Брюстера или углом полной
поляризации.
Поляризация света происходит также при прохождении через некоторые кристаллы, при явлении двойного лучепреломления.
Двойное преломление открыл в 1670 г. датчанин Эразм Бартодоминус. Направляя световой пучок нормально на пластинку из исландского шпата, он обнаружил расщепление его на два луча (рис. 7). Один из них подчиняется обычным законам преломления – лежит в одной плоскости с падающим лучом и нормалью, его показатель преломления не зависит от угла падения, скорость распространения этого луча внутри кристалла во всех направлениях одинакова. Этот луч называется обыкновенным (луч о на рис.7).
Рис.
7.

В кристалле существует направление, в котором отсутствует двойное лучепреломление. Это направление называется оптической осью кристалла, а плоскость, проведенная через оптическую ось, называется главным сечением кристалла.
Оба луча, обыкновенный и необыкновенный,
полностью поляризованы во взаимно
перпендикулярных плоскостях. Плоскость
колебаний
необыкновенного луча совпадает с главным
сечением кристалла, а плоскость колебаний
обыкновенного луча перпендикулярна к
нему.
Для получения плоскополяризованного света достаточно удалить один из лучей, образовавшихся при двойном лучепреломлении. Это достигается различными способами.
При прохождении линейно-поляризованного света через некоторые вещества плоскость поляризации световых лучей поворачивается. Это явление называется вращением плоскости поляризации. Вещества, вращающие плоскость поляризации, называются оптически активными.
Оптическая активность вещества обуславливается двумя факторами:
- особенностями кристаллической решетки вещества;
- особенностями строения молекул вещества.
В зависимости от этих факторов оптически активные вещества разделяются на два типа. К первому относятся твердые кристаллы, например, кварц SiO2. Вещества второго типа проявляют активность только в растворенном или газообразном состоянии. К этой категории относятся органические вещества: глюкоза, винная кислота и др.
Плоскость поляризации вышедшего луча оказывается повернутой на некоторый угол, называемый углом поворота плоскости поляризации. Некоторые оптически активные вещества поворачивают плоскость поляризации вправо, т.е. по часовой стрелке, если смотреть навстречу лучу (правовращающие вещества), другие – влево (левовращающие вещества).
Угол поворота плоскости поляризации
зависит прямо пропорционально от
длины пути луча
в растворе, концентрации раствора С
и индивидуальных свойств веществ,
характеризующихся величиной, называемой
удельным вращением 0,
.
(3)
Удельное вращение зависит от длины волны света, рода растворителя, температуры раствора. С увеличением длины волны 0 уменьшается, с увеличением температуры – увеличивается.
Обычно удельное вращение относится к
температуре 20°С и желтой линии натрия
0 и обозначается
.
Удельное вращение плоскости поляризации
численно равно углу поворота плоскости
поляризации при длине пути в 1м и объемной
концентрации данного оптически активного
вещества, равной 1кг/м3.
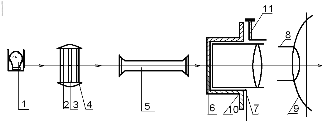
Поляриметр круговой СМ предназначен для измерения углов вращения плоскости поляризации света оптически активными веществами. Оптическая схема поляриметра типа СМ изображена на рис.8(а), общий вид прибора приведен на рис.8(б).
Рис.
8(а).

Свет от источника 1 (матовая электрическая лампочка) проходит последовательно через цветной светофильтр 2, поляризатор 3, диафрагму в плоскопараллельной кварцевой пластинке 4, поляриметрическую трубку 5, анализатор 6, зрительную трубку 8 и попадает в глаз наблюдателя. Анализатор можно вращать относительно оси прибора с помощью специального фрикциона 2. Вместе с анализатором вращается зрительная труба и диск 7. Благодаря двум нониусам, которые нанесены на диск, можно отсчитывать по лимбу 10 углы поворота анализатора от 0 до 3600 с точностью до 0,05. Поляризатор 3 установлен неподвижно. Муфта 9 осуществляет фокусировку зрительной трубы на выходную поверхность диафрагмы.
Рис.
8 (б).
Рис.
8.


совершает колебания в плоскости главного
сечения поляризации. На рис.9 это плоскость
РР, плоскость главного сечения
анализатора АА, отсчет идет из-за
плоскости чертежа к наблюдателю. Стрелки
указывают направление колебаний вектора
.
Рис.
9.

Если повернуть анализатор так, чтобы направление АА стало перпендикулярным биссектрисе угла , (на рис.9 – линия СД), средняя часть поля зрения окажется равномерно освещенной– (полутень) (рис. 9б). При таком положении один из нониусов должен указывать 0 (нулевой отсчет).
Если повернуть анализатор еще на угол /2, его главная плоскость окажется параллельной биссектрисе угла . При этом яркость поля зрения тоже будет одинаковой во всех частях, но очень большой. В этом случае точная установка прибора на однородность поля зрения будет невозможной, так как при большой яркости чувствительность глаза снижается и его свойства различать нюансы освещенности притупляются. При всех промежуточных положениях анализатора фотометрическое поле зрения будет неоднородным. Этим и пользуются для измерения углов поворота плоскости поляризации света.
Если между диафрагмой и анализатором
после того, как поляризатор настроен
на полутень, поместить оптически активное
вещество, например, трубку с сахарным
раствором, плоскости колебаний лучей
повернутся на угол φ, и биссектриса угла
между векторами напряженности
электрического поля в средней и крайней
частях поля зрения уже не будет
перпендикулярна плоскости главного
сечения анализатора. Проекции
вектора
на пропускное направление АА в
средней и крайних частях поля зрения
будут разными по величине. Чтобы снова
добиться одинаковой освещенности поля
зрения, необходимо повернуть анализатор
на угол φ. Сделав отсчет по положению
нуля нониуса, можно определить, на какой
угол поворачивает плоскость поляризации
данное оптически активное вещество.
1. Включить осветитель в сеть. Получить резкое изображение фотометрического поля так, чтобы четко были видны три части, разделяющие поле зрения. Фокусировка зрительной трубы на выходную поверхность диафрагмы осуществляется перемещением муфты 9 (рис.8) трубы вдоль оси трубы.
2. Определить нулевое положение (без трубки с раствором). Для этого с помощью фрикциона повернуть анализатор так, чтобы поле зрения прибора стало однородным. Отсчет брать следующим образом: определить, на сколько полных градусов повернут нуль нониуса по отношению к лимбу, затем по штриху нониуса, совпадающего с градусным штрихом лимба, отсчитать доли градуса. Цена деления нониуса 0,05. Например, оцифровка нониуса «2» соответствует 0,2; «4» соответствует 0,4 и т.д. К числу градусов, взятых по лимбу, прибавить отсчет по нониусу и определить угол поворота. Если нулевой штрих нониуса при установке на равенство оказался относительного нулевого штриха лимба смещенным по часовой стрелке, поправке на 0 приписывается знак «+», если против часовой стрелки, знак «–».
Сделав нулевой отсчет положения анализатора 0, записать его значение в таблицу. Слегка повернув анализатор и изменив освещенность поля зрения, снова добиться поворотом анализатора одинаковой освещенности и сделать вторичный отсчет по шкале. Таких операций сделать пять, записать в таблицу 1 и взять среднее значение из них за нулевое положение 0.
3. Поместить трубку с раствором в камеру
прибора. Муфтой 9 восстановить
первоначальную картину поля зрения,
чтобы резко были видны три части
фотометрического поля. Затем фрикционом
повернуть анализатор так, чтобы поле
зрения стало однородным, и определить
положение анализатора
.
Это измерение повторить не менее 5 раз,
записать в таблицу и взять среднее
значение угла поворота плоскости
поляризации.
4. Определить угол поворота φ. Для этого
из полученного среднего значения угла
поворота плоскости поляризации вычесть
поправку на «0», обязательно учитывая
знак поправки ,
.
5. Зная длину
поляриметрической трубки
и удельное вращение
,
пользуясь формулой (3), определить
концентрацию исследуемого раствора
,
где
=0,19
м (сахар) и
=0,09507
м (глюкоза). Для сахара
=66,710-2
(градм2)/кг.
Для глюкозы
=
52,610-2 (градм2)/кг.
Таблица 1
|
|
№ |
Установка на 0 |
Определения угла вращения |
С, кг/м3 |
|
|
Значение
(град.)
|
Значение 1 (град.) |
Значение φ (град.) |
|||
|
Раствор глюкозы |
1 2 3 4 5 |
|
|
|
|
|
Ср. значение |
|
|
|
|
|
|
Раствор сахара |
1 2 3 4 5 |
|
|
|
|
|
Ср. значение |
|
|
|
|
|