Министерство науки и высшего образования Российской Федерации Федеральное государственное бюджетное образовательное учреждение высшего образования Уфимский государственный нефтяной технический университет
Кафедра промышленной безопасности и охраны труда
Отчет
по лабораторной работе №1
«ИССЛЕДОВАНИЕ ЗАГАЗОВАННОСТИ ВОЗДУШНОЙ СРЕДЫ
НА РАБОЧИХ МЕСТАХ»
Выполнил: ст.гр. БТБ-15-02 Д.Р. Булатова
Проверил: доцент, к.х.н И.Р. Киреев
Уфа 2019
1 Цель работы:
Контроль загазованности воздушной среды на рабочих местах и других местах скопления вредных газов.
2 Теоретическая часть
2.1 Краткие сведения о предельно допустимой концентрации и вредных веществах.
В соответствии с гигиеническими нормативами ГН 2.2.5.686-98 О Предельно допустимой концентрации (ПДК) вредных веществ в воздухе рабочей зоны”,утвёржденными постановлением главного государственного санитарного врача Российской Федерации от 4 февраля 1998 года, содержание вредных веществ в воздухе рабочей зоны не должно превышать ПДК. ПДК вредного вещества в воздухе рабочей зоны — гигиенический норматив для использования при проектировании производственных зданий, технологических процессов, оборудования, вентиляции для контроля за качеством производственной среды и профилактики неблагоприятного воздействия на здоровье работающих.
ПДК — концентрации, которые при ежедневной (кроме выходных дней) работе в течение 8 ч и не более 40 ч в неделю в течение всего рабочего стажа не должны вызывать заболевании или отклонении в состоянии здоровья, обнаруживаемых современными методами исследований в процессе работы или в отдаленные сроки жизни настоящего и последующего поколений. ПДК для большинства веществ являются максимальными разовыми.
ПДК устанавливается для рабочей зоны. Рабочая зона — пространство высотой до 2 м над уровнем пола или площадки, на которых находятся места постоянного или временного (непостоянного) пребывания работающих.
Постоянное рабочее место, на котором работающий находится большую часть своего рабочего времени (более 50% или более 2 ч непрерывно). Если при этом работа осуществляется в различных пунктах рабочей зоны, постоянным рабочим местом считается вся рабочая зона.
В соответствии с ГОСТ 12.1.007-76 ССБТ “Вредные вещества. Классификация и общие требования безопасности” вредное вещество — вещество, которое при контакте с организмом человека может вызвать профессиональные заболевания или отклонения в состоянии здоровья, обнаруживаемые современными методами, как в процессе воздействия вещества, так и в отдаленные сроки жизни настоящего и последующих поколений.
По степени воздействия на организм человека вредные вещества подразделены на четыре класса опасности: 1 - вещества чрезвычайно опасные, 2-вещества высокоопасные, 3 - вещества умеренно опасные, 4 - малоопасные, в соответствии с классификацией.
Величины ПДК и классы опасности вещества утверждает и, при необходимости, пересматривает Главный государственный санитарный врач Российской Федерации по рекомендации Комиссии по государственному санитарно-эпидемическому нормированию.
Содержание вредных веществ в воздухе рабочей зоны подлежит контролю в соответствии с требованиями методических указаний.
При одновременном содержании в воздухе рабочей зоны нескольких вредных веществ однонаправленного действия сумма отношений фактических концентраций каждого из них К в воздухе к их ПДК не должна превышать единицы:

2.1 Универсальный газоанализатор УГ-2
Назначение прибора
Универсальный переносной газоанализатор типа УГ-2 предназначен для определения в воздухе производственных помещений концентраций следующих вредных газов (паров):
1) Сернистый ангидрид;
2) Ацетон;
3) Окись углерода;
4) Сероводород;
5) Хлор;
6) Аммиак;
7) Окислы азота;
8) Этиловый эфир;
9) Бензин;
10) Бензол;
11) Толуол;
12) Ксилол;
13) Ацетил;
14) Углеводороды нефти (керосин осветительный, тракторный, топливо Т-2, Т-4, ТС-1, Уайт-спирит);
Прибором можно производить определение перечисленных вредных газов (паров) в воздухе производственных помещений, характеризуемом следующими данными:
— содержание пыли - не более 40 мг/м²;
— давление - от 98,65 до 103,99 кПа (740. ..780 мм рт. ст.);
— относительная влажность не более 90%;
— температура - от 283 до 303 К (от +1О до +30);
2.1.1Принцип работы прибора
Принцип работы газоанализатора типа УГ-2 основан на измерении длины окрашенного столбика, полученного в процессе просасывания через индикаторную трубку воздуха, содержащего вредные вещества.
Просасывание,
осуществляя воздухозаборным устройством.
Длина окрашенного столбика
индикаторного порошка в трубке
пропорциональна концентрации
анализируемого газа в воздухе. Концентрация
измеряется по шкале, градуированной
в мг/м. Цифры, указанные на шкале,
необходимо увеличить в 100 раз,
если на шкале указано: мг/м
Х 10
.
2.1.2 Описание прибора УГ-2
Воздухозаборное устройство.
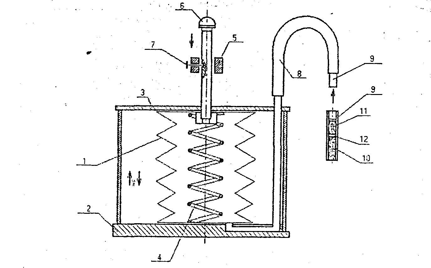
Основной частью воздухозаборного устройства является (рисунок 1) резиновый сильфон 1, установленный между нижним фланцем 2 и верхней крышкой 3. Внутри резинового сильфона 1 расположена стальная пружина 4, которая удерживает сильфон 1 в растянутом положении.
На верхней крышке 3 прибора установлена направляющая втулка 5 для направления штока 6 при сжатии сильфона 1. Для удержания штока 6 в сжатом состоянии предусмотрен стопор 7. На верхней крышке 3 прибора имеется также соединенный с внутренней полостью сильфона 1 штуцер для присоединения резиновой трубки 8, которая присоединяется в свою очередь, при анализе к стеклянной трубке 9 с индикаторным порошком 10. При необходимости к стеклянной трубке 9 присоединяется патрон (на рисунке 1 не показан), пропускающий определяемый газ, но задерживающий примеси, мешающие определению.
Просасывание исследуемого воздуха через индикаторную трубку 9 производится после предварительного сжатия сильфона 1 штоком 6.
На гранях (под головкой) штока 6 обозначены объемы просасываемого при анализе воздуха. На цилиндрической поверхности штока 6 имеются четыре предельные канавки, каждая с двумя углублениями, служащими для фиксации стопором 7 объема просасываемого воздуха. Расстояние между углублениями на канавках подобрано таким образом, чтобы при ходе штока от одного углубления до другого сильфон 1 забирал необходимое для анализа данного газа количество исследуемого газа.

1 - резиновый сильфон; 2 нижний фланец; 3 - верхняя крышка; 4 — пружина
5 - направляющая втулка: 6 — шток; 7 стопор; 8 - резиновая трубка;
9- стеклянная трубка: 10-порошок; 11 — пыж; 12 - прослойка ваты
Рисунок 1 - Принципиальная схема прибора УГ-2
В
зависимости от пределов измерения на
каждый определяемый газ имеются одна
или две шкалы, градуированные в мг/м
.
На каждой шкале указан определяемый
газ и объем просасываемого при анализе
воздуха, мл. При проведении анализа
объемы просасываемого воздуха, указанные
на головке штока и шкале, по которой
производится отсчет, должны совпадать.
Для расширения пределов измерения
предусмотрена возможность просасывания
через индикаторную трубку различные
объемы воздуха, которые указаны на
штоке.
Индикаторная трубка 9 (рисунок 1) для количественного определения анализируемого газа в воздухе представляет собой стеклянную трубку длиной 90-9 1 мм и внутренним диаметром 2,5-2,6 мм, заполненную в соответствии с инструкцией индикаторным порошком 10. Порошок в трубке удерживается с помощью двух пыжей 11 из медной эмалированной проволоки диаметром 0,27-0,28 мм. Между пыжами 11 и порошком 10 укладывается тонкая (0,5-1,ООмм) прослойка 12 из ваты.
2.2 Газоанализатор ПГФ2М1
Газоанализатор ПГФ2М1 представляет собой взрывозащищенный переносной показывающий прибор периодического действия, предназначенный для количественного определения горючих газов и паров в воздухе взрывоопасных помещений.
2.2.1 Принцип работы ПГФ2М1
Принцип работы основан на определении теплового эффекта сгорания горючих газов и паров на каталитически активной платиновой спирали.
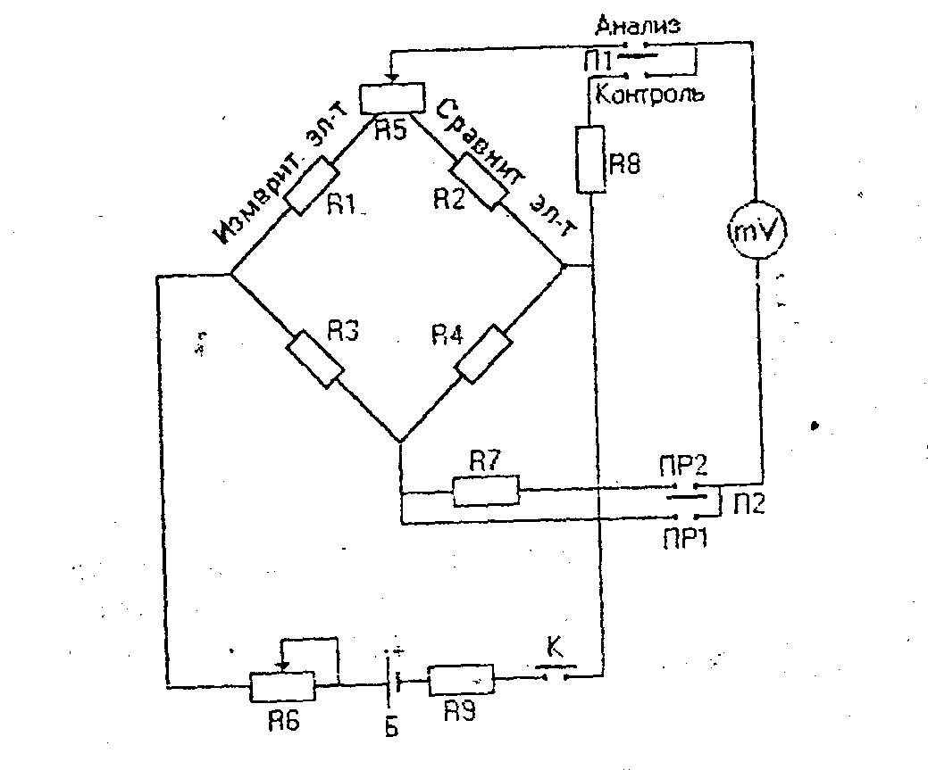
Принципиальная электрическая схема представлена на рисунке 2. Два плеча не полностью уравновешенной мостовой схемы прибора представляет собой платиновые спирали (измерительная R1 и сравнительная R2), а два других плеча R3 и R4 резисторы постоянного сопротивления. При прохождении через прибор чистого воздуха мостовая схема находится в равновесии.
При проведении анализа горючий газ сгорает на платиновой спирали рабочего плечевого элемента R1. В диагонали моста протекает ток, величина которого пропорциональна концентрации горючего газа или пара.
Источником питания прибора служат батареи. На рисунке 3 приведена газовая схема прибора. Анализируемую смесь накачивают в прибор насосом 6 через штуцер 1 (насос и штуцер смонтированы в газовом блоке прибора). Далее анализируемая смесь через взрывозащитную в 2 проходит в измерительную камеру 3 и через взрывозащитную втулку 5 и выпускной клапан насоса выходит в атмосферу. Сравнительный плечевой элемент 1 установлен в герметичной камере 4, изолированной от общего газового тракта прибора.

К1, К2 — плечевой элемент; К3, К4, К7, К8, К9 — резисторьг; К — реохорд К6 - реостат; Б — батарея; К — кнопка накала; mV — милливольтметр
Рисунок 2 - Принципиальная схема прибора ПГФ2М1

1 -. штуцер; 2,5 — взрывозащитные втулки; 3 — измерительная камера
4 — герметичная камера; 6 — насос.
Рисунок 3 - Газовая схема прибора ПГФ2М1
2.2.2 Конструкция прибора
Прибор помещен в корпус. На наружной поверхности панели прибора расположены милливольтметр, кнопка накала, рукоятка насоса, ручки управления, тумблеры. На внутренней стороне крышки прибора помещена таблица перевода показаний - милливольтметра в делениях шкалы действительную величину концентрации анализируемого газа.
Питание моста включают кнопкой с надписью ‘‘накал’’. Если переключатель П1 установлен в положение “Анализ”, измерительный прибор “mV” включен в измерительную диагональ, но если переключатель П1 находится в положении “Контроль”, измерительный прибор включен через резистор 1 как вольтметр, измеряющий падение напряжения на постоянном резисторе R4. Силу тока регулируют по реперной точке, нанесенной на шкале измерительного прибора, ручкой реостата R6 обозначённой надписью “Ток” (переключатель П1 находится в положений “Контроль” переключатель П2 в положении ПР1).
Для расширения диапазона измерения прибора тумблером в положении “Пр2” включается в цепь милливольтметра добавочное сопротивление R7.
Искрозащищенность прибора обеспечивается ограничением тока короткого замыкания с помощью резистора R9. Взрывозащищённость прибора обеспечивается установкой взрывозащитных втулок 2 и 5 (рисунок 3).
3 Экспериментальная часть
Описания проведения опытов описаны в пунктах 2.1 и 2.2.
Таблица 1 - Протокол анализа воздуха
|
Номер |
Наименование анализируемого газа |
Объём прокачки, мл |
Содержание
вредных газов в воздухе, мг/м |
ПДК, мг/м3 |
Вывод |
|
1 |
Аммиак |
200 |
500 |
20 |
Превышение ПДК в 25 раз. В данном помещении находиться нельзя. |
|
2 |
Бензин |
300 |
800 |
100 |
Превышение ПДК в 8 раз, следовательно, в данном помещении находиться опасно. |
|
3 |
Ацетон |
300 |
8000 |
200 |
Превышение ПДК в 40 раз. В данном помещении находиться нельзя. |
Вывод:
В ходе данной лабораторной работы произвели контроль загазованности воздушной среды. С помощью Газоанализатора УГ – 2 определили содержание паров аммиака,ацетона и бензина в воздухе. Содержание паров как аммиака и ацетона, так и бензина превысило предельно допустимую концентрации, класс опасности – 4 (Малоопасные), однако значительное превышение ПДК в рабочей зоне при контакте с организмом человека может вызвать профессиональные заболевания или отклонения в состоянии здоровья