Материал: Контрольная работа

Внимание! Если размещение файла нарушает Ваши авторские права, то обязательно сообщите нам

МИНИСТЕРСТВО НАУКИ И ВЫСШЕГО ОБРАЗОВАНИЯ РОССИЙСКОЙ ФЕДЕРАЦИИ федеральное государственное автономное образовательное

учреждение высшего образования

«Северный (Арктический) федеральный университет имени М.В. Ломоносова» филиал в г. Северодвинске Архангельской области

ТЕХНИЧЕСКИЙ КОЛЛЕДЖ

КОНТРОЛЬНАЯ РАБОТА

По дисциплине Технологическое оборудование

Выполнил (а) обучающийся (-щаяся):

(код и наименование)

Руководитель:

Давыдова О.Н., преподаватель

(ФИО руководителя, должность)

Отметка о зачёте

(отметка прописью) (дата)

Руководитель О.Н. Давыдова

(подпись) (инициалы, фамилия)

Северодвинск 20___

Вариант 21

Задание 1.

Используя классификационную таблицу, разработанную ЭНИМС и техническую характеристику станка, расшифровать модель станка 5140.

5 - группа резьба- и зубообрабатывающие станки;

1 - тип станка зубодолбежный вертикальный полуавтомат;

40 - высота центров над станиной 400 мм.

Задание 2.

Начертить схему. Составить уравнение кинематического баланса в общем виде частоты вращения шпинделя по кинематической схеме и указать способ переключения частоты вращения.

Рисунок 1 – Кинематическая схема коробки скоростей

Коробка скоростей имеет комбинированное переключение скоростей, так как при передаче вращения с Ⅱ вала на Ⅲ применяется переключение с подвижных блоков колёс, а с Ⅲ вала на Ⅳ с неподвижных блоков колёс.

Уравнение кинематического баланса для коробки скоростей в общем виде запишется следующим образом:

n шп.общ. = nдв. .

n шп.общ. = 1200 = 739 мин-1.

Задание 3.

Составить уравнения кинематического баланса главного движения и круговой подачи с максимальными значениями в зубодолбежном п/а 5140. Указать характер движений, и какие узлы их получают.

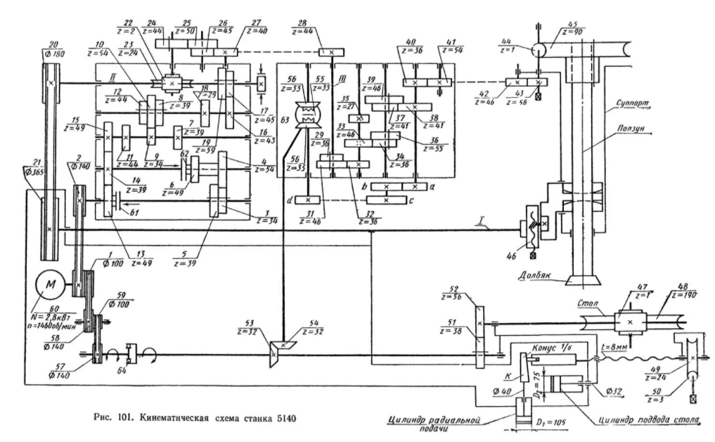
Рисунок 2 – Кинематическая схема станка 5140

Круговая подача полуавтомата 5140 заимствуется от центрального вала IV. Движение передается через ременную передачу с диаметрами шкивов D = = 365 мм и D = 180 мм, червячную пару z = 2-24, зубчатые передачи z = 44-50, z = 45-40-44 (реверс обкатывания), блоки зубчатых колес Б3, Б4, Б5 коробки круговых подач, через передачи z = 36-54-46-56, z = 1-90 на штоссель долбяка. Блоки Б3, Б4, Б5 переключаются в автоматическом цикле гидравлически и обеспечивают восемь значений подач, мм/дв. ход: 0,14; 0,18; 0,22; 0,29; 0,36; 0,45; 0,59; 0,75.

За один двойной ход долбяк должен сиять слой металла, соответствующий величине круговой подачи Sкр, а один двойной ход долбяк совершает за один оборот вала IV, отсюда уравнение кинематического баланса цепи круговых подач

Sкр = 1 дв. ход

где – придаточное отношение коробки передач;

– Диаметр долбяка.

Главное движение полуавтомата 5140 осуществляется от двускоростного электродвигателя M1 (N = 3,7 кВт, n = 940/1420 мин-1), через клиноременную передачу, коробку скоростей, ременную передачу с диаметрами шкивов D = 180 мм и D = 365 мм и вал IV привода ползуна (штосселя). На валу IV установлена ползушка 1, несущая камень 2 кулисы 3. При вращении кулиса сообщает штосселю возвратно-поступательное перемещение, величина которого регулируется винтом XV. Штоссель имеет гидростатические направляющие.

Благодаря переключению двигателя M1 в автоматическом цикле при переходе с черновой обработки на чистовую и перемещению двух подвижных блоков Б1 и Б2 долбяк имеет шесть значений 65, 92, 132, 145, 206, 296 дв. ход/мин для черновой обработки и шесть значений 99, 140, 200, 220, 310, 450 дв. ход/мин для чистовой обработки. Минимальное число двойных ходов долбяка определяют из выражения, а число двойных ходов долбяка в минуту по формуле n=1000v/2L,

де v - выбранная скорость резания м/мин; L = b + с - длина хода долбяка, мм; b - ширина заготовки, мм; с - перебег долбяка в обе стороны, мм.

На валу III расположен электромагнитный тормоз.

nmin = 940 = 65 дв. ход/мин.

Задание 4.

Описать процесс смены заготовок на ИР500ПМФ. Какие конструктивные элементы позволяют автоматизировать смену заготовок.

1. Установить приспособление на стол станка и выверить его относительно оси поворота и координатных осей.

2. Расставить настроенные на размер инструменты в последовательности обработки или произвольно (при кодировании инструмента)

3. Сверить фактические координаты вершин режущих кромок с запрограммированными, набрать величину коррекции на длину инструментов.

4. верить фактические диаметры фрез, с запрограммированными и набрать величины коррекции радиуса.

5. Вернуть рабочие органы станка в ноль.

6. Набрать величины смещений рабочих органов из нуля станка в ноль программы.

7. Установить программу

8. Обработать пробную партию деталей.

-Проверить правильность набора коррекции (на длину, радиус инструмента;

-Положения рабочих органов

-Включить станок, смазочные и гидравлические системы.

-Прогреть гидравлическую систему, для выполнения точных работ.

-В режиме ручной работы вывести рабочие органы из нуля на 100-150 мм по каждой координате.

-Вернуть их в ноль.

-Переключить в режим автоматической работы

-Осуществить пуск обработки нескольких поверхностей, в режиме ручной работы произвести измерения и убедится в правильности их выполнения.

-Восстановить взаимное положение инструмента и заготовки.

-В режиме автомат продолжить обработку.

-Измерить размеры детали.

-Набрать на корректорах необходимые поправки.

-Повторить обработку в автоматическом режиме.

Автоматизировать смену заготовок позволяют такие конструктивные элементы как спутник (приспособление необходимое для смены инструмента) и шпиндельная бабка.

Задание5.

Выберите правильные ответы

  1. БОЛЬШУЮ ЧАСТЬ ПАРКА СТАНКОВ СОСТАВЛЯЮТ СТАНКИ КЛАССА ТОЧНОСТИ:

а) А; б) В; в) С; г) Н.

Ответ: г) Н.

  1. КЛАСС СЧПУ С ОДНОКРАТНЫМ ЧТЕНИЕМ ПЕРФОЛЕНТЫ:

а) NC; б) SNC; в) CNC; г) HNC.

Ответ: б) SNC.

  1. ВИДЫ, ВЫПОЛНЯЕМОЙ ОБРАБОТКИ НА СВЕРЛИЛЬНЫХ СТАНКАХ:

а) сверление; б) зенкерование;

в) развертывание; г) нарезание наружной резьбы.

Ответ: а) сверление; б) зенкерование; в) развертывание.

  1. МАССОВОЕ ПРОИЗВОДСТВО ОСНАЩАЕТСЯ СТАНКАМИ:

а) универсальными; б) широкоуниверсальными;

в) специализированными; г) специальными.

Ответ: г) специальными.

  1. ДВИЖЕНИЕ РЕЗЦА ВСЕГДА ВЕРТИКАЛЬНОЕ В СТАНКАХ:

а) поперечно-строгальных; б) продольно-строгальных; в) долбежных; г) протяжных.

Ответ: в) долбежных.